Sublimation Drying of Fish Products in the Arctic in the Production of Feed for Farm Animals
- Authors: Syrovatka V.I.1, Zhdanova N.V.1, Rasskazov A.N.1, Obuhov A.D.2, Toropov D.I.3
-
Affiliations:
- Institute of Livestock Mechanization – Branch of the Federal Scientific Agroengineering Center VIM
- Federal Scientific Agroengineering Center VIM
- Permanent Mission of the Republic of Mordovia to the President of the Russian Federation
- Issue: Vol 31, No 2 (2021)
- Pages: 274-290
- Section: Technologies and Means of Agricultural Mechanization
- Submitted: 31.07.2025
- Accepted: 31.07.2025
- Published: 31.07.2025
- URL: https://medbiosci.ru/2658-4123/article/view/303475
- DOI: https://doi.org/10.15507/2658-4123.031.202102.274-290
- ID: 303475
Cite item
Full Text
Abstract
Introduction. The article considers biological resources of the Arctic, which is expedient to use in the production of fish meal for feeding farm animals. The aim of the research is to prove the usefulness of a continuously operating two-chamber line for sublimation drying of fish products using natural freezing of fish catch and a cheap source of thermal energy for drying: ethane, propane, butane (waste when cleaning natural gas and petroleum products of local enterprises), as well as microwave energy.
Materials and Methods. A continuously operating two-chamber sublimation line is proposed, the chambers of which work alternately: one for the process of sublimation drying, and the other for loading and unloading processed products. The natural freezing of fish and thermal energy for the process of sublimation (drying) from the burning of waste gas are used whenever possible. When there is cheap electricity, it is advisable to use microwave energy for drying that makes it possible to shorten the drying cycle, ensure uniformity and simultaneity of drying the material up to 3–5% humidity without rearranging the trays along the height of the cart.
Results. We propose the construction of a two-chamber sublimation line for large lump products and a sublimation unit based on microwave energy, which allows regulating the sublimation drying temperature within specified limits.
Discussion and Conclusion. The presented design solutions of a large lump product sublimation drying line and sublimation unit using microwave energy are necessary for designing equipment based on digital technology.
Full Text
Введение
Разработка конкретных технологий по производству высококачественных комбикормов, витаминных и минеральных премиксов, препаратов и лекарственных средств с целью ветеринарного применения для сельскохозяйственных животных определена правительством Российской Федерации как приоритетное направление развития сельского хозяйства до 2026 года1. Известно, что корма в себестоимости продукции животноводства составляют 65–75 %, а добавка рыбных компонентов существенно повышает конверсию корма и конкурентоспособность отрасли2 [1]. Роль науки в выполнении этой проблемы заключается в изыскании новых высокоэффективных технологий, кормовых ингредиентов, видов энергии, повышающих качество комбикормов и снижающих затраты на производство единицы продукции. Использование биологических и энергетических ресурсов Арктики способствует решению поставленной задачи.
Стоит сказать о мировом производстве комбикормов. В рационах свиноводства комбикорма занимают 95 %, птицеводства – 100 %, в молочном скотоводстве – 35–40 %. Снизить затраты на производство продукции возможно за счет применения эффективных кормовых ингредиентов, лечебных кормов, видов энергии и технологий.
По данным единой межведомственной информационно-статистической системы Российской Федерации мировое производство комбикормов в 2019 году составило 1,126 млрд т: 28 % комбикормов произведено для бройлеров; 24 % – для свиней; 14 % – для кур-несушек; 12 % – для молочного скотоводства; 12 % – для мясного скота; 4 % – для рыб; 2 % – для домашних животных.
Продуктивность животных зависит от протеиновой и энергетической питательности кормов. Питательная ценность оценивается содержанием протеина и энергетическими кормовыми единицами в кормовой единице комбикорма (ЭКЕ/к.ед.).
В комбикормах, производимых в Российской Федерации, в настоящее время содержится протеина 90–100 г/к.ед., а необходимо 100–130 г/к.ед.; ЭКЕ/к.ед. содержится 0,9–1,0, а необходимо 1,1–1,4.
Чтобы повысить питательную ценность, необходимо совершенствовать и рецептуру комбикормов. Исходя из рецептуры полноценных комбикормов, применяемых в мировой практике и передовых хозяйствах Российской Федерации, следует рекомендовать примерный рецепт комбикормов, который приведен ниже (табл. 1).
Таблица 1 Рецепт комбикорма
Table 1 Compound feed recipe
Ингредиенты / Ingredients | Доза ингредиента / Ingredient dose | |
Рекомендуется, % / Recommended, % | Содержится в настоящее время, % / Currently contained, % | |
Зерновые / Cereals | 40–50 | 70–90 |
Бобовые (соя, рапс, горох) / Legumes (soybeans, rapeseed, peas) | 8–10 | 2,0 |
Отходы пищевой промышленности / Food industry waste | 10–12 | 2,0 |
Белково-витаминно-минеральные добавки / protein-mineral and vitamin supplements | 2–3 | 1,0 |
Рыбная мука / Fish flour | 15–20 | 0,5 |
Травяная мука / Herbal flour | 6–8 | 1,0 |
Вермикультура / Vermiculture | 3–4 | 0,5 |
Лечебные добавки (премиксы) / Medicinal additives (premixes) | 1–2 | – |
Цель исследования – описать способ и линию сублимационной сушки крупнокусковых продуктов (в основном рыбы) до влажности 3–5 % для того, чтобы увеличить срок хранения.
Обзор литературы
В настоящее время применяются паровые или электронагревательные системы размораживания, когда нагревают поверхность обрабатываемого продукта, а от нее тепло передается в центр частиц, которые нагреваются медленно и неравномерно, что приводит к потере питательных свойств продукта3. Но эта технология сублимации продуктов хорошо отработана и может применяться при любом источнике пара (от теплоцентрали)4 [2]. В консервной промышленности используются паровые сублиматоры.
Сверхвысокочастотное излучение (СВЧ-излучение) относится к новому виду электротехнологий: равномерный и быстрый нагрев всего продукта, экологическая чистота нагрева, высокое бактерицидное действие – все это сохраняет качественные свойства продукта [3]. Для СВЧ характерно нагревать быстрее более влажные участки продукта. Длина волны электромагнитного излучения (ЭМИ) подобрана таким образом, что воздействует на молекулы воды в любом продукте. ЭМИ магнетронов, проникая внутрь продукта, колеблет молекулы воды с большой скоростью, возрастает сила трения между молекулами, соответственно, повышается температура воды [4]. Таким образом, процесс испарения начинается равномерно по всему объему при достаточно низкой температуре, что необходимо для сохранения первоначальных свойств продукта. Именно в этом заключается отличие СВЧ-сублимации от остальных способов [5].
Главный недостаток СВЧ-сублимации – удельный расход электроэнергии в 1,5 раза выше, чем в паровых сублиматорах. Поэтому они применяются преимущественно для экстренного приготовления продуктов и в условиях, где электроэнергия дешевле.
Основной недостаток систем – это цикличная работа установок, что приводит к простою оборудования и неравномерной загрузке систем электроснабжения, теплоснабжения и транспорта5. В связи с этим предложена двухкамерная непрерывно действующая сублимационная установка, в которой размораживание продуктов возможно от паровых, электронагревательных или СВЧ-систем, исходя из экономической целесообразности для каждого конкретного случая.
Рыбная мука – ценный кормовой компонент, который ускоряет рост животных и применяется как средство активизации их биологической устойчивости к инфекционным заболеваниям [6]. В 1 000 г рыбной муки содержится более 500 г перевариваемого протеина (табл. 2), высокий процент незаменимых аминокислот, витаминов и минеральных солей, в том числе метионина, лизина, триптофана, значительно влияющих на физиологию животного (табл. 3). До 90 % белка, содержащегося в рыбной муке, усваивается животными. В дрожжах гидролизных перевариваемого протеина содержится чуть больше ‒ 400 г; в подсолнечном шроте – около 380 г; в соевом – 360 г; в мясокостной муке – более 341 г; в горохе – около 200 г; в кукурузе – 80 г; в картофеле – более 10 г. В свиноводстве при скармливании 1 т рыбной муки (в составе растительных кормов) дополнительный привес составляет около 0,5 т в живой массе или 0,36 т в убойном весе [7]. Рыбная мука – безвредная и экологически чистая добавка, не содержащая искусственных химических компонентов и гормонов, что позволяет использовать ее в определенных дозах в качестве прикорма любым видам сельскохозяйственных животных6.
Таблица 2 Состав рыбной муки и ряда кормовых продуктов [7]
Table 2 Composition of fishmeal and a range of feed products
Кормовой продукт / Fodder product | Содержание, % / Content, % | Перевариваемость протеина, г / Protein digestibility, g | ||||
Белок (азот × 6,25) / Protein (azot × 6.25) | Жир / Fat | Зола / Ash | Клетчатка / Cellulose | Влага / Moisture contents | ||
Рыбная мука / Fish flour | 52–67 | 1–18 | 15–30 | – | 5–12 | 500 |
Мука мясокостная / Meat and bone meal | 46,7 | 14,0 | 23,2 | – | 9,2 | 341 |
Дрожжи гидролизные / Hydrolytic yeast | 45,1 | 1,3 | 7,0 | – | 13,8 | 401 |
Бобы кормовые / Fodder beans | 27,3 | 1,6 | 3,2 | 7,7 | 12,0 | 237 |
Овес / Oats | 10,7 | 4,1 | 3,3 | 9,9 | 13,3 | 82 |
Кукуруза / Corn | 10,2 | 4,7 | 1,5 | 2,7 | 14,8 | 78 |
Таблица 3 Содержание незаменимых аминокислот [7]
Table 3 Content of essential amino acids
Кормовой продукт / Fodder product | Содержание (г на 1 кг)/ Content (g per 1 kg) | |||||||
Лизин / Lysine | Аргинин / Arginine | Гистидин / Histidine | Метионин /Methionine | Валин / Valine | Лейцитин +изолейцин / Leucine + isoleocine | Фенилаланин /Phenylalanine | Треонин / Threonine | |
Рыбная мука / Fish flour | 36 | 45 | 20 | 18 | 38 | 59 | 46 | 31 |
Кукуруза / Corn | 3 | 5 | 3 | 1 | 5 | 16 | 4 | 3 |
Ячмень / Barley | 4 | 6 | 3 | 1,5 | 5 | 10 | 5 | – |
Овес / Oats | 4 | 10 | 3 | 2 | 6 | 14 | 6 | – |
Отруби пшеничные / Wheat bran | 5 | 8 | 9 | 2 | 8 | 12 | 6 | 4 |
Жмых подсолнечный / Sunflower cake | 16 | 28 | 13 | – | – | 49 | 20 | – |
Жмых льняной / Flaxseed cake | 11 | 27 | 7 | 8 | 21 | 42 | 19 | 13 |
Мука из люцерны / Lucerne flour | 6 | 7 | 3 | 1 | 5 | 14 | 5 | ‒ |
Шрот хлопковый / Cotton meal | 14 | 35 | 9 | 8 | 18 | 36 | 23 | 11 |
Шрот соевый / Soybean meal | 28 | 28 | 9 | 6 | 23 | 52 | 20 | 16 |
Материалы и методы
Известны недостатки применяемых однокамерных сублимационных установок: длительный цикл сушки одной порции сырья (от 8 до 22 часов), установка долгое время не работает и выключается в период загрузки сырья и выгрузки готовой продукции; обогреватели противней обладают высокой инерционностью, что отрицательно отражается на равномерности остаточной влажности высушиваемого материала; габаритные размеры обогревателей занимают основной объем сублимационной камеры.
Физические особенности сублимационной сушки
Паровые или электронагревательные системы размораживания нагревают поверхность частиц обрабатываемых продуктов, а от нее по принципу теплопроводности теплота передается в центр частиц продукта. Образование льда разрушает структуру обрабатываемого материала, что при подогреве облегчает процесс сублимации [8].
Электромагнитная энергия микроволновых источников преобразуется в тепловую энергию за счет взаимодействия электромагнитных полей и материалов. В дополнение к обеспечению энергией сублимационная сушка с помощью микроволной печи позволяет сэкономить время. Этот метод, за счет проникновения электромагнитных полей в материал, более быстрый. Это приводит к объемному нагреву вместо нагрева от поверхности материалов в обычных методах. Частота электромагнитных волн составляет 2 450 МГц [3].
Технология сублимации вошла в обиход быстрого приготовления продуктов питания. Микроволновая обработка пищевых материалов получила значительное применение благодаря объемному нагревательному эффекту и более короткому времени обработки по сравнению с традиционными методами. Математическое моделирование поглощения СВЧ-энергии в процессе СВЧ-обработки может быть выполнено на основе закона Ламберта либо уравнений Максвелла [9]. Продукты, сублимированные до 3–5 % влажности, подвержены микробной порче [4; 10]. По мере производства сублимированные корма необходимо закрывать в крафт-мешки, изолируя от влажной окружающей среды [11]. Особенно опасный и доминирующий в продуктах гриб обнаружили при культивировании на экстракте агара Чапека [12].
Сушка СВЧ-энергией является стерильной и отвечает медицинским требованиям к микробной чистоте продуктов [13]. Сублимационная сушка позволяет получить продукты высшего качества, что делает метод наилучшим для мягкой сушки эксклюзивных продуктов [5]. В настоящее время уделяется большое внимание созданию устойчивой индустрии аквакультуры. Норвежская рыбоводческая ферма уже может производить килограмм атлантического палтуса, затрачивая менее килограмма корма7.
Изложенные выше особенности сублимационной сушки целесообразно использовать для естественного замораживания улова рыбы, а для прогрева противней сублимационной камеры ‒ теплоту от сжигания жирного газа, при этом возможно компенсировать энергозатратный процесс сублимации природными ресурсами.
Удаление льда (замерзшей воды) из продуктов, кормов или других материалов называют сублимационной сушкой. Такой процесс возможен при атмосферном (парциальном) давлении ниже тройной точки (610,5 Па – 4,58 мм рт. ст.) и температуре 0 ºC в условиях сухого холодного воздуха влажностью менее 100 %. Такие природные условия существуют в Арктике или создаются в морозильных камерах холодильников: процесс длительный, измеряется сутками. Интенсивность сублимации ускоряется при пониженном парциальном давлении 70 Па (0,5 мм рт. ст.) и температуре от −30 до −50 ºС.
Преимущества сублимационной сушки: высокий уровень сохранения качества продуктов (рыбы), небольшая продолжительность сушки, удобство транспортирования и хранения рыбы, высушенной до 3–5 %, эффективное использование естественного северного холода и дешевой энергии тепла из отходов переработки газа и нефти в условиях интенсивного освоения районов Севера и Северного морского пути. Развитие предприятий по добыче и переработке теплоносителей (газа и нефти) обуславливает успешное развитие сублимационной сушки рыбы и рыбопродуктов.
Разработка новых машинных технологий и технических средств для сушки базируется на теплофизических свойствах (температура t, плотность p и теплопроводность ƛ).
Плотность насыпная (удельный вес) различных видов свежей рыбы составляет 930–1 100 кг/м3, она зависит от массы каждой отдельной особи, содержания в ней жира и влаги (табл. 4). Плотность целой рыбы понижается при повышении влажности и увеличении ее массы. Теплопроводность всех видов рыбы находится в пределах 0,3–0,5 Вт/(м∙К), различие составляет менее 5 %. Коэффициент теплопроводности рыбы, высушенной способом сублимации, составляет 0,019–0,035 Вт/(м∙К). Удельная теплоемкость С одинакова для различных видов рыбы и филе при температуре 12–18 ºС и составляет 3 500–3 700 Дж/(кг·К).
Таблица 4 Теплофизические свойства рыбы и рыбопродуктов8
Table 4 Thermophysical properties of fish and fish products
Рыба, рыбопродукты / Fish, fish products | Температура t, ºC / Temperature t, ºC | Плотность насыпная ρ, кг/м3 / Bulk density ρ, kg/m3 | Теплопроводность ƛ, Вт/(м·K) / Thermal conductivity ƛ, W/(m·K) | Удельная теплоемкость C, Дж/(кг·К) / Specific heat C, J/(kg·K) |
Лещ (филе) / Bream (fillet) | 15 | 1 060 | 0,47 | – |
Лосось (филе) / Salmon (fillet) | 15 | 980 | 0,50 | 3 517 |
Мидии черноморские / Black sea mussels | 15 | 600 | – | 2 203 |
Минтай вяленый / Dried pollock | 15 | 760 | 0,12 | 1 420 |
Окунь (филе) / Perch (fillet) | 15 | – | – | 3 517 |
Осетр (филе) / Sturgeon (fillet) | 15 | 1 060 | 0,43 | 3 645 |
Икра черная зернистая / Black granular caviar | 20 | 900 | 0,16 | – |
Икра щуки / Pike caviar | 10 | 1 100 | 0,55 | 4 000 |
Сазан (спинка) / Carp (back) | 15 | – | – | 3 660 |
Сазан (филе) / Carp (fillet) | 15 | 1 060 | 0,44 | 3 726 |
Скумбрия (филе) / Mackerel (fillet) | 15 | – | – | 3 760 |
Судак / Zander | 15 | 930 | 0,43 | 3 670 |
Судак вяленый / Dried zander | 15 | 61 | 0,13 | – |
Треска (филе) / Cod (fele) | 15 | 1 052 | 0,47 | 3 580 |
Фарш минтая / Pollock mince | 10 | 940 | 0,67 | – |
Хек вяленый / Dried hake | 15 | 60 | 0,12 | 1 380 |
Представленные выше теплофизические свойства рыбы и рыбопродуктов являются базовыми при выборе системы энергоподвода, от которой зависит эффективность процесса сублимации и качество тепловой обработки продукта.
Результаты исследования
По результатам исследований предложена двухкамерная линия сублимации крупнокусковых продуктов (рис. 1).
1 – корпус; 2, 25 – сублимационные камеры; 3, 24 – затворы; 4, 23 – вакуум-трубы;
5, 22 – емкости для отвода конденсата; 6, 21 – краны; 7 – десублиматор;
8, 20 – секции десублиматора; 9 – затвор; 10 – патрубок; 11 – затвор для подачи аммиака;
12 – насос; 13, 16 – желоба для отвода талой воды; 14, 15 – краны;
17, 19 – затворы для подачи аммиака; 18 – вакуум-провод; 19, 24 – вакуумные затворы
Fig. 1. Sublimation line for lumpy products and feed: 1 – body; 2, 25 – sublimation chambers;
3, 24 – gates; 4, 23 – pipe vacuum; 5, 22 – containers for condensate drainage; 6, 21 – taps;
7 – desublimator; 8, 20 – sections desublimator; 9 – gate; 10 – branch pipe;
11 – gate for ammonia supply; 12 – pump; 13, 16 – troughs for defrosting melt water; 14, 15 – taps;
17, 19 – valves for ammonia supply; 18 – vacuum pipeline; 19, 24 – vacuum closures
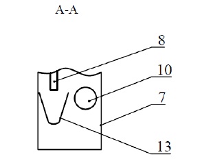
Рис. 2. Разрез по А-А (рис. 1):
7 – десублиматор; 8 – секции десублиматора; 10 – патрубок; 13 – желоба для отвода талой воды
Fig. 2. Cut A-A (Fig. 1): 7 – desublimator;
8 – desublimator sections; 10 – branch pipe;13 – chutes for defrosting water
Рисунки 1 и 2: разрез А-А состоит из корпуса 1, в котором установлены сублимационные камеры 2 и 25, подключенные к вакуумным трубам 4 и 23 с затворами 3 и 24; они соединены с секциями 8 и 20 десублиматора 7. Под сублимационными камерами 2 и 25 расположены емкости 5 и 22 для отвода конденсата через краны 6 и 21 на секции десублиматора 8 и 20. Вакуум к секции 8 десублиматора подключен через затвор 9 и патрубок 10, аммиак подается в десублиматор через затвор 11, талая вода отводится по желобу 13. Секция 20 десублиматора укомплектована вакуум-проводом 18 и затворами 17 и 19 для подачи аммиака. Желоба 16 и 13 насоса 12 соединены с канализацией.
Последовательность запуска линии в работу следующая. Камеры сублимации 2 и 25 тщательно заполняются подготовленными продуктами обработки и герметизируются. Жидкий аммиак подается в секцию 8 десублиматора через затвор 11, а вакуум в сублимационную камеру 2 поступает через вакуум-провод 4 и 10, затворы 3 и 9; в сублимационную камеру подается пар и таким образом она запускается в работу.
Аммиак через открытый затвор 17 подается в секцию сублиматора 20, а вакуум – по проводам 23 и 18. Лед из секции 20 десублиматора смывается аналогично конденсатом из емкости 22 через кран 21; талая вода через сточный желоб 16, кран 15 насосом 12 спускается в канализацию.
В условиях производства недорогой (избыточной) электроэнергии и сокращения цикла сублимации целесообразно использовать установку сублимации на базе СВЧ-энергии, которая встраивается в линию для сублимации кормов и продуктов, в ней вместо пара используется СВЧ-энергия [14; 15].
Оптимальная частота и мощность СВЧ-генератора выбираются в зависимости от производительности установки и вида обрабатываемой продукции [16].
Сублимационная установка содержит камеру сушки, СВЧ-камеру (рис. 3, 4), сообщающуюся с волноводом 2, форма которого идентична периметру СВЧ-камеры 1, а через встречные перпендикуляры, направленные волноводами 3, она соединена с однотипными СВЧ-генераторами 4 с одинаковым электромагнитным полем (частотой, амплитудой и мощностью). В центре боковых сторон СВЧ-камеры 1 установлены вакуум-отводы 5, а внутри ее размещается тележка 6 с направляющими фиксаторами 7 и стойками 8 с закрепленными уголками 9, на них установлены лотки 10, дно которых изготовлено из диэлектрической сетки 11, диагональ отверстия сетки меньше размера высушиваемых частиц.
3 – волноводы; 4 – СВЧ-генератор; 5 – вакуум-отводы; 6 – тележка; 7 – направляющие фиксаторы;
8 – стойки; 9 – уголки; 10 – лотки; 11 – диэлектрическая сетка
Fig. 3. Sublimation plant: 1 – microwave chamber body; 2 – waveguide box; 3 – waveguides;
4 – microwave generator; 5 – vacuum outlets; 6 – trolley; 7 – guide clamps; 8 – racks; 9 – corners;
10 – trays; 11 – dielectric grid
Работа сублимационной установки
Измельченную до 50–100 мм замороженную рыбу в лотках 10 помещают в сублимационную камеру 1, устанавливают на уголки 9, закрепленные горизонтально на вертикальных стойках 8. Фиксаторы 7 удерживают тележку с продуктами на одинаковом расстоянии от боковых стенок тележки 6. В СВЧ-камеру по проводу 5 подается вакуум, а в сублимационную камеру 1 по волноводам 3 от СВЧ-генераторов 4 подается СВЧ-энергия по волноводам 2 через проходы в диэлектрической сетке 11 к обрабатываемым продуктам и осуществляет их сублимацию: нагрев продуктов и отвод замороженных молекул воды и конденсата в канализацию.
Температура сублимации варьируется в пределах 100–130 ºC. Когда обрабатываемый продукт высушивается до требуемой влажности (5–8 %), отключаются все системы и тележка с сухим продуктом выгружается [2; 17]
Применение СВЧ-энергии в предложенной конструкции сублимационной камеры обеспечивает равномерность сушки заложенного продукта и сокращает время цикла.
Известно, что максимальное электрическое поле в круглом волноводе (трубе) находится по оси и резко снижается по радиусу, поэтому волновод, СВЧ-камеру и короб волновода следует оформлять прямоугольными (патент № 2382529).
Обсуждение и заключение
Таким образом, реализуется безотходная экологичная и экономичная технология производства рыбной муки для корма (высокоэффективного компонента комбикормов). Непрерывная работа сублимационной установки, за счет двух попеременно работающих камер, позволяет сократить цикл сушки и удельные затраты энергии. При этом снижаются затраты электроэнергии на замораживание рыбы до минус 30 °C, так как в Арктике происходит естественное охлаждение, используются этан, пропан и бутан (отходы при очистке газа и нефтепродуктов на предприятиях, расположенных в той же местности).
Измельченная сублимированная рыбная мука для приготовления кормов животным в крафт-мешках, заполненных инертным газом, может быть доставлена в любой регион России и длительное время храниться при плюсовых температурах [18–20].
Как уже было замечено, СВЧ-нагрев относится к новому особому виду электротехнологий. Его преимущества: безынерционность, то есть возможно мгновенно возобновить или приостановить подогрев обрабатываемого материала, рациональное преобразование СВЧ-энергии в тепловую, КПД этого процесса составляет 90 % [21]. СВЧ-энергия представляет собой взаимосвязанные переменные электрическое и магнитное поля, где изменение одного из них приводит к появлению другого. Процесс сублимационной сушки – это процесс перевода льда в газообразную фазу, минуя жидкое состояние.
Приведенной технологии сушки присущи следующие преимущества: высокая сохранность (90 %) белка, витаминов, вкуса, запаха, цвета и размеров, резкое снижение транспортных расходов, удельного веса (1/5–1/10 от веса необработанных продуктов) и возможность длительного хранения в соответствующей упаковке при положительной температуре, а также неподверженность радиации по причине высокой сухости [22]. Сублимационная сушка обеспечивает своевременную переработку и хранение аквакультуры. Недостатком сублимационной сушки является высокая энергоемкость (2,2–2,8 кВт∙ч/кг удаленной влаги)9. Однако в условиях охлажденной или замерзшей рыбы и дешевой электроэнергии это выгодно. Проблема эффективного использования СВЧ-энергии в составе непрерывной двухкамерной линии сублимационной установки весьма актуальна и может быть успешно реализована в производстве.
1 О мерах по реализации государственной научно-технической политики в интересах развития сельского хозяйства [Электронный ресурс] // Указ президента Российской Федерации № 350 от 21 июля 2016 г. URL: http://kremlin.ru/acts/bank/41139 (дата обращения 02.12.2020); Приложение № 2 к протоколу заседания президиума совета по реализации Федеральной научно-технической программы развития сельского хозяйства на 2017–2025 годы от 14 ноября 2018 г. № 4 ПС [Электронный ресурс]. URL: http://government.ru/news/34707/ (дата обращения 02.12.2020).
2 Научно-технические проблемы освоения Арктики. Научная сессия Общего собрания членов РАН [Электронный ресурс] // ИНГГ СО РАН. URL: http://www.ipgg.sbras.ru/ru/science/publications/publ-nauchno-tekhnicheskie-problemy-osvoeniya-arktiki-nauchnaya-045167 (дата обращения 02.12.2020).
3 Рогов И. А. Электрофизические методы обработки пищевых продуктов. М.: Агропромиздат, 1988. 272 с.; Александров А. А. Термодинамические основы циклов теплоэнергетических установок. М.: Изд-во МЭИ, 2004. 159 с.
4 Камовников Б. П., Малков Л. С., Воскобойников В. А. Вакуум-сублимационная сушка пищевых продуктов. М.: Агропромиздат, 1985, 288 с.
5 Панфилов В. А. Теория технологического потока. М.: Колос, 2007. 319 с.
6 Что такое рыбная мука [Электронный ресурс]. URL: https://web.archive.org/web/20180406130334/http://www.feedprom.com/rybnaya-muka (дата обращения 02.12.2020).
7 Bank D. Aqua-Spark: Investing in Aquaculture for a Protein-Hungry Planet [Электронный ресурс]. URL: https://impactalpha.com/aqua-spark-investing-in-aquaculture-for-a-protein-hungry-planet (дата обращения 02.12.2020).
8 Куликов П. И. Производство муки, жира и белково-витаминных препаратов в рыбной промышленности. М.: Пищевая промышленность, 1971. 264 с.
9 Ривкин С. Л., Александров А. А. Термодинамические свойства воды и водяного пара. М.: ЭНЕРГОАТОМИЗДАТ, 1984. 80 с.
About the authors
Vladimir I. Syrovatka
Institute of Livestock Mechanization – Branch of the Federal Scientific Agroengineering Center VIM
Email: vniimzh@mail.ru
ORCID iD: 0000-0002-2846-9041
Head of the Laboratory of Institute of Livestock Mechanization – Branch
Russian Federation, 31 Poselok Znamya Oktyabrya, Moscow 108823Natalya V. Zhdanova
Institute of Livestock Mechanization – Branch of the Federal Scientific Agroengineering Center VIM
Email: vniimzh@mail.ru
ORCID iD: 0000-0002-5144-044X
Research Engineer
Russian Federation, 31 Poselok Znamya Oktyabrya, Moscow 108823Aleksandr N. Rasskazov
Institute of Livestock Mechanization – Branch of the Federal Scientific Agroengineering Center VIM
Author for correspondence.
Email: vniimzh@mail.ru
ORCID iD: 0000-0001-9630-5404
Leading Researcher, Cand.Sc. (Econ.)
Russian Federation, 31 Poselok Znamya Oktyabrya, Moscow 108823Andrey D. Obuhov
Federal Scientific Agroengineering Center VIM
Email: a.d.obukhov@yadnex.ru
ORCID iD: 0000-0002-3674-5659
Chief Specialist of the Laboratory of Digital Systems and Robotics in Dairy Animal Husbandry
Russian Federation, 5, 1st Institutskiy Proyezd, Moscow 109428Dmitriy I. Toropov
Permanent Mission of the Republic of Mordovia to the Presidentof the Russian Federation
Email: toropov54@mail.ru
Plenipotentiary Representative, D.Sc. (Econ.)
Russian Federation, 29 Obraztsova St., Moscow 127018References
- Mishurov N.P., Konovalenko L.Yu., Syrovatka V.I., Ponomarev S.V. Production of Competitive Feed for Aquaculture. Technika v selskom hozyaystve = Machinery in Agriculture. 2020; (10):15-18. Available at:https://rosinformagrotech.ru/data/tos/content/mera-280-4 (accessed 01.12.2020). (In Russ., abstract in Eng.)
- Kamovnikov B.P., Fomin M.Ye. [Technical and Economic Indicators of Sublimation Plants]. Myasnaya industriya SSSR = Meat Industry of the USSR. 1975; (7):16-18. (In Russ.)
- Kalantari M. Microwave Technology in Freeze-Drying Process. In: You K. Y. ed. Emerging Microwave Technologies in Industrial, Agricultural, Medical and Food Processing. IntechOpen; 2018.p. 143-157. (In Eng.) DOI: https://doi.org/10.5772/intechopen.74064
- Punathil L., Basak T. Fundamentals of Microwave Processing of Food Materials: Modeling and Simulation Methods. Reference Module in Food Science. 2017. (In Eng.) DOI: https://doi.org/10.1016/B978-0-08-100596-5.21842-8
- Maffei S., Brevini T.A.L., Gandolfi F. Freezing and Freeze-Drying: The Future Perspective of Organ and Cell Preservation. In: Brevini T. ed. Stem Cells in Animal Species: From Pre-clinic to Biodiversity.Stem Cell Biology and Regenerative Medicine. Cham: Humana Press; 2014. p. 167-184. (In Eng.)DOI: https://doi.org/10.1007/978-3-319-03572-7_9
- Ageev A.V. Modern Status and Prospects of Global and Domestic Production and Consumption of Fishmeal and Fodder for Aquaculture Facilities. Rybnoe khozyaystvo = Fishery. 2018; (5):81-85. Available at: https://www.elibrary.ru/item.asp?id=36675734 (accessed 01.12.2020). (In Russ., abstract in Eng.)
- Egorov I.A., Shevyakov A.N., Egorova T.V., et al. Fish Flour in Mixed Feed. Svinovodstvo = Pig Farming. 2020; (1):19-20. Available at: https://www.elibrary.ru/item.asp?id=42192531 (accessed 01.12.2020). (In Russ., abstract in Eng.)
- Yarmand M., Rad A.H. Microwave Processing of Meat. In: Chandra U. ed. Microwave Heating.IntechOpen; 2011. (In Eng.) DOI: https://doi.org/10.5772/20857
- Ivanov Yu.A., Skorkin V.K., Gridnev P.I., Larkin D.K. Intelligent System of Management and Providing Dairy Cattle Production Effectiveness on a Smart Farm. Agrarnaya nauka Yevro-Severo-Vostoka = Agricultural Science Euro-North-East. 2019; 20(1):57-67. (In Russ., abstract in Eng.) DOI:https://doi.org/10.30766/2072-9081.2019.20.1.57-67
- Morozov N.M., Rasskazov A.N. [Study of Innovative Ways to Improve the Efficiency of Livestock Production]. Technika v selskom hozyaystve = Machinery in Agriculture. 2018; (6):45-48. Available at: https://rosinformagrotech.ru/data/tos/arkhiv-zhurnala-besplatnyj-dostup/send/55-arkhiv-zhurnalaza-2018/950-tekhnika-i-oborudovanie-dlya-sela-iyun-6-252-2018 (accessed 01.12.2020). (In Russ.)
- Vaidramidis V. Predictive Microbiology. In: Membré J.-M., Valdramidis V. (eds). Modeling in Food Microbiology: From Predictive Microbiology to Exposure Assessment. ISTE Press – Elsevier; 2016.p. 1-15. (In Eng.) DOI: https://doi.org/10.1016/B978-1-78548-155-0.50001-0
- Jackson S.A., Dobson A.D.W. Yeasts and Molds: Aspergillus Flavus. In: Fuquay J.W. ed. Encyclopedia of Dairy Sciences. 2nd ed. Academic Press; 2011. p. 785-791. (In Eng.) DOI: https://doi.org/10.1016/B978-0-08-100596-5.01086-6
- Lenovich L.M. Survival and Death of Microorganisms as Influenced by Water Activity. In: Rockland L.B., Beuchat L.R. (eds). Water Activity: Theory and Applications to Food. 1st ed. Boca Raton: Routledge;1987. 18 p. (In Eng.) DOI: https://doi.org/10.1201/9780203734148
- Ciurzyńska A., Lenart A. Freeze-Drying – Application in Food Processing and Biotechnology –a Review. Polish Journal of Food and Nutrition Sciences. 2011; 61(3):165-171. (In Eng.) DOI: https://doi.org/10.2478/v10222-011-0017-5
- Syrovatka V.I., Mishurov N.P., Komarchuk T.S., Batsazov G.V. Freeze-Dryer. Patent 2,580,964 Russian Federation. 2016 April 10. Available at: http://www.freepatent.ru/images/img_patents/2/2580/2580964/patent-2580964.pdf (accessed 01.12.2020). (In Russ., abstract in Eng.)
- Zhdanov N.A, Syrovatka V.I., Batsazov G.V., Komarchuk T.S. [Line for Sublimation of Food and Products]. Patent 2,581,232 Russian Federation. 2016 April 20. Available at: https://findpatent.ru/patent/258/2581232.html (accessed 01.12.2020). (In Russ.)
- Alekseev G., Kalenov A., Mukhin I., Repin V. [Determination of the Optimal Ratio Between Sampling and Quantization for Microwave ADCs]. Elektronika: nauka, tekhnologiya i biznes = Electronics:Science, Technology and Business. 2019; (6):72-74. Available at: https://www.electronics.ru/files/article_pdf/7/article_7510_450.pdf (accessed 01.12.2020). (In Russ.)
- Valigurskiy D.I., Arustamov E.A The Main Tasks of Ensuring Food Independence of Russia.Vestnik evraziyskoy nauki = The Eurasian Scientific Journal. 2018; 10(5). Available at: https://esj.today/PDF/30ECVN518.pdf (accessed 01.12.2020). (In Russ., abstract in Eng.)
- Vasilenko V., Frolova L., Dragan I., et al. [Production Line for Fish Mixed Fodder with Vacuum Spraying]. Kombikorma = Compound Feeds. 2019; (4):38-40. (In Russ.) DOI: https://doi.org/10.25741/2413-287X-2019-04-2-059
- Ponomarev S., Fedorovykh Yu., Shirina Yu., et al. [Feed for Valuable Aquaculture Facilities:Problems and Solutions]. Kombikorma = Compound Feeds. 2019; (4):57-58. (In Russ.) DOI: https://doi.org/10.25741/2413-287X-2019-04-3-062
- Syrovatka V.I., Zhdanova N.V., Rasskazov A.N., Toropov D.I. Barothermal Processing of Animal Feed Ingredients. Inzhenernyye tekhnologii i sistemy = Engineering Technologies and Systems. 2019;29(3):428-442. (In Russ., abstract in Eng.) DOI: https://doi.org/10.15507/2658-4123.029.201903.428-442
- Morozov N., Tsoy L., Rasskazov A. Innovative Maintenance and Feeding of Weaning Piglets Based on New Technical Means. Inmateh – Agricultural Engineering. 2020; 62(3):49-54. Available at:https://inmateh.eu/api/uploads/62-05-N62-Morozova42ae020-b2d3-4bd8-a55c-4c87c9a04e59.pdf (accessed 01.12.2020). (In Eng.)
Supplementary files






















