The Current State of Development and Prospects for the Creation of Sensors of Thermodynamic Activity of Oxygen in Relation to Reactor Units with a Heavy Liquid Metal Coolant
- Authors: Chernov E.I.1, Chernov M.E.1, Rachkov V.I.2, Orlov A.I.2, Sysoev Y.M.1
-
Affiliations:
- JSC “Ekon”
- JSC “Proryv”
- Issue: No 1 (2023)
- Pages: 18-34
- Section: Articles
- URL: https://medbiosci.ru/0002-3310/article/view/136940
- DOI: https://doi.org/10.31857/S0002331023010041
- EDN: https://elibrary.ru/LVTIHF
- ID: 136940
Cite item
Full Text
Abstract
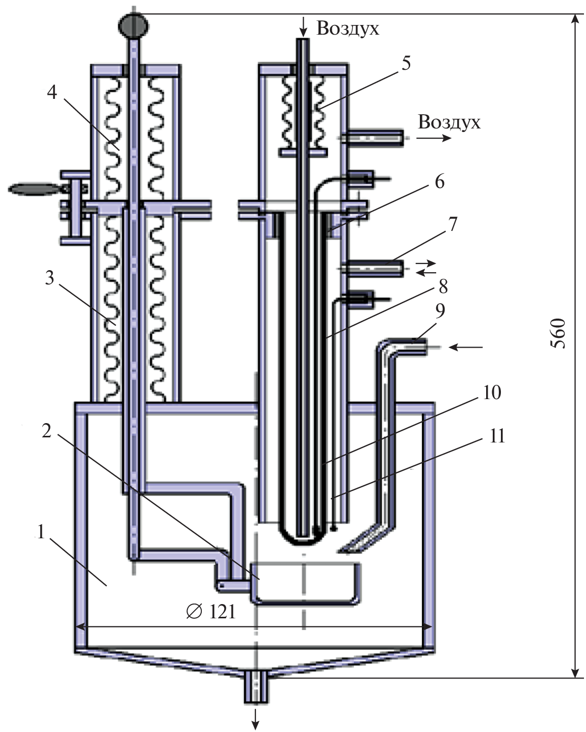
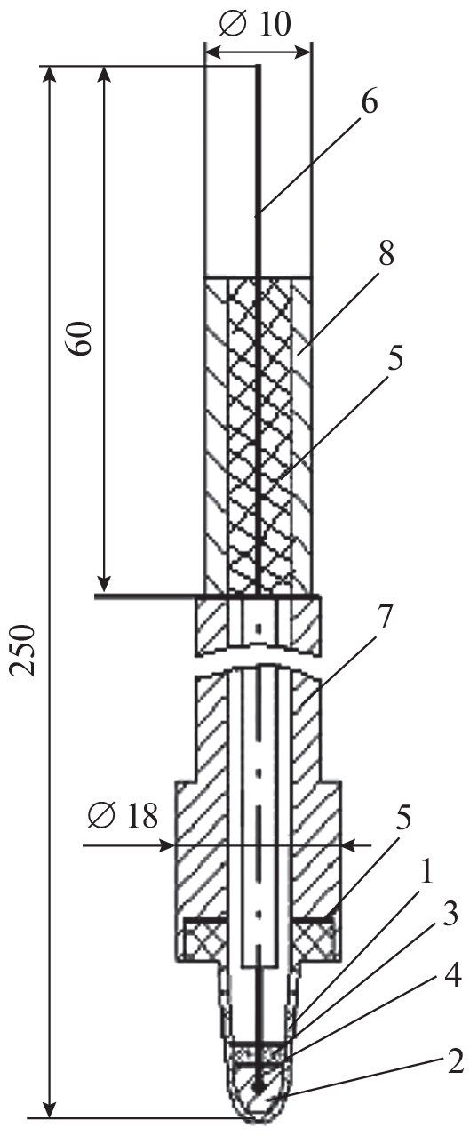
Successful development of the world nuclear energy is not possible without a transition to a new technological platform. The most promising nuclear technology for this today seems to be fast reactors cooled by liquid metal coolants. In 2021, the construction of the world’s first nuclear power plant with a fast reactor BREST-OD-300 began in the city of Seversk, Russia. This reactor, having a number of innovative solutions, uses liquid lead as the primary coolant. Lead belongs to the class of heavy liquid metal coolants and is similar in technological properties to the Pb-Bi eutectic alloy. Since the 60s of the last century, special attention has been paid to the substantiation of the operability and safety of heavy liquid metal coolants in Russia. The key element of the technology of such a coolant is the thermodynamic oxygen activity sensor, which controls the oxidation potential of the coolant and ensures the cleanliness and corrosion resistance of the circuit. This article provides an overview of the main design solutions proposed for the oxygen activity sensor, their analysis is given, and proposals for the development of an improved sensor design that would meet the requirements of large-scale nuclear power are considered.
About the authors
E. I. Chernov
JSC “Ekon”
Email: oai@proryv2020.ru
Russia, Obninsk
M. E. Chernov
JSC “Ekon”
Email: oai@proryv2020.ru
Russia, Obninsk
V. I. Rachkov
JSC “Proryv”
Email: oai@proryv2020.ru
Russia, Moscow
A. I. Orlov
JSC “Proryv”
Author for correspondence.
Email: oai@proryv2020.ru
Russia, Moscow
Yu. M. Sysoev
JSC “Ekon”
Email: oai@proryv2020.ru
Russia, Obninsk
References
- Субботин В.И. Основы безопасности ядерной энергетики // Сборник тезисов международной конференции “ТЖМТ-98”, Т. 1. Обнинск. 1999. С. 33–43.
- Орлов В.В., Филин А.И., Цикунов В.С., Сила-Новицкий А.Г., Смирнов В.С., Леонов В.Н. Задачи и требования к конструкции опытно-демонстрационного реактора БРЕСТ-ОД-300 // Сборник тезисов международной конференции “ТЖМТ-98”, Т. 2. Обнинск. 1999. С. 450–457.
- Кривенцев В., Хорошев М., Батра К. Обзор деятельности МАГАТЭ в области развития технологий быстрых реакторов: текущее состояние дел и перспективы // Сборник тезисов докладов V конференции “Тяжелые жидкометаллические теплоносители в ядерных технологиях (ТЖМТ-2018)”, Обнинск, ГНЦ РФ-ФЭИ, 2018. 155 с.
- Тошинский Г.И. Тяжелые жидкометаллические теплоносители в ядерной энергетике // Сборник тезисов докладов V конференции “Тяжелые жидкометаллические теплоносители в ядерных технологиях (ТЖМТ-2018)”, Обнинск, ГНЦ РФ-ФЭИ, 2018. 155 с.
- Иностранный источник
- Такизука Т., Цудзимота К., Соса Т., Такано Х. Использование тяжелого жидкометаллического теплоносителя в ускорительно-управляемых трансмутационных системах JAERI // Сборник докладов конференции “Тяжелые жидкометаллические теплоносители в ядерной технологии”, Т. 1. Обнинск. 1999. С. 149.
- Aria Y. et al. Recent Progress of Nitride Fuel Development in JAERI // Proc. Int. Conf. Future Nuclear Systems “Global 97”. Yokohama. 1997. P. 78.
- Чинотти Л., Корсини Дж., Джерарди Дж. и др. Проблемы, связанные с конструкцией ускорительно-управляемой системы, охлаждаемой свинцово-висмутовой эвтектикой // Сборник докладов конференции “Тяжелые жидкометаллические теплоносители в ядерной технологии”, Т. 1. Обнинск: ГНЦ РФ ФЭИ. 1999. С. 173.
- Cinotti L., Corcini G. A proposal for enhancing the primary coolant circulation in the EA. // International Workshop on Physics of Accelerator-Driven System for Nuclear Transmutation and Clean Energy Production. Trento, Italy. 1997. P. 67.
- Corrosion and Oxygen control. Minutes of the Workshop on Heavy Liquid Metal Technology. September 16–17. 1999. Forschungszentrum Karsruhe, Germany. P. 49.
- Nakagama T., et al. Nuclear Data for OMEGA Project. // Proc. 3rd OECD/NEA Int. Information Exchange Mtd. On P–T, Cadarache. 1994. P. 371.
- Караваев Ю.Н., Неймулин А.Д., Пальгуев С.Ф. Твердые электролиты для кислородных датчиков // Тезисы доклада Всесоюзного симпозиума. Ангарск. 1971. С. 7.
- Явойский В.И., Лузгин В.П., Вишкарев А.Ф. Окисленность стали и методы ее контроля. М.: Металлургия. 1970. 284 с.
- Чернов Е.И., Бабошин А.В., Чернов М.Е. Высокотемпературные твердоэлектролитные газоанализаторы // Сборник тезисов докладов научно-практической конференции “Энергосбережение в регионах России. Проблемы и возможности”. Калуга. 2000. С. 58.
- Шматко Б.А., Шимкевич А.Л., Блохин В.А. Диагностика коррозии и контроль технологических процессов методами активометрии в теплоносителе свинец-висмут // Сборник докладов конференции “Тяжелые жидкометаллические теплоносители в ядерной технологии”, Т. 2. Обнинск. 1999. С. 741.
- Мартынов П.Н., Чернов М.Е., Шелеметьев В.М. Капсульные твердоэлектролитные датчики для контроля кислорода // Новые промышленные технологии. 2004. № 3. С. 26.
- Carsten Schroer, Juergen Konys, Ariadna Verdaguer, Jordi Abellà, Alessandro Gessi, Alena Kobzova, Stella Babayan, Jean-Louis Courouau. Design and testing of electrochemical oxygen sensors for service in liquid lead alloys. Journal of Nuclear Materials, 415, 2011. P. 338–347.
- Bassini S., Antonelli A., Di Piazza I., Tarantino M. Oxygen sensors for Heavy Liquid Metal coolants: Calibration and assessment of the minimum reading temperature. Journal of Nuclear Materials, 486, 2017. P. 197–205.
- Pribadi Mumpuni Adhia, Masatoshi Kondob, Minoru Takahashi. Performance of solid electrolyte oxygen sensor with solid and liquid reference electrode for liquid metal. Sensors and Actuators, B 241. 2017. P. 1261–1269.
- Manfredia G., Lima J., Rosseela K., Van den Boscha J., Aertsa A., Th. Doneuxb, Buess-Hermanb C. Liquid metal/metal oxide reference electrodes for potentiometric oxygen sensor operating in liquid lead bismuth eutectic in a wide temperature range. Procedia Engineering 87, 2014. P. 264–267.
- Tianpeng Wen, Lei Yuan, Tao Liu, Qiaoyang Sun, Endong Jin, Chen Tian, Jingkun Yu. Enhanced ionic conductivity and thermal shock resistance of MgO stabilized ZrO2 doped with Y2O3. Ceramics International, V. 46. I. 12. 15 August 2020. P. 19835–19842. https://doi.org/10.1016/j.ceramint.2020.05.038
- Lim J., Mariën A., Rosseel K., Aerts A., Van den Bosch J. Accuracy of potentiometric oxygen sensors with Bi/Bi2O3 reference electrode for use in liquid LBE. Journal of Nuclear Materials 429 2012. P. 270–275.
- Yuji Kurata, Yuji Abe, Masatoshi Futakawa, Hiroyuki Oigawa. Characterization and re-activation of oxygen sensors for use in liquid lead–bismuth. Journal of Nuclear Materials 398 2010. P. 165–171.
- Brissonneau L., Beauchamp F., Morier O., Schroer C., Konys J., Kobzova A., Di Gabriele F., Courouau J.-L. Oxygen control systems and impurity purification in LBE: Learning from DEMETRA project. Journal of Nuclear Materials 415 (2011) 348–360.
- Abu Khalid Rivai, Minoru Takahashi. Investigations of a zirconia solid electrolyte oxygen sensor in liquid lead. Journal of Nuclear Materials 398 2010. P. 160–164.
- Pribadi Mumpuni Adhia, Nariaki Okubob, Atsushi Komatsub, Masatoshi Kondoc, Minoru Takahashic. Electrochemical impedance analysis on solid electrolyte oxygen sensor with gas and liquid reference electrodes for liquid LBE. Energy Procedia 131 2017. P. 420–427.
- Lim J., Manfredi G., Mariën A., Van den Bosch J. Performance of potentiometric oxygen sensors with LSM-GDC composite electrode in liquid LBE at low temperatures. Sensors and Actuators B 188 2013. P. 1048–1054.
- Субботин В.И., Ивановский М.Н., Арнольдов М.Н. Физико-химические основы применения жидкометаллических теплоносителей. М.: Атомиздат. 1970. С. 178.
- Безносов А.В., Серов В.Е., Гулевский В.А., Орлов Ю.И. Анализ методов и устройств контроля примесей в системах со свинцовым теплоносителем // Сборник тезисов докладов “Использование жидких металлов в народном хозяйстве”. Обнинск: ФЭИ. 1993. С. 124–126.
- Субботин В.И. Жидкометаллические теплоносители в ядерной энергетике // Материалы Российской межотраслевой конференции “Теплофизика 2002”. Т. 1. Тезисы докладов. Обнинск, ГНЦ РФ-ФЭИ, 2002. 332 с.
- Ефанов А.Д., Иванов К.Д., Мартынов П.Н., Орлов Ю.И. Технология свинцово-висмутового теплоносителя на ЯЭУ первого и второго поколений // Известия вузов. Ядерная энергетика. 2007. № 1. С. 138–144.
- Зеленский В.Н., Комлев О.Г., Тошинский Г.И. Исследование теплотехнических характеристик ядерной энергетической установки стенда 27/ВТ // Сборник тезисов докладов третьей межотраслевой конференции “Тяжелые жидкометаллические теплоносители в ядерной технологии (ТЖМТ-2008)”. Обнинск: ГНЦ РФ ФЭИ. 2008. 126 с.
- Тошинский Г.И. Атомная энергетическая установка с жидкометаллическим теплоносителем для подводных лодок. Роль российской науки в создании отечественного подводного флота / Под общ. Ред. А.А. Саркисова: РАН. М.: Наука, 2008. 654 с. http://elib.biblioatom.ru/text/rol-nauki-v-sozdanii-podvodnogo-flota_2008/go,600/
- Филатов Б.В., Василенко В.А. и др. Стенд КМ-1. Опыт эксплуатации / Сб. докладов конф. “Тяжелые жидкометаллические теплоносители в ядерных технологиях”. Обнинск, 1999. Т. 1. С. 80.
- Козлов Ф.А. Жидкометаллические теплоносители ЯЭУ. Очистка от примесей и их контроль. М.: Энергоатомиздат. 1983. 180 с.
- Козлов Ф.А., Кузнецов Э.К., Воробьев Т.А., Ульман Х., Реетц Т., Рихтер В. Электрохимическая ячейка для измерения активности кислорода в натрии // Атомная энергия. 1981. Т. 51. № 2. С. 99.
- Блохин В.А., Будылов Е.Г., Великанович Р.И. и др. Опыт создания и эксплуатации твердоэлектролитных активометров кислорода в теплоносителе свинец–висмут / Сб. докладов конф. “Тяжелые жидкометаллические теплоносители в ядерных технологиях”. – Обнинск, 1999. Т. 2. С. 631.
- Горелов И.Н., Рыжков А.Н., Шматко Б.А. Твердоэлектролитные приборы для контроля примеси кислорода в жидких металлах и газах // Сборник тезисов докладов межотраслевой конференции “Теплофизика–91”. Обнинск: ФЭИ. 1993. 131 с.
- Шматко Б.А., Шимкевич А.Л., Блохин В.А. Диагностика коррозии и контроль технологических процессов методами активометрии в теплоносителе свинец-висмут // Сборник докладов конференции “Тяжелые жидкометаллические теплоносители в ядерной технологии”, Т. 2. Обнинск. 1999. С. 741.
- Орлов В.В., Филин А.И., Цикунов В.С., Сила-Новицкий А.Г., Смирнов В.С., Леонов В.Н. Задачи и требования к конструкции опытно-демонстрационного реактора БРЕСТ-ОД-300 // Сборник тезисов международной конференции “ТЖМТ-98”, Т. 2. Обнинск. 1999. С. 450–457.
- Филин А.И. Экспериментальные работы в подтверждение концепции быстрого реактора со свинцовым теплоносителем (БРЕСТ). Результаты и планирование // Сборник докладов конференции “ТЖМТ”, Т. 2. Обнинск. 1999. С. 436.
- Гулевский В.А., Мартынов П.Н., Орлов Ю.И., Чернов М.Е. и др. Перспективные методы контроля состояния тяжелых теплоносителей // Сборник тезисов докладов Российской межотраслевой конференции “Тепломассоперенос и свойства жидких металлов”. Обнинск. 2002. С. 190.
- Мартынов П.Н., Чернов М.Е., Гулевский В.А., Проворов А.А. Разработка электрохимического датчика капсульного типа для контроля кислорода в тяжелых теплоносителях // Атомная энергия. 2005. Т. 98. Вып. 5. С. 360.
- Чернов М.Е. Датчик капсульного типа для контроля кислорода в контурах ЯЭУ с теплоносителями свинец и свинец-висмут: диссертация кандидата технических наук: 05.14.03. ГНЦ РФ ФЭИ, Обнинск, 2005. 172 с.
- Мартынов П.Н., Асхадуллин Р.Ш., Стороженко А.Н., Чернов М.Е. и др. Особенности метрологической поверки датчиков активности кислорода в жидкометаллических теплоносителях // Известия ВУЗов. Ядерная энергетика. № 3. 2012. С. 68.
- Чернов М.Е., Мартынов П.Н., Стороженко А.Н. и др. Достижения и перспективы в разработке датчиков контроля кислорода для моноблочных РУ с теплоносителями Pb–Bi и Pb. Новые промышленные технологии, 2011, Вып. 1. С. 11–13.
- Асхадуллин Р.Ш., Стороженко А.Н., Шелеметьев В.М., Скоморохов А.Н., Садовничий Р.П., Легких А.Ю. Современное состояние разработок АО “ГНЦ РФ-ФЭИ” датчиков активности кислорода для реакторных установок с тяжелым жидкометаллическим теплоносителем // Вопросы атомной науки и техники. Серия: ядерно-реакторные константы. № 5. 2017. С. 12–19.
- Садовничий Р.П., Мартынов П.Н., Асхадуллин Р.Ш., Стороженко А.Н., Чернов М.Е. Контроль содержания кислорода в ТЖМТ. Проблемы и решения // Вопросы атомной науки и техники. Серия: ядерно-реакторные константы. № 3. 2015. С. 115–126.
- Мартынов П.Н., Асхадуллин Р.Ш., Симаков А.А., Ланских В.С., Чернов М.Е. и др. Автоматическая система управления термодинамической активностью кислорода в винцово-висмутовом теплоносителе // Известия ВУЗов. Ядерная энергетика. № 3. 2009. С. 176–183.
- Гулевский В.А., Мартынов П.Н., Орлов Ю.И., Чернов М.Е. и др. Обобщение результатов экспериментальных исследований поведения примеси кислорода в циркуляционных контурах с тяжелыми теплоносителями // Сборник тезисов докладов Российской межотраслевой конференции “Тепломассоперенос и свойства жидких металлов”. Обнинск. 2002. С. 163.
- Перфильев В.М., Демин А.К., Кузин Б.Л., Липилин А.С. Высокотемпературный электролиз газов. М.: Наука. 1988. 232 с.
- Шелеметьев В.М., Иванов И.И., Асхадуллин Р.Ш., Стороженко А.Н., Кузин П.В. Влияние конструктивного исполнения электрода сравнения на метрологические характеристики твердоэлектролитного датчика кислорода в газе // Вопросы атомной науки и техники. Серия: ядерно-реакторные константы. № 1. 2019. С. 96–116.
- Осипов А.А., Иванов К.Д., Садовничий Р.П., Шелеметьев В.М. Эффекты поляризации и электронной проводимости ионных проводников на основе ZrO2 // Вопросы атомной науки и техники. Серия: ядерно-реакторные константы. № 2. 2014. С. 48–60.
- Чернов Е.И., Денискин Е.И. и др. Приборы для систем контроля технического процесса сжигания топлива // Сборник тезисов докладов конференции “Методы и средства измерения теплофизических параметров”. Обнинск. 1996. С. 160.
- Чернов Е.И. и др. Датчик контроля дымовых газов // Патент на изобретение № 2142129 от 10.02.1997 г.
- Чернов Е.И., Чернов М.Е. Чувствительный элемент газоанализатора кислорода и способ его изготовления // Патент на изобретение № 2339027, от 10.12.2007 г.
- Чернов Е.И., Чернов М.Е. Чувствительный элемент газоанализатора кислорода и химнедожога. Патент на изобретение № 2584265, от 14.04.2015.
- Чернов Е.И., Чернов М.Е. Литьевая установка. Патент на полезную модель № 149450, от 11.07.2014.
- Блохин В.А., Борисов В.В. и др. Датчик контроля кислорода в натрии // Вопросы атомной науки и техники. Серия: ядерно-реакторные константы. № 4. 2016. С. 108–115.
- Блохин В.А., Борисов В.В., Камаев А.А. и др. Датчики для внутриреакторного контроля водорода и кислорода в натрии // Вопросы атомной науки и техники. Серия: ядерно-реакторные константы. № 4. 2017. С. 5–14.
Supplementary files









