Optimal Suppression of Oscillations in the Problem of a Spin-Up of a Two-Mass System
- Authors: Vasenin S.A.1, Reshmin S.A.1
-
Affiliations:
- Ishlinsky Institute for Problems in Mechanics, Russian Academy of Sciences (IPMech RAS), 119526, Moscow, Russia
- Issue: No 6 (2023)
- Pages: 67-80
- Section: OPTIMAL MANAGEMENT
- URL: https://medbiosci.ru/0002-3388/article/view/148133
- DOI: https://doi.org/10.31857/S0002338823060112
- EDN: https://elibrary.ru/FNEJMB
- ID: 148133
Cite item
Full Text
Abstract
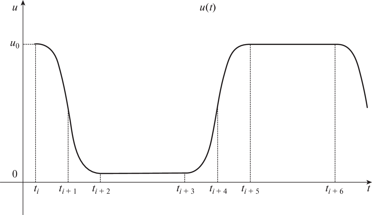
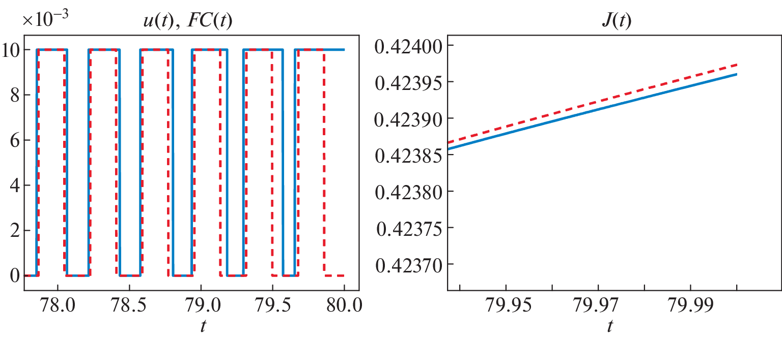
We consider a controlled mechanical system of many bodies, consisting of a load-bearing disk that rotates around its axis fixed in space, and a carried disk attached to it using weightless elastic elements. The presented bodies are in the same plane. The problem of minimizing the amplitude of radial oscillations is studied. To solve this problem over a sufficiently large interval, two numerical methods are used: the method of successive approximations in the control space and Newton’s method. The properties of the phase trajectories of the system are studied depending on the initial states of the disks. Various disk spin-up modes are detected. Using the smoothing procedure for optimal control, a continuous control is constructed that reduces the amplitude of radial oscillations.
About the authors
S. A. Vasenin
Ishlinsky Institute for Problems in Mechanics, Russian Academy of Sciences (IPMech RAS), 119526, Moscow, Russia
Email: stepan_vasenin@mail.ru
Россия, Москва
S. A. Reshmin
Ishlinsky Institute for Problems in Mechanics, Russian Academy of Sciences (IPMech RAS), 119526, Moscow, Russia
Author for correspondence.
Email: stepan_vasenin@mail.ru
Россия, Москва
References
- Крылов И.А., Черноусько Ф.Л. О методе последовательных приближений для решения задач оптимального управления // ЖВМиМФ. 1962. Т. 2. № 6. С. 1132–1139.
- Понтрягин Л.С., Болтянский В.Г., Гамкрелидзе Р.В., Мищенко Е.Ф. Математическая теория оптимальных процессов. М.: Наука, 1983.
- Решмин С.А., Васенин С.А. Применение метода последовательных приближений при решении краевых задач принципа максимума на примере задачи управления раскручиванием двухмассовой системы // Modern European Researches. 2022. № 3 (Т. 1). С. 186–196.
- Дивеев А.И., Константинов С.В. Исследование практической сходимости эволюционных алгоритмов оптимального программного управления колесным роботом // Изв. РАН. ТиСУ. 2018. № 4. С. 80–106.
- Garcia Almuzara J.L., Flügge-Lotz I. Minimum Time Control of a Nonlinear System // J. Differen. Equations. 1968. V. 4. № 1. P. 12–39.
- Ovseevich A.I. Complexity of the Minimum-Time Damping of a Physical Pendulum // SIAM J. on Control and Optimization. 2014. V. 52. № 1. P. 82–96.
- Решмин С.А. Бифуркация в задаче быстродействия для нелинейной системы второго порядка // ПММ. 2009. Т. 73. Вып. 4. С. 562–572.
- Решмин С.А. Пороговая абсолютная величина релейного управления при наискорейшем приведении спутника в желаемое угловое положение // Изв. РАН. ТиСУ. 2018. № 5. С. 30–41.
- Галяев А.А., Лысенко П.В. Оптимальное по энергии управление гармоническим осциллятором // АиТ. 2019. № 1. С. 21–37.
- Лавровский Э.К. О быстродействии в задаче управления вертикальным положением маятника с помощью перемещения его основания // Изв. РАН. ТиСУ. 2021. № 1. С. 42–51.
- Каюмов О.Р. Оптимальное по быстродействию перемещение тележки с маятником // Изв. РАН. ТиСУ. 2021. № 1. С. 30–41.
- Решмин С.А. Применение метода Ньютона при решении краевых задач принципа максимума на примере задачи об оптимальном раскручивании двухмассовой системы // Modern European Researches. 2021. № 2 (Т. 1). С. 114–122.
- Каюмов О.Р. Оптимальный по быстродействию поворот пружинного маятника // Изв. РАН. ТиСУ. 2023. № 5. C. 43–56.
- Розенблат Г.М. Об оптимальном повороте твердого тела при помощи внутренних сил // Доклады Российской академии наук. Математика, информатика, процессы управления. 2022. Т. 505. № 1. С. 92–99.
- Черноусько Ф.Л. Оптимальное управление движением двухмассовой системы // ДАН. 2018. Т. 480. № 5. С. 528–532.
- Черноусько Ф.Л., Шматков А.М. Оптимальное управление поворотом твердого тела при помощи внутренней массы // Изв. РАН. ТиСУ. 2019. № 3. С. 10–23.
- Наумов Н.Ю., Черноусько Ф.Л. Переориентация твердого тела, управляемого посредством подвижной внутренней массы // Изв. РАН. ТиСУ. 2019. № 2. С. 98–105.
- Привалов Е.А., Жбанов Ю.К. Стержневая конструкция упругого подвеса инертной массы // Изв. РАН. МТТ. 2018. № 5. С. 19–28.
- Журавлев В.Ф. Двумерный осциллятор Ван дер Поля с внешним управлением // Нелинейная динамика. 2016. Т. 12. № 2. С. 211–222.
- Журавлев В.Ф. Пространственный осциллятор Ван-дер-Поля. Технические приложения // Изв. РАН. МТТ. 2020. № 1. С. 158–164.
- Овсеевич А.И., Федоров А.К. Управление в форме синтеза для успокоения системы осцилляторов // АиТ. 2015. № 11. С. 3–17.
- Ананьевский И.М., Овсеевич А.И. Управляемое перемещение линейной цепочки осцилляторов // Изв. РАН. ТиСУ. 2021. Т. 5. № 5. С. 18–26.
- Воеводин П.С., Заболотнов Ю.М. О стабилизации движения электродинамической тросовой системы на околоземной орбите // Изв. РАН. МТТ. 2019. № 4. С. 48–62.
- Беллман Р. Динамическое программирование. М.: Изд-во иностр. лит., 1960.
- Решмин С.А. Качественный анализ силы тяги при вращении ведущего колеса с невесомой шиной // Тр. Математического ин-та им. В.А. Стеклова. 2021. Т. 315. С. 211–221.
- Розоноэр Л.И. Принцип максимума Л.С. Понтрягина в теории оптимальных систем. I // АиТ. 1959. Т. 20. Вып. 10. С. 1320–1334.
Supplementary files









