Gauge factor of refractory high-entropy alloys
- Authors: Evdokimov I.V.1, Sterkhov Е.V.1, Uporov S.A.1, Ryltsev R.E.1
-
Affiliations:
- Institute of Metallurgy, Ural Branch, Russian Academy of Sciences
- Issue: Vol 125, No 11 (2024)
- Pages: 1405-1415
- Section: СТРУКТУРА, ФАЗОВЫЕ ПРЕВРАЩЕНИЯ И ДИФФУЗИЯ
- URL: https://medbiosci.ru/0015-3230/article/view/284467
- DOI: https://doi.org/10.31857/S0015323024110094
- EDN: https://elibrary.ru/ILZJUW
- ID: 284467
Cite item
Full Text
Abstract
One of the most promising applications of high-entropy alloys (HEAs) is their use as materials for strain gauges. In order to study HEAs in the context of this application, it is necessary to be able to accurately and rapidly measure gauge factor (GF). This paper reports the results of testing and validation of a precision automated system for direct strain gauge testing of metal alloys. The technique has been applied in studies of both known strain-gauge alloys and new HEAs such as TiHfZrTa, TiHfNbTaZr, TiHfNbTa, and TiHfNbZr. It has been demonstrated that the HEAs under investigation display a markedly elevated GF with values ranging from 3.60 to 5.17. This is significantly higher than that observed in conventional materials employed in the fabrication of strain gauges, such as manganin, constantan, and nichrome. Furthermore, the examined HEAs demonstrate a considerable elastic limit, reaching up to 972 MPa. The analysis of the obtained data leads to the hypothesis that the anisotropy of the elastic properties of the material is an essential factor responsible for the high GF.
Full Text
ВВЕДЕНИЕ
Один из трендов современного материаловедения — использование многокомпонентных сплавов, в которых отсутствуют доминирующие элементы. В дальнейшем для обозначения таких систем мы будем использовать устоявшийся термин высокоэнтропийные сплавы (ВЭС). Одной из причин большого интереса к ВЭС являются их уникальные механические свойства, такие как высокая прочность на сжатие и растяжение [1, 2], твердость [3, 4], пластичность [5, 6], жаропрочность [4, 7], а также хладопрочность [8, 9]. Тем не менее высокая стоимость ВЭС по сравнению с традиционными конструкционными материалами существенно ограничивает их применение. Актуальной задачей является поиск специализированных приложений, в которых преимущества ВЭС нивелируют их высокую стоимость и сложность синтеза. Одним из таких приложений может стать изготовление различных датчиков и других устройств микронного размера, поскольку для этого требуется сравнительно малое количество материала.
Недавно было обнаружено, что ВЭС обладают рядом характеристик, которые позволяют рассматривать их в качестве перспективных материалов для тензорезисторов [10, 11]. В частности, было показано, что сплавы TiZrHfNb, TiZrHfNbTa и FeCoCrMnNi демонстрируют линейное изменение электрического сопротивления от нагрузки вплоть до 900 МПа, а также имеют высокий коэффициент тензочувствительности (ТЧ, англ. GF — Gauge Factor): 4.78, 3.71 и 3.49 соответственно. Эти сплавы являются парамагнетиками в широком температурном диапазоне [10, 12], демонстрируют низкие температурные коэффициенты электрического сопротивления и термического расширения [11], по сравнению с классическими тензорезисторами, а также имеют высокие прочность и предел упругости [13–15]. Важно отметить, что чувствительные элементы тензометрических датчиков выполняют либо из тонкой проволоки диаметром в пределах 0.02–0.05 мм, либо фольги (пленки) толщиной в несколько микрон [16–18]. При таком подходе расход материала составляет всего около килограмма на несколько сот датчиков, что нивелирует относительно высокую стоимость элементов жаропрочных ВЭС по сравнению с традиционными материалами.
Исследование ВЭС в контексте тензометрических приложений требует точного и экспрессного измерения ТЧ. Однако экспериментальные исследования данного свойства для современных материалов, в том числе ВЭС, практически не проводятся. Измерения ТЧ для традиционных сплавов, сделанные десятки лет назад на аналоговом оборудовании, демонстрируют значительный разброс значений. Коммерческие аттестованные установки для изучения ТЧ на рынке приборов не представлены, поэтому исследователи вынуждены проектировать, собирать и аттестовывать такие приборы самостоятельно. В связи с этим актуальным является описание и аттестация прецизионной автоматизированной системы для прямых тензометрических испытаний металлических сплавов и ее применение к измерению ТЧ как для традиционных тензометрических сплавов, так и для новых перспективных ВЭС. Также представляет интерес обсуждение физических механизмов, обусловливающих ТЧ металлических материалов. Обсуждение данных вопросов и есть основная цель данной работы, в рамках которой последовательно решали следующие задачи: 1) краткий обзор металлов и сплавов, используемых в качестве тензорезисторов, а также их основных свойств; 2) описание оригинальной установки для измерения тензочуствительности, а также некоторых методических аспектов измерения данной величины и соответствующей пробоподготовки; 3) описание результатов исследования тензочувствительности как известных систем, так и новых ВЭС TiHfZrTa, TiHfNbTaZr, TiHfNbTa и TiHfNbZr, их кристаллической структуры, микроструктуры и удельного электрического сопротивления; 4) анализ возможных физических механизмов, обуславливающих тензочувствительность высокоэнтропийных сплавов.
МАТЕРИАЛЫ ДЛЯ ТЕНЗОРЕЗИСТОРОВ И ИХ ХАРАКТЕРИСТИКИ
Рассматривая сплавы, которые используют в качестве материалов для тензорезисторов, важно выделить набор свойств, наиболее существенных для данного приложения. Одной из наиболее важных характеристик является тензочувствительность [19–22], определяемая как отношение относительного изменения электрического сопротивления R к относительному удлинению ε:
GF = ΔR/εR0. (1)
Кроме ТЧ, большое значение имеет абсолютное значение удельного электрического сопротивления, температурные коэффициенты сопротивления и расширения (ТКС и ТКР), а также предел упругости σy (см. табл. 1). Несмотря на небольшие размеры тензодатчиков и, следовательно, малый расход материала, стоимость сплава также играет роль, поскольку использование очень дорогих металлов (например, платины и иридия), может существенно увеличить стоимость конечного продукта.
Активное исследование металлов и сплавов в контексте тензометрических приложений началось более ста лет назад и наиболее интенсивно продолжалось вплоть до середины прошлого века. В этот период были открыты и изучены наиболее распространенные на сегодняшний день коммерческие сплавы (табл. 1). Было обнаружено, что чистые металлы в основном превосходят сплавы по тензочувствительности, но имеют ряд недостатков, к которым можно отнести высокий температурный коэффициент сопротивления и низкое удельное электросопротивление (ρ) [23, 24]. Так при комнатной температуре чистая медь имеет GF = 2.31 и ρ = 1.67 мкОм×см, а бинарный сплав из меди и никеля имеет GF = 2.00 и ρ = 48.8 мкОм×см [25]. Тензочувствительность сплавов на основе железа может достигать 4.2 [25], но такие сплавы обладают ферримагнитными свойствами, что значительно усложняет применение тензорезисторов на их основе. Дорогостоящие сплавы на основе золота, палладия и платины обладают высоким коэффициентом тензочувствительности, который может достигать GF = 26 [23, 25, 26]. Можно встретить коммерческие тензорезисторы, изготовленные из сплавов на основе платины [19, 27], но их применение значительно ограниченно высокой себестоимостью. В настоящее время для изготовления тензорезисторов в основном применяют манганин [19, 27–29], нихром [19, 30–33] и константан [28, 29, 33–36]. Данные материалы имеют тензочувствительность от 0.47 для манганина [19, 27–29] до 3.00 для константана [28, 29, 34]. Одним из недостатков классических материалов является низкий предел упругости, т. е. наличие пластической деформации при малых нагрузках, что приводит к нелинейному изменению удельного электрического сопротивления. Так, например, для отожженного манганина после нагрузки 300–400 МПа GF изменяется от 0.51–0.78 до 1.95–2.00 [19, 27].
Недавно было обнаружено, что ВЭС на основе элементов IV и V группы по совокупности характеристик превосходят упомянутые выше коммерческие сплавы. Действительно, помимо рекордно большого ТЧ такие системы обладают большой величиной сопротивления, малым ТКС, а также прекрасными с точки зрения тензометрии механическими свойствами (см. табл. 1). Данные результаты говорят о перспективности изучения ВЭС в контексте тензометрических приложений.
Таблица 1. Некоторые тензометрические сплавы и их характеристики
Состав | GF | ρ, мкОм×см | ТКС, ×10–4K–1 | ТКР ×10–6K–1 | σy, МПа |
Cu84Mn12Ni4 (Манганин) | 18,1 [39] | ||||
Ni80Cr20 | – | ||||
Cu55Ni45 (Константан) | 13.8 [43] | 302 [27] | |||
Ni74Cr20Al3Fe3 (Карма) | 133 [19] | 0.7 [41] | 11.8 [44] | – | |
Pt92W8 | 59 [23] | 1.5 [23] | – | – | |
Pt95Ir5 | 112 [19] | 5.9 [45] | – | 513 [27] | |
TiHfNbZr | 3.60 | 119 | 0.8 | 7.2 | |
TiHfNbTa | 4.31 | 85 | 0.7 | 7.5 | |
TiHfNbZrTa | 4.78 | 101 | 2.7 | 7.3 | |
TiHfZrTa | 5.17 | 105 | 3.2 | 7.1 | 1060 [15] |
УСТАНОВКА ДЛЯ ИЗМЕРЕНИЯ ТЕНЗОЧУВСТВИТЕЛЬНОСТИ, ТЕСТИРОВАНИЕ И АТТЕСТАЦИЯ
Как было показано выше, измерение тензочувствительности современных многокомпонентных сплавов (в том числе ВЭС) является актуальной задачей. К сожалению, на рынке научного оборудования отсутствуют коммерческие установки для измерения ТЧ, что заставляет исследователей собирать и калибровать их самостоятельно. Ниже приведено краткое описание установки, сделанной авторами работы, а также результаты ее аттестации на нескольких хорошо изученных системах.
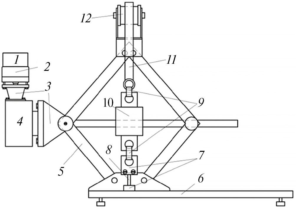
В доступной литературе представлены два варианта измерения сопротивления в зависимости от приложенной нагрузки: 1) растяжение образца, с регистрацией изменения электросопротивления [20, 21 51–53]; 2) метод консольной балки (a cantilever method) [22, 32, 54–56]. Нами был выбран первый вариант, т.к. этот метод позволяет измерять холоднокатаные ленты исследуемых образцов и является более универсальным. Принципиальная схема установки приведена на рис. 1.
Рис. 1. Схема установки для измерения тензочуствительности: 1 — шаговый двигатель; 2 — цилиндрический редуктор; 3 — переходники; 4 — червячный редуктор; 5 — домкрат; 6 — станина; 7 — зажимы образца; 8 — образец; 9 — крюки; 10 –тензодатчик нагрузки; 11 — алюминиевый прут; 12 — блок монтажный с площадкой.
Основной принцип работы установки состоит в следующем. Образец в виде холоднокатанной ленты размером 70×3×0.3 мм помещают в измерительную ячейку с помощью зажимов и подвергают растяжению с помощью шагового двигателя, который поднимает блок с монтажной площадкой. Максимальная нагрузка, которую можно приложить к исследуемому образцу, ограничена тензодатчиком нагрузки и составляет 150 кг с точностью 50 г. Электросопротивление образца регистрируется стандартным 4-контактным методом, с использованием источника постоянного тока АКИП-2101 и измерителя сопротивления АКИП-6304 с погрешностью прибора 0.01 мкОм. Измерения проводятся по три параллели для каждого сплава. Относительное удлинение было рассчитано по закону Гука:
ε = σ /E, (2)
где σ — напряжение в поперечном сечении, измеренное прямым методом, МПа; E — модуль Юнга, МПа, значения которого брали из литературных данных или рассчитывали аддитивным методом в случае их отсутствия (для ВЭС).
Управление установкой осуществляется автоматически с помощью программы, написанной в среде LabView, которая позволяет выбрать, с каким шагом нагрузки будет происходить регистрация удельного сопротивления, и максимальную нагрузку.
Для аттестации установки использовали стандартные материалы, которые используются при производстве тензорезисторов, такие как манганин, константан и нихром. Данные сплавы были получены дуговой плавкой, после чего прокатаны на холодных валках в ленты до толщины от 300 до 200 мкм. Для аттестации были выбраны два параметра: удельное электросопротивление и коэффициент тензочувствительности (табл. 2). Все измерения проводили по пять параллелей; относительная погрешность измерений составляет ±10 %.
Таблица 2. Удельное сопротивление и тензочувствительность для классических тензометрических сплавов
Сплав | ρ, мкОм×см | ρлит, мкОм×см | GFэксп | GFлит |
Манганин Cu84Mn12Ni4 (вес. %) холоднокатанный | 47 | 0.90 | ||
Манганин Cu84Mn12Ni4 (вес. %) холоднокатанный + отжиг | 46 | 0.49 | ||
Константан Cu55Ni45 (вес. %) | 58 | 2.80 | ||
Нихром Ni80Cr20 (ат. %) | 95 | 2.69 |
Коэффициент тензочувствительности холоднокатаных лент сплавов константана Cu55Ni45 (вес. %) и нихрома Ni80Cr20 (ат. %) находится в хорошем согласии с литературными данными. В доступной литературе для этих сплавов наблюдается значительный разброс значений коэффициента тензочувствительности, что, вероятно, объясняется влиянием пробоподготовки. Действительно, в работах [22, 57] было рассмотрено влияние отжига сплава манганина на изменение удельного электрического сопротивления и коэффициента тензочувствительности. Авторы наблюдали двукратное различие коэффициента тензочувствительности холоднокатаного образца и холоднокатаного образца с последующим отжигом. Такой большой разброс GF может быть объяснен структурными изменениями сплава: снятием дефектов, которые накапливаются в процессе холодной прокатки [57], или упругой анизотропией и текстурой материалов [24]. Указанную особенность GF нужно учитывать как при анализе литературных данных, так и при получении новых экспериментальных результатов.
Таким образом, предлагаемая установка обеспечивает достаточную точность измерения GF и может быть использована для исследования новых сплавов. Ниже приводятся результаты таких исследований для нескольких жаропрочных ВЭС.
СИНТЕЗ ОБРАЗЦОВ ВЭС И МЕТОДИКИ ИССЛЕДОВАНИЯ СВОЙСТВ
Высокоэнтропийные эквиатомные сплавы были получены путем плавки в дуговой печи в атмосфере аргона с чистотой 99.993%. Для гомогенизации слитки были переплавлены 20 раз на водоохлаждаемой изложнице. Для аттестации сплавов изготавливали шлифы на шлифовальной бумаге из карбида кремния. Финальную полировку проводили на алмазной пасте АСМ 0–1 до зеркального состояния, перед исследованием сплавов на оптическом микроскопе образцы травили 1%-водным раствором плавиковой кислоты в течение 3–5 минут.
Рентгеновские дифракционные спектры были получены на дифрактометре Shimadzu XRD 7000 с CuKα-излучением. Микроструктуру исследовали на сканирующем электронном микроскопе (СЭМ) Carl Zeiss EVO 40 с ускоряющим напряжением 20 кВ на V-образном вольфрамовом катоде, и оптического микроскопа ЛОМО ММУ-3 с камерой CCD SONY ICX452AQ. Определение элементного состава поверхности проводили с помощью энергодисперсионного рентгеновского анализатора Oxford Instruments INCA X-Act. Спектры набирали в течение минуты для каждой из пяти различных областей, отличающихся по композиционному контрасту. Измерение сопротивления и тензочувствительности проводили по методике, описанной выше.
РЕЗУЛЬТАТЫ И ОБСУЖДЕНИЕ
Анализ дифрактограмм позволяет утверждать, что все синтезированные образцы являются однофазными твердыми растворами с псевдокубической ОЦК-структурой (пространственная группой Im3m). Параметры элементарной ячейки исследуемых сплавов приведены в табл. 3. Для слитков всех образцов наблюдается текстурированние вдоль плоскости (110). После холодной прокатки слитков в ленты, в ходе которой толщина слитков уменьшилась от нескольких миллиметров до 200–300 микрометров, наблюдается текстурирование вдоль плоскости (200) (рис. 2). В качестве стандартного образца использованы дифракционные пики порошка кремния.
Таблица 3. Параметры решетки слитков* и холоднокатаных лент** исследуемых высокоэнтропийных сплавов
Сплав | Пр. гр. | Параметры элементарной ячейки |
TiZrHfTa* | Im3m (229) | 3.4336(1) |
TiHfNbTa* | 3.3648(1) | |
TiZrHfNbTa* | 3.4128(1) | |
TiZrHfNb* | 3.4491(3) | |
TiZrHfTa** | 3.4267(7) | |
TiHfNbTa** | 3.3532(1) | |
TiZrHfNbTa** | 3.4106(1) | |
TiZrHfNb** | 3.4393(2) |
Рис. 2. Дифрактограммы слитков и холоднокатаных лент сплавов TiZrHfTa, TiHfNbTa, TiZrHfNbTa и TiZrHfNb; рефлексы Si указывают на отражения от кремниевого порошка, который использовали в качестве стандартного образца.
Анализ СЭМ-изображений, полученных в BSE-режиме (Backscattered-Electron — обратно-отраженных электронах), показывает, что для слитков исследуемых образцов характерна внутризеренная дендритная ликвация (рис. 3а). По данным рентгеноспектрального микроанализа композиционный контраст обусловлен флуктуацией химического состава с относительными отклонениями от эквиатомного состава в пределах 1–9 % (табл. 4). Ленты образцов, полученных методом холодной прокатки, имеют зерна, ориентированные и вытянутые вдоль оси прокатки (см., напр., оптические микрофотографии на рис. 3б).
Рис. 3. (а) СЭМ-изображение шлифа слитка TiHfNbTa; (б) оптическая микрофотография шлифа ленты TiHfNbTa.
Таблица 4. Среднее содержание металлов в различных областях слитков высокоэнтропийных сплавов TiZrHfTa, TiHfNbTa, TiZrHfNbTa и TiZrHfNb
TiZrHfTa | |||||
Область | Ti, ат. % | Zr, ат. % | Hf, ат. % | Ta, ат. % | Nb, ат. % |
А | 25.2(9) | 24.5(9) | 28.3(6) | 22.0(6) | – |
Б | 25.4(6) | 22.7(4) | 27.9(9) | 24.0(8) | – |
TiHfNbTa | |||||
А | 27(2) | – | 30(2) | 24(2) | 19(2) |
Б | 21(2) | – | 25(1) | 27(1) | 27(2) |
TiZrHfNbTa | |||||
А | 21(1) | 22(1) | 22(1) | 20(2) | 15.1(7) |
Б | 18(1) | 17(2) | 22(1) | 22(2) | 21.1(9) |
TiZrHfNb | |||||
А | 24.4(7) | 24(1) | 25.7(5) | – | 25.2(3) |
Б | 22.8(6) | 23.8(9) | 26.4(5) | – | 27.0(5) |
Изучаемые холоднокатаные ленты высокоэнтропийных сплавов TiZrHfTa, TiHfNbTa, TiZrHfNbTa и TiZrHfNb обладают высокой тензочувствительностью от 3.6 до 5.2 (рис. 4а) по сравнению с константаном (GF = 1.0–3.0) [34] и манганином (GF = 0.5–0.7) [19, 27]. Изменение удельного сопротивления от приложенной нагрузки для исследуемых образцов ВЭСов происходит линейно, вплоть до разрушения (рис. 4б), в отличие, например, от холоднокатаного манганина, для которого линейное изменение сопротивления от нагрузки наблюдается только до 384 МПа (рис. 4в).
Рис. 4. (а) Зависимости удельного электрического сопротивления от нагрузки для холоднокатаных лент TiHfZrTa, TiHfNbZrTa, TiHfNbTa и TiHfNbZr. (б–в) аналогичные зависимости вплоть до максимальной нагрузки для лент TiHfNbTa (б) и Cu84Mn12Ni4 (в).
О ПРИРОДЕ ВЫСОКОЙ ТЕНЗОЧУВСТВИТЕЛЬНОСТИ В ВЫСОКОЭНТРОПИЙНЫХ СПЛАВАХ
Полученные результаты позволяют сформулировать ряд актуальных и фундаментально значимыми задач, таких как проблема поиска физических механизмов, ответственных за электронный транспорт в высокоэнтропийных сплавах, а также разработка адекватных моделей для прогнозирования ТЧ. Действительно, как следует из данных табл. 1, изученные ВЭС обладают высокой тензоувствительностью, которая сильно зависит от состава сплава. В то же время, как показано в работах [10, 11], барический коэффициент изменения сопротивления данных систем при всестороннем сжатии почти не зависит от состава и имеет значение, близкое к таковому для стандартных тензометрических сплавов. Это означает, что отклики электросопротивления на всестороннее сжатие и одноосное растяжение существенно отличаются и, вероятно, обусловлены различными физическими механизмами, природа которых до конца не ясна. Обсуждение возможных сценариев следует начать с анализа общей формулы, определяющей вклады в тензочувствительность, которая получается из (1) путем простых преобразований:
GF = ΔR/εR0 = [1+2ν] + Δρ/ερ0. (3)
Здесь ν — коэффициент Пуассона, ρ — удельное сопротивление. Первое слагаемое в правой части (3) определяется исключительно геометрическими искажениями и может быть определено либо экспериментально, либо из первопринципных расчетов. Анализ литературных данных показывает, что значение v для изучаемых жаропрочных ВЭС слабо зависит от состава и лежит в пределах 0.3–0.4 [58–63]. Таким образом, доминирующий вклад в GF дает второе слагаемое, зависящее от внутренней природы материала. К сожалению, не существует универсального выражения для данного слагаемого.
Для различных групп металлов и сплавов соответствующая формула может иметь различный вид в зависимости от преобладающих механизмов электронного рассеяния. За более чем 100 лет поиска тензоматериалов изучено большое количество систем, которые можно разделить на три группы: непереходные, переходные немагнитные и переходные магнитные металлы и их сплавы. Для каждого класса систем имеется своя специфика проводимости и доминирующие механизмы рассеяния электронов. Однако известно, что в любой из этих групп имеются сплавы как с высокой, так и с низкой ТЧ. Так, d-металл молибден имеет GF около 2.8, тогда как для палладия GF = 6.5. Таким образом, не только тип рассеяния, но также и структурные особенности материала играют существенную роль при изменении характеристик электронного транспорта при приложении одноосной деформации. Поскольку такой вид нагружения вызывает неравномерное (анизотропное) деформирование кристалла, то логично предположить, что внутренняя кристаллическая анизотропия самого кристалла будет дополнительно способствовать еще большей неравномерности сдвигов кристаллических плоскостей по разным направлениям. Как следствие, это будет стимулировать повышенное сопротивление с приложенной нагрузкой и определять высокий коэффициент GF. Взяв эту гипотезу за основу, мы можем проанализировать имеющиеся литературные данные по металлическим системам и сопоставить значения GF и степени кристаллической анизотропии. На рис. 5 приведены значения GF для ряда металлических систем в зависимости от соотношения Зенера Az, являющегося простейшим показателем анизотропии материала:
Az = 2C44/(C11–C22), (4)
где Cij — компоненты тензора упругих напряжений. Значения GF и Az были получены на основе данных работ [23, 24, 26, 58–71]. Из рисунка видно, что по крайней мере для немагнитных d-металлов и sp-металлов наблюдается статистически значимая корреляция между GF и Az, что говорит в пользу обоснованности высказанной гипотезы. Конечно, малый объем доступных на текущий момент данных не позволяет делать однозначных выводов. Кроме того, пока не имеется ни четкого обоснования существования однозначной зависимости GF(Az), ни каких-либо моделей для ее аппроксимации. Тем не менее проверка и обоснование предложенного механизма стимулирует дальнейшие исследования в данной области.
Рис. 5. Зависимость тензочувствительности GF от соотношения Зенера Az для различных групп металлов.
ЗАКЛЮЧЕНИЕ
Приведено описание оригинальной автоматической установки для тензометрических измерений, позволяющей с высокой точностью измерять тензочувствительность и электросопротивление металлических сплавов. Проведена апробация установки на хорошо изученных тензометрических сплавах: нихроме, манганине и константане. В ходе тестов обнаружена сильная зависимость величины GF от пробоподготовки, что может объяснить существенный разброс литературных данных для некоторых сплавов.
Получены и аттестованы образцы эквиатомных сплавов TiZrHfTa, TiHfNbTa, TiZrHfNbTa и TiZrHfNb в литом и холоднокатаном состояниях. Все образцы охарактеризованы как однофазные твердые растворы с ОЦК-структурой и выраженной дендритной микроструктурой со специфической внутризеренной дендритной ликвацией.
Все сплавы в холоднокатаном состоянии продемонстрировали высокий коэффициент тензочувствительности (GF), по сравнению с классическими материалами, при этом демонстрируют линейное изменения сопротивления от нагрузки вплоть до 972 МПа, низкие температурные коэффициенты сопротивления и термического расширения. Таким образом, анализ совокупности характеристик исследуемых систем, позволяет заключить, что жаропрочные высокоэнтропийные сплавы являются превосходными материалами для тензорезисторов и в перспективе способны заменить классические сплавы, используемые в промышленности.
Высказана гипотеза, что существенным фактором, ответственным за высокое значение GF, является анизотропия упругих свойств материала.
Работа выполнена при финансовой поддержке РНФ в рамках проекта № 23–13-00162 с использованием оборудование ЦКП “Урал-М”.
Авторы данной работы заявляют, что у них нет конфликта интересов.
About the authors
I. V. Evdokimov
Institute of Metallurgy, Ural Branch, Russian Academy of Sciences
Author for correspondence.
Email: rrylcev@mail.ru
Russian Federation, Ekaterinburg, 620016
Е. V. Sterkhov
Institute of Metallurgy, Ural Branch, Russian Academy of Sciences
Email: rrylcev@mail.ru
Russian Federation, Ekaterinburg, 620016
S. A. Uporov
Institute of Metallurgy, Ural Branch, Russian Academy of Sciences
Email: rrylcev@mail.ru
Russian Federation, Ekaterinburg, 620016
R. E. Ryltsev
Institute of Metallurgy, Ural Branch, Russian Academy of Sciences
Email: rrylcev@mail.ru
Russian Federation, Ekaterinburg, 620016
References
- Wu Y.D., Cai Y.H., Wang T., Si J.J., Zhu J., wang Y.D., Hui X.D. A refractory Hf25Nb25Ti25Zr25 high-entropy alloy with excellent structural stability and tensile properties // Mater. Letters. 2014. V. 130. P. 277–280.
- Senkov O.N., Scott J.M., Senkova S.V., Miracle D.B., Woodward C.F. Microstructure and room temperature properties of a high-entropy TaNbHfZrTi alloy // J. Alloys Compounds. 2011. V. 509. P. 6043–6048.
- Kumar S. Comprehensive review on high entropy alloy-based coating // Surface & Coatings Techn. 2024. V. 477. P. 130327.
- Tsai M.H., Yeh J.W. High-Entropy Alloys: A Critical Review // Mater. Research Letters. 2014. V. 2. P. 107–123.
- Ye Y.F., Wang Q., Lu J., Liu C.T., Yang T. High-entropy alloy: challenges and prospects // Mater. Today. 2016. V. 19. P. 349–362.
- Senkov O.N., Semiatin S.L. Microstructure and properties of a refractory high-entropy alloy after cold working // J. Alloys and Compounds. 2015. V. 649. P. 1110–1123.
- Miracle D.B., Senkov O.N. A critical review of high entropy alloys and related concepts // Acta Mater. 2017. V. 122. P. 448–511.
- Gludovatz B., Hohenwater A., Catoor D., Chang E.H., George E.P., Ritchie R.O. A fracture-resistant high-entropy alloy for cryogenic applications // Science. 2014. V. 345. P. 1153–1158.
- Liu J., Guo X., Lin Q., He Z., An X., Li L., Liaw P.K., Liao X., Yu L., Lin J., Xie L., Ren J., Zhang Y. Excellent ductility and serration feature of metastable CoCrFeNi high-entropy alloy at extremely low temperatures // Sci. China Mater. 2018. V. 62. P. 853–863.
- Uporov S.A., Ryltsev R.E., Sidorov V.A., Estemirova S. Kh., Sterkhov E.V., Balyakin I.A., Chtchelkatchev N.M. Pressure effects on electronic structure and electrical conductivity of TiZrHfNb high-entropy alloy // Intermetallics. 2022. V. 140. P. 107394.
- Uporov S.A., Evdokimov I.V., Ryltsev R.E., Sterkhov E.V., Bykov V.A., Sidorov V.A., Chtchelkatchev N.M. High entropy alloys as strain-sensitive materials // Intermetallics. 2024. V. 170. P. 108334.
- Schneeweiss O., Friák M., Dudová M., Holec D., Šob M., Kriegner D., Holý V., Beran P., George E.P., Neugebauer J., Dlouhý A. Magnetic properties of the CrMnFeCoNi high-entropy alloy // Phys. Rev. 2017. V. 96. P. 1–14.
- Yuan X., Wu Y., Zhou M., Liu X., Wang H., Jiang S., Zhang X., Wu H., Liu X., Chen Z., Xu X., Lu Z. Effects of trace elements on mechanical properties of the TiZrHfNb high-entropy alloy // J. Mater. Sci. Techn. 2023. V. 152. P. 135–147.
- Senkov O.N., Miracle D.B., Chaput K.J. Development and exploration of refractory high entropy alloys-A review // J. Mater. Research. 2018. V. 33. P. 3092–3128.
- He Q., Yoshida S., Yasuda H., Tsuji N. Effect of Elemental Combination on Microstructure and Mechanical Properties of Quaternary Refractory Medium Entropy Alloys // Mater. Trans. 2020. V. 61. P. 577–586.
- Агейкин Д.И., Костина Е.Н., Кузнецова Н.Н. Датчики контроля и регулирования М.: Машиностроение, 1965. 928 с.
- Готра З.Ю., Чайковский О.И. Датчики / КАМНЕЯР. 1995. 310 с.
- Hoffmann K. An introduction to stress analysis and transducer design using strain gauges. HBM. 2012. P. 257.
- Bertodo R. Development of high-temperature strain gauges // Proceedings of the Institution of Mechanical Engineering. 1959. V. 173. P. 605–622.
- Guo Z., Xu J., Chen Y., Guo Z., Liu Y., Zhao J. High-sensitive and stretchable resistive strain gauges: Parametric design and DIW fabrication // Composite Structures. 2019. V. 223. P. 110955.
- Zhao C., Xia Z., Wang X., Nie J., Huang P., Zhao S. 3D-printed highly stable flexible strain sensors based on silver-coated-glass fiber-filled conductive silicon rubber // Mater. Design. 2020. V. 193. P. 108788.
- Rajanna K., Nayak M.M. Strain sensitivity and temperature behavior of invar alloy films // Mater. Sci. Eng. 2000. V. B77. P. 288–292.
- Bertodo R. Precious metal alloys for high-temperature resistance strain gauges // J. Phys. D: Applied Physics. 1968. V. 1. P. 1743–1752.
- Druyvesteyn M.J. The variation of the resistivity of some metals with elastic deformation // Physica. 1951. XVII. P. 748–760.
- Bertodo R. Resistance strain gauges for the measurement of steady strains at temperatures above 650oC // J. Strain Analysis. 1965. V. 1. P. 11–19.
- Tong L., Guo J. Noble metal alloys as strain gauge materials // Platinum Metals Rev. 1994. V. 38. P. 98–108.
- Vigness I. Investigation of Stress-Strain Relations of Metal Wires by Electrical Resistance Changes // J. Appl. Phys. 1952. V. 23. P. 43–47.
- Sciammarella C., Sciammarella F. Strain Gages — Introduction to Electrical Strain Gages //Experimental Mechanics of Solids. 2012. P. 41–73.
- Webster J.G. Strain sensors / Wiley Encyclopedia of Electrical and Electronics Engineering. 1999. P. 566–579.
- Kazi I.H., Wild P.M., Moore T.N., Sayer M. The electromechanical behavior of nichrome (80/20 wt.%) film // Thin Solid Films. 2003. V. 433. P. 337–343.
- Latha H.K.E., Stephen R.J. Development and Characterization of thin film nichrome strain gauge sensor for load applications // International Journal of Advanced Research in Engineering and Technology. 2010. V. 1. P. 48–54.
- Kazi I.H., Wild P.M., Moore T.N., Sayer M. Characterization of sputtered nichrome (Ni-Cr 80/20 wt.%) films for strain gauge applications // Thin Solid Films. 2006. V. 515. P. 2602–2606.
- Fukamichi K., Kimura H.M., Masumoto T., Gambino R.J. Stran gauge characteristics of Ni-base amorphous alloys // Trans. Magn. 1980. V. 16. P. 907–909.
- Ueda R., Yamamoto Y. Electrical Resistance-Strain Effect of Ni-Cu Alloy Films // Shinku. 1964. V. 7. P. 253–258.
- Masumoto H., Nakamura N. The Strain Gauge Factor and Electrical Properties in a Cold-Worked State of Iron-Chromium Alloys // Mater. Trans. 1969. V. 10. P. 124–127.
- Gouault J., Hubin M., Richon G., Eudeline B. The electromechanical behavior of a full component (dielectric and Cu/Ni constantan alloy) for thin film strain gauge deposited upon steel-substrate // Vacuum. 1977. V. 27. P. 363–365.
- Kukhar V.V. Alloys for precision resistors // Metal Science and Heat Treatment. 1972. V. 14. P. 413–418.
- Chen Z., Huang R., Chu X., Wu Z., Liu Z., Zhou Y., Li L. Negative thermal expansion and nearly zero temperature coefficient of resistivity in anti-perovskite manganese nitride Mn3CuN co-doped with Ag and Sn // Cryogenics. 2012. V. 52. P. 629–631.
- Агейкин Д.И., Костина Е.Н., Кузнецова Н.Н. Датчики контроля и регулирования: Справочные материалы — 2-е изд. перераб. и доп. Машиностроение, 1965. 928 с.
- Crone U.V.D., Tietz F., Vaben R., Stover D. Synthesis and thermal properties of Ni-alloy/Al2O3 cermets for interconnector materials in solid oxide fuel cells // High Temperature Materials and Processes. 1998. V. 4. P. 253–256.
- Peng L., Congchun Z., Yawen P., Shenyong Y., Meiju Z. Fabrication and performance investigation of Karma alloy thin film strain gauge // Journal of Shanghai Jiaotong University (Science). 2021. V. 26. P. 454–462.
- Xing L., Yansheng Z. The strain sensitivity coefficient of resistance for an FeMnAlCr antiferromagnetic alloy // J. Phys. D: Applied Physics. 1996. V. 29. P. 511–513.
- Perfetti M., Ventura G. “Data of thermal expansion,” in Thermal Properties of Solids at Room and Cryogenic Temperatures. Springer. 2014. P. 121–127.
- Wang Q., Kishimoto S., Xie H., Liu Z., Lou X. In situ temperature creep deformation of micro-structure with metal film wire on flexible membrane using geometric phase analysis // Microelectronics Reliability. 2013. V. 53. P. 652–657.
- Bertodo R. Resistance strain gauges for the measurement of steady strains at temperatures above 650°C // J. Strain Analysis. 1965. 1. P. 11–19.
- Ma Y., Wu S., Jia Y., Hu P., Bu Y., Chen X., Wang G., Liu J., Wang H., Zhai Q. Hexagonal Closed-Packed Precipitation Enhancement in a NbTiHfZr Refractory High-Entropy Alloy // Metals. 2019. V. 9. P. 485.
- He Q., Yoshida S., Tsuji N. Characteristic strengthening mechanisms in body-centered cubic refractory high/medium entropy alloys // Scripta Mater. 2023. V. 231. P. 115442.
- Gorsse S., Nguyen M.H., Senkov O.N., Miracle D.B. Database on the mechanical properties of high entropy alloys and complex concentrated alloys // Data in Brief. 2018. V. 21. P. 2664–2678.
- Juan C.C., Tseng K.K., Hsu W.L., Tsai M.H., Tsai C.W., Lin C.M., Chen S.K., Lin S.J., Yeh J.W. Solution strengthening of ductile refractory HfMoxNbTaTiZr high-entropy alloys // Mater. Letters. 2016. V. 175. P. 284–287.
- Schuh B., Volker B., Todt J., Schell N., Perriere L., Li J., Couzinie J.P., Hohenwarter A. Thermodynamic instability of a nanocrystalline, single-phase TiZrNbHfTa alloy and its impact on the mechanical properties // Acta Mater. 2018. V. 142. P. 201–212.
- Guo Z., Yu P., Liu Y., Zhao J. Pre-fatigue enhancing both long-term stability and sensitivity of direct-ink-writing printed sensors // Intern. J. Fatigue. 2023. V. 166. P. 107237.
- Kondratov A.P., Yakubov V., Volinsky A.A. Strain gauges capable of measuring large cyclical deformations printed on elastic polymer films // Measurement. 2020. V. 166. P. 108107.
- Guo Z., Yu P., Liu Y., Zhao J. High-precision resistance strain sensors of multilayer composite structure via direct ink writing: Optimized layer flatness and interfacial strength // Comp. Sci. Techn. 2021. V. 201. P. 1085350.
- Balaji R., Sasikumar M. Development of strain and damage monitoring system for polymer composites with embedded nickel alloys // Measurment. 2017. V. 111. P. 307–315.
- Enser H., Kulha P., Sell J.K., Schatzl-Linder M., Straub B., Hilber W., Jakoby B. Printed strain Gauges embedded in organic coatings — Analysis of gauge factor and temperature dependence // Sensors and Actuators A: Physical. 2018. V. 276. P. 137–143.
- Pan X., Lin F., Wu C., Zeng Y., Chen G., Chen Q., Sun D., Hai Z. Additive-Manufactured Platinum Thin-Film Strain Gauges for Structural Microstrain Testing at Elevated Temperatures // Micromachines. 2022. V. 13. P. 1472.
- Angadi. M. A., Whiting R. Longitudinal and Transverse Strain Sensitivity of Nichrome Films // Mater. Sci. Eng. 1990. B7. P. L1–L4.
- Ye Y.X., Musico B.L., Lu Z.Z., Xu L.B., Lei Z.F., Keppens V., Xu H.X., Nieh T.G. Evaluating elastic properties of a body-centered cubic NbHfZrTi high-entropy alloy — A direct comparison between experiments and ab initio calculations // Intermetallics. 2019. V. 109. P. 167–173.
- Li X., Tian F., Schönecker S., Zhao J., Vitos L. Ab initio-predicted micro-mechanical performance of refractory high-entropy alloys // Sci. Reports. 2015. V. 5. P. 12334.
- Li S., Ni X., Tian F. Ab Initio Predicted Alloying Effects on the Elastic Properties of AlxHf1-xTaTiZr High Entropy Alloys // Coatings. 2015. V. 5. № 3. P. 366–377.
- Dirras G., Lilensten L., Djemia P., Laurent-Brocq M., Tingaud D., Couzinie J. –P., Perriere L., Chauveau T., Guillot I. Elastic and plastic properties of as-cast equimolar TiHZrTaNb high-entropy alloy // Mater. Sci. Eng.: A. 2016. V. 654. P. 30–38.
- Huang S., Li W., Holmstrom E., Vitos L. Phase-transition assisted mechanical behavior of TiZrHfTax high-entropy alloys // Sci. Reports. 2018. V. 8. № 1. P. 12576.
- Schonecker S., Li X., Wei D., Nozaki S., Kato H., Vitos L., Li X. Harnessing elastic anisotropy to achieve low-modulus refractory high-entropy alloys for biomedical applications // Materials & Design. 2022. V. 215. P. 110430.
- Ledbetter H.M., Naiomon E.R. Elastic Properties of Metals and Alloys. II. Copper // J. Phys. Chem. Reference Data. 1974. V. 3. P. 897–935.
- Neighbours J.R., Alers G.A. Elastic Constants of Silver and Gold // Phys. Rev. 1958. V. 111. P. 707–712.
- Vallin J., Mongy M., Salama K., Beckman O. Elasic Constants of Aluminum // J. Appl. Phys. 1964. V. 35. P. 1825–1826.
- Featherston F.H., Neighbours J.R. Elastic Constants of Tantalum, Tungsten, and Molybdenum // Phys. Rev. 1963. V. 130. P. 1324–1333.
- Zhou W., Liu L., Li B., Wu P., Song Q. Structural, elastic and electronic properties of intermetallics in the Pt-Sn system: A density functional Investigation // Comp. Mater. Sci. 2009. V. 46. P. 921–931.
- Sun Y.J., Xiong K., Zhang S.M., Mao Y. First-Principles Investigations on the Elastic Propertiesof Platinum Group Metals (Pt, Pd, and Ru) // Mater. Sci. Forum. 2019. V. 944. P. 761–769.
- Rayne J.A., Chandrasekhar B.S. Elastic Constants of Iron from 4.2 to 300°K // Phys. Rev. 1961. V. 122. P. 1714–1716.
- Palmer S.B., Lee E.W. The elastic constants of chromium // Philosoph. Mag.: A J. Theoret. Exp. Appl. Phys. 1971. V. 24. P. 311–318.
Supplementary files






