Ultrasonic method for processing local areas of anisotropic electrical steel to improve its dynamic magnetic characteristics
- Authors: Tiunov V.F.1
-
Affiliations:
- Mikheev Institute of Metal Physics, Ural Branch, Russian Academy of Sciences
- Issue: Vol 126, No 1 (2025)
- Pages: 23-29
- Section: ЭЛЕКТРИЧЕСКИЕ И МАГНИТНЫЕ СВОЙСТВА
- URL: https://medbiosci.ru/0015-3230/article/view/288515
- DOI: https://doi.org/10.31857/S0015323025010038
- EDN: https://elibrary.ru/BZYKOE
- ID: 288515
Cite item
Abstract
The article describes a new method for selectively applying structural barriers to the surface of samples of anisotropic electrical steel of nuclear power plants in order to crush its domain structure to reduce its total magnetic losses due to magnetization reversal. The use of selective treatment of nuclear power plant areas with a maximum value of magnetic permeability when the working tool is exposed to ultrasound has made it possible to reduce the total magnetic losses of processed samples by 10–15% with minimal damage to their magnetically active coating. This will lead to an increase in the corrosion resistance of nuclear power plants used for the manufacture of magnetic cores of transformers for various purposes.
Full Text
ВВЕДЕНИЕ
Одним из важнейших показателей качества анизотропной электротехнической стали (АЭС), идущей на изготовление магнитопроводов всевозможных электрических машин, является уровень ее полных магнитных потерь на перемагничивание Рп. Согласно работе [1] подавляющая часть полных потерь (около 70%) приходится на вихретоковую составляющую Рв. Величина последней зависит, наряду с другими факторами, от средней ширины L полосовых доменов 180-градусной доменной структуры ДС: Pв ~ 6.28L / d, d-толщина образца [2]. Уменьшая размеры L путем искусственного дробления полосовой доменной структуры, можно снизить величину Pв, а соответственно и величину полных магнитных потерь. В настоящее время такое дробление осуществляется нанесением структурных барьеров путем локальной лазерной обработки (ЛЛО) поверхности АЭС [3–5], механическим способом (скрайбирование) [6, 7], локальной прокаткой стальным шариком [8]. При подобной обработке вблизи структурных барьеров возникает так называемая система мелких клиновидных доменов, снижающих свободные магнитные заряды вблизи указанных участков образца. При этом в ряде работ, например [9], методом рентгеноструктурного анализа выявлены остаточные растягивающие напряжения вблизи структурных барьеров. Они приводят к снижению магнитоупругой энергии образца Eму. Как известно [10], для Fe–Si Eму = –3/2 ∙ λ100 ∙ τ ∙ cos2φ. Здесь λ100 – величина магнитострикции вдоль оси [100], τ – растягивающее напряжение, φ – угол между направлением τ и осью [100]. Наличие этих растягивающих напряжений приводит к тому, что существование клиновидных доменов становится энергетически невыгодным, и они в конечном счете, прорастая на всю длину образца, превращаются в новые полосовые домены. Отметим, что в результате локальной лазерной обработки уровень уменьшения полных потерь АЭС в среднем достигает 10–15%. В работе [11] в результате оптимизации работы лазера был достигнут эффект снижения полных магнитных потерь Р1.5/50 на 25–35%. В большинстве имеющихся работ структурные барьеры наносили через 5–6 мм на всю длину испытываемых образцов. Как было установлено [12], снижение этих интервалов до 2–3 мм сопровождается значительным уменьшением величины магнитной проницаемости, что приводит к снижению эффективности рассматриваемой обработки.
Кроме того, локальная лазерная обработка может сопровождаться отслоением (абляция) магнитоактивного покрытия. Как известно, в нем создаются растягивающие напряжения, что в конечном счете приводит к дроблению полосовой доменной структуры. Но в результате обработки поверхности АЭС отслоение покрытия может приводить к снижению растягивающего напряжения и, соответственно, к снижению степени дробления исходной полосовой доменной структуры [3]. В работе [4], напротив, не выявлено влияния нарушения магнитоактивного покрытия после ЛЛО на уровень полных магнитных потерь АЭС. Кроме того, нарушение сплошности магнитоактивного покрытия приводит к уменьшению коррозионной стойкости обрабатываемых образцов. Вследствие этого со временем возрастут вихретоковые потери в магнитопроводе, прошедшем подобную обработку.
Все вышеизложенное показывает, что рассмотренные обработки всей поверхности образцов АЭС приводят к снижению полных магнитных потерь образцов, однако сопровождаются при этом нежелательными процессами отслоения магнитоактивного покрытия, уменьшением коэффициента заполнения сталью магнитопровода, ухудшением коррозионной стойкости АЭС.
Исходя из рассмотренного, цель настоящей работы заключается в поиске способа и метода обработки поверхности АЭС с целью снижения полных магнитных потерь с минимальными искажениями поверхности образцов.
ОБРАЗЦЫ И МЕТОДИКА ОБРАБОТКИ
Исследования максимальной магнитной проницаемости μm и полных магнитных потерь Рп проведены на Эпштейновских образцах АЭС марок стали 3407, 3409, 3412.
Ранее [14] на образцах АЭС была выявлена значительная внутрилистная неоднородность магнитных свойств. Она проявлялась в различии магнитной проницаемости и магнитных потерь в разных участках полосовых образцов АЭС. Исходя из ранее полученных нами результатов [14] в основу был предложен и обоснован метод избирательной обработки поверхности АЭС. Он заключается в целесообразности нанесения структурных барьеров не на всю поверхность эпштейновской полосы, а лишь на участки с максимальной магнитной проницаемостью. Метод контроля магнитных свойств в движущейся полосе АЭС был предложен в работе [15]. Описанный избирательный метод позволяет свести до минимума нарушения целостности магнитоактивного покрытия АЭС и снизить энергоемкость обработки.
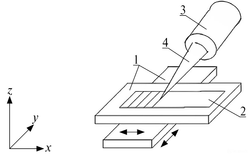
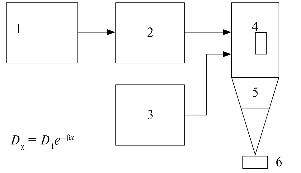
В данной работе описан новый сравнительно скоростной способ нанесения структурных барьеров путем скрайбирования поверхности АЭС инструментом при воздействии на него ультразвуковыми колебаниями. Блок-схема установки приведена на рис. 1.
Рис. 1. Схема установки: 1 – задающий генератор (мост Вина); 2 – усилитель мощности; 3 – подмагничивающее устройство; 4 – магнитостриктор; 5 – концентратор; 6 – инструмент.
В ходе исследования было установлено, что наиболее результативно магнитостриктор работал при подаче на него сигнала синусоидальной формы. При возбуждении магнитостриктора сигналом прямоугольной формы (меандр) излучатель работал весьма неустойчиво. По этой причине была выбрана схема генератора с независимым возбуждением. Задающий генератор (мост Вина) вырабатывает синусоидальный сигнал в диапазоне частот 15–30 кГц, что позволяет использовать магнитострикторы с разной резонансной частотой. Усилитель мощности имеет выходную электрическую мощность около 200 Вт. Подмагничивающее устройство позволяет регулировать амплитуду рабочего инструмента в широких пределах — от 5 до 80 мкм. Магнитопровод магнитострикционного излучателя был изготовлен из пермендюра марки КФ49 (сплав Co51Fe). К одному из концов излучателя на твердый припой припаивали концентратор (трансформатор скорости), позволяющий значительно увеличить амплитуду колебаний рабочего инструмента. Было установлено, что наиболее эффективно нанесение локально деформированных зон на поверхность образцов осуществляется с использованием экспоненциального концентратора, у которого образующая изменяется по закону Dx = D1e–βx. Здесь D1 – максимальный диаметр концентратора в месте его крепления к излучателю, Dx – диаметр концентратора на расстоянии x от места его крепления. С его применением амплитуда колебания инструмента на конце концентратора достигала 80 мкм. Работа конусных и ступенчатых концентраторов была крайне нестабильной. Рабочий инструмент был изготовлен из пластины твердого сплава ВК6 и имел форму треугольника размерами 3 × 2 × 1 мм массой 1.5 г.
Упрощенная схема установки для нанесения структурных барьеров приведена на рис. 2.
Рис. 2. Блок-схема установки ультразвуковой обработки: 1 – направляющие 2-координатного стола; 2 – обрабатываемая полоса; 3 – магнитострикционный излучатель; 4 – концентратор.
Эпштейновскую полосу 2 крепили на двухкоординатном столике, позволяющем перемещать образец относительно концентратора с закрепленным на нем инструментом в двух взаимно перпендикулярных направлениях (оси Х и У). Прижатие инструмента к обрабатываемой полосе осуществляли с помощью пружины (на рисунке не показана). Одним концом пружину крепили к основанию концентратора, а другим – к основанию стойки, на которой установлен магнитострикционный излучатель. Варьируя натяжение пружины, изменяли в широких пределах степень прижатия инструмента к обрабатываемой полосе. В настоящей работе нагрузка на инструмент на конце концентратора составляла около 25 г. Кроме того, меняя угол наклона концентратора к обрабатываемой полосе, а также скорость скрайбирования, можно было изменять в широких пределах как глубину, так и ширину наносимых структурных барьеров.
РЕЗУЛЬТАТЫ И ОБСУЖДЕНИЕ
В качестве примера на рис. 3 приведен выявленный с помощью профилометра поперечный вид структурного барьера, участка эпштейновской полосы (сталь 3409), полученный путем скрайбирования с использованием ультразвука.
Рис. 3. Поперечное сечение участка с локально деформированной зоной.
Видно, что в данном случае глубина царапины составляет около 6.5 мкм, а ширина около 100 мкм. Нагрузка на концентратор излучателя составляла около 25 г. Отметим, что при скрайбировании образца путем нанесения царапин стальной иглой нагрузка на поверхность составляла не менее 150–180 г. При этом скорость скрайбирования поверхности АЭС не превышала 0.2 м/с. В отличие от этого, максимальная скорость обработки поверхности с использованием ультразвука достигала почти 2.5 м/с. Столь относительно высокую скорость обработки участков образца можно качественно объяснить высокой скоростью движения рабочего инструмента, который совершал возвратно-поступательные колебания с амплитудой около 8.0 мкм и частотой 20 кГц. При этом на инструмент, согласно работе [16], действует сила F = (m · 4π2 · f 2 · A)/g, где m – масса инструмента, f – частота его колебаний, A – амплитуда колебаний. Проведенная оценка показала, что сила, направленная вдоль концентратора, составляла порядка F = 25 кГ. При разориентации данной оси относительно плоскости образца на угол α ≈ 2°–3° (tg = 0.03) нормальная составляющая силы к поверхности образца достигала 3.5–4.0 кГ. Эта величина была достаточна для нанесения царапин на поверхность полосы через ее магнитоактивное покрытие. С помощью установки, схема которой приведена на рис. 2, наносили структурные барьеры через 5.0 мм. Наблюдали высокую воспроизводимость по глубине и ширине указанных барьеров. Сканирование и перемещение образцов производили вручную.
В работе в разных участках исследованных образцов как до их обработки, так и после измеряли величину максимальной магнитной проницаемости μm и значение полных магнитных потерь Рп. При этом скрайбирование образцов АЭС с использованием ультразвука проводили ранее в нашей работе [7]. На основе динамики доменной структуры образцов Fe–3%Si была показана целесообразность нанесения структурных барьеров лишь на участки с наибольшим значением μm. Рассмотрим некоторые результаты этой работы. На рис. 4 приведены графики изменения полных магнитных потерь от амплитуды индукции Р = f (Bm).
Рис. 4. Зависимость изменения полных магнитных потерь от индукции. Образец ст. 3407 (0.27 мм). (f = 50 Гц): 1, 2 – до обработки, 1ʹ, 2ʹ – после обработки поверхности.
На данном рисунке кривые 1 и 1ʹ отражают изменение магнитных потерь в участке образца с наибольшей магнитной проницаемостью. Кривая 1 получена до обработки, кривая 1ʹ — после нанесения структурных барьеров на указанный участок. Соответственно, кривые 2 и 2ʹ отражают изменение потерь в участках образца с наименьшей величиной µm. Нетрудно видеть, что скрайбирование приводит к заметному снижению полных магнитных потерь лишь в участке образца с наибольшей магнитной проницаемостью. В зависимости от амплитуды индукции снижение составляет 10–15%. Напротив, аналогичная обработка участков образца 2, 2ʹ с наименьшей величиной µm не приводит к заметному снижению магнитных потерь. Доменная структура не исследована, поскольку обрабатывали сравнительно крупные участки образцов (L = 40 мм), включающие большое число кристаллитов, о преимущественной ориентации их намагниченности Is можно было судить косвенно по величине μm. Так, в участках с минимальным значением μm можно предполагать, что значительная часть кристаллитов имеет в среднем разориентацию направления Is относительно прокатки образца в его плоскости на некоторый угол α. Напротив, максимальная величина Is свидетельствует о том, что ориентация Is большинства кристаллитов близка к направлению прокатки образца. Иными словами, показано, что для снижения уровня магнитных потерь АЭС целесообразно скрайбировать не всю поверхность образцов, а лишь участки с наибольшей величиной максимальной магнитной проницаемостью. Использование избирательного нанесения CБ обеспечивает наименьшую степень нарушения целостности магнитоактивного покрытия АЭС и тем самым сохраняет высокую коррозионную стойкость. Скрайбирование поверхности образцов с воздействием на рабочий инструмент ультразвука не приведет к росту гистерезисных потерь образцов, так как подобную обработку проводили с минимальным давлением инструмента на их поверхность. Наблюдаемое снижение полных магнитных потерь (рис. 4) после нанесения структурных барьеров на поверхность образцов можно связывать с уменьшением их вихретоковой составляющей.
В промышленных условиях локальную лазерную обработку анизотропной стали проводят на движущейся полосе, которую с натяжением сматывают в бухту. В дальнейшем потребитель раскатывает указанную бухту. Затем раскатанную полосу режут дисковыми ножницами до необходимой ширины, что приводит к значительным механическим напряжениям в обрабатываемой полосе и ухудшению ее магнитных свойств. По данным работы [1], при резке листовой стали Э330 (ГОСТ 12119–58) толщиной 0.35 мм и закатке заусенцев полные удельные потери возросли на 12% для трансформатора 1000/10, а ток его холостого хода увеличился на 65%. Еще большее возрастание магнитных потерь наблюдается при изгибе листов АЭС. Изгиб полосовой стали Э330 толщиной 0.35 мм на радиус, вызывающий пластическую деформацию, потери 1.5/50 возрастают на 50%, а индукция В800 снижается от 1.76 до 1.35 Тл. Все это показывает, что после указанных обработок АЭС для снижения уровня магнитных потерь необходимо проводить высокотемпературный отжиг для снятия механических напряжений. Однако при подобном отжиге, как показано в ряде работ [4, 17, 18], вблизи структурных барьеров исчезают растягивающие напряжения, вследствие чего вид доменной структуры возвращается к первоначальному (до обработки) виду. Иными словами, указанный высокотемпературный отжиг сводит на нет эффект снижения магнитных потерь, наблюдаемый после нанесения структурных барьеров на поверхность АЭС. Для выхода из этой ситуации в работе [19] было предложено использовать эффект примесной термостабильности: на поверхность АЭС наносили примесные дефекты, имеющие намагниченность значительно меньшую намагниченности самого сплава, а также и разницу в коэффициентах их теплового расширения. В этом случае они формируют в зонах лазерной обработки локальные напряжения, повышающие магнитные поля рассеяния. В результате создаются условия для повышения температурной устойчивости зон локальной лазерной обработки, то есть их сохранения до более высоких температур отжига, необходимого в технологическом процессе снятия краевого наклепа элементов магнитопровода, сохраняя эффективность лазерной обработки. Однако предлагаемый метод обработки АЭС трудно реализовать в промышленных условиях: во-первых, невозможно равномерное (по толщине) нанесение примесных дефектов на поверхность. Во-вторых, при этом несомненно уменьшится коэффициент заполнения сталью магнитопровода трансформатора. В связи с этим уместно отметить замечание, приведенное в работе [5]. В ней было высказано предположение о целесообразности проведения обработки не на движущейся полосе АЭС, а на вырезанных из нее до необходимых размеров пластин. В трансформаторном производстве возможна обработка по двум вариантам: на движущейся полосе и на пластинах, что с точки зрения авторов последняя обработка является более предпочтительной для получения максимального эффекта снижения потерь от лазерной обработки.
Все рассмотренное выше свидетельствует, что при изготовлении шихтованных магнитопроводов целесообразно проводить сначала вырезку полос АЭС до необходимых размеров, проводить отжиг для снятия механических напряжений, и лишь после этого проводить нанесение структурных барьеров на участки полос с максимальным значением магнитной проницаемости. Такая же последовательность обработки АЭС должна соблюдаться при изготовлении витых магнитопроводов. Например, на заводе силовых трансформаторов “Протон”, г. Владимир, магнитопроводы изготавливаются по технологии Unicorn (Единорог), разработанной австралийской компанией A.E.M Cores и рассмотренной в работе [20]. По данной технологии, в отличие от “классической”, стыковка половин ленточного магнитопровода проводится не в одной плоскости разреза, а в виде полос АЭС различной длины, равномерно распределенных вдоль стержня магнитопровода (рис. 5).
Рис. 5. Вид “косой” стыковки половин магнитопровода.
При подобной стыковке достигаются минимальные магнитные потери в магнитопроводе и его масса меньше почти на 30% меньше массы магнитопроводов других типов при одинаковой габаритной мощности. Производитель утверждает, что после изготовления рассмотренных магнитопроводов их дополнительного отжига не требуется. Это объясняется тем, что при изготовлении магнитопроводов механической деформации подвергается их незначительный объем.
ВЫВОДЫ
- Показано, что для снижения уровня магнитных потерь АЭС целесообразно наносить структурные барьеры не на всю поверхность, а лишь на участки с наибольшей величиной максимальной магнитной проницаемости. После подобной обработки рассмотренных участков полные магнитные потери снижаются на 15%.
- Избирательная обработка отдельных участков поверхности АЭС должна приводить к наименьшему нарушению сплошности электроизоляционного покрытия и, соответственно, сохранению коррозионной стойкости стали.
- Рассмотренная методика нанесения структурных барьеров методом скрайбирования при воздействии на рабочий инструмент ультразвуковых колебаний сравнительно простая, не требует специализированного оборудования и обладает относительно высокой скоростью обработки поверхности АЭС (2.5 м/с). Она может быть использована для скрайбирования стальным шариком поверхности тонкой и тончайшей АЭС без нарушения в них изолирующего покрытия, что особенно важно, поскольку данные стали применяются в магнитопроводах, работающих при высоких частотах перемагничивания (400–10 000 Гц).
Работа выполнена в рамках государственного задания Министерства науки и высшего образования Российской Федерации (шифр “Магнит”, № 122021000034-9).
Автор данной работы заявляет, что у него нет конфликта интересов.
About the authors
V. F. Tiunov
Mikheev Institute of Metal Physics, Ural Branch, Russian Academy of Sciences
Author for correspondence.
Email: tiun46@yandex.ru
Russian Federation, Ekaterinburg, 620108
References
- Дружинин В.В. Магнитные свойства электротехнической стали. М.: Энергия, 1974. 240 с.
- Ргу R.Н., Веаn С.Р. Calculation of the energy loss in magnetic sheet materials using a domain model // J. Appl. Phys. 1958. V. 29. P. 532–533.
- Соколов Б.К., Драгошанский Ю.Н., Губернаторов В.В. Совершенствование магнитных свойств анизотропной электротехнической стали, обработанной лазером // ФММ. 1989. Т. 68. С. 570–577.
- Пужевич Р.Б., Каренина Л.С. Дефекты электроизоляционного покрытия, образующиеся в процессе лазерной обработки анизотропной стали и их влияние на магнитные свойства // Дефектоскопия. 2011. № 4. С. 17–21.
- Буханова И.Ф., Дивинский В.В., Журавель В.М. Лазерная обработка пластин магнитопроводов силовых трансформаторов // Электричество. 2004. № 1. С. 39–42.
- Тиунов В.Ф., Соколов Б.К., Губернаторов В.В. Влияние деформированных зон на динамическое поведение доменной структуры и магнитных потерь в кристаллах Fе–3 мас. %Si // ФММ. 1991. № 11. С. 79–84.
- Тиунов В.Ф. Влияние особенностей искусственного дробления доменной структуры анизотропной электротехнической стали Fe–3% Si на эффективность снижения величины ее магнитных потерь // ФММ. 2022. Т. 3. № 3. С. 326–332.
- Wang H., Li C., Zhu T., Chukwuchekwa N., Cai B., Huo G. Effect of Ball Scribing on Relative Permeability of Grain-oriented Electrical Steel // Acta Metall. Sin. (Engl. Lett.). 2013. V. 26. Р. 618–622.
- Suzuki H., Misawa H., Akita K., Imafuku M. Mechanism of Magnetic Domain Refinement on Grain-Oriented Silicon Steel by Laser Irradiation // J. Soc. Mater. Sci. Japan. 2002. V. 51. Р. 207–212.
- Вонсовский С.В., Шур Я.С. Ферромагнетизм. М.–Л.: Гостехиздат, 1948. 816 с.
- Nesser M., Maloberti O., Dupuy J., Salloum E., Panier S., Fortin J., Dassonvalle P. Correlation between laser energetic parameters and magnetic properties of GO laminations under surface treatments with long or short pulsed lasers // J. Magn. Magn. Mater. 2020. V. 504. Р. 166696.
- Каюков С.И., Зайчиков Е.Г., Дудоров И.А., Крысанов С.А., Поляков В.Н. Оптимизация режимов лазерной обработки анизотропной электротехнической стали // Изв. Самарского научного центра РАН. 2003. Т. 5. С. 66–73.
- Rauscher P., Nikolai S., Hauptmann J., Wetzig A., Beyer E. Effects of laser irradiation on the isolation layer of grain oriented electrical steel / 6th International Conference on Magnetism and Metallurgy, WMM 2014: Cardiff, UK, 2014. Р. 434–441.
- Тиунов В.Ф., Корзунин Г.С. Контроль неоднородности магнитной проницаемости листовой анизотропной электротехнической стали // Дефектоскопия. 2019. № 3. С. 46–49.
- Корзунин Г.С., Чистяков В.К., Рубцов В.И., Кожевников Р.В. Устройство для контроля неоднородности структуры и магнитных свойств движущейся полосы рулонной электротехнической стали / Авторское свид. № 612019. Бюллетень № 32 от 30.08.1978 г.
- Попилов Л.Я. Справочник по электрическим и ультразвуковым методам обработки материалов. М.–Л.: Мангиз, 1963. 400 с.
- Nakamura M., Hirose K., Iuchi T., Yamaguchi S., Ichiyama T., Ohya Y. Characteristics of laser irradiated grain-oriented silicon steel // JEEE Trans. Magn. 1982. V. 18. Р. 1508–1510.
- Kuroki K., Fukawa K., Wada T. Application of artificial domain control // J. Appl. Phys. 1981. V. 52. № 3. P. 2422–2424.
- Пудов В.И., Драгошанский Ю.Н. Способ улучшения магнитных свойств анизотропной электротехнической стали лазерной обработкой / Патент № 2501866. Бюл. № 35. 20.12.2013.
- Коновалов Д.А. Новые технологии в изготовлении магнитопроводов. Минск: БНТУ, 2020. С. 37–41.
Supplementary files






