Structure and properties of bioinert titanium alloy Ti–39Nb–7Zr subjected to equal-channel angular pressing
- Authors: Illarionov A.G.1,2, Kuznetsov V.P.1,2, Mukanov G.Z.1, Stepanov S.I.1, Korenev A.A.1, Karelin R.D.3
-
Affiliations:
- Ural Federal University named after the First President of Russia B. N. Yeltsin
- Mikheev Institute of Metal Physics, Ural Branch, Russian Academy of Sciences
- Baikov Institute of Metallurgy and Materials Science, RAS
- Issue: Vol 126, No 1 (2025)
- Pages: 46-57
- Section: СТРУКТУРА, ФАЗОВЫЕ ПРЕВРАЩЕНИЯ И ДИФФУЗИЯ
- URL: https://medbiosci.ru/0015-3230/article/view/288533
- DOI: https://doi.org/10.31857/S0015323025010063
- EDN: https://elibrary.ru/BZTSMB
- ID: 288533
Cite item
Abstract
In this work, the structure, texture and properties of the biocompatible titanium pseudo-b-alloy Ti–39 wt.% Nb–7 wt.% Zr after equal-channel angular pressing (ECAP) in four passes with preliminary heating at 450°C for 30 minutes are studied using the methods of transmission and scanning orientation microscopy, X-ray diffraction phase analysis, microindentation and tensile testing. It was found that after ECAP the alloy is in a single-phase b-state, partial refinement of the grain structure down to 180...200 nm is observed, and a two-component limited shear texture {1–21} and {110} is formed, deviated from the rod axis at an angle of about 20°. A set of physical and mechanical properties (hardness, elastic modulus, strength and plastic characteristics) of the alloy in the state after ECAP is determined. A scheme of phase transformations occurring in a metastable b-solid solution of the alloy is proposed based on an analysis of changes in physical properties (modulus of elasticity, heat capacity, thermal diffusivity, linear expansion) upon heating up to the temperature of the polymorphic transformation. The temperature range of alloy aging for the implementation of dispersion strengthening is substantiated.
Full Text
ВВЕДЕНИЕ
Сплавы системы Ti–Nb–Zr на основе β-твердого раствора титана (псевдо-β-сплавы) являются перспективными материалами для медицины [1–3]. В данной системе все элементы биосовместимы c живыми тканями [4]. Титан как основа имеет низкую плотность и высокую удельную прочность [5], а легирующие элементы ниобий и цирконий по сравнению с другими биосовместимыми элементами, расширяющими область существования β-твердого раствора титана (Mo, Ta), характеризуются относительно невысокой плотностью (6.5 г/см3 – Zr, 8.55 г/см3 – Nb [6]) и стоимостью. Фиксация в сплавах Ti–39 мас. %Nb–(5–9) мас. %Zr при термической и термомеханической обработке метастабильного β-твердого раствора с ОЦК-решеткой обеспечивает получение значений модуля упругости в диапазоне 52–70 ГПа [7, 8], что в 1.5–2 раза ниже, чем у широко используемого в медицинской практике a+β-сплава титана Ti–6Al–4V [1]. Это способствует повышению биомеханической совместимости такого рода сплавов с костью, имеющей величину модуля упругости 10–30 ГПа [9], за счет уменьшения разницы их модулей упругости, снижая риск резорбции (деградации) костной ткани при остеосинтезе.
В работе [8] снижение модуля упругости в сплавах Ti–39 мас. %Nb–(5–9) мас. %Zr достигнуто за счет формирования благоприятного текстурного состояния холодной деформацией прокаткой со степенями 85–90%. Но деформационное упрочнение этих сплавов невелико, а их дисперсионное упрочнение за счет старения приводит к росту модуля упругости [10].
В качестве альтернативы дисперсионному упрочнению за счет выделения вторых фаз при старении биосовместимых сплавов можно использовать интенсивную пластическую деформацию (ИПД) [11–13]. В ходе ИПД без существенных изменений размеров деформируемого образца в сплавах реализуются процессы измельчения, фрагментации зерна и структурных составляющих, обеспечивая существенный рост зернограничного упрочнения сплавов [14]. Среди способов ИПД (кручение под высоким давлением – КВД, равноканальное угловое прессование – РКУП, всесторонняя ковка и др.) можно выделить РКУП, которое часто используется при обработке биосовместимых псевдо-β-сплавов титана [15–18]. Преимуществами РКУП являются возможность, в отличие от КВД, получения достаточно массивных полуфабрикатов и меньшее количество проходов, по сравнению с всесторонней ковкой, необходимое для близкого уровня измельчения структуры. Однако исследований влияния РКУП на структуру и свойства биосовместимых псевдо-β-сплавов типа Ti–39 мас. %Nb–Х мас. %Zr не проводилось. Исходя из вышесказанного, цель работы – изучение структурно-фазового состояния, формируемого при РКУП, и его влияния на свойства сплава Ti–39 мас. %Nb–7 мас. %Zr, и анализ фазовых превращений при нагреве.
МАТЕРИАЛ И МЕТОДЫ ИССЛЕДОВАНИЯ
Использовали горячедеформированные в β-области прутки диаметром 20 мм из опытного сплава титана Ti–39 мас. %Nb–7 мас. %Zr (далее в тексте используется сокращение TNZ), полученные в промышленных условиях на ПАО “Корпорация ВСМПО-АВИСМА”. В табл. 1 приведен состав сплава по элементам замещения, включая примеси и молибденовый эквивалент ([Mo]экв), характеризующий стабильность β-твердого раствора в сплаве к фазовым превращениям, рассчитанный по формуле из работы [19] [Mo]экв = 1.0 Mo + 0.33%Nb + 0.31%Zr + 1.93%Fe + 1.84%Cr + 2.46%Ni (в мас. %). Величина [Mo]экв = 15.4% попадает в диапазон значений – 12–30%, характерных для псевдо-β-сплавов титана [20], и сопоставима с молибденовым эквивалентом сплава Ti–15Mo широко используемого для медицинских изделий [16].
Таблица 1. Химический состав и [Mo]экв сплава TNZ (в мас. %)
Ti | Nb | Zr | Fe | Ni | Cr | [Mo]экв |
Осн. | 39.5 | 7.09 | 0.031 | 0.032 | 0.015 | 15.4 |
Согласно ранее проведенному исследованию [21], прутки из сплава TNZ после горячей прокатки имеют однофазное β-состояние, в структуре наблюдаются β-зерна, вытянутые вдоль направления прокатки, частично фрагментированные.
В ходе настоящей работы проведено РКУП обточенных прутков из сплава TNZ диаметром 11.5 мм и длиной 80 мм, которые помещали в оболочку из технически чистого железа (“армко-железа”). Проведение РКУП в оболочке, как было показано в ряде работ для сплавов никелида титана [22–24], позволяет повысить возможность накопления больших степеней деформации при более низких температурах за счет создания дополнительных сжимающих напряжений и, как следствие, более благоприятного напряженно-деформированного состояния в процессе прессования. А также позволяет снизить усилие прессования и риск разрушения оборудования по сравнению с прессованием без оболочки, так как предел текучести оболочки из технически чистого железа заметно меньше предела текучести трудно деформируемых титановых сплавов. РКУП в оболочке проводили без дополнительных подогревов заготовки между проходами. Размер оболочки: наружный диаметр 19.8 мм, длина 90 мм. После помещения заготовки в оболочку производили заваривание крышки. Длина оболочки перед прессованием составляла 95 мм (с крышкой). Перед проведением РКУП образцы предварительно нагревали до температуры 450°С и выдерживали в течение 30 мин. Выбор температуры нагрева 450оС опирался на результаты предыдущих исследований [21] данного сплава, деформированного методом ротационной ковки. Для снижения при РКУП трения применяли смазку в виде суспензии графита в масле.
Схема РКУП приведена на рис. 1а. Процесс включал движение оболочки с заготовкой по двум каналам с углом пересечения φ = 110° и углом сопряжения – ψ = 25°. Выполнено 4 цикла прессования без разрушения оболочки с заготовкой по схеме B с поворотом образца на 90° после каждого прохода. Усилие прессования задавалось давлением в гидросистеме пресса и не превышало 70 бар. Истинная деформация образцов составила величину e = 3.2. Вид оболочки и образца после РКУП приведен на рис. 1б.
Рис. 1. Схема расположения каналов и движения оболочки с заготовкой в установке РКУП (а), вид оболочки и образца (б) после проведения РКУП.
После проведения РКУП из полученного полуфабриката с помощью проволочного электроэрозионного станка Ecocut были вырезаны образцы для структурных исследований и определения физико-механических свойств. Твердость, модуль упругости, прочностные и пластические характеристики определяли методами микроиндентирования и испытания на растяжение. Изменение при нагреве модуля Юнга устанавливали методом динамического механического анализа (ДМА). Температуропроводность – методом лазерной вспышки, теплоемкость – методом синхронного термического анализа (СТА).
Заготовка исходного горячекатаного прутка, использованная для изготовления образцов для испытаний на растяжение, с целью увеличения рабочей длины за счет уменьшения диаметра была подвергнута дополнительной деформации в β-области перед РКУП. Дополнительная деформационная обработка заготовки исследуемого сплава перед РКУП заключалась в проведении ротационной ковки прутка диаметром 18.2 мм при температуре 600°С с относительной степенью деформации за проход 10–15%. Конечный диаметр прутка после ротационной ковки составил 11.9 мм. Далее полученную заготовку подвергали правке с электронагревом и шлифовке с целью получения прутка 11.5 мм, который затем подвергали РКУП с использованием оболочки из технически чистого железа.
Структурные исследования проводили методами рентгеноструктурного фазового анализа (РСФА), растровой и просвечивающей электронной микроскопии. РСФА осуществляли на установке Bruker D8 Advance в медном Kα-излучении в диапазоне углов Брэгга–Вульфа 2θ – 33°–120° с использованием программного пакета Topas для проведения качественного анализа. На основании данных РСФА плотность дислокаций (ρd) оценивали по формуле [25]:
, (1)
где ε – относительное искажение кристаллической решетки; D – средний размер областей когерентного рассеяния (ОКР), нм; b – вектор Бюргерса, нм (для ОЦК-решетки ). Параметры ε и D определяли по анизотропному уравнению Вильямсона–Холла [25]:
, (2)
где θ – угол отражения, град; Δθ – уширение линии HKL; σ – изотропное упругое напряжение, ГПа; Ehkl – модуль упругости вдоль нормали плоскости (hkl), ГПа. Для исследуемого сплава данные модуля Ehkl были взяты из работы [8].
Тонкая структура сплава TNZ исследована на просвечивающем электронном микроскопе JEM2100C. В качестве образца использовали фольгу, полученную в результате электрополировки предварительно утоненной на шлифовальной бумаге заготовки, вырезанной электроэрозионным способом.
Ориентационную микроскопию сплава TNZ проводили с продольного сечения прутка с шагом сканирования 0.2 мкм на растровом электронном микроскопе (РЭМ) ThermoScientificScios 2 LoVac, оснащенном приставкой Oxford Instrument Symmetry для EBSD (electron back scattering diffraction – дифракция обратно рассеянных электронов) анализа. Данные получены с использованием программного обеспечения Aztecи обработаны с помощью программного обеспечения HKL Channel 5 в соответствии с рекомендациями OxfordInstruments.
Теплоемкость сплава рассчитывали на основе экспериментальных данных, полученных в результате дифференциального термического анализа (ДТА)исследуемого сплава и материала с известной теплоемкостью (сапфира) по следующей формуле из стандарта ASTM Е1269-11:
,
где Сробр – удельная теплоемкость исследуемого образца, Дж/(г·К); Срэт – удельная теплоемкость эталонного образца (в нашем случае сапфира), Дж/(г·К); mэт – масса эталона (в нашем случае сапфира), мг; mобр – масса образца, мг; ДТАобр – сигнал дифференциального термического анализа, зарегистрированный при нагреве образца, мкВ; ДТАсист – сигнал дифференциального термического анализа, зарегистрированный при нагреве пустой системы, мкВ; ДТАэт – сигнал дифференциального термического анализа, зарегистрированный при нагреве эталона (в нашем случае сапфира), мкВ. Измерения проводили на круглых образцах диаметром 5.0 ± 0.1 мм, толщиной 1.0 ± 0.1 мм.
СТА осуществляли на приборе “Netzsch STA 449 C Jupiter” в диапазоне температур от комнатной до 700°C со скоростью нагрева 20°/мин в динамической атмосфере аргона при скорости потока газа 20 мл/мин. При проведении экспериментов образец помещали в платиновые тигли с крышками.
Определение температурного коэффициента линейного расширения (ТКЛР) сплава осуществляли на дилатометре “Linseis L78VD1600C”, оснащенном индуктивными датчиками перемещения, на образцах квадратного сечения со стороной 4.0 ± 0.1 и длиной 10.0 ± 0.5 мм в статической атмосфере аргона со скоростью нагрева ~3°С/мин. Для определения значений ТКЛР в диапазоне от комнатной до 700°C использовали высокотемпературную печь (рабочие температуры: Ткомн–1600°С). В высокотемпературной печи были испытаны 3 образца. ТКЛР определяли при нагревании образца. Использовали держатели из плавленого кварца. При расчете ТКЛР была учтена поправка, связанная с удлинением образцов из-за расширения кварцевых держателей.
Для определения модуля упругости сплава использовали метод ДМА, который был осуществлен на приборе DMA 242 C производства компании NETZSCH. Образцы подвергали нагружению по схеме трехточечного изгиба. Расчет модуля упругости осуществлялся процессорным устройством прибора. В опыте пластинку размерами 20 × 4 × 1 мм помещали в установку DMA 242 C, нагружали с частотой 1 Гц нагрузкой 5.3 Н, приводящей к упругой деформации, и повышали температуру до 600°C. В ходе нагрева фиксировали изменение модуля упругости образца и получали зависимость модуля упругости от температуры.
Механические свойства, такие как предел текучести s0.2, временное сопротивление разрыву sв, относительное удлинение d и относительное сжатие y определяли путем проведения испытаний на растяжение на разрывной машине Instron 3382 со скоростью перемещения траверсы 1 мм/мин при комнатной температуре. В серии испытаний были использованы 3 цилиндрических образца с размерами расчетной части: диаметр – 3 мм, длина 15 мм.
Измерение микротвердости по Виккерсу и контактного модуля упругости проводили методом микроиндентирования на установке CSM Instruments при нагрузке 9H, выдержка при этой нагрузке составляла 10 секунд.
Определение температуропроводности осуществляли на приборе LFA 457 MicroFlash (NETZSCH, Германия) в диапазоне температур нагрева от 20 до 700°С. Образцы для исследования имели размер 10 × 10 × 1 мм.
РЕЗУЛЬТАТЫ РАБОТЫ И ИХ ОБСУЖДЕНИЕ
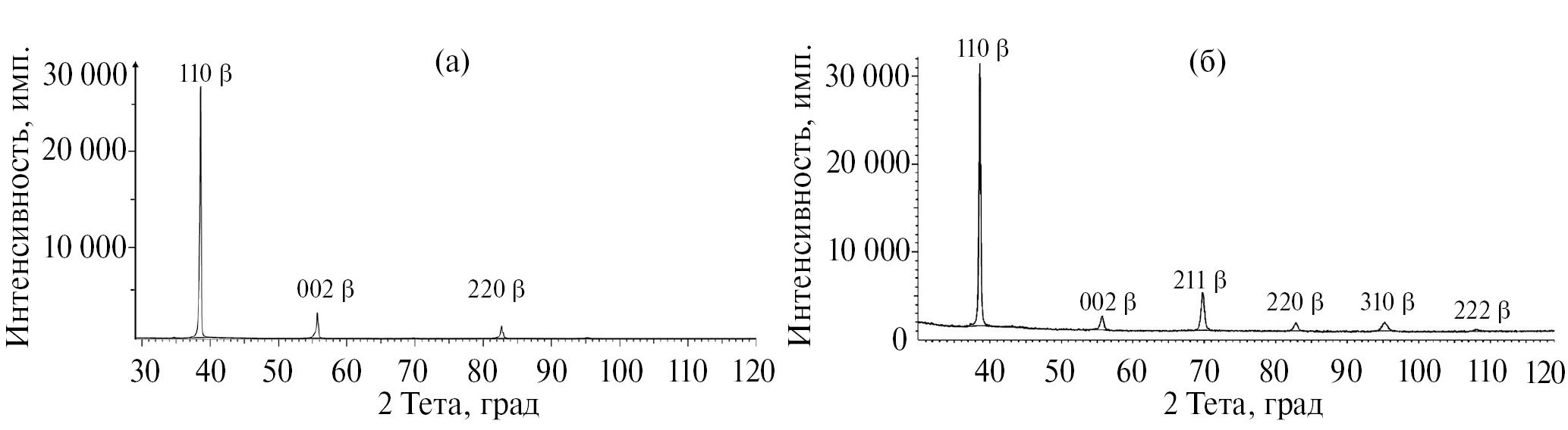
По данным РСФА (рис. 2) и ПЭМ (рис. 3) сплав TNZ после РКУП сохраняет однофазное β-состояние, характерное для исходного горячекатаного прутка (рис. 2а), но при этом на дифрактограммах несколько изменяется соотношение интенсивности линий β-фазы. Отмечено увеличение физического уширения линий β-твердого раствора (рис. 2б) вследствие накопления дефектов кристаллического строения в ходе РКУП. Из данных РСФА установлено, что проведение РКУП привело к повышению плотности дислокаций ρd сплава TNZ с 1.9 × 1010 см–2 (после горячей прокатки) до 1.1 × 1011 см–2 (после РКУП), которая оказалась сопоставимой с полученной в сплаве при проведении холодной прокатки на степень деформации 85% – 1.17 × 1011 см–2 [26].
Рис. 2. Дифрактограмма, снятая со сплава TNZ в исходном состоянии (а) и после РКУП (б) (съемка с продольного сечения образца).
Рис. 3. Тонкая структура сплава TNZ после РКУП: а – светлое поле, б – электронограмма с “а”, в – темное поле в рефлексе 100β.
Период решетки β-фазы по данным РСФА составил 0.3301 нм. Проведенный расчет периода решетки β-фазы, исходя из аддитивного вклада легирующих элементов (циркония, ниобия) в изменение периода aβ в сплаве, дал такое же значение. В расчете брали значения атомных радиусов 142.11 пм, 155.36 пм, 142.9 пм соответственно для титана, циркония и ниобия, характерные для ОЦК-решетки [27].
На изображении, полученном методом ПЭМ, структура сплава TNZ после РКУП имеет сложный дифракционный контраст, разбивающий ее на области размером 100–500 нм (рис. 3а). На электронограмме с анализируемой области присутствует множество рефлексов β-фазы, располагающихся по окружностям (рис. 3б), как в виде сгруппированных в комплексы рефлексов в виде дуговых сегментов с угловой шириной до 23 град, так и в виде отдельно стоящих рефлексов. Рефлексы в центре дуговых комплексов относятся к оси зоны типа <111>.
Согласно данным обзора [28], такое расположение рефлексов β-фазы на электронограмме характерно для образующейся при обработке с участием ИПД смешанной структуры, состоящей из нанозерен, разделенных высокоугловыми границами, дающих на электронограмме отдельно стоящие рефлексы, и наносубзерен, разделенных малоугловыми границами и дающих на электронограмме комплексы рефлексов в виде дуговых сегментов с угловой шириной, близкой к ширине, полученной в настоящем исследвании.
Темнопольное изображение в одном из рефлексов β-фазы подтверждает, что в ходе РКУП в структуре формируются отдельные области размером 100–200 нм, что, в соответствии с классификацией структурных состояний, рассмотренной в работах [11, 14], характерно для субмикрокристаллической структуры. Эти области имеют вид как отдельных равноосных зерен, так и вытянутых конгломератов (рис. 3в).
Ряд особенностей структурного состояния сплава TNZ выявляется на ориентационных картах, полученных методом EBSD (рис. 4).
Рис. 4. Ориентационная карта (а), РЭМ-изображение (б) структуры в центральной части прутка из сплава TNZ после РКУП. EBSD-анализ.
Этим методом фиксируется наличие относительно крупных, ориентированных зерен наряду с мелкими равноосными зернами, сформировавшимися в результате протекания процессов измельчения зеренной структуры при многопроходном РКУП. Статистический анализ зерен, имеющих на исследуемом поле зрения разориентацию более 10°, показал, что для равноосных мелких зерен средний размер составляет 0.70 ± 0.08 мкм при минимальном значении 180 нм, сопоставимом с отмеченным в ходе ПЭМ-исследования (рис. 3), а крупные, вытянутые зерна имеют среднюю толщину 14 ± 2 мкм при степени вытянутости 1.9 ± 0.7. Внутри вытянутых β-зерен фиксируется повышенная дефектность, связанная с увеличением плотности дислокации в теле зерна, формированием полос скольжения и сброса в ходе РКУП (рис. 4б). Неоднородная цветовая ориентационная раскраска внутри крупных зерен (рис. 4а) свидетельствует о наличии определенной разориентации отдельных областей внутри зерна, очевидно, вследствие формирования субзеренной структуры при РКУП.
Анализ прямых полюсных фигур, полученных методом EBSD (рис. 5), показал, что после РКУП в сплаве фиксируется двухкомпонентная текстура сдвига: {1–21}<111>, {110}<001>, в которой плоскости совпадают с плоскостью съемки (продольное сечение прутка, а направления отклонены от оси прутка на угол ≈20°. Данные компоненты текстуры идеального сдвига, обозначенные в работе [29] как D2 и F соответственно (рис. 5), были спрогнозированы на основании механики сплошных сред текстурированных поликристаллов при кручении цилиндрического стержня. Основным отличием процесса РКУП от кручения является то, что сдвиг происходит не в поперечной плоскости образца, к которой ось прутка является нормалью, а в плоскости пересечения каналов матрицы, по которым перемещается образец при РКУП. Исходя из используемой схемы РКУП (рис. 1), плоскость сдвига образует с поперечной плоскостью двугранный угол ≈22.5° (с учетом угла сопряжения 25°), что, по нашему мнению, и объясняет разворот фиксируемых текстурных компонент на угол ≈20° (рис. 5) относительно спрогнозированных компонент идеального сдвига, характерных для кручения [29]. В микроструктуре наблюдается отклонение направления вытяжки зерен от оси прутка на угол в интервале 20–30° (рис. 4). В данный диапазон попадает значение 27.5°, составляющее ¼ величины используемого угла φ = 110° межу каналами при РКУП. Согласно данным монографии [30], именно под углом f/4 к оси прутка в использованной схеме РКУП происходит формоизменение зерен, связанное с удлинением.
Рис. 5. Прямые полюсные фигуры, снятые с продольного сечения прутка из сплава TNZ после РКУП: (XО – ось прокатки, YО – радиальное направление, ZО – тангенциальное направление, где {110} – ориентировка отмечена сплошными линиями, {1–21} – ориентировка отмечена пунктирными линиями.
Методом микроиндентирования определены значения твердости по Виккерсу и контактного модуля упругости сплава TNZ, подвергнутого РКУП: 260 ± 5 HV; 68 ± 3 ГПа соответственно. Полученное среднее значение твердости после РКУП на 20% выше, чем у сплава в горячекатаном состоянии (215 HV [21]) за счет частичного измельчения при РКУП зеренной структуры и деформационного упрочнения. При этом значение модуля упругости после РКУП в пределах погрешности соответствует его значению в горячекатаном состоянии (70 ГПа [21]).
Проведенные механические испытания на растяжение (рис. 6) показали, что сплав TNZ после РКУП имеет следующий уровень механических свойств: σ0.2 = 740 ± 15 МПа; σв = 760 ± 15 МПа; δ = 12 ± 2%; ψ = 65 ± 4%. По уровню предела текучести и пластических свойств сплав TNZ после РКУП сопоставим со сплавом TNZ, подвергнутым ротационной ковке (σ0.2 ≥ 765МПа, δ ≥ 11%, ψ ≥ 65.5% [21]). Но за счет отсутствия в структуре высокомодульных вторых фаз сплав TNZ после РКУП имеет более низкое среднее значение модуля упругости – 68 ГПа, чем после ротационной ковки – 76 ГПа [21].
Рис. 6. Типичная диаграмма растяжения сплава TNZ после РКУП.
После РКУП сплав TNZ находится в метастабильном β-состоянии, которое можно упрочнить за счет старения. При выборе температурного интервала старения необходимо знать закономерности распада метастабильного β-твердого раствора при нагреве в широком интервале температур. Для определения температурных интервалов фазовых превращений в β-твердом растворе сплава TNZ изучено изменение его физических свойств – модуля упругости, температуропроводности, удельной теплоемкости, ТКЛР – при нагреве (рис. 7). На рис. 7 сплошные линии и точки соответствуют экспериментальным данным, штриховые линии проведены, чтобы выделить характерный температурный интервал на кривой с максимумом или минимумом (рис. 7а, б, г), который также органичен вертикальными линиями, или изменение угла наклона прямой, проведенной по точкам (рис. 7в).
Рис. 7. Изменение модуля упругости (а), удельной теплоемкости (б), температуропроводности (в), ТКЛР (г) при нагреве сплава TNZ после РКУП.
Анализ полученных данных показал, что на зависимостях изменения физических характеристик от температуры наблюдается появление максимумов, минимумов или изменение угла наклона кривой в определенных температурных диапазонах. Всего обнаружено четыре интервала на каждой кривой (условно обозначены I, II, III, IV) с определенными отклонениями, которые имеют диапазон температур достаточно близкий для всех используемых методов исследования (табл. 2). Некоторое несовпадение между собой температурных диапазонов отмеченных интервалов, связанных с разными физическим свойствами, мы объясняем отличием условий проведения экспериментов по отдельным методикам (размеры образцов, скорость нагрева, способ регистрации сигнала, инерционность системы и т.д.). В то же время считаем, что в каждом из четырех выделенных интервалов температур протекает определенное фазовое превращение в сплаве TNZ, которое и приводит к наблюдаемому изменению физического свойства.
Таблица 2. Характерные температурные интервалы, выделенные на зависимостях физических свойств
Характерный температурный интервал | Температурные границы интервала для физических свойств, °С | |||
Модуль упругости | Удельная теплоемкость | Температуропроводность | ТКЛР | |
I | 100–300 | 100–280 | 150–250 | 100–250 |
II | 300–400 | 325–425 | 250–400 | 275–410 |
III | 400–500 | 440–530 | 400–500 | 410–480 |
IV | 500–600 | 530–585 | 500–600 | 480–560 |
В I-м, II-м интервале температур нагрева, соответственно, от 100 (150) до 250 (300)°С и от 250 (325) до 400 (425)°С (конкретная температура начала или конца исследования определяется используемым методом – табл. 2) наблюдаются максимумы на кривой ДМА, минимумы на кривых ДСК, ТКЛР и последовательное снижение скорости увеличения температуропроводности (рис. 7). В указанных температурных диапазонах для псевдо-β-сплавов, к которым относится сплав TNZ, для метастабильной β-фазы характерно [31] последовательное протекание β → Vω → ω-превращений. В I-м интервале образуются предвыделения ω-фазы (Vω), которые представляют собой области β-твердого раствора с ближним порядком w-образных смещений [32], а во II-м интервале – изотермическая ω-фаза с гексагональной решеткой.
Согласно метастабильной диаграмме Ti–Nb [33] образование ω-фазы в сплавах с (30–45) мас. %Nb происходит в диапазоне температур 300–425°С, в который хорошо укладывается II-й интервал температур нагрева сплава TNZ. В псевдо-β-титановых сплавах появление в структуре предвыделений Vω и ω-фазы приводит к росту модуля упругости [34, 35], фиксации на ДСК-кривых экзотермических эффектов [30] или минимумов на кривых теплоемкости, уменьшению удлинения [31, 36] и, соответственно, к снижению ТКЛР, что и зафиксировано нами на рис. 7. Данных о влиянии предвыделений Vω и ω-фазы на ход температуропроводности не обнаружено, но в работе [37] при исследовании изменения температуропроводности титана, ниобия, циркония с температурой нагрева отмечено, что увеличение количества межзеренных границ в металле приводит к снижению значений температуропроводности за счет рассеяния на них электронов проводимости.
При образовании предвыделений Vω- и ω-фазы в β-фазе увеличивается количество межфазных границ, что может способствовать снижению скорости роста температуропроводности при нагреве, зафиксированное в эксперименте.
В III-м, IV-м интервале температур нагрева, соответственно от 400 (440) до 480 (530)°С и от 480 (530) до 560 (600)°С, наблюдается противоположный характер изменения физических свойств (рис. 7). В III-м интервале температур нагрева фиксируются значения модуля упругости выше значений, полученных для исходного состояния после РКУП, наблюдается минимум на кривой удельной теплоемкости, увеличение скорости роста температуропроводности, ТКЛР дает минимум, коэффициент снижается вплоть до отрицательных значений. В IV-м интервале температур нагрева, наоборот, происходит резкое уменьшение модуля упругости ниже уровня значений в состоянии после РКУП, фиксируется максимум на кривой удельной теплоемкости, уменьшение скорости роста температуропроводности, рост ТКЛР до максимальных значений. Такой характер изменения свойств характерен для протекания при нагреве прямого и обратного фазового превращения, а учитывая, что в температурном диапазоне IV-го интервала находится расчетная температура полиморфного превращения (Тпп) сплава – 539°С [21], то можно утверждать о реализации в III-м интервале температур нагрева прямого β → α-превращения, а в IV-м интервале – обратного α → β-превращения. Данное заключение хорошо объясняет и характер изменения физических свойств в III-м и IV-м интервале температур нагрева. Ранее показано [10, 21], что выделение a-фазы в β-твердом растворе в сплавах типа TNZ способствует получению более высокого модуля упругости, чем модуль упругости в однофазном β-состоянии, а уменьшение количества a-фазы в структуре приводит к снижению модуля упругости. Прямое β → α-превращение в сплавах титана дает минимум на кривой теплоемкости, а обратное α → β-превращение – максимум [38].
В работе [21] обосновано, что скорость роста температуропроводности при наличии a-фазы в сплаве TNZ выше, чем в случае ее растворения в β-матрице, и аналогичный эффект мы наблюдаем при нагреве в III-м и IV-м интервале температур (рис. 7в). Согласно имеющимся экспериментальным данным [20, 39], ТКЛР a-фазы ниже, чем ТКЛР β-фазы, поэтому прямое β → α-превращение в сплавах титана дает минимум на кривой ТКЛР, а обратное α → β-превращение способствует росту ТКЛР выше исходного уровня [39], что мы и наблюдаем (рис. 7г).
Из проведенного анализа следует, что при нагреве сплава TNZ после РКУП от комнатной температуры до Тпп фиксируемый метастабильный β-твердый раствор претерпевает ряд превращений в следующей последовательности: β → Vw → w → α → β. Исходя из температурных интервалов реализации каждого из фазовых превращений, можно заключить, что старение сплава TNZ после РКУП следует проводить при температурах, выше образования нежелательной в структуре высокомодульной ω-фазы, охрупчивающей сплав, т. е. в диапазоне 400–450°С, когда образуется более равновесная и менее высокомодульная a-фаза. Более высокая температура старения также менее целесообразна, так как в этом случае она становится достаточно близкой к Тпп (разница менее 90°С), а это приводит к снижению объемной доли выделений и росту их размеров, что отрицательно сказывается на дисперсионном упрочнении. Анализ литературных данных [40, 41] подтвердил, что для биосовместимых деформированных сплавов на базе системы Ti–Nb именно старение в диапазоне температур 400…450°С обеспечивает распад метастабильного β-твердого раствора с выделением a-фазы и эффективное дисперсионное упрочнение при умеренном росте модуля упругости сплавов.
ЗАКЛЮЧЕНИЕ
- РКУП сплава TNZ в 4 прохода по схеме В с предварительным подогревом при 450°С, 30 мин обеспечивает фрагментацию β-зерен вплоть до образования областей размером 180–200 нм, формирование двухкомпонентной текстуры сдвига {1–21}<111> и {110}<001>, отклоненной от оси прутка на угол около 20°.
- Деформационное и зернограничное упрочнение, текстурированность сплава TNZ в результате РКУП способствуют, по сравнению с исходным горячекатаным состоянием, повышению твердости по Виккерсу на 20% (до 260 HV) и получению величины модуля упругости (68 ± 3 ГПа) не выше исходного уровня. После предварительной деформации в β-области и последующего РКУП в сплаве TNZ в метастабильном β-состоянии получен комплекс механических свойств σ0.2 = 740 ± 15 МПа; σв = 760 ± 15 МПа; δ = 12 ± 2%; ψ = 65 ± 4%.
- Из анализа изменения физических свойств – динамического модуля упругости, температуропроводности, теплоемкости, ТКЛР – с температурой нагрева вплоть до Тпп сплава TNZ определены температурные интервалы и следующая последовательность фазовых превращений метастабильного β-твердого раствора: β → Vw → w → α → β.
- Обоснован диапазон температур старения (400–450°С), который может быть использован для дополнительного упрочнения сплава TNZ, подвергнутого РКУП.
Работа выполнена в молодежной лаборатории модификации поверхностей материалов ФГАОУ ВО “Уральский Федеральный Университет имени первого Президента России Б.Н. Ельцина” в рамках соглашения с Министерством науки и высшего образования № 075-03-2024-009/4 от 11.04.2024 (номер темы FEUZ-2024-0020).
Авторы выражают признательность сотрудникам кафедры термообработки и физики металлов УрФУ к.т.н. Жилякову А.Ю., к.т.н. Юровских А.С. за оказанную помощь в проведении измерений физических свойств при нагреве и структурных исследований.
Авторы данной работы заявляют, что у них нет конфликта интересов.
About the authors
A. G. Illarionov
Ural Federal University named after the First President of Russia B. N. Yeltsin; Mikheev Institute of Metal Physics, Ural Branch, Russian Academy of Sciences
Author for correspondence.
Email: a.g.illarionov@urfu.ru
Russian Federation, Ekaterinburg, 620002; Ekaterinburg, 620108
V. P. Kuznetsov
Ural Federal University named after the First President of Russia B. N. Yeltsin; Mikheev Institute of Metal Physics, Ural Branch, Russian Academy of Sciences
Email: a.g.illarionov@urfu.ru
Russian Federation, Ekaterinburg, 620002; Ekaterinburg, 620108
G. Zh. Mukanov
Ural Federal University named after the First President of Russia B. N. Yeltsin
Email: a.g.illarionov@urfu.ru
Russian Federation, Ekaterinburg, 620002
S. I. Stepanov
Ural Federal University named after the First President of Russia B. N. Yeltsin
Email: a.g.illarionov@urfu.ru
Russian Federation, Ekaterinburg, 620002
A. A. Korenev
Ural Federal University named after the First President of Russia B. N. Yeltsin
Email: a.g.illarionov@urfu.ru
Russian Federation, Ekaterinburg, 620002
R. D. Karelin
Baikov Institute of Metallurgy and Materials Science, RAS
Email: a.g.illarionov@urfu.ru
Russian Federation, Moscow, 119334
References
- Li Y., Yang C., Zhao H., Qu S., Li X., Li Y. New Developments of Ti-Based Alloys for Biomedical Applications // Materials. 2014. V. 7. P. 1709–1800.
- Kim K.M., Kim H.Y., Miyazaki S. Effect of Zr Content on Phase Stability, Deformation behavior, and Young’s Modulus in Ti–Nb–Zr Alloys // Materials. 2020. V. 13. P. 476.
- Fellah M., Hezil N., Bouras D., Bouchareb N., Perez-Larios A., Obrosov A., Gamal A.El-Hit, Weiß S. Investigating the effect of Zr content on electrochemical and tribological properties of newly developed near β-type Ti-alloys (Ti–25Nb-xZr) for biomedical applications // J. Sci.: Advanced Mater. and Devices. 2024. V. 9. P. 100695.
- Biesiekierski A., Wang J., Abdel-Hady G.M., Wen C. A new look at biomedical Ti-based shape memory alloys // Acta Biomaterialia. 2012. V. 8. № 5. P. 1661–1669.
- Banerjee D., Williams J.C. Perspectives on titanium science and technology // Acta Mater. 2013. V. 61. P. 844–879.
- Эмсли Дж. Элементы. М.: Мир, 1993. 256 с.
- Коренев А.А., Илларионов А.Г. Расчетные и экспериментальные упругие свойства закаленных биосовместимых сплавов титана систем Ti–Nb, Ti–Nb–Zr, Ti–Nb–Zr–Sn, Ti–Nb–Zr–Sn–Ta // ФММ. 2022. Т. 123. № 11. С. 1203–1209.
- Коренев А.А., Илларионов А.Г. Влияние холодной деформации на структуру, текстуру, упругие и микродюрометрические свойства биосовместимых бета-титановых сплавов на базе системы Ti–Nb–Zr // ФММ. 2023. Т. 124. № 6. С. 492–499.
- Chen Q., Thouas G.A. Metallic implant biomaterials // Mater. Sci. Eng. R. 2005. V. 87. P. 1–57.
- Коренев А.А., Илларионов А.Г., Карабаналов М.С. Формирование структурно-фазового состояния, упругих и дюрометрических свойств в биосовместимых холоднокатаных титановых сплавах на базе системы Ti–Nb–Zr при старении // ФММ. 2024. Т. 125. № 3. С. 345–355.
- Edalati K., Bachmaier A., Beloshenko V.A., Beygelzimer Y., Blank V.D., Botta W.J., Bryła K., Čížek J., Divinski S., Enikeev N.A., Estrin Y., Faraji G., Figueiredo R.B., Fuji M., Furuta T., Grosdidier Th., Gubicza J., Hohenwarter A., Horita Z., Huot J., Ikoma Y., Janeček M., Kawasaki M., Král P., Kuramoto Sh., Langdon T.G., Leiva D.R., Levitas V.I., Mazilkin A., Mito M., Miyamoto H., Nishizaki T., Pippan R., Popov V.V., Popova E.N., Purcek G., Renk O., Révész Á., Sauvage X., Sklenicka V., Skrotzki W., Straumal B.B., Suwas S., Toth L.S., Tsuji N., Valiev R.Z., Wilde G., Zehetbauer M.J. &Zhu X. Nanomaterials by severe plastic deformation: review of historical developments and recent advances // Mater. Research Letters. 2022. V. 10. № 4. P. 163–256. https://doi.org/10.1080/21663831.2022.2029779
- Lowe T.C., Valiev R.Z. Advanced biomaterials and biodevices / In: Tiwari A, Nordin AN, editors. Beverly (MA): Wiley-Scrivener Publishing, 2014. P. 3–52.
- Деркач М.А., Шереметьев В.А., Коротицкий А.В., Прокошкин С.Д. Исследование низкотемпературного термомеханического поведения сверхупругого сплава Ti–18Zr–15Nb в различных температурно-скоростных условиях // ФММ. 2023. Т. 124. № 9. С. 873–883.
- Valiev R.Z., Islamgaliev R.K., Alexandrov I.V. Bulk nanostructured materials from severe plastic deformation // Prog. Mater. Sci. 2000. V. 45. P. 103–189.
- Sheremetyev V., Derkach M., Churakova A., Komissarov A., Gunderov D., Raab G., Cheverikin V., Prokoshkin S., Brailovski V. Microstructure, mechanical and superelastic properties of Ti–Zr–Nb alloy for biomedical application subjected to equal channel angular pressing and annealing // Metals. 2022. Т. 12. № 10. С. 1672.
- Valiev R.Z., Raab G.I., Prokofiev E.A., Kazarinov N.A., Minasov T.B., Stráský J. Developing nanostructured Ti alloys for innovative implantable medical devices // Materials. 2020. V. 13. P. 967. https://doi.org/10.3390/ma13040967
- Bartha K., Veverková A., Stráský J., Veselý J., Minárik P., Corrêa C.A., Janeček M., Polyakova V., Semenova I. Effect of the severe plastic deformation by ECAP on microstructure and phase transformations in Ti–15Mo alloy // Mater. Today Commun. 2020. V. 22. P. 100811.
- Derkach M., Gunderov D., Tabachkova N., Cheverikin V., Zolotukhin E., Prokoshkin S., Brailovski V., Sheremetyev V. Effect of low and high temperature ECAP modes on the microstructure, mechanical properties and functional fatigue behavior of Ti–Zr–Nb alloy for biomedical applications // J. Alloys Compounds. 2024. V. 976. P. 173147.
- Wang Q., Dong C., Liaw P.K. Structural Stabilities of β-Ti Alloys Studied Using a New Mo Equivalent Derived from [β/(α + β)] Phase-Boundary Slopes // Metal. Mater. Trans. A. 2015. V. 46A. P. 3440–3447
- Ильин А.А., Колачев Б.А., Полькин И.С. Титановые сплавы. Состав, структура, свойства: справочник. М.: ВИЛС–МАТИ, 2009. 520 с.
- Illarionov A., Mukanov G., Stepanov S., Kuznetsov V., Karelin R., Andreev V., Yusupov V., Korelin A. Microstructure and physico-mechanical properties of biocompatible titanium alloy Ti–39Nb–7Zr after rotary forging // Metals. 2024. V. 14. № 5. Р. 497.
- Hamed Shahmir, Mahmoud Nili-Ahmadabadi, Mojtaba Mansouri-Arani, Langdon T.G. The processing of NiTi shape memory alloys by equal-channel angular pressing at room temperature // Mater. Sci. Eng.: A. 2013. V. 576. P. 178–184. https://doi.org/10.1016/j.msea.2013.04.001
- Karelin R., Komarov V., Khmelevskaya I., Andreev V., Yusupov V., Prokoshkin S. Structure and properties of TiNi shape memory alloy after low-temperature ECAP in shells // Mater. Sci. Eng.: A. 2023. V. 872. № 5. P. 144960. https://doi.org/10.1016/j.msea.2023.144960
- Karelin R., Komarov V., Khmelevskaya I., Cherkasov V., Andreev V., Yusupov V., Prokoshkin S. Effect of temperature-deformation regimes of equal channel angular pressing in core-shell mode on the structure and properties of near-equiatomic titanium nickelide shape memory alloy // J. Alloys Compounds. 2024. V. 1005. № 11. P. 176071. https://doi.org/10.1016/j.jallcom.2024.176071
- Иванов И., Сафарова Д., Батаева З., Батаев И. Сравнение подходов, основанных на методе Вильямсона–Холла, для анализа структуры высокоэнтропийного сплава Al0.3CoCrFeNi после холодной пластической деформации // Обработка металлов (технология; оборудование; инструменты). 2022. Т. 24. № 3. С. 90–102.
- Коренев А.А. Влияние легирования и термомеханической обработки на структурно-фазовое состояние и свойства биосовместимых β-титановых сплавов титана на базе системы Ti–Nb–Zr/Диссертация на соискание ученой степени кандидата технических наук: специальность 2.6.4 “Металловедение и термическая обработка металлов и сплавов”. Уральский Федеральный университет, 2024. 136 с.
- Khrunyk Y.Y., Grib S.V., Illarionov A.G., Stepanov S.I., Popov A.A., Ryzhkov M.A., Belikov S.V., Ehnert S., Nüssler A.K., Xu Z., Rupp F. Synthesis and characterization of a novel biocompatible alloy, Ti–Nb–Zr–Ta–Sn // International Journal of Molecular Sciences. 2021. V. 22. Р. 10611. https://doi.org/10.3390/ijms221910611
- Prokoshkin S., Dubinskiy S., Brailovski V. Features of a Nanosubgrained Structure in Deformed and Annealed Ti–Ni SMA: A Brief Review // Shap. Mem. Superelasticity. 2019. V. 5. P. 336–345. https://doi.org/10.1007/s40830-019-00241-6
- Montheillet F., Gilormini P., Jonas J.J. Relation between axial stresses and texture development during torsion testing: A simplified theory // Acta Metal. 1985. V. 33. № 4. P. 705–717.
- Сегал В.М., Резников В.И., Копылов В.И., Павлик Д.А., Малышев В.Ф. Процессы пластического структурообразования металлов. Минск: Навука i тэхнiка, 1994. 230 с.
- Цвиккер У. Титан и его сплавы. М.: Мир, 1979. 512 с.
- Гриднев В.Н., Ивасишин О.М., Ошкадеров С.П. Физические основы скоростного термоупрочнения титановых сплавов. Киев.: Наукова думка, 1986. 256 с.
- Moffat D.L., Kattner U.R. The Stable and Metastable Ti–Nb Phase Diagrams // Metal. Trans. A. 1988. V. 19A. № 10. P. 2389–2397.
- Hao Y.L., Niinomy N., Kuroda D., Fukunaga K., Zhou Y.L., Yang R., Suzuki A. Aging Response of the Young’s Modulus and Mechanical Properties of Ti–29Nb–13Ta–4.6Zr for Biomedical Applications // Metal. Mater. Trans. A. 2003. V. 34A. P. 1007–1012.
- Nejezchlebov J., Seiner H., Sedl_ak P., Landa M., Smilauerovа Jana, Aeby-Gautier E., Denand B., Dehmas M., Appolaire B. On the complementarity between resistivity measurement and ultrasonic measurement for in-situ characterization of phase transitions in Ti–alloys // J. Alloys Compounds. 2018. V. 762. P. 868–872.
- Zhaňal P., Beran P., Hansen T., Šmilauerova J., Strasky J., Janeček M., Harcuba P. Thermal expansion evolution of metastable β Ti–15Mo alloy during linear heating // IOP Conf. Series: Materials Science and Engineering. 2019. V. 461. P. 012094. https://doi.org/10.1088/1757-899X/461/1/012094
- Горбатов В.И., Полев В.Ф., Пилюгин В.П., Коршунов И.Г., Смирнов А.Л., Талуц С.Г., Брытков Д.А. Температуропроводность субмикро- и нанокристаллических ниобия, титана и циркония при высоких температурах // Теплофизика высоких температур. 2013. Т. 51. № 4. С. 539–542.
- Пелецкий В.Э., Чеховской В.Я., Бельская Э.А., Зарецкий Е.Б., Петухов В.А., Фокин Л.Р., Шур Б.А. Теплофизические свойства титана и его сплавов. М.: Металлургия, 1985. 103 с.
- Illarionov A.G., Vodolazskiy F.V., Barannikova N.A., Kosmatskiy Y.I., Khudorozhkova Y.V. Influence of phase composition on thermal expansion of Ti–0.4Al, Ti–2.2Al–2.5Zr and Ti–3Al–2.5V alloys // J. Alloys Compounds. 2021. V. 857. P. 158049.
- Acharya S., Bahl S., Dabas S.S., Hassan S., Gopal V., Panicker A.G., Manivasagam G., Suwas S., Chatterjee K. Role of aging induced α precipitation on the mechanical and tribocorrosive performance of a β Ti–Nb–Ta–O orthopedic alloy // Mater. Sci. Eng. C. 2019. V. 103. P. 109755.
- Guo S., Meng Q., Liao G., Hu L., Zhao X. Microstructural evolution and mechanical behavior of metastable β-type Ti–25Nb–2Mo–4Sn alloy with high strength and low modulus // Progress in Natural Sci.: Materials International. 2013. V. 23. № 2. P. 174–182.
Supplementary files








