Состав жирных кислот липидов высших сосудистых растений арктических тундр Западного Шпицбергена
- Authors: Марковская Е.Ф.1, Шмакова Н.Ю.2, Зорина А.А.1
-
Affiliations:
- Федеральное государственное бюджетное образовательное учреждение высшего образования “Петрозаводский государственный университет”
- Полярно-альпийский ботанический сад-институт им. Н.А. Аврорина – обособленное подразделение Федерального государственного бюджетного учреждения науки Федерального исследовательского центра “Кольский научный центр” Российской академии наук
- Issue: Vol 71, No 6 (2024)
- Pages: 711-722
- Section: ЭКСПЕРИМЕНТАЛЬНЫЕ СТАТЬИ
- URL: https://medbiosci.ru/0015-3303/article/view/272097
- DOI: https://doi.org/10.31857/S0015330324060045
- EDN: https://elibrary.ru/MATCJB
- ID: 272097
Cite item
Full Text
Abstract
Исследовали фракционный состав жирных кислот (ЖК) липидов, выявлены основные направления их участия в структурно-функциональных адаптациях у доминирующих и редко встречающихся видов высших сосудистых растений арктических тундр Западного Шпицбергена. Выявлены различия по величине и изменчивости состава ЖК по фракциям: для гликолипидов – от 25 до 76%, для фосфолипидов – 10–28%, для нейтральных липидов – 7–57%. Установлена взаимосвязь между жирнокислотным составом разных фракций липидов и показателем “активность вида” у растений разного географического происхождения и экологии. Основные направления адаптации, связанные с липидной составляющей у арктических растений, включают участие насыщенных и ненасыщенных ЖК в разных соотношениях в зависимости от эколого-географических особенностей видов. Отмечено разнообразие ЖК с очень длинной цепью во фракционном жирнокислотном составе липидов у всех арктических растений. Показано, что в обеих адаптивных стратегиях: “избегание” и “адаптация” активно участвует липидная составляющая, которая обеспечивает соответствующую функциональную активность вида и его представленность в арктических тундрах Западного Шпицбергена.
Full Text
Сокращения: ГЛ – гликолипиды, ЖК – жирные кислоты, ЖКОДЦ – жирные кислоты с очень длинной цепью, НЖК – насыщенные жирные кислоты, ННЖК – ненасыщенные жирные кислоты, НЛ – нейтральные липиды, ФЛ – фосфолипиды.
ВВЕДЕНИЕ
Современный интерес к Арктике связан с ее ресурсным богатством, адаптивным потенциалом природного комплекса, реакцией на изменение климата и увеличение техногенной нагрузки [1]. Отмечается большое разнообразие географических элементов (арктические, аркто-альпийские, гипоарктические и бореальные) флоры Шпицбергена, которые представлены на широком спектре экотопов. Разнообразие определяет основные стратегии поведения и соответственно выживания разных видов растений – “избегание” и “адаптация” [2]. Первая группа видов выбирает стратегию “избегания” перестроек при адаптации и занимает ограниченные, более благоприятные экотопы, а вторая включает механизмы приспособления, что обеспечивает этим видам широкое распространение [1–5].
Система выживания тесно связана с состоянием мембранной системы растительного организма. Физические свойства биологических мембран, в частности их “текучесть” или подвижность зависят от состава липидов. Для сосудистых растений Западного Шпицбергена разных по географическому происхождению выявлена связь между особенностями жирнокислотного состава общих липидов и показателем “активность вида” [6]. Полученные результаты позволяют предположить, что рассмотрение фракционного состава липидов у этих видов может дать более детальную информацию об участии отдельных жирных кислот (ЖК) в путях адаптации растений к условиям Арктики. Способность растительного организма поддерживать функциональную активность мембран адекватно действующим факторам в экстремальных условиях среды обеспечивает успешное их произрастание [7–10].
Цель работы – сравнительный анализ жирнокислотного состава липидов и выявление основных направлений их участия в адаптациях у доминирующих и редко встречающихся видов высших растений арктических тундр Западного Шпицбергена.
МАТЕРИАЛЫ И МЕТОДЫ
Место исследования. Работа выполнена на территории Западного Шпицбергена, крупного острова архипелага Шпицберген, расположенного между северной частью Атлантического океана и Северным Ледовитым океаном. Рельеф острова горный, ледники занимают больше половины площади, берега изрезаны фьордами, породы многолетнемерзлые (мощность слоя до 200 м), естественное оттаивание грунтов в летний период колеблется от 0.5 до 2.6 м, климат океанический, на западе значительно смягчен теплым Шпицбергенским течением (часть Гольфстрима). Вследствие высокой влажности воздуха даже зимние осадки могут выпадать в виде дождя или тумана. Среднегодовая температура воздуха составляет 5.8°С. Средняя температура самого теплого месяца (июля) 8.0°С, самого холодного (февраля) – 18°С [11]. В среднем за год выпадает 563 мм осадков. В течение всего года наблюдается высокая относительная влажность воздуха, в среднем – 78%. На широте Баренцбурга с 19 апреля по 24 августа (127 дней) длится полярный день. Климатические особенности обусловливают короткий вегетационный период (40–70 дней).
Работа выполнена на растениях из разных растительных сообществ арктических тундр: в окрестностях поселка Баренцбург (78°03ʹ38.2ʺ N, 14°12ʹ59.6ʺ E); на мысе Финнесет (78°02ʹ39.2ʺ N, 14°13ʹ10.0ʺ E); в окрестностях бухты Колсбей (78°08ʹ41.4ʺ N, 15°01ʹ27.3ʺ E).
Объекты исследования. В качестве объектов исследования были выбраны 11 видов высших сосудистых растений из 8 семейств арктических тундр на о. Западный Шпицберген. Из них 7 видов травянистых многолетников: сем. Caryophyllaceae – звездчатка приземистая (Stellaria humifusa Rottb.), ясколка альпийская (Cerastium alpinum L.), смолевка бесстебельная (Silene acaulis L.); сем. Polygonaceae – кисличник двупестичный (Oxyria digyna (L.) Hill); сем. Ranunculaceae – лютик серно-желтый (Ranunculus sulphureus Soland.); сем. Saxifragaceae – камнеломка дернистая (Saxifraga cespitosa L.), камнеломка поникающая (S. cernua L.); 4 вида кустарничков: сем. Salicaceae – ива полярная (Salix polaris Walenb.); сем. Rosaceae – дриада восьмилепестная (Dryas octopetala L.); сем. Ericaceae – голубика обыкновенная, мелколистная (Vaccinium uliginosum subsp. microphyllum (Lange) Hulten.); cем. Betulaceae – березка карликовая (Betula nana L.) [12].
Растения отбирали в фазе цветения, за исключением редких (Betula nana, Vaccinium uliginosum), которые на данной территории находились только в фазе вегетации. Для каждого вида пробы листьев были взяты с 10–20 особей (10–20 г).
Фиксация материала и химический анализ. Свежий растительный материал фиксировали методом лиофильной сушки в химико-аналитической лаборатории Российской научной арктической экспедиции на архипелаге Шпицберген (п. Баренцбург). Дальнейший анализ проб проводили на оборудовании Центра коллективного пользования “Аналитическая лаборатория” Института Леса Карельского научного центра РАН.
Суммарные липиды экстрагировали смесью хлороформа и метанола в соотношении 2 : 1 и фракционировали методом колоночной хроматографии на нейтральные липиды (НЛ), гликолипиды (ГЛ) и фосфолипиды (ФЛ). Определение жирнокислотного состава липидных фракций проводили хроматографическим методом на газожидкостном хроматографе “Хроматэк-Кристалл-5000.1” (ЗАО СКБ “Хроматэк”, Россия) при следующих условиях: капиллярная колонка HP INNOWAX (30 м, 0.32 мм); температура колонки, испарителя, пламенно-ионизационного детектора – 205, 240 и 260°С соответственно; газ-носитель – азот; скорость пропускания через колонку азота, водорода, воздуха – 50, 40, 400 мл/ мин соответственно. Идентификацию ЖК проводили по стандартным образцам (Supelko, 37 компонентов, США). Определение количественного содержания ЖК проводили методом внутреннего стандарта (в качестве стандарта – маргариновая кислота) и выражали в мг/г сухой массы, далее рассчитывали в весовых % от суммы [13].
Активность видов определяется широтой экологической амплитуды и поведением в сообществе [14]. При определении активности учитываются: экологическая амплитуда вида, которая соответствует доле освоенных местообитаний; постоянство, определяется как отношение описаний, где был встречен вид, к общему количеству описаний в данном местообитании; среднее обилие по шкале Браун-Бланке. На исследуемой территории арктических тундр Западного Шпицбергена выявлено пять категорий активности видов, которые мы использовали в настоящем исследовании: I – редкие виды, II – виды низкой активности, III – средней активности, IVa – активные обильные виды, IVb – активные необильные виды, Va – высоко активные обильные, Vb – высоко активные необильные виды [15]. Данные по активности видов исследованных сосудистых растений представлены в табл. 1.
Таблица 1. Распределение фракций жирных кислот липидов в листьях растений Арктики, %
Вид | ГЛ | ФЛ | НЛ | Категория активности вида |
Oxyria digyna | 45 | 21 | 34 | IVa |
Cerastium alpinum | 25 | 13 | 52 | Vb |
Stellaria humifusa | 52 | 14 | 34 | IVa |
Ranunculus sulphureus | 76 | 15 | 9 | IVb |
Saxifraga cernua | 65 | 10 | 25 | IVa |
Saxifraga cespitosa | 37 | 14 | 49 | IVb |
Salix polaris | 50 | 22 | 28 | Va |
Betula nana | 65 | 28 | 7 | I–II |
Dryas octopetala | 32 | 11 | 57 | III |
Silene acaulis | 58 | 19 | 23 | III |
Vaccinium uliginosum | 48 | 25 | 27 | I–II |
Среднее | 50 | 17 | 31 |
Примечание: ГЛ – гликолипиды, ФЛ – фосфолипиды, НЛ – нейтральные липиды.
Статистический анализ. Описательная статистика проведена по стандартной методике [16]. Для выявления сходства исследованных сосудистых растений использовали количественные данные по ЖК суммарных липидов (мг/г сухой массы) и кластерный анализ, при подтверждении результатов которого число итераций бутстрепинга составило 10000 [17].
Оценка соотношения насыщенных ЖК (НЖК) и ненасыщенных ЖК (ННЖК) для выделенных групп растений, сформированных на основе применения кластеризации, проводилась с использованием нормированного отклонения – универсального способа унификации данных в вариационной статистике [16]. Сначала проводилось нормирование каждого признака (количество конкретной ЖК – j = 1, 2, …, m) определенного вида (i = 1, 2, …, n): tij = (x − M) / S, где x – количество ЖК на единицу массы (мг/г сухой массы), M – среднее арифметическое и S – стандартное отклонение по всем ЖК отдельного вида растений. Далее безразмерные признаки усредняли по каждой группе ЖК (диеновые, моноеновые, триеновые, тетраеновые, насыщенные) каждой фракции липидов (ГЛ, ФЛ, НЛ): ti = 1 / m ∙ ∑(1→m)tij. Данные по видам одного кластера усредняли, а для более наглядного представления результатов соотношения НЖК и ННЖК использованы абсолютные значения индекса, рассчитанного на основе нормированного отклонения – |t| = |1 / n∙∑(1→n) tij|.
Статистическая обработка выполнялась в программах Microsoft Excel 2010, STATGRAPHICS Plus 5.0 и бесплатном пакете PAST v. 3.17.
РЕЗУЛЬТАТЫ И ОБСУЖДЕНИЕ
Жирнокислотный состав фракций липидов листьев арктических растений. Жирные кислоты, входящие в состав липидов у арктических видов, представляют основные строительные блоки сложных полярных и нейтральных липидов [18]. Липиды, как мембранные, так и запасные, распределены в клетке неравномерно и, в зависимости от структурно-функциональных особенностей вида, выделяется три фракции: ГЛ, ФЛ, НЛ. Все исследованные виды арктических растений различались по числу ЖК и их количественному содержанию по фракциям. Если во фракции ГЛ у исследованных видов растений выделили 19 ЖК, то в ФЛ – 18 ЖК, а в НЛ – 25 ЖК (табл. 2). В литературе показано, что каждая мембрана в клетке состоит из характерного набора типов липидов [19], поэтому каждый вид растений имеет собственный набор ЖК, который и определяет потенциал его адаптации к условиям местообитания. Уникальный состав ЖК позволяет предположить, что структура/состав липидов является важным фактором адаптации растений в условиях Арктики.
Исследование распределения ЖК между фракциями у растений в период активной вегетации выявило различия по величине и изменчивости: для ГЛ – от 25 до 76%, для ФЛ – 10–28%, для НЛ – 7–57% (табл. 1). Исследуемые виды включали весь диапазон активности (1–5), установленный на этой территории [15]. Сравнение фракционного состава двух видов с одинаково высокими значениями активности (Cerastium alpinum, акт. 5b, Salix polaris, акт. 5а) показало, что отличия по величине и изменчивости ЖК по фракциям достоверны: ГЛ – 25–50%, ФЛ – 13–22%, НЛ – 28–52% (табл. 1). Это может быть связано с разными путями адаптации у видов сходных по “активности”.
Фракция ГЛ. ЖК этой фракции преимущественно локализованы в хлоропластах, где они организуют мембраны тилакоидов, которые встроены в субъединицы фотосистем. Эта группа липидов функционально доминирует в период активной вегетации в летнее время, когда отмечается максимальная активность фотосинтетического аппарата (ФСА). Содержание ЖК во фракции ГЛ у 6 видов было высоким, более 50% (табл. 1).
Исследованные виды растений различались по числу выделенных ЖК. Так, у Oxyria digyna, Saxifraga cernua, Saxifraga cespitosa, Salix polaris состав ЖК включал 6–7 ЖК, Cerastium alpinum, Silene acaulis, Ranunculus sulphureus и Dryas octopetala – 10 ЖК, тогда как у редких видов – Vaccinium uliginosum, Betula nana и Stellaria humifusa их число увеличивалось до 12–14 ЖК (табл. 2).
Таблица 2. Состав и содержание жирных кислот (ЖК) в разных фракциях липидов (% от суммы) высших сосудистых растений Западного Шпицбергена
ЖК | Виды | ||||||||||
Oxyria digyna | Cerastium alpinum | Silene acaulis | Stellaria humifusa | Ranunculus sulphureus | Saxifraga cernua | Saxifraga cespitosa | Salix polaris | Betula nana | Dryas octopetala | Vaccinium uliginosum | |
Гликолипиды | |||||||||||
16:0 | 6.20 ± 0.54 | 18.32 ± 0.87 | 30.41 ± 1.75 | 22.33 ± 1.87 | 13.05 ± 0.76 | 16.22 ± 0.98 | 17.41 ± 0.55 | 15.19 ± 0.67 | 29.18 ± 0.87 | 35.80 ± 2.47 | 32.11 ± 1.03 |
18:0 | 0.66 ± 0.01 | 1.23 ± 0.07 | 5.59 ± 0.34 | 3.23 ± 0.21 | 1.30 ± 0.08 | 2.23 ± 0.15 | 0.81 ± 0.04 | 1.13 ± 0.08 | 2.87 ± 0.16 | 7.30 ± 0.54 | 6.80 ± 0.18 |
20:0 | 4.92 ± 02.8 | 1.21 ± 0.09 | 0.59 ± 0.02 | 2.31 ± 0.14 | 2.38 ± 0.13 | 2.63 ± 0.04 | |||||
22:0 | 3.18 ± 0.21 | 0.56 ± 0.02 | 0.55 ± 0.01 | 3.43 ± 0.17 | 1.15 ± 0.07 | 1.76 ± 0.04 | |||||
16:1 (n-7) | 1.08 ± 0.07 | 1.32 ± 0.08 | 0.93 ± 0.07 | 1.30 ± 0.05 | 1.13 ± 0.06 | ||||||
16:1 (n-5) | 0.85 ± 0.05 | 1.16 ± 0.02 | 0.81 ± 0.05 | 1.85 ± 0.18 | 1.21 ± 0.09 | 1.41 ± 0.08 | 1.84 ± 0.07 | 1.20 ± 0.05 | 1.58 ± 0.06 | 0.80 ± 0.02 | |
18:1 (n-9) | 1.11 ± 0.08 | 1.88 ± 0.06 | 5.29 ± 0.41 | 5.36 ± 0.34 | 2.19 ± 0.16 | 2.59 ± 0.12 | 2.10 ± 0.13 | 1.35 ± 0.07 | 6.20 ± 0.34 | 6.75 ± 0.24 | 6.51 ± 0.34 |
20:1 (n-9) | 0.98 ± 0.04 | 0.92 ± 0.03 | |||||||||
16:2 (n-9) | 0.73 ± 0.04 | 1.03 ± 0.05 | |||||||||
18:2 (n-4) | 0.58 ± 0.02 | ||||||||||
18:2 (n-6) | 5.38 ± 0.31 | 17.41 ± 0.87 | 21.79 ± 1.85 | 24.41 ± 1.47 | 8.26 ± 0.43 | 7.85 ± 0.87 | 14.47 ± 0.99 | 6.36 ± 0.09 | 7.62 ± 0.46 | 8.76 ± 0.68 | 6.28 ± 0.23 |
20:2 (n-6) | 0.76 ± 0.03 | 1.71 ± 0.08 | 0.80 ± 0.06 | 0.53 ± 0.03 | 0.66 ± 0.01 | 0.63 ± 0.03 | 0.62 ± 0.05 | ||||
16:3 (n-6) | 14.22 ± 0.96 | 0.95 ± 0.07 | 3.12 ± 0.12 | 1.36 ± 0.08 | |||||||
16:3 (n-4) | 0.60 ± 0.03 | ||||||||||
18:3 (n-3) | 84.43 ± 4.78 | 46.84 ± 1.95 | 25.22 ± 1.86 | 25.49 ± 1.89 | 56.20 ± 3.12 | 67.80 ± 3.45 | 62.28 ± 4.23 | 73.02 ± 1.48 | 40.92 ± 2.76 | 33.61 ± 1.47 | 38.63 ± 1.76 |
18:3 (n-6) | 2.43 ± 0.12 | 4.31 ± 0.31 | |||||||||
18:4 (n-4) | 7.32 ± 0.43 | 7.42 ± 0.54 | |||||||||
20:4 (n-4) | 0.73 ± 0.04 | ||||||||||
20:4 (n-3) | 0.86 ± 0.07 | ||||||||||
Фосфолипиды | |||||||||||
16:0 | 18.50 ± 0.76 | 28.18 ± 1.08 | 30.81 ± 1.67 | 31.35 ± 1.47 | 21.97 ± 1.08 | 27.83 ± 0.95 | 29.08 ± 1.98 | 30.04 ± 1.87 | 36.56 ± 2.98 | 37.35 ± 1.65 | 37.62 ± 1.24 |
18:0 | 0.80 ± 0.05 | 2.13 ± 0.13 | 5.10 ± 0.35 | 8.28 ± 0.65 | 1.42 ± 0.06 | 7.60 ± 0.45 | 0.75 ± 0.07 | 1.70 ± 0.05 | 1.89 ± 0.04 | 8.36 ± 0.35 | 3.64 ± 0.15 |
20:0 | 1.80 ± 0.12 | 0.68 ± 0.03 | 0.82 ± 0.02 | 1.06 ± 0.08 | |||||||
22:0 | 1.60 ± 0.07 | 0.70 ± 0.04 | |||||||||
16:1 (n-7) | 0.80 ± 0.02 | 3.17 ± 0.17 | 0.69 ± 0.03 | 0.87 ± 0.04 | 0.83 ± 0.05 | 0.68 ± 0.02 | |||||
16:1 (n-5) | 7.35 ± 0.56 | 4.60 ± 0.39 | 2.27 ± 0.11 | 1.69 ± 0.07 | 6.53 ± 0.47 | 2.88 ± 0.12 | 2.91 ± 0.18 | 5.76 ± 0.54 | 6.05 ± 0.43 | 5.57 ± 0.31 | 6.37 ± 0.34 |
18:1 (n-9) | 3.80 ± 0.16 | 3.70 ± 0.25 | 4.31 ± 0.38 | 7.19 ± 0.45 | 1.58 ± 0.05 | 5.14 ± 0.43 | 2.56 ± 0.16 | 2.10 ± 0.18 | 4.68 ± 0.36 | 4.11 ± 0.11 | 5.25 ± 0.45 |
20:1 (n-9) | 1.55 ± 0.06 | 0.70 ± 0.04 | |||||||||
16:2 (n-9) | 1.17 ± 0.07 | 1.21 ± 0.07 | |||||||||
18:2 (n-4) | 1.09 ± 0.06 | ||||||||||
18:2 (n-6) | 35.88 ± 2.87 | 27.78 ± 1.04 | 28.91 ± 1.87 | 25.36 ± 1.65 | 12.57 ± 0.97 | 11.72 ± 0.83 | 27.19 ± 1.09 | 16.15 ± 0.87 | 19.34 ± 0.93 | 14.84 ± 0.65 | 19.83 ± 0.98 |
20:2 (n-6) | 1.00 ± 0.04 | 1.28 ± 0.07 | |||||||||
16:3 (n-6) | 4.95 ± 0.48 | ||||||||||
18:3 (n-4) | 0.68 ± 0.02 | ||||||||||
18:3 (n-3) | 29.86 ± 1.43 | 25.42 ± 1.97 | 23.31 ± 1.58 | 14.66 ± 0.68 | 49.46 ± 2.16 | 43.67 ± 2.94 | 36.84 ± 1.88 | 43.86 ± 2.97 | 25.82 ± 2.02 | 26.31 ± 2.04 | 24.85 ± 1.93 |
18:3 (n-6) | 2.24 ± 0.12 | 0.84 ± 0.06 | 2.79 ± 0.14 | 0.71 ± 0.06 | |||||||
18:4 (n-4) | 4.42 ± 0.34 | 3.17 ± 0.26 | |||||||||
20:4 (n-4) | 0.73 ± 0.06 | ||||||||||
Нейтральные липиды | |||||||||||
16:0 | 16.64 ± 0.65 | 24.27 ± 1.24 | 17.68 ± 0.84 | 20.88 ± 1.07 | 22.11 ± 1.78 | 24.99 ± 1.57 | 22.89 ± 1.43 | 33.84 ± 2.63 | 35.38 ± 2.34 | 8.17 ± 0.65 | 22.61 ± 1.78 |
18:0 | 1.81 ± 0.06 | 2.24 ± 0.13 | 5.13 ± 0.08 | 4.86 ± 0.38 | 7.15 ± 0.49 | 4.48 ± 0.34 | 2.03 ± 0.11 | 4.08 ± 0.15 | 5.77 ± 0.28 | 1.61 ± 0.07 | 4.22 ± 0.38 |
20:0 | 1.71 ± 0.08 | 22.5 ± 1.23 | 0.69 ± 0.03 | 11.11 ± 0.76 | 0.70 ± 0.04 | 0.98 ± 0.04 | 2.40 ± 0.21 | 12.73 ± 0.89 | 21.53 ± 1.58 | ||
22:0 | 0.65 ± 0.02 | 7.95 ± 0.56 | 10.94 ± 0.89 | 0.66 ± 0.04 | 1.99 ± 0.13 | 1.62 ± 0.07 | 8.95 ± 0.46 | 2.03 ± 0.14 | |||
24:0 | 4.07 ± 0.32 | ||||||||||
ЖК | Виды | ||||||||||
Oxyria digyna | Cerastium alpinum | Silene acaulis | Stellaria humifusa | Ranunculus sulphureus | Saxifraga cernua | Saxifraga cespitosa | Salix polaris | Betula nana | Dryas octopetala | Vaccinium uliginosum | |
16:1 (n-7) | 0.70 ± 0.02 | 0.89 ± 0.06 | 2.43 ± 0.13 | 0.83 ± 0.03 | 0.76 ± 0.02 | 0.77 ± 0.03 | 0.91 ± 0.07 | 1.42 ± 0.07 | |||
16:1 (n-5) | 0.88 ± 0.04 | 1.37 ± 0.08 | 0.51 ± 0.01 | 2.83 ± 0.14 | 0.69 ± 0.02 | 1.22 ± 0.06 | 2.62 ± 0.08 | 1.47 ± 0.04 | |||
18:1 (n-7) | 1.19 ± 0.04 | ||||||||||
18:1 (n-9) | 4.46 ± 0.32 | 4.04 ± 0.31 | 4.03 ± 0.31 | 14.17 ± 0.54 | 4.57 ± 0.38 | 3.83 ± 0.08 | 8.20 ± 0.42 | 5.56 ± 0.32 | 7.99 ± 0.53 | 2.26 ± 0.09 | 6.94 ± 0.58 |
20:1 (n-9) | 0.96 ± 0.05 | 0.51 ± 0.01 | 0.53 ± 0.01 | 0.82 ± 0.05 | 15.77 ± 0.98 | ||||||
16:2 (n-6) | 1.64 ± 0.09 | ||||||||||
16:2 (n-9) | 0.90 ± 0.07 | 0.72 ± 0.02 | 0.56 ± 0.02 | 7.37 ± 0.64 | |||||||
18:2 (n-6) | 27.28 ± 2.02 | 34.26 ± 1.67 | 26.14 ± 1.87 | 33.72 ± 1.45 | 7.40 ± 0.37 | 15.89 ± 0.73 | 22.02 ± 1.76 | 13.62 ± 0.78 | 13.79 ± 0.87 | 3.78 ± 0.12 | 8.93 ± 0.45 |
20:2 (n-6) | 0.90 ± 0.04 | 2.99 ± 0.18 | 3.83 ± 0.14 | 3.64 ± 0.16 | 3.01 ± 0.24 | 5.95 ± 0.45 | 2.20 ± 0.09 | 3.47 ± 0.14 | 11.04 ± 0.69 | 1.59 ± 0.08 | |
20:2 (n-4) | 5.17 ± 0.27 | ||||||||||
22:2 (n-6) | 27.63 ± 1.37 | ||||||||||
16:3 (n-4) | 1.10 ± 0.07 | 0.75 ± 0.04 | |||||||||
16:3 (n-6) | 0.66 ± 0.02 | 1.74 ± 0.06 | 0.79 ± 0.06 | 1.66 ± 0.04 | |||||||
18:3 (n-3) | 43.94 ± 2.95 | 17.13 ± 0.86 | 5.50 ± 0.45 | 8.45 ± 0.56 | 8.84 ± 0.66 | 35.28 ± 0.13 | 28.79 ± 1.76 | 28.67 ± 1.56 | 11.99 ± 0.76 | 1.99 ± 0.12 | 9.14 ± 0.69 |
18:3 (n-6) | 3.43 ± 0.15 | 0.95 ± 0.07 | 3.79 ± 0.28 | 3.40 ± 0.13 | 0.58 ± 0.04 | ||||||
18:3 (n-4) | 0.80 ± 0.03 | 0.90 ± 0.04 | |||||||||
18:4 (n-4) | 3.97 ± 0.14 | 2.04 ± 0.12 | |||||||||
20:4 (n-4) | 0.53 ± 0.02 | 1.74 ± 0.09 | 8.84 ± 0.76 | 2.20 ± 0.14 | 1.60 ± 0.08 | 3.90 ± 0.19 | 5.35 ± 0.47 | 4.14 ± 0.37 | 5.60 ± 0.37 | 1.30 ± 0.07 | 3.45 ± 0.27 |
20:4 (n-3) | 8.59 ± 0.37 | 1.38 ± 0.07 | 3.06 ± 0.17 | ||||||||
22:4 (n-4) | 11.45 ± 0.75 | ||||||||||
Примечание. В таблице приведены величины содержания ЖК более 0.5%. Приведены средние значения со стандартной ошибкой (n = 3).
Содержание НЖК изменялось в диапазоне от 7 до 47%. Соотношение ННЖК/НЖК определяет разные свойства мембранных систем и реакцию растения на факторы среды. Оказалось, что это соотношение сильно варьирует: от максимальных значений у Oxyria digyna – 13, к средним значениям: Salix polaris, Cerastium alpinum, Ranunculus sulphureus, Saxifraga cernua, Saxifraga cespitosa в диапазоне от 5.7 до 4.6, и низким – у Silene acaulis, Vaccinium uliginosum, Betula nana и Dryas octopetala в диапазоне 1.2–1.6. В составе НЖК есть ЖКОДЦ – С20:0 и С22:0, которые присутствуют у Silene acaulis, Stellaria humifusa, Ranunculus sulphureus, Salix polaris, Vaccinium uliginosum, Betula nana и Dryas octopetala в количестве от 0.5 до 4% (табл. 2).
Содержание моноеновых ЖК изменялось от 2 до 10%, наиболее высокие значения получили у кустарничков Vaccinium uliginosum, Betula nana и Dryas octopetala. Доминировали среди моноеновых олеиновая ЖК С18:1 (n-9), ее содержание между видами варьировало от 1 до 7%. Высокие значения отмечены у Silene acaulis, Stellaria humifusa, Betula nana, Dryas octopetala, Vaccinium uliginosum. Среди моноеновых имеются ЖК с разным положением двойных связей – С16:1 (n-5,7), С18:3 (n-3,6). У видов этой группы (кроме Stellaria humifusa) присутствовала гексадеценовая кислота С16:1(5), а ЖКОДЦ С20:1 (n-9) есть только у Betula nana и Vaccinium uliginosum.
Содержание диеновых ЖК варьировало от 5 до 25% с максимальными значениями у Silene acaulis, Stellaria humifusa. У всех видов доминировала линолевая ЖК С18:2 (n-6) с наиболее высокими значениями у Silene acaulis, Stellaria humifusa, Cerastium alpinum (17-24%), у остальных значения ниже почти в 2 раза. Группа ЖКОДЦ представлена эйкозадиеновой ЖК С20:2 (n-6) со значениями до 1% у ряда видов: Cerastium alpinum, Silene acaulis, Stellaria humifusa, Ranunculus sulphureus, Betula nana, Dryas octopetala и Vaccinium uliginosum.
Содержание триеновых ЖК варьировало в широком диапазоне – 25–84%. Доминировала α-линоленовая ЖК С18:3 (n-3). Следует отметить разнообразие ЖК по положению двойных связей; С16:3 (n-4,6) и С18:3 (n-3,6). В группу видов с высоким содержанием (56–80%) α-линоленовой ЖК вошли: Oxyria digyna, Saxifraga cernua, Saxifraga cespitosa, Ranunculus sulphureus, Salix polaris, а в группу с низким (25–50%) – Cerastium alpinum, Silene acaulis, Stellaria humifusa, Betula nana, Dryas octopetala и Vaccinium uliginosum.
Группа тетраеновых ЖК в этой фракции представлена ЖК С18:4 (n-4) с содержанием 7% у Cerastium alpinum и Stellaria humifusa, ЖКОДЦ 20:4 (n-3) отмечена только у Stellaria humifusa, а С20:4 (n-4) – у Ranunculus sulphureus.
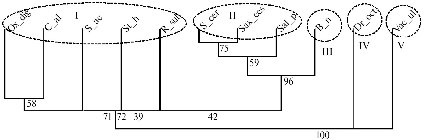
Результаты кластерного анализа по фракции ГЛ. В результате применения кластерного анализа было выделено восемь кластеров (P > 95%), которые объединили в две группы (рис. 1). В первую группу вошли 5 видов из трех кластеров (I–III): Silene acaulis, Stellaria humifusa, Betula nana, Dryas octopetala и Vaccinium uliginosum. Для данных видов характерно высокое содержание НЖК (27–46%) и диеновых ЖК (8–25%). Растения этой группы имели низкие и средние значения активности (I–III) за исключением Stellaria humifusa (IVa – табл. 1). Вторая группа объединила пять кластеров с IV по VIII с 6 видами (рис. 1), для которых отметили низкие значения содержания НЖК (7–20%) и высокие значения содержания триеновых ЖК (49–84%). По геоботанической характеристике виды этой группы были высоко активными или активными.
Рис. 1. Дендрограмма сходства высших сосудистых растений Западного Шпицбергена по составу и содержанию гликолипидов, полученная методом ближайшего соседа с нанесенными оценками бутстреп-вероятностей ветвей (пунктиром разделены кластеры с доверительной вероятностью > 95%): Ox_dig – Oxyria digyna; C_al – Cerastium alpinum; S_ac – Silene acaulis; St_h – Stellaria humifusa; R_sul – Ranunculus sulphureus; S_cer – Saxifraga cernua; Sax_ces – Saxifraga cespitosa; Sal_p – Salix polaris; B_n – Betula nana; Dr_oct – Dryas octopetala; Vac_ul – Vaccinium uliginosum.
Таким образом, во фракции ГЛ выделили две группы видов с разным ЖК составом и соответственно разными путями адаптации на уровне липидной составляющей мембранных структур ФСА. Первый механизм связан с высокими значениями содержания триеновых ЖК на фоне низких значений НЖК, что поддерживает высокую функциональную активность ФСА и широкое распространение высоко активных и активных видов. Как правило, в сообществах арктических тундр – это доминирующие, широко распространенные виды Арктики, занимающие широкий спектр экотопов. Второй механизм поддерживает функциональную активность мембранных систем ФСА за счет высокого содержания НЖК и диеновых ЖК, что обеспечивает жизнедеятельность средне и низко-активных видов, имеющих ограниченное и локальное распространение.
Фракция ФЛ. ЖК этой фракции являются важными составляющими всех клеточных мембран и образуют матрикс мембран плазмалеммы и эндомембран, являются сигнальными молекулами [20]. Наряду с другими соединениями регулируют рост и развитие растений, клеточный ответ на изменения окружающей среды [21, 22].
Процентное содержание ЖК у изученных видов во фракции ФЛ имеет узкий диапазон (10–28%), что может свидетельствовать об ее функциональной унификации в растениях, по сравнению с другими фракциями (табл. 1). Во фракции ФЛ у всех видов выявили 18 ЖК: причем наименьшее количество оказалось у Oxyria digyna и Saxifraga cespitosa – 6–8, у Cerastium alpinum, Ranunculus sulphureus, Dryas octopetala, Silene acaulis, Betula nana – 9–10 и у Stellaria humifusa – 11 ЖК.
Количество НЖК изменялось в диапазоне 20–47%. Соотношение ННЖК/НЖК варьировало от 1.2 до 4.2. Наибольшие значения отметили у Oxyria digyna (4.2) и Ranunculus sulphureus (3.1); в следующую группу вошли Cerastium alpinum, Saxifraga cespitosa и Salix polaris (2.1, 2.3); остальные виды имели это соотношение в пределах 1.2–1.6, что свидетельствует о высоких значениях содержания НЖК. В состав НЖК входили ЖКОДЦ С20:0, которые отмечены у Silene acaulis, Stellaria humifusa, Dryas octopetala, Vaccinium uliginosum, а С22:0 у Silene acaulis и Ranunculus sulphureus (табл. 2).
Содержание моноеновых ЖК изменялось от 6 до 13%. В составе моноеновых ЖК выявили четыре ЖК, из них гексадеценовая кислота С16:1 (n-5) доминировала у Oxyria digyna, Dryas octopetala, Salix polaris, Betula nana, Vaccinium uliginosum. Олеиновая ЖК С18:1 (n-9) преобладала у Saxifraga cernua, Stellaria humifusa, Silene acaulis, Betula nana, Vaccinium uliginosum. ЖКОДЦ С20:1 (n-9) была встречена у Oxyria digyna и Vaccinium uliginosum.
Содержание ЖК в группе диеновых изменялось от 12 до 37%. К доминирующим отнесли линолевую ЖК С18:2 (n-6), высокое ее содержание (до 36%) отметили у Oxyria digyna, Silene acaulis, Cerastium alpinum, Stellaria humifusa, Saxifraga cespitosa, у остальных видов значения были в два раза ниже. Присутствие эйкозадиеновой ЖКОДЦ С20:2 (n-6) отмечено у Oxyria digyna и Betula nana (около 1%).
Количество триеновых ЖК изменялось в диапазоне от 17 до 44%. Состав триеновых ЖК во фракции ФЛ менее разнообразен, чем у ГЛ. Содержание α-линоленовой кислоты С18:3 (n-3) составило (15-49 %), что значительно меньше (в 1.3–2.8 раза), чем во фракции ГЛ. Максимальные значения ее содержания получены у Saxifraga cernua, Salix рolaris, Saxifraga cespitosa, Ranunculus sulphureus (37–49%). У видов Cerastium alpinum, Silene acaulis, Stellaria humifusa, Dryas octopetala триеновые ЖК представлены с разным положением двойной связи – С18:3 (3,6).
Тетраеновые ЖК представлены в небольшом количестве в форме С18:4 (n-4) у Cerastium alpinum и Stellaria humifusa, а ЖКОДЦ С20:4 (n-4) была обнаружена только у Ranunculus sulphureus.
Результаты кластерного анализа по фракции ФЛ. Семь кластеров, полученных в результате проведения кластерного анализа данных фракции ФЛ, можно объединить в три группы видов (рис. 2). В первую группу вошли два кластера (I и II) с видами Oxyria digyna, Cerastium alpinum, Stellaria humifusa и Silene acaulis, для которых характерны высокие значения содержания диеновых ЖК (27–37%) и широкий диапазон НЖК (20–40%). Вторая группа включала два кластера (III и IV) со средними значениями НЖК (24–35%) и высокими значениями триеновых ЖК (37–54%). В третью группу вошли виды трех кластеров (V–VII): Betula nana, Vaccinium uliginosum, Dryas octopetala, для которых отмечены высокие значения содержания НЖК (39–47%). Сравнение видов разных групп по показателю “активность” показало, что в первую группу с высокими значениями активности (IV–V) вошел вид со средней активностью Silene acaulis (III). Во второй группе оказались все виды с высокими значениями активности (IV–V), а в третьей группе наряду с видами с низкими значениями активности Betula nana и Vaccinium uliginosum (I и II) присутствовал вид со средней активностью (Dryas octopetala, III).
Рис. 2. Дендрограмма сходства высших сосудистых растений Западного Шпицбергена по составу и содержанию фосфолипидов: Ox_dig – Oxyria digyna; C_al – Cerastium alpinum; S_ac – Silene acaulis; St_h – Stellaria humifusa; R_sul – Ranunculus sulphureus; S_cer – Saxifraga cernua; Sax_ces – Saxifraga cespitosa; Sal_p – Salix polaris; B_n – Betula nana; Dr_oct – Dryas octopetala; Vac_ul – Vaccinium uliginosum.
Следовательно, во фракции ФЛ выделили три основных направления адаптации на фоне широкого варьирования содержания НЖК: высокое содержание диеновых ЖК, высокие значения содержания триеновых ЖК и направление, связанное с высокими значениями содержания НЖК. В отличие от фракции ГЛ значимость участия НЖК увеличивается.
Фракция НЛ. ЖК фракции НЛ играют важную роль у растений в качестве энергетического и субстратного резерва клетки, что актуально для растений высоких широт. В нейтральных липидах ЖК в основном образуют триацилглицерины, которые концентрируются в липидных тельцах, а в форме восков – на поверхности листа и в других структурах растения [23]. Для этой фракции отмечено максимально высокое разнообразие индивидуальных ЖК (25), по сравнению с другими фракциями, что подтверждено и в литературе [24]. Процентное содержание фракции НЛ у видов различалось и изменялось в широком диапазоне – от 7 до 57% (табл. 1).
Содержание НЖК варьировало от 19 до 52%. Соотношение ННЖК/НЖК у разных видов существенно отличалось: высокие значения у Oxyria digyna (4.2), в группу со средними значениями (2.2–3.0) вошли Cerastium alpinum, Silene acaulis, Stellaria humifusa Saxifraga cernua, S. сespitosa, для остальных видов характерны низкие значения в диапазоне 0.9–1.8 (Ranunculus sulphureus, Salix рolaris, Betula nana, Dryas octopetala, Vaccinium uliginosum). В группу НЖК вошли три ЖКОДЦ: С20:0 представлена у 9 видов, С22:0 у 8 видов, а лигноцериновая ЖК С24:0 у Dryas octopetala с высоким содержанием – 4.1%. Высокое содержание ЖКОДЦ было отмечено у Silene acaulis С20:0 (22.5%), причем ее содержание выше, чем ЖК С16:0 – 17.7%. Сходная ситуация была и у Dryas octopetala, когда содержание ЖК С16:0 было 8.7%, а ЖКОДЦ С20:0 – 12.7%, а у Vaccinium uliginosum концентрации этих двух ЖК были сходными – 21–22%. Высокие значения ЖКОДЦ С22:0 имели Oxyria digyna, Dryas octopetala (8–11%).
Для НЛ характерны высокие значения содержания группы моноеновых ЖК по сравнению с другими фракциями (6–23%). Например, у Stellaria humifusa составило 17%, Vaccinium uliginosum – 23%. ЖКОДЦ С20:1 (n-9) была обнаружена у Oxyria digyna, Stellaria humifusa, Saxifraga cernua, S. сespitosa, Vaccinium uliginosum.
Содержание диеновых изменялось в диапазоне от 11 до 42%. Во фракцию вошли шесть диеновых ЖК, общее содержание которых у ряда видов (Cerastium alpinum, Stellaria humifusa, Saxifraga cespitosa, Dryas octopetala) составило 28–42%, что выше, чем в ГЛ и ФЛ. У всех видов доминировала ЖК С18:2 (n-6) с высоким содержанием (8–34%) за исключением Dryas octopetala. В этой группе широко представлены ЖКОДЦ. У всех видов присутствовала С20:2 (n-6) со значениями у Dryas octopetala (11.0%), Saxifraga cespitosa (5.9%), Stellaria humifusa (3.8%), Ranunculus sulphureus (3.5%), Saxifraga cernua и Cerastium alpinum (3.0%). ЖК С20:2 (n-4) обнаружена только у Ranunculus sulphureus (5.2%), ЖК С22:2 (n-6) у Dryas octopetala (27.60%).
Группа триеновых включала пять ЖК с общим высоким содержанием у Oxyria digyna (45%), Saxifraga cernua (37%), Saxifraga cespitosa (29%), Salix polaris (30%), Cerastium alpinum (21%), содержание у остальных видов находилось в пределах 2–12%. К редким ЖК в этой группе относится С18:3 (n-4), которая была обнаружена только у Betula nana и Vaccinium uliginosum (0.8 и 0.9%, соответственно).
В группу тетраеновых вошли четыре ЖК, из которых ЖКОДЦ С20:4 (n-4) оказалась доминирующей и присутствовала у всех видов, но с более высоким содержанием у Silene acaulis (8.8%), Saxifraga cespitosa (5.3%), Betula nana (5.6%). У трех видов присутствует С20:4 (n-3) с высоким значением у Ranunculus sulphureus (8.6%), и только ЖК С22:4 (n-4) с содержанием 11.5% была обнаружена у Dryas octopetala.
Результаты кластерного анализа по фракции НЛ. По результатам кластерного анализа выделили 5 кластеров, которые объединили в 3 группы (рис. 3). Первая группа включала один кластер (I), в который вошли виды с широкими диапазонами варьирования всех ЖК: Oxyria digyna, Cerastium alpinum, Silene acaulis, Stellaria humifusa, Ranunculus sulphureus. Все виды этой группы имели высокую активность (IV–V), кроме Silene acaulis (III). Отмечен большой диапазон варьирования содержания НЖК (19–52%) и доминирование диеновых ЖК. Во вторую группу вошли 3 вида из II кластера также с высокой активностью: Saxifraga cernua (IVa), Saxifraga cespitosa (IVb), которые характеризовались высокими значениями триеновых ЖК (29–37%). В третьей группе оказались виды трех кластеров с активностями (III–V), для которых характерны высокие значения НЖК (до 50%) в сочетании с высокими значениями разных ННЖК (до 50%). Для трех видов Dryas octopetala, активность (III), для Betula nana и Vaccinium uliginosum – активность (I–II) характерно присутствие всего состава ЖК и высокие значения НЖК.
Рис. 3. Дендрограмма сходства высших сосудистых растений Западного Шпицбергена по составу и содержанию нейтральных липидов: Ox_dig – Oxyria digyna; C_al – Cerastium alpinum; S_ac – Silene acaulis; St_h – Stellaria humifusa; R_sul – Ranunculus sulphureus; S_cer – Saxifraga cernua; Sax_ces – Saxifraga cespitosa; Sal_p – Salix polaris; B_n – Betula nana; Dr_oct – Dryas octopetala; Vac_ul – Vaccinium uliginosum.
Полученные данные показали участие большого числа ЖК фракции НЛ у всех видов арктических растений, что затрудняло выделение основных направлений их участия в адаптации. Однако можно предположить, что фракция НЛ является резервом, который используется в условиях повышения экстремальности среды в период активной вегетации.
Проведенное исследование показало, что имеется связь между составом ЖК отдельных фракций липидов и показателем “активность вида” у растений разного географического происхождения и экологии в условиях Западного Шпицбергена. Наиболее четко эта зависимость просматривалась у видов по фракции ГЛ, что связано с ее высоким уровнем значимости в период активной вегетации, когда проводили исследование. В результате анализа данных по составу ЖК разных фракций липидов выделили два вида (Silene acaulis и Stellaria humifusa), у которых “показатель активности” не всегда соответствовал группам по составу ЖК, в которые они входили. Например, Silene acaulis с активностью (III), во фракции ФЛ вошла в группу видов с высокими значениями активности (IV–V). Причиной этого несоответствия могут быть более благоприятные локальные условия местообитания, которые и способствовали повышению жизнедеятельности вида. Особый интерес вызвал вид Stellaria humifusa с высоким значением “активности вида” (IVa), который вошел в группу низко активных видов во фракции ГЛ. Представители этого вида были отобраны со скального экотопа приморской территории, где он формирует редкую жизненную форму – “мат”, местообитание и жизненная форма резко отличаются от других условий произрастания [25]. Это могло быть причиной более низкой активности в данном локальном экотопе, но не исключает и других причин обсуждаемого несоответствия. Однако отмеченные закономерности удивляют больше, чем их нарушения и подчеркивают высокий уровень выявленных взаимосвязей между “поведением” вида в растительном сообществе, его экологической амплитудой [14, 15] и жирнокислотным составом разных фракций липидов.
Основные направления адаптации, связанные с липидной составляющей, включали участие НЖК, группы моноеновых, диеновых и триеновых ЖК в разных соотношениях в зависимости от эколого-географических особенностей видов.
В механизмах путей адаптации исследованных видов участвует сходный состав ЖК, но в зависимости от эколого-физиологических особенностей видов, он значимо перестраивается. Отличительной особенностью растений Арктики является увеличение значимости НЖК, содержание которых значимо варьировало по фракциям и видам. Считается, что биосинтез диеновых ЖК С18:2 (n-6) и триеновых ЖК С18:3 (n-3) обеспечивает биохимическую адаптацию растений к низкой температуре [26], что подтвердилось и в наших экспериментах. Высокая представленность триеновых во фракции ГЛ была отмечена в высокогорьях южных широт у растений Альп [27]. Следует отметить для арктических растений активное участие диеновых и даже моноеновых ЖК, что было отмечено для редкого вида Vaccinium uliginosum.
Участие в ЖК составе разных групп ЖКОДЦ у растений Арктики заслуживает специального внимания. Одна из гипотез их присутствия во фракции ГЛ предполагает, что они могут связывать молекулы белков на поверхности клеточных мембран. Эта группа ЖК может наряду с НЖК регулировать текучесть мембран в условиях стресса [20]. Вариант их активности может объяснить значимое увеличение их содержания во фракции ГЛ у Betula nana и Vaccinium uliginosum, которые являются редкими видами и могут испытывать стресс.
Участие ЖКОДЦ во фракции ГЛ и ФЛ может быть связано с формированием структурных компонентов различных мембран, в том числе и специфической мембранной структуры – хондриома, которая обеспечивает высокий уровень дыхания у растений в условиях Арктики [28]. Более высокие значения ЖКОДЦ у всех видов были во фракции НЛ. В условиях климата северных широт большое защитное значение имеют покровные структуры листа, фонды запасания, формирование которых связано с большим разнообразием и высоким содержанием ЖКОДЦ во фракции НЛ.
Выявленные зависимости показали, что в условиях высоких широт в обеих стратегиях адаптации [2] липидная составляющая в составе фракций ГЛ, ФЛ и НЛ играет важную роль: обеспечивает и поддерживает функциональную активность видов и их устойчивость в зависимости от эколого-географических особенностей, происхождения и адаптивного потенциала в условиях высокой Арктики.
Настоящая статья не содержит каких-либо исследований с участием людей в качестве объектов изучения.
Авторы заявляют об отсутствии конфликта интересов.
About the authors
Е. Ф. Марковская
Федеральное государственное бюджетное образовательное учреждение высшего образования “Петрозаводский государственный университет”
Author for correspondence.
Email: volev10@mail.ru
Russian Federation, Петрозаводск
Н. Ю. Шмакова
Полярно-альпийский ботанический сад-институт им. Н.А. Аврорина – обособленное подразделение Федерального государственного бюджетного учреждения науки Федерального исследовательского центра “Кольский научный центр” Российской академии наук
Email: volev10@mail.ru
Russian Federation, Апатиты
А. А. Зорина
Федеральное государственное бюджетное образовательное учреждение высшего образования “Петрозаводский государственный университет”
Email: volev10@mail.ru
Russian Federation, Петрозаводск
References
- Чернов Ю.И. Экология и биогеография. М.: Товарищество научных изданий КМК, 2008. 580 с.
- Матвеева Н.В. Зональность в растительном покрове Арктики // Труды БИН им. В.Л. Комарова РАН. СПб, 1998. Вып. № 21. 219 с.
- Körner Ch. Alpine Plant Life: Functional Plant Ecology of High Mountain Ecosystems. Berlin Heidelberg: Springer-Verlag, 2003. 360 p. https://doi.org/10.1007/978-3-642-18970-8
- Penfield S. Temperature perception and signal transduction in plant // New Phytol. 2008. V. 179. P. 615. https://doi.org/10.1111/j.1469-8137.2008.02478.x
- Марковская Е.Ф., Шмакова Н.Ю. Растения и лишайники Западного Шпицбергена: экология, физиология. Петрозаводск: ПетрГУ, 2017. 270 с.
- Марковская Е.Ф., Розенцвет О.А., Шмакова Н.Ю., Зорина А.А., Ильинова М.А. Участие липидов в адаптации высших сосудистых растений к условиям Западного Шпицбергена // Журнал общей биологии. 2021. Т. 82. № 6. С. 419. https://doi.org/10.31857/S0044459621060063
- Wallis J.G., Browse J. Mutants of Arabidopsis reveal many roles for membrane lipids // Prog. Lipid Res. 2002. V. 41. P. 54. https://doi.org/10.1016/S0163-7827(01)00027-3
- Upchurch R.G. Fatty acid unsaturation, mobilization, and regulation in the response of plant to stress // Biotechnol. Lett. 2008. V. 30. P. 967. https://doi.org/10.1007/s10529-008-9639-z
- Алаудинова Е.В., Миронов П.В. Липиды меристем лесообразующих хвойных пород центральной Сибири в условиях низкотемпературной адаптации. 2. Особенности метаболизма жирных кислот фосфолипидов меристем Larix sibirica Lebeb., Picea obovata L. и Pinus sylvestris L. // Химия растительного сырья. 2009. № 2. С. 71.
- Nokhsorov V.V., Dudareva L.V., Petrov K.A. Content and composition of lipids and their fatty acids in needles of Pinus sylvestris L. and Picea obovate Ledeb. upon cold hardening in the cryolithozone of Yakutia // Russ. J. Plant Physiol. 2019. V. 66. P. 548. https://doi.org/10.1134/S1021443719040101
- Семенов А.В., Анциферова А.Р., Давыдов А.А. Климат Баренцбурга. Изменения основных характеристик за последние 40 лет (по данным наблюдений зональной гидрометобсерватории “Баренцбург”) // Материалы II Международной конференции “Комплексные исследования природы Шпицбергена”. Апатиты, 2002. Вып. 2. С. 139.
- Rǿnning O.I. The Flora of Svalbard. Oslo: Norsk Polarinstitutt, 1996. 184 p.
- Шуляковская Т.А., Ильинова М.К., Карелина Т.В. Липидный состав тканей ствола Betula pendula и B. pendula var. carelica (Betulaceae) // Растительные ресурсы. 2014. Т. 50. № 1. С. 94.
- Юрцев Б.А. Флора Сунтар-Хаята: Проблемы истории высокогорных ландшафтов Северо-Востока Сибири. 1968. Л.: Наука, 235 с.
- Королева Н.Е., Константинова Н.А., Белкина О.А., Давыдов Д.А., Лихачев А.Ю., Савченко А.Н., Урбанавичене И.Н. Флора и растительность побережья залива Грен-фьорд (архипелаг Шпицберген). Апатиты, 2008. 132 с.
- Коросов А.В. Специальные методы биометрии. Петрозаводск: ПетрГУ, 2007. 364 с.
- Шитиков В.К., Розенберг Г.С. Рандомизация и бутстреп: статистический анализ в биологии и экологии с использованием R. Тольятти: Кассандра, 2013. 314 с.
- Лось Д.А. Десатуразы жирных кислот. М.: Научный мир, 2014. 372 с.
- Filek M., Gzyl B., Laggner P., Kriechbaum M. Effect of indole-3-acetic acid on surface properties of the wheat plastid lipids // J. Plant Physiol. 2005. V. 162. P. 245. https://doi.org/10.1016/j.jplph.2004.07.013
- Zhukov A.V. Very long-chain fatty acids in composition of plant membrane lipids // Russ. J. Plant Physiol. 2018. V. 65. P. 784. https://doi.org/10.1134/S1021443718050187
- Джамеев В.Ю. Фосфолипидный сигналинг у растений // Вiсник Харкiвського нацiонального аграрного унiверситету. Серiя бiологiя. 2014. № 3 (33). С. 80.
- Nakamura Y. Plant phospholipid diversity: emerging functions in metabolism and protein–lipid interactions // Trends Plant Sci. 2017. V. 22. P. 1027. https://doi.org/10.1016/j.tplants.2017.09.002
- Chapman K.D., Dyer J.M., Mullen R.T. Biogenesis and functions of lipid droplets in plants // J. Lipid Res. 2012. V. 53. P. 215. https://doi.org/10.1194/jlr.R021436
- Юровицкий В.Г., Сидоров В.С. Эколого-биохимический мониторинг и эколого-биохимическое тестирование в районах экологического неблагополучия // Известия РАН. Сер. Биология. 1993. № 1. С. 74.
- Шмакова Н.Ю., Марковская Е.Ф., Морозова К.В., Ермолаева О.В., Литвинова Т.И. Пути адаптации Stellaria humifusa на приморских территориях Западного Шпицбергена // Природные ресурсы Арктики и Субарктики. 2022. Т. 27. № 2. С. 294. https://doi.org/10.31242/2618-9712-2022-27-2-294-304
- Живетьев М.А., Дударева Л.В., Краснобаев В.А., Граскова И.А., Войников В.К. Содержание жирных кислот и активность десатураз у манжетки городковатой Alchemilla subcrenata Buser в зависимости от суточных колебаний температур // Известия Иркутского государственного университета. Серия “Биология. Экология”. 2011. Т. 4. № 3. С. 3.
- Murakami Y., Tsuyama M., Kobayashi Y., Kodama H., Iba K. Trienoic fatty acids and plant tolerance of high temperature // Science. 2000. V. 287. P. 476. https://doi.org/10.1126/science.287.5452.476
- Семихатова О.А. Эколого-физиологические исследования темнового дыхания растений: прошлое, настоящее, будущее // Ботанический журнал. 2000. Т. 85. № 4. С. 15.
Supplementary files





