Kinetics of multifunctional (meth)acrylates photopolymerization in the presence of aromatic imidazole
- Authors: Begantsova Y.E.1, Konev A.N.1
-
Affiliations:
- Razuvaev Institute of Organometallic Chemistry
- Issue: Vol 58, No 4 (2024)
- Pages: 267-274
- Section: PHOTOPOLYMERIZATION
- URL: https://medbiosci.ru/0023-1193/article/view/274599
- DOI: https://doi.org/10.31857/S0023119324040054
- EDN: https://elibrary.ru/TQCFZA
- ID: 274599
Cite item
Full Text
Abstract
The photolysis of phenanthroline-containing imidazole in DMSO solution and the initiating ability of the compound in photopolymerization of multifunctional (meth)acrylates under LED irradiation (λ = 395 nm) under aerobic conditions were investigated for the first time. The relationship of kinetic parameters of photopolymerization with light intensity, chemical structure, and viscosity of multifunctional monomers was established.
Full Text
Метод прямого лазерного письма (Direct Laser Writing – DLW в английской транскрипции) используется для 3D-печати с субмикронным разрешением и является эффективным способом решения задач в широком диапазоне применений – от оптоэлектроники до биомедицинского сектора [1−4].
Метод DLW основан на двухфотонной полимеризации [5], которая стартует в результате воздействия излучения фемтосекундного лазера на фоторезист, состоящий из фотоинициатора и мономера. Особенностью DLW является тот факт, что отверждение фоторезиста происходит только в области перетяжки проходящего через объектив лазерного пучка (вокселя), а создание объемных полимерных микро- и наноструктур происходит перемещением капли фоторезиста относительно вокселя при помощи высокоточных подвижек. Для того чтобы структура из сшитого полимера успела образоваться под действием движущегося источника энергии, в фоторезистах для DLW предпочтительно используются многофункциональные мономеры [5].
Ранее нами было установлено, что на основе аромосодержащих имидазолов в качестве фотоинициаторов и пентаэритритолтриакрилата (РЕТА) могут быть созданы высокоэффективные фоторезисты для метода DLW [6].
Однако для высокоскоростной печати качественных и прочных полимерных объектов важен оптимальный выбор как высокоэффективного фотоинициатора, так и подходящего мономера. Многофункциональные мономеры способны создавать полимерные сетки с высокой степенью сшивки.
В отличие от линейной полимеризации, сшивающая полимеризация создает сетки с физической структурой, которая сильно зависит от условий отверждения и практически не изменяется после завершения полимеризации из-за нерастворимости сетки. Природа сетки определяет многие важные свойства материала: прочность, степень набухания и диффузии растворенного вещества через материал. Таким образом, факторы, контролирующие кинетику формирования сетки, в значительной степени определяют качество и применимость материала, поэтому важно понимание кинетических особенностей процесса образования полимерной цепи. Эти исследования могут быть проведены в условиях обычной фотополимеризации с использованием более дешевых и доступных источников энергии, например, светодиодов (LED).
В данной работе представлены исследования по инициирующей способности фенантролинсодержащего имидазола в фотополимеризации (мет)акрилатных мономеров с тремя и более полимеризационноспособными группами с использованием светодиода (LED) в качестве источника света в присутствии воздуха. Выявлена взаимосвязь между химическим строением, вязкостью многофункциональных (мет)акрилатов с кинетическими параметрами фотополимеризации.
ЭКСПЕРИМЕНТАЛЬНАЯ ЧАСТЬ
Материалы: фотоинициатор – 4-(1H-имидазо[4,5-f][1, 10]фенантролин-2-ил)бензальдегид (1) был получен по методике [7]. Пентаэритритол триакрилат (РЕТА) (Aldrich), триметилолпропан триакрилат (TMPTA) (CDH), триметилолпропан триметакрилат (TMPTМA) (CDH), глицеролпропоксилат триакрилат (GPTA) (Aldrich), триметилолпропанэтоксилат триакрилат (ТМРТА ЕТ) (Aldrich), пентаэритритол тетраакрилат (РЕТТА) (Aldrich), диметилолпропан тетраакрилат (DiMPTA) (CDH) и дипетаэритритол пента/гекса акрилат (DiPETPA) (CDH) использовали без дополнительной очистки.
Спектры излучения галоген-вольфрамовой лампы накаливания КГМ-24-150 и светодиода (LED) с λ = 395 нм были получены с использованием спектрофотометра Ocean Optics USB2000.
Эксперимент по фотолизу соединения 1 в растворе ДМСО с концентрацией 3 × 10-5 моль/л проводили в кварцевой кювете толщиной 1 см2. Раствор облучали светодиодным источником света (λ = 395 нм, интенсивность света 20 мВт/см2) в воздушной атмосфере при комнатной температуре. Спектры записывали через разные промежутки времени. Электронные спектры поглощения регистрировали на спектрометре Perkin Elmer Lambda 25. Спектры эмиссии получены на флуоресцентном спектрометре Perkin Elmer LS 55.
Кинетику фотополимеризации исследовали на ИК Фурье-спектрометре ФТ-801 (ООО НПР “Симекс”, Новосибирск, Россия). ИК-Фурье-спектры измерялись в диапазоне от 4000 до 500 см-1 при разрешении 4 см-1. Облучение композиции проводили светодиодной системой при экспозиции 385, 405 нм (максимальная мощность облучения 48 мВт/см2) на воздухе при комнатной температуре. Конверсию мономеров (Р) в фотополимеризующейся композиции определяли по уменьшению интенсивности полос, отвечающих С=С двойным связям мономера (v = 1636 см-1 для метакрилата и 806 см-1 для акрилатов). Внутренним стандартом для метакрилата служила полоса CH3 группы (v = 1453 см-1) и C=О-группы (1720 см–1) для акрилатов. Максимальную скорость фотополимеризации (Wmax) определяли с использованием тангенса наибольшего угла наклона кинетической кривой. Приведенные значения были определены по результатам как минимум трех экспериментов с воспроизводимостью результатов в пределах 5%. Интенсивность инициирующего излучения контролировали с помощью комбинированного люксметра + УФ-радиометра ТКА-ПКМ 06 (ООО “НТП ТКА”, Санкт-Петербург, Россия).
ОБСУЖДЕНИЕ РЕЗУЛЬТАТОВ
Ранее нами впервые было обнаружено, что соединение 1 может быть использовано в качестве двухфотонного фотоинициатора и способно инициировать фотополимеризацию РЕТА светом галоген-вольфрамовой лампы накаливания КГМ-24-150 в вакууме [6]. Однако не всегда вещества, успешные в технологии DLW, являются высокоэффективными инициаторами в обычной фотополимеризации, особенно в аэробных условиях, поэтому поиск и разработка универсального инициатора представляют особый интерес.
При облучении КГМ-24-150 на воздухе Wmax фотополимеризации РЕТА составила 0.01 с-1, а Р – 0.5% за 10 мин, против 0.19 с-1 и 8% в вакууме, т.е. фотополимеризация фактически полностью ингибировалась кислородом воздуха.
Для преодоления негативного влияния кислорода и более эффективного фотоинициирования важен выбор оптимального источника света. Из представленных на рис. 1 спектров испускания LED (λ = 395 нм) и галоген-вольфрамовой лампы накаливания КГМ-24-150 в сравнении со спектром поглощения соединения 1 видно, что LED обладает значительно большей интенсивностью в области поглощения соединения 1, чем КГМ-24-150, максимум излучения которой достигается при длине волны 550 нм. За счет узкой полосы излучения и более высокой энергоэффективности по сравнению с галогеновой лампой LED (λ = 395 нм) является более подходящим источником света для инициирования фотореакций с помощью соединения 1.
Рис. 1. Спектры испускания LED (λ = 395 нм) (1) и лампы КГМ-24-150 (2). Пунктиром показан спектр поглощения соединения 1 в растворе ДМСО.
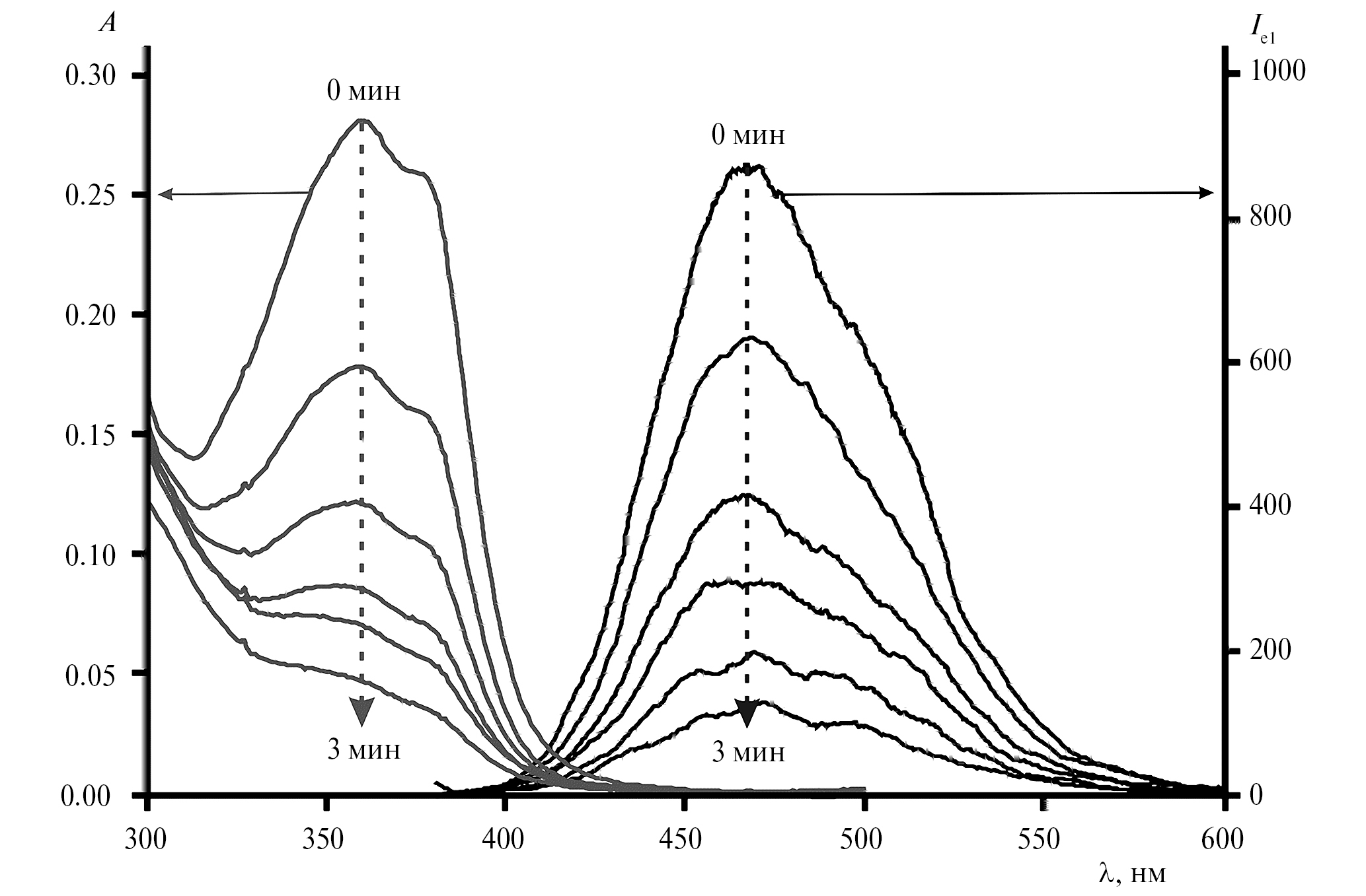
Спектроскопическое поведение и влияние растворителя на структуру соединения 1 было изучено достаточно подробно [8, 9], однако исследований относительно светочувствительности соединения не проводилось. Поэтому был исследован фотолиз соединения 1 в растворе ДМСО при облучении светодиодом (λ = 395 нм) в присутствии воздуха. При облучении раствора 1 в ДМСО в спектре поглощения происходит фотодеградация широкой длинноволновой полосы с максимумом при 365 нм, связанной с π-π*-переходом, совмещенным с процессом внутримолекулярного переноса заряда [10], а в спектре эмиссии наблюдается тушение фотолюминесценции (рис. 2). Следует отметить, что при проведении аналогичного эксперимента при облучении галоген-вольфрамовой лампой накаливания КГМ-24-150 заметных изменений в электронных спектрах поглощения и эмиссии не происходит.
Рис. 2. Изменения электронных спектров поглощения и эмиссии соединения 1 в растворе ДМСО при облучении LED (λ = 395 нм) на воздухе.
Продукты фотолиза точно идентифицировать не удалось, однако при облучении раствора соединения 1 в протонном спектре ЯМР в ДМСО-d6 обнаружено снижение интенсивности сигнала альдегидной группы.
Соединение 1 было протестировано в качестве LED-фотоинициатора в полимеризации многофункциональных (мет)акрилатов различного строения, структуры которых представлены на схеме 1.
Схема 1.
Исследования по инициированию фотополимеризации были проведены при мощности LED 4.8 и 33.6 мВт/см2. Графики зависимости конверсии от времени и кинетические данные фотополимеризации (мет)акрилатных мономеров показаны на рис. 3 и суммированы в табл. 1.
Таблица 1. Кинетические параметры фотополимеризации (мет)акриловых мономеров различного строения в присутствии 1. λ = 385 и 405 нм, [1] = 4 мМ, воздух
Мономер | Вязкость*, мПа · с | Ф** | Мощность LED | |||
4.8 мВт/см2 | 33.6 мВт/см2 | |||||
Wmax×103, c-1 | P, % | Wmax×103, c-1 | P, % | |||
TMPTMA | 44 (25 °С) | 3 | 1.9 | 23 | 3.5 | 27 |
PETA | 830 (25 °С) | 3 | 9.4 | 35 | 13.1 | 46 |
TMPTA | 110 (25 °С) | 3 | 10.9 | 50 | 13.5 | 59 |
TMPTA ЕТ | 64 (25 °С) | 3 | 3.5 | 64 | 7.2 | 94 |
GPTA | 85 (25 °С) | 3 | 13.4 | 73 | 20.1 | 82 |
PETTA | 290 (38 °С) | 4 | 8.1 | 31 | 11.2 | 36 |
DiMPTA | 600 (25 °С) | 4 | 8.4 | 38 | 10.8 | 46 |
DiPETPA | 10 630 (25 °С) | 5/6 | 4.5 | 22 | 7.2 | 25 |
* Данные из [11−14].
**Ф = число (мет)акрилатных групп в мономере.
Рис. 3. Кинетические кривые фотополимеризации (мет)акрилатов: 1 – ТМРТМА, 2 – РЕТА, 3 – ТМРТА, 4 – ТМРТА ЕТ, 5 – GPTA, 6 – РЕТТА, 7 – DiMPTA, 8 – DiPEPTA. λ = 385 и 405 нм, мощность облучения 4.8 (а) и 33.6 (б) мВт/см2, [1] = 4 мМ, воздух.
Результаты показывают, что соединение 1 инициирует фотополимеризацию всех используемых в работе мономеров. Увеличение интенсивности облучения повышает концентрацию радикалов, что приводит к более эффективному преодолению ингибирования кислородом, и выражается в увеличении Wmax, Р и сокращении периодов индукции. При минимальной интенсивности светодионого источника (мощность LED 4.8 мВт/см2) наибольший период индукции ~20 с наблюдается при фотополимеризации метакрилатного мономера – ТМРТМА, а для акрилатных мономеров составляет менее 5 с, в то время как при облучении LED с мощностью 33.6 мВт/см2 фотополимеризационные процессы протекают без ярко выраженных индукционных периодов.
Также можно выявить тесную связь между Wmax и P и химическим строением мономеров. ТМРТМА демонстрирует самую низкую скорость фотополимеризации – 1.9 × 10-3 (4.8 мВт/см2) и 3.5 × 10-3 с-1 (33.6 мВт/см2). Фотополимеризация его акрилатного аналога (ТМРТА) происходит значительно быстрее – 10.9 × 10-3 и 13.5 × 10-3 с-1 при 4.8 и 33.6 мВт/см2 соответственно, с индукционным периодом при малой интенсивности света менее 5 с. Р ТМРТА в присутствии соединения 1 также была вдвое выше, чем у ТМРТМА, а величины Р сравнимы с конверсиями, полученными с использованием 2,2-диметокси-2-фенилацетофенона (19% для ТМРТМА и 24% ТМРТА) [15]. Различная скорость полимеризации метакрилатного и акрилатного мономеров вызвана стабилизирующим действием метильной группы при С=С связи ТМРТМА на радикал роста.
Наибольшую скорость фотополимеризации среди триакрилатов c использованием соединения 1 в качестве фотоинициатора продемонстрировал GPTA (13.4 × 10-3 при 4.8 и 20.1 × 10-3 с-1 при 33.6 мВт/см2). Конверсия GPTA также была одной из максимальных. Однако из табл. 1 видно, что фотополимеризация многих полифункциональных акрилатов далеко не завершена. Максимальные конверсии, значительно превышающие P мономеров с менее длинным спейсером у узла ветвления и более функциональных акрилатов (Ф > 3), демонстрируют мономеры с длинной гликольной цепочкой – GPTA и TMPTA ET. Наличие более длинного и гибкого спейсера между акрилатной группой и узлом разветвления приводит к меньшему количеству сшивок, что улучшает сегментарную диффузию подвесных боковых цепей и повышает кинетические параметры фотополимеризации. Аналогичное увеличение конверсии с 45% у TMPTA до 90% в случае TMPTA ET отмечалось в работе при фотополимеризации с использованием коммерчески доступных фотоинициаторов [16].
Однако помимо интенсивности света и химического строения мономеров, одним из решающих факторов для кинетики фотополимеризации является вязкость многофункциональных мономеров. Тетра и пента/гексаакрилаты полимеризуются с меньшими скоростями и показывают меньшие конверсии, по сравнению с триакрилатами. В композициях, основанных на мономерах PETTA, DiMPTA, DiPETPA, высокая вязкость негативно сказывается на сегментарных движениях радикалов даже на ранних стадиях полимеризации. Кроме того, по мере протекания фотополимеризации для мономеров с повышенной функциональностью подвижность среды становится еще более ограниченной из-за образования более сшитой сетки, что приводит к пониженным Р. Высокая плотность сшивок снижает степень конверсии двойной связи, вызывая более высокое содержание неотвержденных остаточных ненасыщенных групп для мономеров с жесткими спейсерами [17].
Показательно влияние вязкости также в случае фотополимеризации РЕТА и TMPTA ET. РЕТА, содержащий функциональную ОН-группу, обладает высокой вязкостью из-за водородной связи между молекулами, что приводит к меньшим среди всех акрилатов значениям Р. TMPTA ET обладает более длинным спейсером между акрилатной группой и узлом ветвления, чем TMPTA, т.е. стерический фактор должен вносить меньшее ограничение в подвижность радикала роста и кинетические характеристики стоило ожидать выше, чем у ТМРТА. Однако при высокой P TMPTA ET полимеризуется со скоростью в 2−3 раза ниже, чем Wmax TMPTA. Вязкость TMPTA ET почти вдвое меньше, чем у ТМРТА, что облегчает диффузию в фотокомпозицию кислорода, оказывающего ингибирующее действие и замедляющего ход фотополимеризации.
Таким образом, впервые установлено, что соединение 1 является эффективным инициатором в LED-фотополимеризации многофункциональных (мет)акрилатов в присутствии воздуха. Кинетические параметры фотополимеризации многофункциональных (мет)акрилатов определяются интенсивностью света, химической структурой и вязкостью мономеров.
БЛАГОДАРНОСТИ
Авторы выражают признательность кандидату химических наук Э.Р. Жиганьшиной за оказанную помощь при проведении экспериментов на ИК Фурье-спектрометре ФТ-801.
Работа выполнена с использованием оборудования центра коллективного пользования “Аналитический центр ИМХ РАН”.
ИСТОЧНИК ФИНАНСИРОВАНИЯ
Работа выполнена при финансовой поддержки Российского научного фонда (проект № 19-73-10173-П).
About the authors
Y. E. Begantsova
Razuvaev Institute of Organometallic Chemistry
Author for correspondence.
Email: begantsova@mail.ru
Russian Federation, Nizhny Novgorod
A. N. Konev
Razuvaev Institute of Organometallic Chemistry
Email: begantsova@mail.ru
Russian Federation, Nizhny Novgorod
References
- Rajabasadi F., Schwarz L., Medina-Sanchez´ M., Schmidt O.G. // Progr. Mater. Sci. 2021. V. 120. P. 100808.
- Selimis A., Mironov V., Farsari M. // Microelectron. Eng. 2015. V. 132. P. 83.
- Gao H., An J., Chua C.K., Bourell D., Kuo C.-N., Tan D.T.H. // Mater. Tod. 2023. V.69. P. 107.
- Ali M.A., Rajabi M., Sali S.S. // Curr. Opin. Chem. Eng. 2020. V. 28. P. 127.
- Three-Dimensional Microfabrication Using Two-Photon Polymerization: Fundamentals, Technology, and Applications (Micro and Nano Technologies) / Ed. Baldacchini T.: Elsevier Science, 2016. 766 p.
- Begantsova Y.E., Zvagelsky R., Baranov E.V., Chubich D.A., Chechet Y.V., Kolymagin D.A. et al. // Eur. Polym. J. 2021. V. 145. P. 110209.
- Chao H., Li R.-H., Jiang C.-W., Li H., Ji L.-N., Li X.-Y. // J. Chem. Soc., Dalton Trans. 2001. P. 1920.
- Begantsova Y.E., Baranov E.V., Chesnokov S.A. // Spectrochim. Acta. A. 2022. V. 280. P. 121480.
- Seth S.K., Mandal S., Purkayastha P., Gupta P. // Polyhedron. 2015. V. 95. P. 14.
- Das P., Mandal A.K., Chandar N.B., Baidya M., Bhatt H.B., Ganguly B. et al. // Chem. Eur. J. 2012. V. 18. P. 15382.
- Yeon K.-S., Cha J.-Y., Yeon J.H., Seung I.B.. // J. Appl. Polym. V. 131. P. 40939.
- Marasinghe L., Croutxé-Barghorn C., Allonas X., Criqui A. // Progr. Organ. Coat. 2018. V. 118. P. 22.
- Samyn P., Bosmans J., Cosemans P. // Mater. Tod. Commun. 2022. V. 32. P. 104002.
- Jian Y., He Y., Jiang T., Li C., Yang W., Nie J. // J. Polym. Sci. B. 2012. V. 50. P. 923.
- Anseth K.S., Wang C.M., Bowman C.N.. // Polymer. 1994. V. 35. P. 3243.
- Jian Y., He Y., Zhao L., Kowalczyk A., Yang W., Nie J. // Adv. Polym. Technol. 2013. V. 32. P. 21331.
- Andrzejewska E. // Prog. Polym. Sci. 2001. V. 26. P. 605.
Supplementary files






