Structure formation of non-ionogenic block copolymer pluronic P123 under varying temperatures
- Authors: Zavalyueva A.S.1, Karpov S.I.1, Dubovitskaya A.N.1, Holyavka M.G.1, Selemenev V.F.1
-
Affiliations:
- Воронежский государственный университет
- Issue: Vol 86, No 4 (2024)
- Pages: 446-457
- Section: Articles
- Submitted: 21.11.2024
- Accepted: 21.11.2024
- Published: 15.07.2024
- URL: https://medbiosci.ru/0023-2912/article/view/270840
- DOI: https://doi.org/10.31857/S0023291224040042
- EDN: https://elibrary.ru/capcyh
- ID: 270840
Cite item
Full Text
Abstract
The dynamic light scattering method was used to investigate the aqueous solutions of Pluronic P123 under different temperature, solvent, and quercetin additives. Significant changes in the average particle size and polydispersity index were revealed depending on the conditions. The effect of temperature on micelle formation of block copolymer in aqueous solution in the range T=15–45°C, the most commonly considered in the use of P123 in sol-gel synthesis of silica, was studied. The formation of micelles of the studied surfactant was greatly influenced by temperature, especially at T=15–20°C. In this temperature range, the size distribution of the scattering intensity has a polymodal character, which indicates the presence of macromolecules, micelles and their aggregates in the system. Further increase in temperature up to 45°C does not result in a significant change in particle size. In aqueous solutions, micelles with a narrow size distribution (minimum polydispersity index) are formed in the temperature ranges 21–25 and 35–40°C. Significant influence of alkanols and polyphenolic substances additives as solubilizers and able to influence the structure of micelles both in their volume and on the surface of polar parts of surfactants was noted. It is shown that in the presence of butanol-1 the stabilization of micelles at temperatures 15–20°C is observed. At T>30°C rearrangements of the mesophase structure occur. As the proportion of butanol-1 in the solution increases, its influence is manifested at lower temperatures. It was noted that ethanol has a destructive effect on micelles. Quercetin additives exhibit the opposite micelle stabilizing effect, leading to the formation of a homogeneous surfactant structure. It is shown that by varying the solvent composition, it is possible to control the binding of flavonoid to micelle by changing the solvation. The greatest influence of quercetin on the structure formation of P123 was observed at the solvent composition corresponding to the molar ratio of ethanol and block copolymer n(EtOH):n(P123)=80:1.
Full Text
ВВЕДЕНИЕ
Поверхностно-активные вещества (ПАВ) широко используются в создании систем доставки лекарств [1–4] и в синтезе упорядоченных кремнеземов [5–9]. Среди неионогенных ПАВ выделяют блоксополимеры (полиэтиленоксид-полипропиленоксид-полиэтиленоксид), например, Pluronic P123 [10]. Их особенностью является возможность формировать стабильные гексагональные, кубические и ламеллярные мезофазы. Одним из направлений использования таких ПАВ является темплатный синтез кремнеземов различной степени упорядоченности, в котором структура твердофазного материала может варьироваться в зависимости от типа перечисленных выше мезофаз [11–16]. Изучение структурообразования шаблонов позволяет управлять функциональными свойствами растворов блоксополимеров (снижать расход реактивов, время процесса и др.), в том числе в темплатном синтезе новых материалов. Однако перед выбором условий синтеза новых кремнеземов необходимо проверить применимость такого подхода.
Способность к мицеллообразованию определяется свойствами самого ПАВ (количество звеньев в цепи, соотношение длины и последовательность блоков) [10] и такими факторами, как температура, природа и состав растворителя, присутствие других веществ [17]. Влияние температуры при изучении структурообразования неионогоненных ПАВ является одним из наиболее существенных [10, 18, 19]. Очевидно, при варьировании температуры можно ожидать изменения взаимодействий ПАВ–растворитель, ПАВ–добавка–растворитель [20], что требует детального рассмотрения. Одним из методов, который дает информацию о размере надмолекулярных образований, в том числе в условиях формирования наночастиц ПАВ, является динамическое рассеяние света [21–23].
Надмолекулярная структура ПАВ, способность формировать различные мезофазы могут изменяться в присутствии добавок компонентов раствора [1, 3, 24, 25]. Вещества, обладающие значительной гидрофобностью, способны к солюбилизации с встраиванием в различные участки мицелл [19, 26]. В литературе рассмотрено взаимодействие блоксополимеров Pluronic с различными органическими добавками [4, 26, 27]. Одной из таких групп веществ являются полифенольные вещества [28]. Их способность к взаимодействию с блоксополимерами приводит к изменению сольватации молекул [2, 25, 29, 30]. Присутствие добавок полифенолов также может влиять на структуру формирующихся мицелл в растворах ПАВ [24]. Это направление исследований недостаточно полно обсуждается в работах по синтезу кремнеземов [31, 32]. Авторами [30] показано, что солюбилизация кверцетина мицеллами Pluronic P123 определяется преимущественно взаимодействиями с блоком полипропиленоксида. Представляет интерес исследование системы в условиях ниже критической температуры мицеллообразования. Стоит отметить, что в системах доставки лекарств [17] и при синтезе упорядоченных мезопористых кремнеземов с использованием блоксополимеров [12] в растворах присутствует этанол. В связи с этим важно рассмотрение взаимодействий блоксополимера с кверцетином в водно-этанольных растворах.
Целью данной работы является изучение структурообразования блоксополимера Pluronic P123, используемого в темплатном синтезе упорядоченных кремнеземов. Среди задач работы, решаемых методом динамического рассеяния света, можно выделить следующие:
- рассмотрение закономерностей изменения размера мицелл блоксополимера Pluronic P123 и их дисперсности при варьировании температуры;
- изучение влияния состава раствора на структуру неионогенного блоксополимера Pluronic Р123:
- роль добавок спиртов (этанола и бутанола-1);
- роль добавок полифенольных веществ (на примере кверцетина).
ЭКСПЕРИМЕНТАЛЬНАЯ ЧАСТЬ
Объекты исследования и приготовление растворов
В качестве объекта исследования выбран триблоксополимер полиэтиленоксид-полипропиленоксид-полиэтиленоксида (EO)20(PO)70(EO)20 Pluronic P123 (Sigma-Aldrich). Исследование структурообразования неионогенного ПАВ проводили при его концентрации 2.6 мас. % в 1.6 М растворах соляной кислоты.
При изучении влияния добавок веществ, обладающих способностью растворять блоксополимер Р123, вносили заданные объемы этанола, бутанола-1 и/или этанольного раствора кверцетина (ООО “Катроса”, Россия), получая растворы с мольным соотношением компонентов, приведенные в табл. 1.
Таблица 1. Соотношение компонентов в исследуемых растворах
Вещество | Соотношение n(добавка):n(P123)=x:1 |
Бутанол-1 (BuOH) | 40, 60, 80, 160 |
Этанол (EtOH) | 80, 160, 250, 370 |
Кверцетин (Quer) | 0.024, 0.072, 0.144 |
Динамическое рассеяние света
Размеры частиц в растворах Pluronic P123 определяли на анализаторе Nano Zetasizer ZS instrument (Malvern Instruments, Великобритания) в интервале температур 15–45°С. В качестве источника излучения выступал He/Ne лазер мощностью 4 мВт и длиной волны 633 нм. Угол рассеяния составлял 173°. Перед измерениями пропускали анализируемые растворы через мембранный фильтр Spritzen-/Syringe-Filter 0.45 мкм для удаления пыли и других посторонних частиц.
Распределения частиц по размерам в единицах интенсивности получены из анализа автокорреляционных функций с использованием алгоритма General purpose программного обеспечения анализатора. Распределение по размерам в единицах объема и числа частиц проводилось согласно теории Ми. Средний размер частиц в системе определяли методом кумулянтов. Гидродинамический диаметр частиц рассчитывали по уравнению Стокса–Эйнштейна:
где - гидродинамический диаметр частиц, нм; – постоянная Больцмана, 1.38∙10–23 Дж/К; T – температура, К; η – вязкость растворителя, Па∙с; – коэффициент диффузии, м2/с.
Индекс полидисперсности PDI рассчитывали по формуле:
где σ – стандартное отклонение гидродинамического диаметра, нм.
РЕЗУЛЬТАТЫ И ОБСУЖДЕНИЕ
Влияние температуры
Известно [10], что ПАВ способны образовывать в водных растворах мицеллы различных типов в зависимости от концентрации, температуры и других условий. Температурная зависимость размера мицелл и дисперсности в интервале 25–45°C обсуждалась в предыдущей работе [12]. Указанный диапазон температур обеспечивает формирование упорядоченных гексагональных мицеллярных структур, необходимых при использовании ПАВ в качестве шаблона для синтеза упорядоченных кремнеземов типа SBA-15 [12]. В то же время важно рассмотрение более широкого интервала температур для выявления особенностей образования и трансформации структур мицелл неионогенного поверхностно-активного вещества в растворах. В настоящей работе изучаемый температурный интервал расширен, начиная с 15°C.
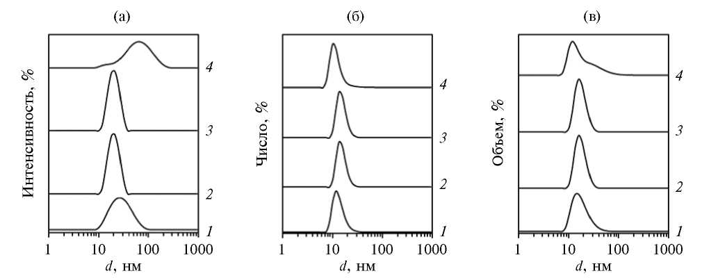
Полученная зависимость среднего гидродинамического диаметра частиц в растворе P123 от температуры имеет немонотонный характер (рис. 1). Наибольшие изменения отмечены при температурах 15–20°C. В этих условиях распределение интенсивностей по размерам полимодально, что указывает на присутствие в системе макромолекул (в том числе моно- и диблоков, присутствующих в Pluronic в виде примесей [33]) и их агрегатов при температурах ниже 21°C (рис. 1, табл. 2). Величины dh частиц в водном растворе ПАВ при дальнейшем повышении температуры до 45°C указывают на формирование мицелл [34]. Наибольший вклад в интенсивность рассеянного света вносят частицы большего размера [35], поэтому для анализа полидисперсных систем необходимо построение кривых распределения по размерам, по объему и по числу частиц. Как видно на рис. 1, при T = 15°C (кривая 1), в координатах число (объем) – гидродинамический диаметр, остается единственный пик с dh < 10 нм. Это согласуется с работой [10], в которой показано, что при T < 20°C в водных растворах Pluronic P123 мицеллы не образуются. На кривых 2 и 3 (T = 17 и 20°C) в случае распределения по объему и числу остается значительный вклад частиц с размером, превышающим 10 нм. Вероятно, в этих условиях преобладают недиффузионные процессы, что является ограничением для получения достоверных данных методом динамического рассеяния света и требует привлечения других методов [35]. Для блоксополимеров причинами появления дополнительных пиков на кривых распределения могут быть композиционная неоднородность [36] и межцепная динамика [37].
Рис. 1. Распределение по размерам в растворе P123 при варьировании температуры (1 – 15°C, 2 – 17°C, 3 – 20°C, 4 – 21°C, 5 – 25°C, 6 – 30°C, 7 – 35°C, 8 – 40°C, 9 – 45°C): а) по интенсивности рассеяния; б) по числу частиц; в) по объему.
Таблица 2. Средний гидродинамический диаметр dh, ср и индекс полидисперсности (PDI) частиц в водных растворах Pluronic P123 при варьировании температуры
T, °C | dh, ср, нм | PDI |
15 | 94±6 | 0.52±0.01 |
20 | 24.5±0.2 | 0.23±0.01 |
25 | 21.0±0.2 | 0.09±0.01 |
30 | 25.2±1.2 | 0.19±0.01 |
35 | 20.5±0.2 | 0.05±0.01 |
40 | 20.6±0.2 | 0.03±0.01 |
45 | 30.2±0.2 | 0.18±0.01 |
Влияние добавок бутанола-1
Способность к мицеллообразованию ПАВ может изменяться в присутствии различных веществ в растворе. Влияние добавок определяется их концентрацией, природой, в особенности поверхностной активностью и гидрофобностью. Например, в зависимости от длины и разветвленности углеводородной цепи спиртов изменяется их роль в структурообразовании [17, 38]. С одной стороны, они способны к сольватации (в качестве сорастворителя), с другой – к встраиванию в мицеллы с изменением их морфологии [39]. В смешанных растворителях действие короткоцепочечных спиртов проявляется в повышении критической концентрации мицеллообразования (ККМ) и критической температуры мицеллообразования (КТМ) [40]. Это обусловлено тем, что метанол и этанол являются хорошими растворителями как для блоков полиэтиленоксида, так и полиэтиленоксида. Пропанол-1 не оказывает значительного влияния. Начиная с бутанола-1, ККМ и КТМ, напротив, снижаются.
Растворы рассматриваемых ПАВ характеризуются последовательной сменой типа мезофаз с ростом концентрации. На фазовой диаграмме Pluronic P123, предложенной Wanka с соавт. [10], присутствуют области существования кубической (20–40 мас. %) и гексагональной (выше 40 мас. %) фаз. Для снижения концентрационного диапазона существования упорядоченных мезофаз в раствор могут быть введены различные добавки (изменяющие сольватацию ПАВ, межмолекулярные взаимодействия, структурообразование): соли, спирты и др. [17]. Влияние спиртов на мицеллообразование блоксополимеров широко изучено в литературе. Отмечается [1], что высшие спирты, начиная с бутанола-1, сорбируются на поверхности мицелл, увеличивая их размер. Авторами [27] на примере другого блоксополимера Pluronic F127 (с близкими к Рluronic P123 свойствами) показано, что упорядоченная кубическая мезофаза формируется уже при 15 мас. % блоксополимера. Бутанол-1 снижает концентрацию существования кубических наноструктур до 9 мас. %, а температуру до комнатной. Предполагается, что бутанол-1 вытесняет воду из ядра мицелл, вызывая их переход от сфер к стержням [25].
Для рассмотрения структурообразования неионогенного ПАВ методом динамического рассеяния света в настоящей работе определены размеры и дисперсность мицелл Pluronic P123 в присутствии бутанола-1. Основанием для выбора соотношения компонентов раствора (ПАВ–вода–бутанол-1) можно считать составы растворов Pluronic P123 в условиях темплатного синтеза кремнеземов. Авторами [6] отмечено, что при варьировании соотношения n(BuOH) : n(P123) образуются материалы с гексагональной (типа SBA-15), кубической (типа KIT-6) или неупорядоченной структурами.
На рис. 2 приведены зависимости среднего гидродинамического диаметра dh от температуры растворов Pluronic P123 в воде и с добавками бутанола-1. Присутствие указанного алканола стабилизирует мицеллы при температурах ниже 20°С. При соотношении n(BuOH) : n(P123) = 40 : 1 стабилизация наблюдается и выше Т = 40°С. Начиная с Т = 35°C, наблюдается рост dh для составов n(BuOH) : n(P123) = 80 : 1 и 60 : 1. Как отмечено в работе [25], увеличение размера частиц может указывать на перестройку структуры мицелл из сферической формы в стержнеобразную (цилиндрическую) или характеризовать их агрегацию. Поскольку известно, что при синтезе мезопористых кремнеземов в этих условиях формируются материалы с кубической симметрией [6], можно связать рост размера частиц с трансформациями структуры. При соотношении n(BuOH) : n(P123) = = 160 : 1 (рис. 2) перегиб на кривой смещается в сторону низких температур, что может указывать на агрегацию или перестройку структур другого типа. Выявленные закономерности согласуются с литературными данными по синтезу упорядоченных кремнеземов, аналогов SBA-15 и KIT-6. Ryoo с соавт. [6] отмечено, что при соотношениях бутанола-1 и сополимера меньше 60 : 1 образуются кремнеземы с двумерной гексагональной структурой, как и в отсутствие бутанола-1. В этом случае не отмечено изменение размера частиц с ростом температуры (рис. 2, кривая 2). Соотношения, превышающие 130 : 1, препятствуют формированию упорядоченных кремнеземов. На кривой зависимости dh от T, соответствующей составу n(BuOH) : n(P123)=160 : 1, отмечено резкое возрастание размера частиц, которое можно связать с агрегацией частиц и разупорядочиванием наночастиц P123. Важно учитывать, что средний гидродинамический диаметр, полученный кумулятивным методом, близок к взвешенной по интенсивности величине размера частиц только для мономодальных распределений, поэтому позволяет оценить только первичные качественные изменения в системе [35].
Рис. 2. Зависимость среднего гидродинамического диаметра от температуры при варьировании соотношения n(BuOH) : n(P123) : 1 – 0; 2 – 40 : 1; 3 – 60 : 1; 4 – 80 : 1; 5 – 160 : 1.
Наиболее заметное влияние бутанола-1 на размер и дисперсность мицелл P123 наблюдается при 30 и 40–45 °C (рис. 3). При T = 30°C распределение характеризуется меньшей дисперсией (PDI = 0.03) и средним размером dh = 20 нм (кривая 3). Аналогичный вид зависимости получен при 40°C без добавок алканола (кривая 2). Средний размер составляет dh = 21 нм, а индекс полидисперсности PDI = 0.03. В связи с этим предполагается формирование упорядоченных систем неионогенного P123 при температурах, близких к комнатной (Т = 25–30°С). Начиная с 35°C при соотношении n(BuOH) : n(P123) = 80 : 1 рост размера частиц сопровождается появлением выраженной асимметричности пиков на кривых распределения частиц по размеру (кривая 4). Аналогичное бимодальное распределение интенсивности и увеличение размера мицелл Pluronic F127 в присутствии бутанола-1 при 40°C отмечены в работе [25]. Необходимо принимать во внимание, что в системах с несферическими частицами на корреляционной кривой возникает быстрое и медленное затухание, которые преобразуются в отдельные пики на кривой распределения [35].
Рис. 3. Распределение по размерам частиц Pluronic P123: 1, 2 – в водном растворе, 3, 4 – в присутствии бутанола-1 (n(BuOH) : n(P123)=80 : 1): а) по интенсивности рассеяния; б) по числу частиц; в) по объему. T = 30°C (1, 3) и 40°C (2, 4).
В целом по мере увеличения доли бутанола-1 в растворе его влияние в большей степени проявляется при температурах ниже 30°C. Это согласуется с температурными закономерностями гидратации мицелл блоксополимера. При T > 30°C происходит заметная дегидратация мицелл [12], сопровождающаяся уменьшением их размера. В присутствии бутанола-1, обладающего одновременно свойствами растворителя и поверхностно-активного вещества, дегидратация может сопровождаться замещением молекул воды на алканол. В свою очередь, изменение структуры сольватной оболочки будет вызывать изменения морфологии наночастиц.
Таким образом, выявленные закономерности структурообразования блоксополимера Pluronic P123 в водном растворе при варьировании температуры указывают на важность учета особенностей формирования и трансформации мицелл в присутствии бутанола-1, в том числе в условиях синтеза кремнезема и получения материалов с воспроизводимыми свойствами.
Влияние этанола
Короткоцепочечные спирты, являясь хорошим растворителем как для блоков полиэтиленоксида, так и для полиэтиленоксида [41] за счет их сольватации, повышают критическую концентрацию мицеллообразования блоксополимеров. На рис. 4 приведены кривые распределения частиц Pluronic P123 по размерам. Наблюдается два пика в диапазоне 3–10 нм и 10–200 нм соответственно (рис. 4а). Пик 1 можно интерпретировать как наличие в растворе отдельных макромолекул, а пик 2 – их агрегатов. Значительная интенсивность пика 1 указывает на повышение доли индивидуальных молекул блоксополимера в растворе при 20°C. Стоит отметить, что при более высоких температурах (Т > 25°C) распределение становится мономодальным. На рис. 4г–е приведены зависимости, полученные при 40°C. Можно отметить с ростом температуры смещение распределения частиц в сторону больших размеров dh относительно соответствующего распределения для водного раствора. В случае n(EtOH) : n(P123) = 80 : 1 отмеченный эффект сопровождается уширением пика. Бимодальное распределение в присутствии этанола при низких температурах и аналогичная характеристика кривых распределения частиц по размерам ранее отмечались также авторами [42] для водных растворов Pluronic F127.
Рис. 4. Распределение по размерам частиц Pluronic P123 при варьировании состава водно-этанольного растворителя: 1 – без добавок этанола; 2 – n(EtOH) : n(P123) = 80 : 1; 3 – n(EtOH) : n(P123) = 160 : 1; 4 – n(EtOH) : n(P123) = 370 : 1; а, г) по интенсивности рассеяния; б, д) по числу частиц; в, е) по объему. T = 20°C (а–в) и 40°C (г–е).
Можно полагать, что эффект влияния спиртов на структуру блоксополимеров определяется длиной углеводородного радикала алканола, а интервал температур для трансформации морфологии мицелл в значительной мере зависит от размера гидрофобной и гидрофильной частей ПАВ (в том числе с учетом сольватации).
Влияние кверцетина
Участвовать в перестройках структуры мицелл способны не только компоненты растворителя, обладающие поверхностной активностью, но и вещества, встраивающиеся в структуру мицелл за счет гидрофобных и других типов взаимодействий [24]. Изучение структурообразования Pluronic P123 в растворах в присутствии добавок проводили на примере полифенольного вещества кверцетина.
Поскольку, как отмечено выше, наиболее однородная мицеллярная структура Pluronic P123 формируется при 40°C, влияние кверцетина рассматривали сначала при этой температуре. В водной среде средний диаметр мицелл неионогенного ПАВ составляет 20 нм и сохраняется при солюбилизации кверцетина при соотношении n(Quer) : n(P123) = 0.24 : 1. В ряде работ [3, 4, 24] показано, что включение гидрофобных молекул в ядро мицелл приводит к увеличению размера частиц. Однако Thapa с соавт. [42] отмечают, что не было значимых различий в размерах частиц Pluronic F127 в присутствии куркумина и без него. Аналогичный результат получен Волковой с соавт. [41] для системы Pluronic F127- умифеновир.
В литературе [19, 26] отмечено, что малорастворимые биологически активные молекулы в зависимости от полярности и размера могут включаться в различные участки мицелл. Как показано в [19], кверцетин локализуется в ядре мицелл Pluronic P104. Вероятно, такое расположение будет характерно и в случае Pluronic P123. Авторами [43] отмечено, что распределение добавок между фазами раствора и мицеллярных образований, локализация в мицеллах могут отличаться в водных и водно-органических растворителях. Например, при переходе от водного к водно-этанольному растворителю снижается прочность связывания рутина, относящегося к группе флавоноидов, с мицеллами неионогенного ПАВ Triton X-114 [29]. Можно полагать, что добавка этанола позволит изменить распределение молекул кверцетина между мицеллами и растворителем, что может быть использовано для получения сорбентов с высокой селективностью.
Влияние этанола и кверцетина на структурообразование триблоксополимера изучено при варьировании температуры и мольных соотношений n(P123) : n(EtOH) : n(Quer) = 1 : x : y, где x = 0, 80, 160, 250, 370, y = 0, 0.24, 0.72, 0.144. Наибольший интерес представляют температуры 20 и 40°C. В первом случае наблюдается наиболее заметное влияние добавок на структурообразование блоксополимера. Повышение температуры до 40°С способствует формированию наночастиц с минимальной дисперсностью.
Как уже отмечалось выше, добавка этанола приводит к частичному разрушению мицелл. Однако в присутствии гидрофобных биологически активных веществ их солюбилизация в смешанном растворителе может повышаться, поскольку сольватация всех блоков сополимера приводит к возрастанию межфазной площади поверхности [41]. При 20°C можно проследить, что флавоноид снижает критическую температуру мицеллообразования триблоксополимера в водно-этанольной среде. На рис. 5 приведены кривые распределения интенсивности по размерам в присутствии флавоноида. По мере возрастания концентрации кверцетина в водно-этанольном растворе ПАВ снижается площадь пика, соответствующего свободным макромолекулам (с размером менее 10 нм). Очевидно, что содержание спирта и полифенола являются двумя факторами, оказывающими влияние на структуру и полимодальность мицелл ПАВ. Эффект этих добавок является разнонаправленным: этанол приводит к частичному разрушению мицелл, в то время как кверцетин проявляет структурирующее действие по отношению к блоксополимеру. Способность гидрофобных веществ к снижению температуры и концентрации мицеллообразования неионогенных ПАВ отмечалась в [29, 42]. Авторы [44] объясняют это образованием комплексов флавоноида со свободными молекулами ПАВ, которые впоследствии организуются в мицеллы. В работе [42] отмечено, что присутствие куркумина в водно-этанольном растворе Pluronic F127 способствует увеличению доли мицелл. Можно полагать, что указанный эффект полифенола на структурообразование ПАВ закономерен и для других гидрофобных веществ и блоксополимеров.
Рис. 5. Распределение по размерам частиц Pluronic P123 при варьировании соотношения n(Quer) : n(P123): 1 – 0; 2 – 0.024; 3 – 0.072; 4 – 0.144: а) по интенсивности рассеяния; б) по числу частиц; в) по объему. T = 20°С, n(EtOH) : n(P123) = 160 : 1.
При более высоких температурах в зависимости от содержания сорастворителя и полифенола в растворе можно проследить изменение их роли в структурообразовании неионогенного ПАВ. Мономодальность распределения при 40°C позволяет использовать для характеристики системы средний гидродинамический диаметр (dh). Как показано выше, влияние этанола при T = 40°С состоит в увеличении размера от dh = 20 нм до 23 нм (при соотношении n(EtOH) : n(P123) = 80 : 1) и уменьшении до 14–18 нм при остальных составах раствора (от n(EtOH) : n(P123) = 160 : 1 до n(EtOH) : n(P123) = 370 : 1). В присутствии кверцетина изменение размера dh и полидисперсности PDI мицелл блоксополимера немонотонно при варьировании состава растворителя (рис. 6).
Рис. 6. Зависимость среднего гидродинамического диаметра (а) и индекса полидисперсности (б) от мольного соотношения n(Quer) : n(P123) при варьировании состава водно-этанольного растворителя: 1 – n(EtOH) : n(P123) = 80 : 1; 2 – n(EtOH) : n(P123) = 160 : 1; 3 – n(EtOH) : n(P123) = 250 : 1; 4 – n(EtOH) : n(P123) = 370 : 1. Температура измерений 40°C.
Величина среднего гидродинамического диаметра может быть использована только для первичной оценки качественных изменений в исследуемой системе. Дополнительный вклад в ошибку определения возникает при анализе многокомпонентных растворов в смешанных растворителях [35]. Для определения истинного размера мицелл в исследуемой системе необходимо привлечение других методов, что не входило в задачи работы. Однако анализ величин dh, ср позволяет выявить состав растворителя, при котором проявляется наиболее заметное влияние флавоноида на свойства наночастиц полимерного ПАВ.
Солюбилизация кверцетина в водном растворе ПАВ не приводит к росту размера мицелл последних, а увеличение размера наночастиц может быть вызвано особенностями сольвации молекул флавоноида, что подтверждается в работе [24]. При минимальном из указанных содержаний этанола в растворе (n(EtOH) : n(P123) = 80 : 1) его заметное влияние нивелируется присутствием кверцетина, поскольку dh снижается от 23 до 19 нм независимо от концентрации полифенола. В присутствии кверцетина с ростом содержания этанола проявляется их синергизм. При добавлении флавоноида к водно-этанольному раствору ПАВ (соотношения n(EtOH) : n(P123) = 160 : 1 и 250 : 1) наблюдается увеличение размера мицелл. При дальнейшем увеличении соотношения n(EtOH) : n(P123) до 370 : 1 влияние кверцетина нивелируется. Размер частиц ПАВ при этом составляет 14 нм независимо от концентрации флавоноида. Данный факт указывает на первостепенное влияние этанола как растворителя на структуру мицелл, их размер и полидисперсность. Также это может быть связано с повышением растворимости кверцетина в фазе раствора за счет снижения полярности растворителя [44].
Можно полагать, что наиболее благоприятным, в том числе для формирования молекулярных отпечатков при синтезе кремнеземов темплатным методом, является состав растворителя, при котором наблюдается наиболее заметное влияние кверцетина. Он отвечает мольному соотношению этанола и блоксополимера n(EtOH) : n(P123) = 80 : 1.
ЗАКЛЮЧЕНИЕ
Методом динамического рассеяния света изучено мицеллообразование неионогенного ПАВ Pluronic P123 при варьировании условий. Показано существенное влияние температуры, состава растворителя и добавок малорастворимого полифенольного вещества. Отмечено, при температурах ниже 20°C в растворе присутствуют частицы ПАВ нескольких типов. В водных растворах мицеллы с узким распределением по размерам (минимальным индексом полидисперсности) формируются в интервалах температур 21–25 и 35–40°C.
Показано, что бутанол-1 приводит к стабилизации мицелл блоксополимера при температурах 15–20°C. В рассмотренном интервале содержаний алканола (n(BuOH) : n(P123) от 60 : 1 до 160 : 1) при T > 30°С происходит перестройка структуры или агрегация частиц Pluronic P123. С ростом содержания бутанола-1 его разупорядочивающее влияние на структуру мицелл проявляется при более низких температурах (27–40°С).
Отмечено, что при T = 20°C присутствие этанола в водном растворе Р123 приводит к частичному разрушению его мицелл. Добавки кверцетина оказывают, напротив, эффект стабилизации структуры Pluronic P123. Варьируя состав растворителя, за счет изменения сольватации, можно контролировать связывание флавоноида с мицеллой и его положение в объеме или на поверхности мицелл P123. При T = 40°C отмечается синергизм влияния кверцетина и этанола на размер и дисперсность мицелл блоксополимера.
ФИНАНСИРОВАНИЕ РАБОТЫ
Работа выполнена при поддержке Министерства науки и высшего образования РФ в рамках государственного задания вузам в сфере научной деятельности на 2023–2025 годы, проект FZGU-2023-0009.
СОБЛЮДЕНИЕ ЭТИЧЕСКИХ СТАНДАРТОВ
В данной работе отсутствуют исследования человека или животных.
КОНФЛИКТ ИНТЕРЕСОВ
Авторы данной работы заявляют, что у них нет конфликта интересов.
About the authors
A. S. Zavalyueva
Воронежский государственный университет
Author for correspondence.
Email: a-kh-01@yandex.ru
Russian Federation, Университетская пл., 1, Воронеж, 394018
S. I. Karpov
Воронежский государственный университет
Email: a-kh-01@yandex.ru
Russian Federation, Университетская пл., 1, Воронеж, 394018
A. N. Dubovitskaya
Воронежский государственный университет
Email: a-kh-01@yandex.ru
Russian Federation, Университетская пл., 1, Воронеж, 394018
M. G. Holyavka
Воронежский государственный университет
Email: a-kh-01@yandex.ru
Russian Federation, Университетская пл., 1, Воронеж, 394018
V. F. Selemenev
Воронежский государственный университет
Email: a-kh-01@yandex.ru
Russian Federation, Университетская пл., 1, Воронеж, 394018
References
- Patidar P., Bahadur A. Modulating effect of different biomolecules and other additives on cloud point and aggregation of amphiphilic linear and starblock copolymer // Journal of Molecular Liquids. 2018. V. 249. P. 219–226. https://doi.org/10.1016/j.molliq.2017.11.019
- Patidar P., Pillai S.A., Bahadur P., Bahadur A. Tuning the self-assembly of EO-PO block copolymers and quercetin solubilization in the presence of some common pharmacuetical excipients: A comparative study on a linear triblock and a starblock copolymer // Journal of Molecular Liquids. 2017. V. 241. P. 511–519. https://doi.org/10.1016/j.molliq.2017.06.035
- Wei D., Ge L., Guo R. Microstructure transition of hydrophilic modified ibuprofen and Pluronic copolymer F127 complexes // Colloid and Polymer Science. 2013. V. 291. P. 1255–1265. https://doi.org/10.1007/s00396-012-2859-8
- Basak R., Bandyopadhyay R. Encapsulation of hydrophobic drugs in Pluronic F127 micelles: Effects of drug hydrophobicity, solution temperature, and pH // Langmuir. 2013. V. 29. № 13. P. 4350–4356. https://doi.org/10.1021/la304836e
- Zhao D., Feng J., Huo Q. et al. Triblock copolymer syntheses of mesoporous silica with periodic 50 to 300 angstrom pores // Science. 1998. V. 279. № 5350. P. 548–552. https://doi.org/10.1126/science.279.5350.548
- Kim T. W., Kleitz F., Paul B., Ryoo R. MCM-48-like large mesoporous silicas with tailored pore structure: Facile synthesis domain in a ternary triblock copolymer-butanol-water system // Journal of the American Chemical Society. 2005. V. 127. № 20. P. 7601–7610. https://doi.org/10.1021/ja042601m
- Roik N.V., Belyakova L.A., Dziazko M.O., Oranska O.I. Influence of azo dye additives on structural ordering of mesoporous silicas // Applied Nanoscience. 2020. V. 10. № 8. P. 2547–2556. https://doi.org/10.1007/s13204-019-01013-5
- Дементьева О.В., Наумова К.А., Шишмакова Е.М. и др. Синтез бифункциональных частиц-контейнеров из кремнезема на мицеллах антисептика с солюбилизированным куркумином и оценка их биологической активности // Коллоид. журн. 2021. Т. 83. № 6. С. 623–633. https://doi.org/10.31857/s0023291221060021
- Beck J.S., Vartuli J.C., Roth W.J. et al. A new family of mesoporous molecular sieves prepared with liquid crystal templates // Journal of the American Chemical Society. 1992. V. 114. № 27. P. 10834–10843. https://doi.org/10.1021/JA00053A020
- Wanka G., Hoffmann H., Ulbricht W. Phase diagrams and aggregation behavior of poly(oxyethylene)-poly(oxypropylene)-poly(oxyethylene) triblock copolymers in aqueous solutions // Macromolecules. 1994. V. 27. № 15. P. 4145–4159. https://doi.org/10.1021/ma00093a016
- Letaief N., Lucas-Girot A., Oudadesse H. et al. Effect of aging temperature on the structure, pore morphology and bioactivity of new sol-gel synthesized bioglass // Journal of Non-Crystalline Solids. 2014. V. 402. P. 194–199. https://doi.org/10.1016/j.jnoncrysol.2014.06.005
- Хлуднева А.С., Карпов С.И., Ресснер Ф., Селеменев В.Ф. Структура и сорбционные свойства мезопористых кремнеземов, синтезированных при варьировании температуры и кремниевой основы // Сорбционные и хроматографические процессы. 2021. Т. 21. № 5. С. 669–680. https://doi.org/10.17308/sorpchrom.2021.21/3773
- Dan H., Chen L., Xian Q. et al. Tailored synthesis of SBA-15 rods using different types of acids and its application in adsorption of uranium // Separation and Purification Technology. 2019. V. 210. P. 491–496. https://doi.org/10.1016/j.seppur.2018.08.039
- Costa F.O., Misael C.G.A., Silva A.M., Sousa B.V. Textural analysis of SBA-15 molecular sieve using ethanol as co-solvent // Adsorption. 2015. V. 21. P. 671–676. https://doi.org/10.1007/s10450-015-9717-1
- Semeykina V., Zharov I. Medium controlled aggregative growth as a key step in mesoporous silica nanoparticle formation // Journal of Colloid and Interface Science. 2022. V. 615. P. 236–247. https://doi.org/10.1016/j.jcis.2022.01.166
- Oliveira M.R., Deon M., Benvenutti E.V. et al. Effect of microwave irradiation on the structural, chemical, and hydrophilicity characteristics of ordered mesoporous silica SBA-15 // Journal of Sol-Gel Science and Technology. 2020. V. 94. P. 708–718. https://doi.org/10.1007/s10971-020-05219-w
- Li Y., Tian Y., Jia X. et al. Effect of pharmaceutical excipients on micellization of Pluronic and the application as drug carrier to reverse MDR // Journal of Molecular Liquids. 2023. V. 383. P. 122182. https://doi.org/10.1016/j.molliq.2023.122182
- Khimani M., Rao U., Bahadur P., Bahadur P. Calorimetric and scattering studies on micellization of Pluronics in aqueous solutions: Effect of the size of hydrophilic PEO end blocks, temperature, and added salt // Journal of Dispersion Science and Technology. 2014. V. 35. № 11. P. 1599–1610. https://doi.org/10.1080/01932691.2013.858349
- Parmar A., Singh K., Bahadur A. et al. Interaction and solubilization of some phenolic antioxidants in Pluronic® micelles // Colloids and Surfaces B: Biointerfaces. 2011. V. 86. № 2. P. 319–326. https://doi.org/10.1016/j.colsurfb.2011.04.015
- Chaghi R., Ménorval L.C.de, Charnay C., Zajac J. Competitive interactions between components in surfactant-cosurfactant-additive systems // Journal of Colloid and Interface Science. 2010. V. 344. № 2. P. 402–409. https://doi.org/10.1016/j.jcis.2009.12.064
- Ерин К.В. Об изменении распределения частиц и агрегатов по размерам при разбавлении магнитных жидкостей // Коллоид. журн. 2017. Т. 79. № 1. С. 32–37. https://doi.org/10.7868/s0023291217010037
- Молодкина Л.М., Голикова Е.В., Бареева Р.С. и др. Кинетика агрегации гидрозоля ОХ50 в растворах NаCl, исследованная методом динамического светорассеяния // Коллоид. журн. 2016. Т. 78. № 5. С. 578–587. https://doi.org/10.7868/s0023291216050104
- Branca C., D’Angelo G. Aggregation behavior of Pluronic F127 solutions in presence of chitosan/clay nanocomposites examined by dynamic light scattering // Journal of Colloid and Interface Science. 2019. V. 542. P. 289–295. https://doi.org/10.1016/j.jcis.2019.02.031
- Luo H., Jiang K., Liang X. et al. Insights into morphological transition of Pluronic P123 micelles as a function of gallate // Colloids and Surfaces A: Physicochemical and Engineering Aspects. 2019. V. 572. P. 221–229. https://doi.org/10.1016/j.colsurfa.2019.04.005
- Dey J., Kumar S., Nath S. et al. Additive induced core and corona specific dehydration and ensuing growth and interaction of Pluronic F127 micelles // Journal of Colloid and Interface Science. 2014. V. 415. P. 95–102. https://doi.org/10.1016/j.jcis.2013.10.019
- Nguyen-Kim V.., Prévost S., Seidel K. et al. Solubilization of active ingredients of different polarity in Pluronic® micellar solutions – Correlations between solubilizate polarity and solubilization site // Journal of Colloid and Interface Science. 2016. V. 477. P. 94–102. https://doi.org/10.1016/j.jcis.2016.05.017
- Parekh P., Dey J., Kumar S. et al. Butanol solubilization in aqueous F127 solution: Investigating the enhanced micellar solvation and consequent improvement in gelation characteristics // Colloids and Surfaces B: Biointerfaces. 2014. V. 114. P. 386–391. https://doi.org/10.1016/j.colsurfb.2013.10.030
- Maheswari U., Sridevi Sangeetha K.S., Umamaheswari S. et al. Flavonoids: Therapeutic potential of natural pharmacological agents // International journal of pharmaceutical sciences and research. 2016. V. 7. № 10. P. 3924–3930. https://doi.org/10.13040/IJPSR.0975-8232.7(10).3924-30
- Taraba A., Szymczyk K., Tyszczuk-Rotko K. Surfactant-rutin-alcohol interactions: A multi-techniques analysis // Journal of Molecular Liquids. 2021. V. 328. P. 115447. https://doi.org/10.1016/j.molliq.2021.115447
- Tiwari S., Ma J., Rathod S., Bahadur P. Solubilization of quercetin in P123 micelles: Scattering and NMR studies // Colloids and Surfaces A: Physicochemical and Engineering Aspects. 2021. V. 621. P. 126555. https://doi.org/10.1016/j.colsurfa.2021.126555
- Roik N.V., Belyakova L.A., Dziazko M.O. Solubilization of azo dyes by cetyltrimethylammonium bromide micelles as structure control factor at synthesis of ordered mesoporous silicas // Journal of Molecular Liquids. 2021. V. 328. P. 115451. https://doi.org/10.1016/j.molliq.2021.115451
- Наумова К.А., Дементьева О.В., Зайцева А.В., Рудой В.М. Солюбилизация как способ создания гибридных мицеллярных темплатов для синтеза многофункциональных мезопористых частиц-контейнеров // Коллоид. журн. 2019. Т. 81. № 4. С. 478–486. https://doi.org/10.1134/s0023291219040098
- H.J., Ryu C.Y. Scalable PEO-PPO-PEO triblock copolymer purification from Pluronics through competitive adsorption // Polymer. 2012. V. 53. № 22. P. 5052–5059. http://doi.org/10.1016/j.polymer.2012.09.009
- Ganguly R., Kumar S., Soumya M. et al. Structural and therapeutic properties of salicylic acid-solubilized Pluronic solutions and hydrogels // Soft Matter. Royal Society of Chemistry. 2024. V. 20. № 9. P. 2075–2086. https://doi.org/10.1039/d4sm00079j
- Filippov S.K., Khusnutdinov R., Murmiliuk A. et al. Dynamic light scattering and transmission electron microscopy in drug delivery: A roadmap for correct characterization of nanoparticles and interpretation of results // Materials Horizons. Royal Society of Chemistry. 2023. V. 10. № 12. P. 5354–5370. https://doi.org/10.1039/d3mh00717k
- Jian T., Anastasiadis S.H., Semenov A.N. et al. Dynamics of composition fluctuations in diblock copolymer solutions far from and near to the ordering transition // Macromolecules. 1994. V. 27. № 17. P. 4762–4773. https://doi.org/10.1021/ma00095a017
- Stepanek P., Lodge T.P. Dynamic Light Scattering from Block Copolymer Melts near the Order-Disorder Transition. 1996. V. 29. № 4. P. 1244–1251. https://doi.org/10.1021/ma9509772
- Ricardo N.M.P.S., Ricardo N.M.P.S., Costa F. de M.L.L. et al. The effect of n-, s- and t-butanol on the micellization and gelation of Pluronic P123 in aqueous solution // Journal of Colloid and Interface Science. 2011. V. 353. № 2. P. 482–489. https://doi.org/10.1016/j.jcis.2010.09.061
- Dahanayake R., Dormidontova E.E. Molecular structure and co-solvent distribution in PPO-PEO and Pluronic micelles // Macromolecules. 2022. V. 55. № 23. P. 10439–10449. https://doi.org/10.1021/acs.macromol.2c01206
- Hsu Y.H., Tsui H.W., Lee C.F. et al. Effect of alcohols on the heat of micellization of Pluronic F88 aqueous solutions // Colloid and Polymer Science. 2015. V. 293. P. 3403–3415. https://doi.org/10.1007/s00396-015-3662-0
- Volkova T., Simonova O., Perlovich G. Revisiting the solubility–permeability relationship with hydrophobic drug umifenovir in Pluronic solutions: Impact of pH and co-solvent // Pharmaceutics. 2023. V. 15. № 2. P. 422. https://doi.org/10.3390/pharmaceutics15020422
- Thapa R.K., Cazzador F., Grønlien K.G., Tønnesen H.H. Effect of curcumin and cosolvents on the micellization of Pluronic F127 in aqueous solution // Colloids and Surfaces B: Biointerfaces. 2020. V. 195. P. 111250. https://doi.org/10.1016/j.colsurfb.2020.111250
- Chaghi R., Ménorval L.C., Charnay C., Zajac J. Competitive interactions between components in surfactant-cosurfactant-additive systems // Journal of Colloid and Interface Science. 2010. V. 344. № 2. P. 402–409. https://doi.org/10.1016/j.jcis.2009.12.064
- Taraba A., Szymczyk K. Spectroscopic studies of the quercetin/rutin-nonionic surfactant interactions // Journal of Molecular Liquids. 2022. V. 360. P. 119483 https://doi.org/10.1016/j.molliq.2022.119483
Supplementary files








