Control of Technological Parameters of Detonation Spraying for Obtaining Coatings Based on Titanium Dioxide with Specified Wetting Properties
- Authors: Sirota V.V.1, Savotchenko S.E.1,2, Strokova V.V.1, Podgorony D.S.1, Zaytsev S.V.1, Churikov A.S.1, Kovaleva M.G.3
-
Affiliations:
- Белгородский государственный технологический университет имени В. Г. Шухова
- Российский государственный геологоразведочный университет имени Серго Орджоникидзе
- Белгородский государственный национальный исследовательский университет
- Issue: Vol 86, No 5 (2024)
- Pages: 655-666
- Section: Articles
- Submitted: 30.11.2024
- Accepted: 30.11.2024
- Published: 15.09.2024
- URL: https://medbiosci.ru/0023-2912/article/view/271789
- DOI: https://doi.org/10.31857/S0023291224050117
- EDN: https://elibrary.ru/AABQFS
- ID: 271789
Cite item
Full Text
Abstract
The study of the water-repellent properties of the surface of a metal-ceramic coating for protective purposes based on dioxide titanium is carried out. It is shown that the water-repellent properties of the coating surface can be effectively changed by varying the technological parameters of spraying. During the production of coatings, such technological parameters as the distance from the substrate to the barrel of the detonation gun and the speed of its passage are changed. A pattern is identified that connects the technological parameters of detonation coating spraying and the contact angle of wetting. It is established that the dependence of the contact angle on the spraying distance obeys a parabolic law under certain conditions. The parameters of phenomenological equation that adequately describes the observed parabolic dependence are calculated. The optimal values of the technological parameters of detonation spraying necessary to achieve maximum hydrophobicity of the produced coatings have been determined.
Full Text
ВВЕДЕНИЕ
Металлокерамические композиционные покрытия на основе диоксида титана (TiO2) относятся к классу фотокаталитических покрытий [1]. Существует множество технологий их создания [2–6], среди которых можно выделить детонационный способ напыления [7–9].
Многие покрытия применяются с целью защиты материалов от различных воздействий, в том числе и от загрязнения, что может достигаться их способностью к самоочищению от различных оседающих на поверхности загрязнителей за счет фотокаталических свойств [10]. При разработке таких покрытий водоотталкивающие свойства их поверхности играют решающую роль [11]. Поэтому важными являются исследования, позволяющие установить закономерности и выявить взаимосвязи технологических параметров процесса детонационного напыления диоксид титановых покрытий со смачивающими свойствами их поверхности.
Изменение краевого угла смачивания на поверхности диоксид титанового покрытия позволяет управлять его водоотталкивающими свойствами [12, 13]. Поэтому возникает необходимость экспериментального измерения краевого угла при контакте жидкости (к примеру, воды) с поверхностью покрытий, полученных при различных режимах напыления. Такие эксперименты позволяют установить взаимосвязь управляемых параметров режимов напыления и водоотталкивающих свойств [14].
Несмотря на то, что технологии нанесения диоксид титановых покрытий, в том числе, детонационного напыления, широко применяются, изучение влияния параметров напыления на свойства получаемых покрытий остаются не изученными досконально [15]. Недавно мы представили результаты разработки композитных фотокаталитических покрытий на основе диоксида титана и изучения их свойств [16–18]. В этих работах нами были исследованы микроструктура, фазовый состав, кинетика фотокатализа. Однако водоотталкивающие свойства таких покрытий не изучались в контексте взаимосвязи с параметрами напыления. В данной работе представлены результаты экспериментальных исследований, выявляющих взаимосвязи параметров детонационного напыления покрытий и смачивающих свойств их поверхностей.
Изучение поведения краевых углов на поверхностях покрытий, сформированных при различных условиях, позволяет разработать рекомендации по управлению водоотталкивающими свойствами варьированием технологических параметров в процессе изготовления самоочищающихся металлокерамических покрытий с фотокаталитическими свойствами.
МАТЕРИАЛЫ И МЕТОДЫ
Для напыления применялся титановый порошок марки ПТН8-ВТ1.0 (ООО “Нормин”, Россия). Ситовым методом из него отбиралась фракция 40–60 мкм. Перед напылением порошок сушили в электрической печи при температуре 200 ± 5°С в течение 60 мин для уменьшения агломерации и исключения возможности слипания в процессе детонационного напыления.
Подложками для покрытия служила сталь марки Ст3, из которой изготавливались образцы квадратной формы размера 40×40 мм. Предварительно поверхности образцов стали (подложки) были обезжирены и подвергнуты пескоструйной обработке. Исследование шероховатости поверхности подложки проводилось с помощью профилометра Taylor-Hobson Surtronic 25 (Тэйлор Хобсон Лтд, Великобритания). Шероховатость поверхности подложки (Ra) после пескоструйной обработки составила 3.50 ± 0.15 мкм, оптическое изображение которой приведено на рис. 1 (карта высот) для визуального отображения морфологии поверхности подложки.
Рис. 1. Оптическое изображение поверхности подложки (карта высот)
Покрытия наносились с использованием роботизированного комплекса детонационного напыления (ООО “ИнтелМашин”, Россия). Схему установки для детонационного напыления можно найти в [8], а фотоизображения в [16]. Расход газа определялся с помощью поплавковых расходомеров. Неизменяемые параметры работы детонационного устройства в процессе нанесения покрытия приведены в табл. 1.
Таблица 1. Постоянные параметры напыления (* – цилиндрическая камера сгорания, ** – кольцевая камера сгорания)
Расход компонентов горючей смеси, м3/ч | Скорость подачи порошка, г/ч | Длина ствола пушки, мм | Диаметр сопла пушки, мм | ||
воздух | кислород | пропан | |||
1.3*/1.54** | 2.44*/3.04** | 0.56*/0.67** | 800 | 300 | 16 |
Покрытия формировались при различных режимах, в которых варьируемыми параметрами были: расстояние d (мм) от сопла детонационной пушки до подложки (дистанции напыления) − 40, 50, 60, 70, 80; скорость s (мм/мин) прохода детонационной пушки – 400, 800, 1200, 1600, 2000. На каждом образце делалось 2 прохода.
Краевой угол, шероховатость и профиль измерялись на поверхностях образцов покрытий, полученных при комбинациях каждого из указанных значений параметров напыления. Профиль и шероховатость поверхности покрытий измерялись в видимом поле прямого оптического металлографического микроскопа MT-24RF (SIAMS, Китай) с использованием программного комплекса SIAMS 800 (SIAMS, Россия). Данный программный комплекс имеет функцию построения рельефа по секущим фокусным плоскостям. Порядок проведения измерения: выбирается функция построения 3D-поверхности, выбирается шаг (в мкм) и количество шагов перемещения объектива. В нашем случае перемещение производилось на расстояние 300 мкм с шагом 2 мкм. Автоматически определяется сфокусированный фрагмент изображения и устанавливается в качестве слоя с заданной высотой, отсчитываемой по количеству шагов. После окончания измерения (достижения заданной высоты) формируется 3D-поверхность из полученных слоев.
Шероховатость определяется путем построения сетки 15х15 линий (стандартная функция определения шероховатости в SIAMS 800). Рельеф определяется по диагональному направлению от угла до угла (также строится линия, представляющая собой массив из двух столбцов: высота рельефа и расстояние). Измерения рельефа и шероховатости повторялись по 5 раз для каждого образца, и за результат бралось их среднее.
Краевой угол измерялся анализатором формы капель дистиллированной воды KRUSS DSA30E (KRUSS, Германия). Данный прибор оснащен автоматическим, программно-регулируемым дозатором. В качестве жидкости применялась дистиллированная вода. Объем капли 4 мкл, время ожидания стабилизации 30 с. Прибор имеет аппаратно-программное устройство перемещения шприца-дозатора капли. Общее описание процесса: шприц-дозатор устанавливается на базовое расстояние от образца (15 мм) для формирования капли. Формирование капли происходит в автоматизированном режиме со скоростью 2 мкл/с. После формирования капли объемом 4 мкл шприц-дозатор перемещался к образцу со скоростью 100 мм/мин. После касания капли поверхности и доведения шприца-дозатора на расстояние 1 мм от образца, шприц-дозатор отводится от образца со скоростью 100 мм/мин и приводится на базовое расстояние. Капля ложится на образец, после чего ожидаем стабилизации в течение 30 с. Испытания проводились при температуре 25°C и относительной влажности воздуха около 50%. Измерения повторялись по 10 раз, и за результат бралось их среднее.
Для дополнительных исследований по выявлению соотношения между расстоянием напыления и диаметром пятна напыления изготовливались крупные образцы квадратной формы размера 100×100 мм. Порядок проведения данной серии экспериментов: детонационная установка приводилась в штатный режим напыления, после чего на скорости 2000 мм/мин подводилась в точку напыления пятна, где производилось напыление в течение 5 с, после чего пушка на скорости 2000 мм/мин уводилась на исходное положение.
РЕЗУЛЬТАТЫ И ОБСУЖДЕНИЕ
Поскольку при детонационном напылении температура высокая, то большая доля титана окисляется в процессе формирования покрытий. Фазовый состав покрытий, изготовленных методом детонационного напыления на той же установке из такового же исходного сырья, можно найти в нашей предыдущей работе [17], где приведены изображения электронной микроскопии, а также результаты рентгенофазового анализа. Можно утверждать, что в среднем совокупная доля диоксида титана в виде рутила и анатаза составляет не менее 50%, оксида титана порядка 22%, титана не более 18%. Аналогичные результаты указаны в работе [16]. Данные результаты согласуются с результатами других авторов [7–10], свидетельствующими, что при такой технологии напыления титанового порошка основными фракциями покрытия являются рутил и анатаз, соотношение между которыми определяет фотокаталитические свойства покрытия.
Отметим, что варьируемыми факторами в технологии детонационного напыления могли бы быть скорость расхода порошка и состав газовой смеси (табл. 1). Однако предыдущие исследования показали [8, 16–18], что такие параметры необходимы для получения прочного покрытия с достаточно высоким содержанием рутила, обеспечивающим его фотокаталитическими свойства, требуемые для возможной эксплуатации в качестве защитных самоочищающихся покрытий. В связи с этим расход порошка и газовой смеси был подобран так, чтобы кислорода было достаточное количество для окисления титана и достижения оптимальной доли его оксидов в требуемой фракции. Первоочередное же значение имеет то, что подобранный состав газовой смеси обеспечивает стабильность работы детонационной установки и повторяемость свойств покрытий, получаемых при одинаковых условиях.
Величина прочности сцепления аналогичных покрытий, полученных на аналогичной установке, была исследована ранее и составила в среднем 52–53 МПа [19].
Измерения проводились на покрытиях, полученных при различных режимах, в которых варьируемыми параметрами были: расстояние d от сопла детонационной пушки до подложки (дистанции напыления) − 40, 50, 60, 70, 80 мм; скорость s прохода детонационной пушки – 400, 800, 1200, 1600, 2000 мм/мин. Проведенные исследования поверхности полученных покрытий показали, что высота шероховатостей их профиля (Rz) изменялась в интервале 70–250 мкм, а средняя высота профиля поверхности всех покрытий составляла 139.13 мкм. Шероховатость (среднее арифметическое отклонение профиля) Ra изменялась в интервале 12.1–33.6 мкм, а ее среднее значение для всех покрытий составила 19.91 мкм.
На рис. 2а и б приведены оптические изображения (карты высот), визуально отображающие морфологию поверхности покрытий, полученных при двух выбранных режимах напыления. Четко видно, что покрытия, полученные при различных параметрах напыления, имеют различную морфологию. На карте высот образца, полученного при самой низкой скорости прохода (рис. 2а), видно наличие неровностей поверхности с диаметром 200–700 мкм и высотой 150–330 мкм (относительно минимальной высоты поверхности покрытия) в конкретных точках, что связано с концентрацией кинетической энергии в данных точках. В свою очередь, на карте высот образца, полученного при самой высокой скорости прохода (рис. 2б) и одинаковом с предыдущим образцом расстоянии напыления, видно равномерное распределение неровностей поверхности по площади образца, что связано с отсутствием концентрации энергии в точке при большом расстоянии напыления. Как следствие, кинетическая энергия квазиравномерно распределяется между частицами порошка в процессе напыления, что привело к более сглаженному рельефу поверхности покрытия, полученного при более высокой скорости.
Рис. 2. Оптическое изображение поверхностей покрытий, полученных при d = 40 мм, s = 400 мм/мин (а) и s = 2000 мм/мин (б)
Проведенные наблюдения позволили выявить взаимосвязь между технологическими параметрами напыления и шероховатостью поверхности изготавливаемых образцов. В частности, шероховатость всех образцов монотонно снижается с увеличением скорости прохода пушки (рис. 3). В среднем, шероховатость Ra снизилась с 30.46 мкм при скорости прохода 400 мм/мин до 13.60 мкм при скорости прохода 2000 мм/мин.
Рис. 3. Зависимость шероховатости Ra (мкм) от скорости прохода детонационной пушки s (мм/мин)
Анализ данных позволил установить, что наблюдаемая в экспериментах зависимость шероховатости Ra от скорости прохода пушки s подчиняется степенному закону:
, (1)
где b и p – эмпирические коэффициенты, значения которых, рассчитанные методом наименьших квадратов, приведены в табл. 2.
Таблица 2. Коэффициенты уравнения (1), описывающего зависимость шероховатости Ra от скорости прохода детонационной пушки s при различных дистанциях напыления d
d (мм) | b | p | R2 |
40 | 1290 | 0.60 | 0.989 |
50 | 351 | 0.40 | 0.903 |
60 | 509 | 0.46 | 0.971 |
70 | 601 | 0.49 | 0.971 |
80 | 703 | 0.54 | 0.843 |
Коэффициенты детерминации R2 для степенного уравнения (1) близки к единице, что свидетельствует об достаточно хорошей согласованности результатов наблюдений и рассчитанной теоретической зависимости.
Результаты измерений краевого угла θ показали, что его усредненное по всем покрытиям значение составляет 100.58°, наибольшее наблюдаемое значение – 122.11° при дистанции напыления 50 мм и скорости прохода пушки 800 мм/мин, наименьшее наблюдаемое значение – 72.66° при дистанции напыления 80 мм и скорости прохода пушки 800 мм/мин.
Результаты измерений краевого угла в зависимости от дистанции напыления d при двух режимах скорости прохода детонационной пушки s представлены на рис. 4. Краевой угол с увеличением дистанции напылении увеличивается от 98.38°/120.07° до максимального значения 114.76°/122.11°, а затем снижается до 91.55°/72.55° при скорости прохода 400 мм/мин / 800 мм/мин соответственно.
Рис. 4. Зависимость краевого угла θ (°) от дистанции напыления d (мм)
Можно отметить, что cosθ < 0 для подавляющего большинства образцов, а его абсолютная величина сначала возрастает с ростом скорости прохода детонационной пушки, а затем снижается. При больших скоростях и дистанциях напыления в некоторых режимах (в частности, d = 70, 80 мм, и s = 1600, 2000 мм/мин) наблюдаются значения cosθ > 0.
Установлено, что экспериментальные зависимости краевого угла θ от дистанции напыления d при определенных скоростях прохода детонационной пушки хорошо аппроксимируются параболическим уравнением:
, (2)
где θ0 – условный краевой угол смачивания, соответствующий нулевому расстоянию напыления, θ0 = θ (d = 0); a1, 2 – эмпирические коэффициенты.
Параметры уравнения (2) получены методом наименьших квадратов так, чтобы оно лучше всего соответствовало экспериментальным данным, приведены в табл. 3. Коэффициенты детерминации R2 для уравнения (2) близки к единице, что свидетельствует об достаточно хорошей согласованности результатов наблюдений и рассчитанной теоретической зависимости.
Таблица 3. Коэффициенты уравнений (2) и (3), описывающих зависимость краевого угла смачивания от дистанции напыления d
s (мм/мин) | a2 (°/ мм2) | a1 (°/ мм) | θ0 (°) | R2 | θm (°) | dm (мм) |
400 | −0.042 | 4.824 | −23.500 | 0.806 | 122.721 | 44.351 |
800 | −0.037 | 3.282 | 49.940 | 0.994 | 115.018 | 57.381 |
2000 | −0.041 | 4.588 | −15.540 | 0.906 | 112.812 | 55.951 |
Следует подчеркнуть, что аппроксимация экспериментальных данных параболическим уравнением (2) оказалась возможной только для указанных в табл. 3 значений скорости прохода детонационной пушки (400, 800, 2000 мм/мин). Кроме того, данное уравнение справедливо только для процесса, реализуемого используемой нами установкой детонационного напыления, причем в диапазоне ее технических возможностей при выборе дистанции напыления от 40 до 80 мм (очевидно, что допустимо небольшое отклонение ±5 мм).
Для остальных значений s (1200 и 1800 мм/мин) распределение экспериментальных точек не позволяет использовать параболическую функцию вида (2) в силу малости рассчитанных для них значений коэффициента детерминации (R2 < 0.3). На рис. 4 видно, что разброс значений для данных скоростей s является существенным при разных дистанциях напыления.
Однако полученные данные свидетельствуют о том, что существуют режимы напыления покрытий, при которых получаются близкие значения краевого угла. По-видимому, его можно считать оптимальным с точки зрения обеспечения требуемой гидрофобности производимых покрытий. Для оценки параметров такого процесса, необходимых для оптимизации технологии напыления, может быть использовано параболическое уравнение (2). В частности, из уравнения (2) можно определить максимальное значение краевого угла θm и оптимальную дистанцию напыления dm, при которой он достигается. Для этого параболическую зависимость (2) следует переписать в виде:
, (3)
где характеристики оптимального процесса напыления выражаются через эмпирические параметры:
. (4)
Значения параметров уравнения (3) оптимального процесса напыления при выбранной скорости прохода детонационной пушки, рассчитанные по формулам (4), приведены в табл. 3.
Параболическое уравнение (3) также можно использовать для оценки краевого угла, полезного для разработки рекомендации по управлению водоотталкивающими свойствами путем подбора дистанции напыления при производстве покрытий детонационным способом.
Экспериментально установлено, что при разных дистанциях напыления значения краевого угла зависят по-разному от скорости прохода детонационной пушки, не описываемые единой зависимостью. На рис. 5 представлены результаты измерений краевого угла на покрытиях, полученных при различных скоростях прохода детонационной пушки. Результаты показали, что наиболее равномерный (постоянный, то есть не зависящий от скорости s) характер распределения значений краевого угла достигается при выборе дистанции напыления 60 мм (прямая, параллельная оси абсцисс на рис. 5). Среднее значение краевого угла для такой дистанции напыления составляет 112.49°. Видно, что данные технологические параметры достаточно близки к теоретически рассчитанным оптимальным значениям параметров напыления, приведенным в табл. 3.
Рис. 5. Распределение значений краевого угла θ (°) при различных скоростях прохода детонационной пушки s (мм/мин)
Результаты наших экспериментов свидетельствуют о том, что поверхности большинства покрытий являются гидрофобными по отношению к воде. Гидрофобность может быть повышена при производстве покрытий путем выбора оптимального режима напыления, при котором краевой угол достигает максимального значения.
Анализ результатов измерений краевого угла и шероховатости поверхностей, напыленных при различных режимах, позволил эмпирически выявить наличие взаимосвязи между ними (рис. 6). Краевой угол возрастает при увеличении шероховатости до ее среднего по скоростям прохода значения (которое для определенных расстояний напыления 40, 50, 70 мм составляет около 22 мкм), а затем снижается при увеличении шероховатости. В частности, сопоставление значений шероховатости и краевого угла при изменении скорости прохода детонационной пушки и определенных фиксированных дистанций напыления (а именно: 40, 50, 70) показывает наличие параболической зависимости в виде:
, (5)
где α0 – условный краевой угол, соответствующий нулевой шероховатости, α1, 2 – эмпирические коэффициенты.
Рис. 6. Взаимосвязь краевого угла θ (°) и шероховатости Ra (мкм)
Уравнение (5) позволяет сопоставить шероховатость поверхности покрытия с краевым углом при различных режимах напыления. Параметры уравнения (5) получены методом наименьших квадратов так, чтобы оно лучше всего соответствовало экспериментальным данным, приведены в табл. 4.
Таблица 4. Коэффициенты уравнения (5), описывающего зависимость краевого угла от дистанции напыления d
d (мм) | α2 | α1 | α0 (°) | R2 |
40 | −0.159 | 7.347 | 33.08 | 0.862 |
50 | −0.568 | 31.210 | −311.10 | 0.861 |
70 | −0.246 | 11.690 | −36.73 | 0.662 |
Значения коэффициента детерминации R2 для уравнения (5) варьируются в интервале от 0.66 до 0.86, что свидетельствует об удовлетворительном уровне согласованности результатов наблюдений и рассчитанной теоретической зависимости, так как по шкале Чеддока при значениях R2 в интервале от 0.7 до 0.9 качественная характеристика силы взаимосвязи считается высокой [20].
При малых дистанциях напыления (40 и 50 мм) R2 > 0.8. Поэтому для таких режимов напыления можно говорить о том, что на долю вариации шероховатости приходится большая часть по сравнению с остальными неучтенными в формуле (5) факторами, влияющими на изменение краевого угла. Построенная при таких условиях взаимосвязь шероховатости и краевого угла может иметь практическое значение.
Следует подчеркнуть, что использование уравнения (5) возможно только для указанных в табл. 4 значений дистанции напыления (40, 50, 70 ±5 мм). Кроме того, данное уравнение справедливо только для технологического процесса производства покрытий, реализуемого на используемой нами установкой детонационного напыления, причем в диапазоне ее технических возможностей при выборе скорости прохода детонационной пушки от 400 до 2000 мм/мин (очевидно, что допустимо небольшое отклонение ±50 мм/мин), для которых получаются значения шероховатости изготавливаемых покрытий Ra в интервале от 12 до 33 мкм. Для остальных значений d (60 и 80 мм) распределение экспериментальных точек не позволяет использовать параболическое уравнение (5) в силу малости рассчитанных для них значений коэффициента детерминации (поэтому на рис. 4 они не приводятся).
Отметим также, что в нашем случае теплофизические особенности процесса детонационного напыления являются косвенным фактором при оценке краевого угла. В первую очередь данный фактор влияет на фазовый состав покрытия, а фазовый состав влияет на остальные свойства покрытия [21]. Многие исследования как российских авторов [22, 23], так и зарубежных авторов [24, 25, 26] указывают на следующие значимые термофизические факторы процесса детонационного напыления. Скорость прохода пушки вдоль подложки влияет на нагрев подложки и толщину покрытия за счет количества выстрелов на единицу площади. Расстояние напыления также влияет на температуру подложки за счет особенностей распространения газового детонационного потока. Заполнение пушки горючей смесью влияет на давление и температуру газового потока и, как следствие, на процесс химических преобразований в процессе полета напыляемых частиц, а также на температуру подложки.
В наших экспериментах по изготовлению покрытий подобранный состав газовой смеси, остающийся неизменным, позволял поддерживать постоянную температуру в процессе напыления. Поэтому температурные факторы в данной работе не рассматриваются.
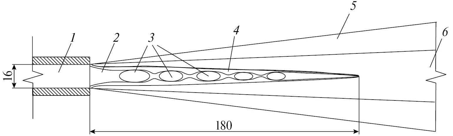
Были также проведены серии дополнительных экспериментов с целью выявления зависимости размера пятна напыляемого покрытия от расстояния напыления. Для этих экспериментов использовались более крупные подложки из стали той же марки Ст3 размера 100×100 мм. Напыление проводилось на различных дистанциях при фиксированной скорости прохода сопла 2000 мм/мин. Схематичное изображение распределения газовых потоков в процессе детонационного напыления представлено на рис. 7. Результаты данной серии экспериментов представлены в табл. 5 с визуализацией на рис. 8 и 9.
Рис. 7. Схематичное изображение распределения газовых потоков в процессе детонационного напыления: 1 – сопло детонационной пушки; 2 – зона выхода из сопла; 3 – зоны повышенных температур; 4 – ядро детонационной струи; 5 – зона турбулентности; 6 – зона смешивания с атмосферными газами
Рис. 8. Образцы пятен покрытия, полученных детонационным напылением порошка титана на разных расстояниях от сопла (мм): 20 (a), 40 (б), 60 (в), 80 (г), 100 (д), 130 (е), 160 (ж), 200 (з)
Рис. 9. Зависимость диаметра пятна зоны смешивания (1) и диаметра пятна ядра потока (2) от расстояния напыления (маркеры – экспериментальные данные, сплошные линии – аппроксимация параболическим уравнением, пунктирная линия – аппроксимация логарифмическим уравнением)
Таблица 5. Результаты эксперимента по оценке размеров пятна напыления от дистанции напыления
Дистанция напыления d, мм | Диаметр пятна ядра потока Dcor, мм | Диаметр пятна зоны смешивания Dmix, мм |
20 | 19.56 | 35.34 |
40 | 20.84 | 42.77 |
60 | 21.65 | 52.31 |
80 | 23.74 | 57.30 |
100 | 20.03 | 50.77 |
130 | 15.48 | 65.54 |
160 | 10.14 | 66.48 |
200 | - | 69.12 |
На крупных подложках наблюдались явно выраженные пятна примерно круглой формы. Для оценки размеров пятен использовались диаметры двух зон (3 и 6 на рис. 7). Красными кругами на рис. 7 указаны пятна диаметра Dcor, образованные ядром детонационной струи (зона 3). Синие круги указывают на пятна диаметра Dmix с частичным окислением, которые образованы зоной смешивания детонационной струи с атмосферными газами (зона 6). Остальная часть образца также имеет тонкое покрытие, она образована давлением турбулентного потока. Возможность такого напыления обуславливается достаточно высокой пластичностью порошка титана.
Диаметр ядра пятна контакта изменялся от 10.14 мм до 23.74 мм, его среднее при всех расстояниях значение составляет 18.78 мм. Диаметр пятна зоны смешивания изменялся от 35.34 мм до 69.12 мм, его среднее при всех расстояниях значение составляет 54.95 мм.
На образцах, полученных при расстояниях 80 мм (рис. 8г) и 130 мм (рис. 8е), наблюдается образование белых пятен, что, скорее всего, свидетельствует об окончательном переходе окислившегося титана в фазу рутила. Данный эффект обусловлен тем, что при таких дистанциях напыления подложка попадает в зону повышенных температур (рис. 7, зона 3) и окисление порошка титана происходит более интенсивно.
Результаты дополнительной серии экспериментов показали, что характерные диаметры пятен ядра потока Dcor и зоны смешивания Dmix по-разному зависят от дистанции напыления d. В частности, диаметр зоны пятна смешивания (1 на рис. 9) монотонно увеличивается с замедлением при напылении на более длинных дистанциях, в то время как диаметр пятен ядра потока (2 на рис. 9) сначала немного возрастает от 19.56 мм до максимального значения 23.74 мм при выборе дистанции напыления 80 мм. Затем он начинает относительно быстро снижаться до своего минимального значения при дальнейшем увеличении дистанции напыления.
Отметим, что зависимости характерных размеров пятна от дистанции напыления хорошо аппроксимируются параболическим уравнением. В частности, зависимость диаметра зоны смешивания описывается параболическим уравнением
с коэффициентом детерминации R2 = 0.915, а зависимость диаметра ядра потока описывается параболическим уравнением
c коэффициентом детерминации R2 = 0.958 (сплошные линии на рис. 9). Коэффициенты детерминации близки к единице, что позволяет считать выбранные уравнения адекватно описывающими экспериментальные данные в изучаемом диапазоне значений параметров напыления покрытий.
Интересно отметить, что зависимость диаметра зоны смешивания также может быть описана логарифмическим уравнением с коэффициентом детерминации R2 = 0.918 (пунктирная линия на рис. 9). Видно, что коэффициент детерминации логарифмической зависимости немного больше, чем параболической. Однако их разница весьма мала (0.003), и нет оснований предпочесть одну форму кривой другой в данном диапазоне значений параметров напыления. Логарифмическая зависимость должна соответствовать случаю замедляющегося монотонного роста по сравнению с параболической при условии возрастания до ее вершины. Следовательно, выбор между данными формами зависимости диаметра зоны смешивания от дистанции напыления может быть связан со скоростью роста величины Dmix при дальнейшем увеличении d, естественно, при условии технической возможности реализации таких режимов напыления покрытий на данной установке.
ЗАКЛЮЧЕНИЕ
В данной работе описаны смачивающие свойства металлокерамических покрытий на основе диоксида титана в зависимости от условий их изготовления при использовании детонационной технологии напыления. Установлено, что краевой угол и, соответственно, водоотталкивающие свойства поверхности покрытия можно эффективно изменить, варьируя технологические параметры напыления. Наибольшее влияние на водоотталкивающие свойства поверхности диоксид титановых покрытий оказывает дистанция напыления, а варьирование скорости прохода детонационной пушки приводит к равномерному распределению значений краевого угла.
Измерения шероховатости поверхности покрытий, получаемых при различных условиях, позволили установить ярко выраженную ее зависимость от скорости прохода пушки в соответствии со степенным законом. Предложенное степенное уравнение может быть полезно для прогнозирования шероховатости поверхности изготавливаемых покрытий.
На основе проведенных экспериментов сделан вывод о том, что зависимость краевого угла от дистанции напыления подчиняется параболическому закону при определенных режимах работы детонационной установки. Для описания экспериментальных данных была предложено феноменологическое уравнение, адекватно описывающее наблюдаемую в ряде экспериментов параболическую закономерность. Предложенное уравнение может быть полезно для интерполяции (а не экстраполяции) краевого угла в указанных для них диапазонах применимости. С их помощью представляется возможным определить оптимальный режим напыления покрытий, обеспечивающий наилучшую гидрофобность их поверхностей.
Эксперименты позволили установить, что можно определить оптимальные значения технологических параметров детонационного напыления, обеспечивающие максимальную гидрофобность производимых покрытий.
Результаты, представленные в статье, расширяют исследования смачивающих свойств поверхностей металлокерамических покрытий и могут быть полезны при создании новых перспективных фотокаталитических покрытий защитного назначения с прогнозируемыми водоотталкивающими характеристиками.
ФИНАНСИРОВАНИЕ РАБОТЫ
Данная работа выполнена в рамках реализации государственного задания Министерства науки и высшего образования Российской Федерации № FZWN-2023-0006 с использованием оборудования Центра высоких технологий Белгородского государственного технологического университета имени В.Г. Шухова и Объединенного исследовательского центра “Технологии и материалы” Белгородского национального исследовательского университета.
СОБЛЮДЕНИЕ ЭТИЧЕСКИХ СТАНДАРТОВ
В данной работе отсутствуют исследования человека или животных.
КОНФЛИКТ ИНТЕРЕСОВ
Авторы данной работы заявляют, что у них нет конфликта интересов.
About the authors
V. V. Sirota
Белгородский государственный технологический университет имени В. Г. Шухова
Author for correspondence.
Email: savotchenkose@mail.ru
Russian Federation, Белгород
S. E. Savotchenko
Белгородский государственный технологический университет имени В. Г. Шухова; Российский государственный геологоразведочный университет имени Серго Орджоникидзе
Email: savotchenkose@mail.ru
Russian Federation, Белгород; Москва
V. V. Strokova
Белгородский государственный технологический университет имени В. Г. Шухова
Email: savotchenkose@mail.ru
Russian Federation, Белгород
D. S. Podgorony
Белгородский государственный технологический университет имени В. Г. Шухова
Email: savotchenkose@mail.ru
Russian Federation, Белгород
S. V. Zaytsev
Белгородский государственный технологический университет имени В. Г. Шухова
Email: savotchenkose@mail.ru
Russian Federation, Белгород
A. S. Churikov
Белгородский государственный технологический университет имени В. Г. Шухова
Email: savotchenkose@mail.ru
Russian Federation, Белгород
M. G. Kovaleva
Белгородский государственный национальный исследовательский университет
Email: savotchenkose@mail.ru
Russian Federation, Белгород
References
- Atacan K., Güy N., Özacar M. Recent advances in photocatalytic coatings for antimicrobial surfaces // In: Current Opinion in Chemical Engineering. V. 36. Elsevier Ltd. 2022. https://doi.org/10.1016/j.coche.2021.100777
- Obregón S., Rodríguez-González V. Photocatalytic TiO2 thin films and coatings prepared by sol–gel processing: a brief review // Journal of Sol-gel Science and Technology. 2022. V. 102. P. 125–141. https://doi.org/10.1007/s10971-021-05628-5
- Zhang W., Gu J., Zhang C., Xie Y., Zheng X. Preparation of titania coating by induction suspension plasma spraying for biomedical application // Surface and Coatings Technology. 2019. V. 358, 511–520. https://doi.org/10.1016/j.surfcoat.2018.11.047
- Yang K., Zhong S., Yue H., Tang S., Ma K., Liu C., Qiao K., Liang B. Application of pulsed chemical vapor deposition on the SiO2-coated TiO2 production within a rotary reactor at room temperature // Chinese Journal of Chemical Engineering. 2022. V. 45. P. 22–31. https://doi.org/10.1016/j.cjche.2021.05.012
- Seremak W., Baszczuk A., Jasiorski M., Gibas A., Winnicki M. Photocatalytic activity enhancement of low-pressure cold-sprayed TiO2 coatings induced by long-term water vapor exposure // Journal of Thermal Spray Technology. 2021. V. 30. P. 1827–1836. https://doi.org/10.1007/s11666-021-01244-5
- Islam M.T., Dominguez A., Turley R.S., Kim H., Sultana K.A., Shuvo M.A.I., Alvarado-Tenorio B., Montes M.O., Lin Y., Gardea-Torresdey J., Noveron J.C. Development of photocatalytic paint based on TiO2 and photopolymer resin for the degradation of organic pollutants in water // Science of the Total Environment. 2020. V. 704. P. 135406. https://doi.org/10.1016/j.scitotenv.2019.135406
- Kovaleva M.G., Prozorova M.S., Arseenko M.Yu., Vagina O.N., Sirota V.V. Properties of alumina-titania coating formed by a new multi-chamber gas-dynamic accelerator // Key Engineering Materials. 2017. V. 753. P. 117–122. https://doi.org/10.4028/www.scientific.net/KEM.753.117
- Kovaleva M., Tyurin Y., Vasilik N., Kolisnichenko O., Prozorova M., Arseenko M., Sirota V., Pavlenko I. Structure and microhardness of titanium-based coatings formed by multichamber detonation sprayer // Physics Research International. 2015. V. 2015. P. 532–825. https://doi.org/10.1155/2015/532825
- Shtertser A.A., Batraev I.S., Ulianitsky V.Yu., Kuchumova I.D., Bulina N., Ukhina, A., Bokhonov, B.B., Dudina D., Trinh P., Phuong D.D. Detonation spraying of Ti-Cu mixtures in different atmospheres: carbon, nitrogen and oxygen uptake by the powders // Surfaces and Interfaces. 2020. V. 21. P. 100676. https://doi.org/10.1016/j.surfin.2020.100676
- Liu Y., Huang J., Feng X., Li H. Thermal-sprayed photocatalytic coatings for biocidal applications: a review // Journal of Thermal Spray Technology 2021. V. 30. P. 1–24. https://doi.org/10.1007/s11666-020-01118-2
- Klochko N., Klepikova K., Kopach V., Khrypunov G., Myagchenko Yu., Melnychuk E., Lyubov V., Kopach A. On controlling the hydrophobicity of nanostructured zinc-oxide layers grown by pulsed electrodeposition // Semiconductors. 2016. V. 50. P. 352–363. https://doi.org/10.1134/S106378261603012X
- Zhou H., Sun S., Ding H. Surface organic modification of TiO2 powder and relevant characterization // Advances in Materials Science and Engineering. 2017. V. 2017. P. 1–8. https://doi.org/10.1155/2017/9562612
- Li Y., Xia B., Jiang B. Thermal-induced durable superhydrophilicity of TiO2 films with ultra-smooth surfaces // Journal of Sol-gel Science and Technology. 2018. V. 87. P. 50–58. https://doi.org/10.1007/s10971-018-4684-0
- Wu X.H., Then Y.Y. Fabrication and characterization of superhydrophobic graphene/titanium dioxide nanoparticles composite // Polymers (Basel). 2021. V. 14. P. 122. https://doi.org/10.3390/polym14010122
- Sharifi N., Pugh M., Moreau C., Dolatabadi A. Developing hydrophobic and superhydrophobic TiO2 coatings by plasma spraying // Surface and Coatings Technology. 2016. V. 289. P. 29–36. https://doi.org/10.1016/j.surfcoat.2016.01.029
- Sirota V.V., Vashchilin V.S., Ogurtsova Y.N., Gubareva E.N., Podgornyi D.S., Kovaleva M.G. Structure and photocatalytic properties of the composite coating fabricated by detonation sprayed Ti powders // Ceramics International. 2024. V. 50. P. 739–749. https://doi.org/10.1016/j.ceramint.2023.10.152
- Sirota V.V., Savotchenko S.E., Strokova V.V., Vashchilin V.S., Podgornyi D.S., Prokhorenkov D.S., Zaitsev S.V, Kovaleva M.G. Effect of detonation spray regimes on photocatalytic activity of Ti-TiO2 coatings // Journal of Photochemistry & Photobiology, A: Chemistry. 2024. V. 452. P. 115626. https://doi.org/10.1016/j.jphotochem.2024.115626
- Sirota V.V., Savotchenko S.E., Strokova V.V., Vashchilin V.S., Podgornyi D.S., Limarenko M.V., Kovaleva M.G. Effect of irradiation intensity on the rate of photocatalysis of TiO2 coatings obtained by detonation spraying // International Journal of Applied Ceramic Technology. 2024. V. 21. https://doi.org/10.1111/ijac.14782
- Kovaleva M., Tyurin Y., Kolisnichenko O., Prozorova M., Arseenko M. Properties of detonation nanostructured titanium-based coatings // Journal of Thermal Spray Technology. 2013. V. 22. P. 518–524. https://doi.org/10.1007/s11666-013-9909-8
- Nikitina M. A., Chernukha I. M. Nonparametric statistics. Part 3. Correlation coefficients. // Theory and Practice of Meat Processing. 2023. V. 8. P. 237–251. https://doi.org/10.21323/2414-438X-2023-8-3-237-251
- Okamoto H. O-Ti (Oxygen-titanium) // J. Phase Equilib. Diffus. 2011. V. 32 P. 473–474. https://doi.org/10.1007/s11669-011-9935-5
- Dudina D.V., Zlobin S.B., Ulianitsky V.Yu., Lomovsky O.I., Bulina N.V., Bataev I.A., Bataev V.A. Detonation spraying of TiO2-Ag: controlling the phase composition and microstructure of the coatings // Ceram. Trans. 2012. V. 237. P. 161–169. https://doi.org/10.1002/9781118511466.ch17
- Rakhadilov B., Buitkenov D., Sagdoldina Z., Seitov B., Kurbanbekov S., Adilkanova M. Structural features and tribological properties of detonation gun sprayed Ti–Si–C coating. // Coatings. 2021. V. 11. P. 141. https://doi.org/10.3390/coatings11020141
- Kantay N., Rakhadilov B., Kurbanbekov S., Yeskermessov D., Yerbolatova G., Apsezhanova A. Influence of detonation-spraying parameters on the phase composition and tribological properties of Al2O3 coatings // Coatings. 2021. V. 11. P. 793. https://doi.org/10.3390/coatings11070793
- Du H., Hua W., Liu J., Gong J., Sun C., Wen L. Influence of process variables on the qualities of detonation gun sprayed WC-Co coatings // Materials Science and Engineering: A. 2005.V. 408. P. 202–210. http://dx.doi.org/10.1016/j.msea.2005.08.008
- Senderowski C., Bojar Z. Influence of detonation gun spraying conditions on the quality of Fe-Al intermetallic protective coatings in the presence of NiAl and NiCr interlayers // Journal of Thermal Spray Technology. 2009. V. 18. P. 435–447. http://dx.doi.org/10.1007/s11666-009-9328-z
Supplementary files











