Система сбора данных многодетекторного устройства с мечеными нейтронами с параллельной передачей событий
- Authors: Батяев В.Ф.1,2, Беличенко С.Г.1, Каретников М.Д.1,2, Мазницин А.Д.1, Пресняков А.Ю.1
-
Affiliations:
- Всероссийский научно-исследовательский институт автоматики им. Н.Л. Духова (ФГУП “ВНИИА”)
- Национальный исследовательский ядерный университет “МИФИ”
- Issue: No 1 (2024)
- Pages: 5-15
- Section: ТЕХНИКА ЯДЕРНОГО ЭКСПЕРИМЕНТА
- URL: https://medbiosci.ru/0032-8162/article/view/263934
- DOI: https://doi.org/10.31857/S0032816224010017
- EDN: https://elibrary.ru/geyify
- ID: 263934
Cite item
Full Text
Abstract
Изложены принципы компоновки и функционирования регистрирующей аппаратуры для метода меченых нейтронов, основанные на отборе полезных событий по заданным критериям с накоплением данных блоком буферной памяти и последующей передачей массивов данных в удаленный компьютер для обработки и визуализации. Основным критерием отбора является наличие сигналов от альфа- и гамма-детекторов в заданном временном и амплитудном диапазонах при отсутствии наложенных событий. Использование магистрально-модульной архитектуры позволяет проводить параллельную обработку сигналов и передачу данных на нескольких уровнях, что дает возможность подключать практически любое количество гамма-детекторов без потери качества результатов измерений и целостности данных. Для тестирования разработанной аппаратуры создан макет установки и проведены эксперименты по исследованию ее характеристик. Экспериментально достигнутая скорость передачи событий (альфа-гамма-совпадений) составила около 3∙105 с-1, что в несколько раз превышает предельную скорость передачи существующих систем сбора данных для метода меченых нейтронов.
Full Text
1. ВВЕДЕНИЕ
Метод меченых нейтронов уже на протяжении двух десятилетий применяется для задач, связанных с элементным анализом веществ [1]. Особенностью этого метода является использование в нейтронном DT-генераторе позиционно-чувствительного альфа-детектора для определения времени и направления вылета (меток) нейтронов с энергией 14 МэВ путем регистрации сопутствующих нейтронам альфа-частиц. При неупругом рассеянии нейтронов на ядрах вещества возникает гамма-излучение, дающее количественную информацию о наличии в объекте искомых химических элементов. Зная направление движения меченого нейтрона и время между регистрациями сопутствующей ему альфа-частицы и гамма-кванта, можно определить пространственные координаты места, где произошло испускание гамма-кванта при неупругом рассеянии меченого нейтрона в исследуемом объекте. Информация о событии (одновременной регистрации альфа-частицы и гамма-кванта в заданном временном окне) обрабатывается и записывается в виде кода, содержащего данные об интервале времени альфа-гамма-совпадения (АГС), номере (координате) сработавшего пикселя альфа-детектора, номере гамма-детектора и амплитуде (собранном заряде) сигнала с гамма-детектора.
Типичный временной спектр событий для одного пикселя альфа-детектора представлен на рис. 1а. Все события набраны для узкого “пучка” меченых нейтронов в пределах телесного угла, под которым альфа-частицы попадают на данный пиксель альфа-детектора из нейтронообразующей мишени. На временном спектре видны два пика, один из которых (отклик от объекта) обусловлен регистрацией гамма-квантов неупругого рассеяния нейтронов и соответствует времени прохождения меченых нейтронов через исследуемый объект, второй – попаданию на гамма-детектор меченых нейтронов, отклонившихся от начальной траектории при упругом и неупругом рассеяниях на ядрах объекта (время на рисунке реверсивное, так как стартовым сигналом является сигнал с гамма-детектора). События вне этих пиков являются фоновыми. Пространственное разрешение устройства с мечеными нейтронами в направлении движения меченых нейтронов определяется временным разрешением δt измерения АГС и/или дискретностью измерения времени АГС Δt (как правило, δt >> Δt).
Рис. 1. Временной (а) и энергетический (б) спектры альфа-гамма-совпадений.
Энергетический спектр для событий, соответствующих пику объекта на временном спектре, представлен на рис. 1б. По фоновым событиям (область от 36 нс до 96 нс на временном спектре) определяется энергетический спектр фона случайных совпадений, который вычитается из энергетического спектра объекта. Путем разложения итогового спектра на спектры отдельных химических элементов можно по их парциальным долям определить элементный состав однородного объекта исследования. Для анализа пространственного распределения элементного состава вещества в протяженных неоднородных объектах удобно условно разделить исследуемый объект на отдельные “элементарные” объемы (воксели) [1]. Каждый воксель может быть определен в системе координат, подобной сферической, представляемой номером сработавшего пикселя альфа-детектора (задающего угол направления на объект) и интервалом времени, позволяющим определить расстояние от нейтронного генератора до вокселя. В пределах вокселя элементный состав вещества считается однородным. Минимальный размер вокселя определяется угловым разрешением определения направления движения нейтрона δn и разрешением δt измерения времени АГС. Определяя элементный состав в каждом вокселе, можно найти объемное распределение химических элементов в объекте исследования.
Основными путями совершенствования устройств с мечеными нейтронами являются улучшение углового δn и временного δt разрешений, увеличение пространственного угла вылета меченых нейтронов, повышение эффективности регистрации вторичного гамма-излучения за счет увеличения количества гамма-детекторов [2]. В установках EURITRACK [3] и C-BORD [4] использовались от 22 до 24 сцинтилляционных гамма-детекторов и генератор меченых нейтронов со встроенным 64-пиксельным сцинтилляционным детектором. В перспективных устройствах для поиска алмазов в кимберлите (нейтронном сепараторе алмазов) рассматриваются нейтронные генераторы с 1024-пиксельным альфа-детектором и системы регистрации гамма-излучения с 20 и более гамма-детекторами [5]. В стационарной установке для досмотра транспортных средств планируется использовать несколько многопиксельных нейтронных генераторов [6]. Увеличение количества детекторов ядерного излучения влечет за собой существенный рост средней частоты регистрируемых сигналов, требуемой скорости передачи событий и объема обрабатываемых данных. По оценкам [3–5], требуемая скорость счета АГС может составить от 3.5∙104 с-1 до 3∙105 с-1. Экспериментально достигнутая к настоящему времени скорость передачи АГС в несколько раз меньше [5].
2. АНАЛИЗ ТРЕБОВАНИЙ К СИСТЕМЕ СБОРА ДАННЫХ С МЕЧЕНЫМИ НЕЙТРОНАМИ С БОЛЬШОЙ СКОРОСТЬЮ ПЕРЕДАЧИ СОБЫТИЙ
В современных генераторах меченых нейтронов, производимых в РФ [7], сопутствующие альфа-частицы регистрируют с помощью полупроводниковых кремниевых и арсенид-галлиевых детекторов, встроенных в нейтронную трубку. Используемые детекторы технологичны в изготовлении и обеспечивают требуемые основные эксплуатационные параметры (радиационный ресурс, энергетическое и временное разрешения). Размер пикселя альфа-детекторов, используемых в различных модификациях генератора, варьируется от 2 до 10 мм, а количество пикселей – от 9 до 256. Телесный угол вылета меченых нейтронов может достигать 0.8 рад.
При малом количестве пикселей (до 15) сигнал выводится индивидуально с каждого пикселя, количество M выводных разъемов равно количеству пикселей. С ростом количества пикселей усложняется технология производства нейтронной трубки из-за необходимости размещения выводных разъемов на фланце генератора, подключения пикселей и выводных разъемов к сигнальным проводам внутри нейтронной трубки, может ухудшиться вакуумная прочность трубки. В связи с этим при большом количестве пикселей вывод сигналов с альфа-детектора осуществляется по схеме, аналогичной стриповому детектору, когда сигналы по строкам (Y-стрипам) и столбцам (X-стрипам) объединяются, и номер пикселя кодируется по номеру Y-стрип – X-стрип. Количество выводных разъемов M уменьшается с M = Nx∙Ny до M = Nx + Ny, где Nx – количество X-стрипов, а Ny – количество Y-стрипов.
Средняя скорость поступления сигналов от 256-пиксельного альфа-детектора с размером пикселя 4×4 мм2 при потоке 1∙108 с-1 составляет около 7∙106 с-1, средняя скорость поступления сигналов от одного гамма-детектора может достигать до 2∙105 с-1. При 20 гамма-детекторах и более требуемая скорость регистрации АГС со всех детекторов может быть близка к 3∙105 с-1. Во избежание наложений сигналы с альфа-детектора должны быть короткие, т.е. необходимо использовать предусилители сигналов с альфа-детектора с полосой частот больше 50 МГц. В этом случае временные параметры выходных сигналов будут определяться динамикой сбора заряда в используемых полупроводниковых альфа-детекторах: время нарастания меньше 15 нс, длительность меньше 40 нс. Для корректной интерпретации событий необходимо однозначно определить сработавший пиксель альфа-детектора в заданном временном окне для идентификации меченого нейтрона, произведшего данное событие. Временное окно формируется при поступлении сигнала с альфа-детектора, который является временной отметкой испускания нейтрона. При большой скорости счета возможен приход других сигналов с альфа-детектора до закрытия временного окна, т.е. наложение сигналов во временном окне. Такие события должны быть режектированы, поскольку они могут быть вызваны разными мечеными нейтронами.
Относительная вероятность σ наложения сигналов с альфа-детектора во временном окне определяется выражением
,
где n0 – скорость поступления сигнала с альфа-детектора, T – временное окно. При n0 > 5∙106 с-1 временное окно целесообразно уменьшать ниже 40 нс. Для обеспечения малого значения T также необходимо, чтобы разброс по времени временной отметки Δtαγ для разных пикселей был минимален, по крайней мере, Δtαγ << T. В случае если узел формирования временной отметки не обеспечивает это условие, разброс времени АГС можно компенсировать подбором электрической длины кабелей, что весьма трудоемко.
Средняя скорость nγ поступления сигналов от одного гамма-детектора может составлять до 2∙105 с-1. В случае использования гамма-детекторов с большим временем τγ высвечивания (например, BGO 300 нс, NaI 230 нс) время сбора заряда tγ, необходимое для получения хорошего энергетического разрешения, может быть близко к 1 мкс. Сигналы с гамма-детектора имеют крутой фронт и пологий спад, поэтому наблюдается преимущественно наложение сигналов на спад сигнала. Влияние наложений проявляется в ухудшении амплитудного разрешения, смещении и флуктуации нулевого уровня сигнала. Для уменьшения влияния наложений необходимо обнаруживать и режектировать искаженные сигналы. В качестве критерия влияния наложений можно использовать параметр nγtγ, и значимое искажение гамма-спектра АГС начинается при nγtγ > 0.1–0.05 [8].
3. РЕГИСТРИРУЮЩАЯ АППАРАТУРА ДЛЯ МЕТОДА МЕЧЕНЫХ НЕЙТРОНОВ
В настоящее время используют два подхода к решению проблемы обработки сигналов от устройств с мечеными нейтронами:
- полная оцифровка входных сигналов со всех детекторов и передача потока данных в компьютер для последующей обработки;
- использование аналоговой электроники для предварительной обработки и формирования аналоговых сигналов, выработка логических сигналов по определенным критериям для отбора событий, стартовых и стоповых импульсов для определения амплитуды и времени АГС с помощью цифровых преобразователей и т.д.
Оцифровщики входных сигналов (дигитайзеры) постоянно совершенствуются по части увеличения частоты выборки, количества входных каналов и скорости передачи данных, снижения энергопотребления, улучшения программного и математического обеспечения. Они не требуют аппаратной настройки под форму сигнала, позволяют применять комплексные математические алгоритмы для коррекции нулевой линии сигналов, восстановления наложенных импульсов вместо их режекции путем анализа формы сигналов, измерения времени между событиями с точностью гораздо выше периода оцифровки и т.д. В изделиях ядерной электроники оцифровщики входных сигналов постепенно вытесняют устройства, использующие аналоговые методы обработки сигналов, в том числе и в устройствах с мечеными нейтронами. В проекте EURITRACK система сбора и обработки событий с 22 гамма-детекторов и 64-пиксельного альфа-детектора строилась на основе стандартных модулей фирмы CAEN [9] – зарядочувствительных (интегрирующих) усилителей, формирователей со следящим порогом, сплиттеров, время-цифровых и амплитудно-цифровых преобразователей. В следующем аналогичном проекте C-BORD уже использовались два 16-канальных диджитайзера V1730 (CAEN) со скоростью оцифровки 5∙108 выборок/с (часть выходов альфа-детектора не опрашивалась из-за ограниченного числа каналов диджитайзеров) [10].
Принцип оцифровки формы импульсов с последующим вычислением временных и амплитудных характеристик событий используется в работах по методу меченых нейтронов, проводимых в ОИЯИ [6]. Сигналы с альфа- и гамма-детекторов регистрируются 16- или 32-канальными модулями ADCM [11] со скоростью оцифровки 1∙108 выборок/с. При появлении генераторов меченых нейтронов с 256-пиксельным альфа-детектором (32 выходных сигнала) начались сказываться недостатки такого подхода, связанные со сложностью расширения модулей ADCM на большее количество входов – уменьшение общей скорости передачи АГС с увеличением количества задействованных каналов модулей и скорости прихода сигналов выше определенного предела [5]. Характерной особенностью данной системы сбора данных является “размытость” границ временного окна порядка 15–20 нс, т.е. при временном окне 80 нс его эффективное (рабочее) значение равно 40–50 нс. Разброс времен АГС Δtαγ для разных пикселей составляет до 10 нс (время, сравнимое с периодом выборки). Поэтому обеспечить малое временное окно (порядка 20 нс) достаточно сложно.
Системы сбора данных установок с мечеными нейтронами на основе аналоговых методов обработки сигналов могут достаточно просто масштабироваться на большое количество сигнальных входов без потери производительности и обеспечивать синхронизацию логических сигналов с высокой точностью и стабильностью. Такие системы могут иметь преимущество перед оцифровщиками входных сигналов по части скорости обработки и уменьшения потерь событий многодетекторных устройств с мечеными нейтронами, например, при регистрации сигналов с 256-пиксельного стрипового альфа-детектора (32 сигнальных канала) и с нескольких десятков гамма-детекторов. Важными могут быть также критерии энергопотребления и доступности компонентов изделия. Аппаратура серии МАВР (многоканальный амплитудно-временной регистратор) является специализированной системой управления и сбора данных, разработанной для устройств с мечеными нейтронами. Система МАВР располагается в крейте стандарта Евроконструктив (рис. 2), она построена по магистрально-модульному принципу; кросс-плата обеспечивает питание и связь между модулями. Базовые модули МАВР следующие:
- модуль гамма-каналов БГД-6 с шестью входами для регистрации сигналов с гамма-детекторов и событий (альфа-гамма-совпадений);
- модуль альфа-каналов БАД-256 с 32 входами (16 X-входов и 16 Y-входов) для выработки временных ворот и регистрации номера сработавшего пикселя альфа-детектора;
- модуль управления БПК-8 для передачи данных и управления модулями по интерфейсу RS-422 (поддерживает до восьми портов RS-422), а также управления генератором меченых нейтронов по интерфейсу RS-232; для передачи данных в ЭВМ в модуле устанавливается конвертер RS-422-USB2.0/Ethernet либо одноплатный компьютер;
- модуль высоковольтного питания БВН-8 с восемью выходами для питания ФЭУ гамма- детекторов высоким напряжением отрицатель- ной полярности и измерения температуры сцинтилляторов гамма-детекторов с помощью термодатчиков для корректировки результатов спектрометрических измерений;
- модуль высоковольтного питания БВНК-6-1А-1Н, дополнительно обеспечивающий питание альфа-детектора и предварительного усилителя альфа-детектора, питание генератора меченых нейтронов.
Рис. 2. Внешний вид специализированной системы сбора данных МАВР для устройств с мечеными нейтронами.
Первые три модуля являются базовыми для регистрации АГС. Для обеспечения требуемой скорости передачи данных используются следующие подходы:
- распараллеливание потока передаваемых данных за счет многопортовой приемопередающей системы по интерфейсу RS-422;
- использование высокоскоростного интерфейса USB 2.0 или Ethernet для передачи данных в ЭВМ;
- увеличение информационной плотности данных за счет рационального выбора разрядности измеряемых аналоговых значений и способа кодирования данных;
- использование избыточной FIFO-буферизации для организации бесперебойной записи и передачи событий;
- предварительная селекция сигналов аппаратными средствами и передача в блок обработки данных только полезных событий, отбор которых проводится при наличии сигналов от альфа- и гамма-детекторов в заданном временном и амплитудном диапазонах при отсутствии наложенных событий;
- уменьшение размера временного окна для снижения загрузки узлов обработки сигналов модулей БГД-6 и портов и канала передачи данных фоновыми событиями;
- использование контроля четности или хеш-суммы для обеспечения надежности и корректности передачи данных.
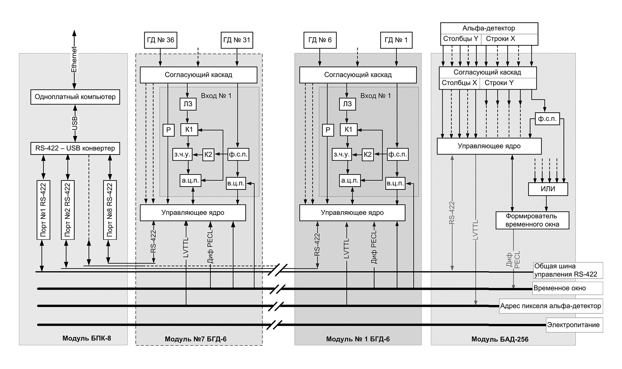
Блок-схема функционирования и взаимодействия модулей представлена на рис. 3. Связь между модулями производится по кросс-плате. Сигналы со стрипов Y и X альфа-детектора поступают в разные входные группы модуля БАД-256. Со стрипов X сигналы проходят пороговый дискриминатор, находящийся в согласующем каскаде, и поступают в кодировщик адреса пикселя. Сигналы UYn со стрипов Y проходят пороговый дискриминатор и поступают в формирователь со следящим порогом, который вырабатывает логический импульс Uα точной временной отметки прихода сигнала UYn. Импульс Uα направляется в кодировщик адреса пикселя и на схему “ИЛИ” – логического блока, вырабатывающего сигнал при появлении сигнала на любом входе. Выход схемы “ИЛИ” подключен к узлу формирователя временного окна регистрации АГС. На шину данных кросс-платы поступают логические импульсы временного окна в формате LVPECL и 12-битного кода адреса пикселя альфа-детектора в формате LVTTL, синхронизированного по времени со спадом (задним срезом) импульса временного окна. Код адреса включает также признак наложения сигналов с альфа-детектора в течение временного окна. Это позволяет анализировать наложения и режектировать их. При регистрации АГС время появления сигнала с гамма-детектора при прохождении нейтрона через исследуемый объект относительно сопутствующей нейтрону альфа-частицы зависит от времени пролета нейтрона до столкновения и времени прохождения сигнала в ФЭУ гамма-детектора. Узел формирователя временного окна в модуле БАД-256 служит для подстройки длительности и сдвига временного окна под время появления сигнала с гамма-детектора, что позволяет в случае необходимости обеспечить малый размер временного окна. Для реализации синхронизации временного окна и кода сработавшего пикселя, кодировки, записи и передачи данных используется ПЛИС 10M50SCE144I7G семейства MAX 10 фирмы Intel. При работе нейтронного генератора модуль БАД-256 измеряет, записывает во внутреннюю память и по команде передает количество срабатываний каждого пикселя. Это позволяет контролировать работу альфа-детектора и с высокой точностью измерять поток нейтронного генератора, который однозначно связан со скоростью счета пикселей альфа-детектора.
Рис. 3. Блок-схема системы МАВР: ЗЧП − зарядочувствительный (интегрирующий) усилитель, ФСП − формирователь со следящим порогом, ВЦП − время-цифровой преобразователь, АЦП − амплитудно-цифровой преобразователь.
Сигналы UГД с гамма-детекторов поступают на модули БГД-6, каждый модуль имеет шесть входов, причем каждый вход функционирует независимо и может индивидуально настраиваться под амплитудные и временные параметры сигналов с гамма-детектора. Каждый модуль подключен к кросс-плате, по которой поступают сигналы от модуля БАД-256 (логические импульсы временного окна и 12-битного кода адреса пикселя альфа-детектора). Согласующий каскад на входе производит выработку логического импульса при наложениях сигналов с гамма-детекторов с помощью дифференцирующего каскада Рдиф и разветвляет сигнал в два тракта - для временных и амплитудных измерений. Точная временная привязка прихода сигнала осуществляется формирователем со следящим порогом в тракте временных измерений, который вырабатывает логический импульс Uфсп, служащий для открытия в амплитудном тракте электронного ключа К1, через который сигнал поступает в зарядочувствительные усилители, и для старта время-цифрового преобразователя, который запускается только при наличии временного окна регистрации АГС, производимого модулем БАД-256.
Поскольку импульс Uфсп вырабатывается с определенной задержкой относительно сигнала UГД с гамма-детектора, последний проходит через линию задержки для обеспечения более полного сбора заряда. Время открытия ключа K1 для интегрирования сигнала с гамма-детектора настраивается под временные параметры гамма-детектора. По истечении интегрирования происходят измерение и передача во внутреннюю память амплитудно-цифровых преобразователей напряжения (заряда) зарядочувствительных усилителей, после чего накопительный конденсатор зарядочувствительных усилителей принудительно разряжается электронным ключом К2.
По спаду (заднему срезу) временного окна формируется стоповый импульс для время-цифрового преобразователя и запоминается код адреса сработавшего пикселя. По завершении измерения время-цифрового преобразователя формируется пятибайтовое число – комбобайт, содержащий коды напряжения на амплитудно-цифровом преобразователе, времени АГС, номера сработавшего гамма-входа, адреса сработавшего пикселя альфа-детектора. Поток комбобайтов, содержащих всю необходимую информацию об АГС, передается в буферную память FIFO объемом 65216 событий и считывается по команде с ЭВМ. Буферная память – общая для всех входов одного модуля, сигналы на каждом входе модуля БГД-6 обрабатываются независимо.
Может быть установлен режим работы модуля БГД-6, когда параллельно с набором АГС проводятся измерение зарядов всех сигналов с гамма-детектора UГД вне зависимости от наличия временного окна регистрации АГС, а также сохранение и передача данных в виде спектра для каждого входа гамма-детектора. Это позволяет проводить калибровку гамма-детекторов с помощью радиоизотопов и определять гамма-фон случайных совпадений для энергетического спектра АГС.
В качестве управляющего ядра в модуле БГД-6 используется ПЛИС 5CEBA7F23C8N семейства CyclonV фирмы Intel – микросхема с небольшим энергопотреблением, системой контроллеров твердотельной памяти и интегрированными приемо-передатчиками. На ней реализованы логические элементы отбора событий, запись, буферизация и передача АГС, запись и передача гамма-спектра без совпадений.
Модуль БПК-8 обеспечивает прием/передачу АГС с 8 портов RS-422 и передачу потока данных по интерфейсу USB2.0 или Ethernet. Модули БГД-6 подключаются по внутренней шине данных к портам RS-422 и работают на скорости передачи данных 6.125 Мбит/с. Один порт RS-422 подключен к общей шине передачи данных, которая одновременно обслуживает остальные модули - БАД-256, БВН-8, БВНК-6-1А-1Н, работающие на скорости 921600 бит/с.
Модули БГД-6 и БАД-256 позволяют устанавливать следующие параметры и режимы работы:
- нижний порог дискриминации сигналов с альфа- и гамма-детекторов от 0 до 1 В;
- режекция наложенных сигналов с гамма-детектора (вкл/выкл);
- защитное время после наложений сигналов с гамма-детектора;
- длительность сбора заряда сигнала с гамма- детектора;
- длительность в диапазоне от 20 до 80 нс и сдвиг в диапазоне от 0 до 40 нс временного окна регистрации АГС относительно сигнала с альфа-детектора;
- измерение только АГС или дополнительное измерение гамма-спектров без совпадений одновременно с измерениями АГС;
- измерение счета альфа-частиц каждым пикселем альфа-детектора.
В модуле БАД-256 импульсы точной временной отметки для формирования временного окна с каждого канала объединяются в схеме “ИЛИ”. Синхронность поступления этих импульсов относительно сигналов на входах Y модуля обеспечивает минимальный разброс значений временного окна для всех сработавших пикселей альфа-детектора. Измерение этого разброса путем регистрации времени АГС между сигналами с различных пикселей альфа-детектора и гамма-детектором показали, что отклонение времени АГС для различных Y-стрипов альфа-детектора не превышает 0.4 нс, что гораздо меньше минимального размера временного окна (20 нс).
4. ТЕСТИРОВАНИЕ ПРОИЗВОДИТЕЛЬНОСТИ СИСТЕМЫ СБОРА ДАННЫХ ПРИ ПАРАЛЛЕЛЬНОЙ ПЕРЕДАЧЕ ДАННЫХ
В идеальных условиях скорость передачи АГС с системы сбора данных в ЭВМ должна быть равна скорости их регистрации, которая должна совпадать со скоростью наработки АГС. На практике это не выполняется по следующим причинам:
- наложения сигналов с гамма-детектора, поскольку они подчиняются закону Пуассона и могут следовать через сколь угодно малые интервалы времени;
- наложения во временном окне совпадений сигналов с альфа-детектора, которые также подчиняются закону Пуассона;
- конечное мертвое время при регистрации сигналов с гамма-детектора, причем при режекции наложенных сигналов мертвое время увеличивается;
- ограниченные размер буфера и скорость порта для передачи данных;
- временные затраты на обработку и сохранение данных ЭВМ.
Для определения зависимости между скоростью поступления сигналов с детекторов ядерного излучения и скоростью передачи АГС модулями БГД-6, а также измерения предельной скорости передачи АГС были проведены тестовые эксперименты на многодетекторной установке с мечеными нейтронами для анализа горных пород, включающей генератор меченых нейтронов с 256-пиксельным альфа-детектором стрипового типа (16 X-стрипов, 16 Y-стрипов) и гамма-детекторы с BGO-сцинтиллятором диаметром 76 мм и высотой 63 мм. В связи с относительно низкой скоростью счета гамма- и альфа-детекторов в штатной геометрии установки для увеличения скорости генерации АГС четыре гамма-детектора выдвинуты в поток меченых нейтронов, причем положения гамма-детекторов были отрегулированы таким образом, что скорости регистрации АГС были примерно одинаковы для каждого гамма-детектора. Это позволяло тестировать эффективность параллельного сбора данных без поправок на индивидуальные скорости счета гамма-детекторов. Сигналы с каждого гамма-детектора поступали в модуль “Сплиттер”, представляющий собой четырехканальный повторитель-разветвитель сигналов 1 : 3, т.е. сигналы с каждого из четырех входов разветвлялись на 3 выхода модуля “Сплиттер” без изменения амплитуды и частотных характеристик сигнала. С точки зрения регистрации АГС это эквивалентно подключению к модулям БГД-6 двенадцати гамма-детекторов с почти одинаковой загрузкой.
Конфигурация системы МАВР для проведения экспериментов была аналогичной представленной на рис. 2. Гамма- и альфа-детекторы, а также нейтронный генератор питались от модуля высоковольтного питания БВНК-6-1А-1Н. Для определения предельной загрузки одного модуля БГД-6 измерялась скорость передачи АГС в ЭВМ при подключении сигналов с гамма-детекторов, прошедших через модуль “Сплиттер”, на все шесть входов модуля БГД-6 в зависимости от потока нейтронного генератора. Поскольку гамма-детекторы находились в поле меченых нейтронов, средняя скорость совпадений сигналов с альфа- и гамма-детекторов примерно пропорциональна потоку нейтронного генератора. Поток нейтронного генератора определялся по центральному пикселю альфа-детектора, который обеспечивает абсолютную погрешность измерений около 5%. Данные считывались из буферной памяти модулей БГД-6 в циклическом режиме в следующей последовательности:
- команда запроса количества событий в буфере и получение ответа;
- передача запрошенного количества событий;
- запись переданных событий в оперативную память ЭВМ.
Примерно раз в 10 секунд данные записывались в файл на жесткий диск ЭВМ и очищалась оперативная память. Из полученной зависимости скорости счета АГС от потока нейтронного генератора (рис. 4) следует, что в приведенном графике можно выделить два участка – почти линейную зависимость до достижения предельной скорости передачи около 5∙104 событий/с и пологую зависимость выше. Наличие предельного значения скорости передачи обусловлено полным заполнением буфера модуля БГД-6 между запросами количества событий в буфере из-за относительно низких скоростей передачи данных и записи данных в файл на жесткий диск. Мертвое время при регистрации АГС составляет около 2.1 мкс, а максимально достижимая скорость регистрации АГС модулем БГД-6 существенно выше предельной скорости их передачи. Например, при имитации сигналов с альфа- и гамма-детекторов с помощью генератора периодических импульсов максимальная скорость регистрации АГС составила 4.67∙105 с-1.
Рис. 4. Зависимость скорости альфа-гамма-совпадений, регистрируемых одним модулем БГД-6, от потока нейтронного генератора (а) и от количества подключенных модулей БГД-6 при потоке нейтронного генератора 7∙107 нейтронов/с (б).
Предельная скорость передачи данных в пересчете на один гамма-детектор составила более 8∙103 событий/с, что полностью перекрывает требуемые значения для практически всех известных применений устройств с мечеными нейтронами. В случае необходимости средняя скорость передачи данных может быть увеличена за счет использования оперативной памяти ЭВМ для накопления данных (без время-затратной записи их на жесткий диск).
Для измерения скорости передачи АГС при параллельном сборе данных постепенно увеличивалось количество модулей БГД-6, подключенных к приемо-передающему модулю БПК-8. Сигналы от модуля “Сплиттер” подавались на два входа каждого модуля, что эквивалентно подключению двух гамма-детекторов. Поток нейтронного генератора соответствовал максимальной скорости передачи АГС для одного модуля (рис. 4а). На рис. 4б видно, что зависимость скорости передачи АГС от количества модулей возрастала линейно, из чего можно сделать вывод об отсутствии потерь при параллельной передаче данных. Максимальная скорость передачи АГС для шести модулей составила около 3∙105 с-1.
В одном крейте может располагаться до 7 модулей БГД-6 (дополнительный модуль устанавливается вместо модуля высоковольтного питания БВНК-6-1А-1Н), что позволяет подключать до 42 гамма-детекторов. При необходимости дальнейшего увеличения количества гамма-детекторов можно наращивать количество крейтов с модулями БГД-6 с аналогичной схемой сбора данных. При этом необходимо, чтобы каждый модуль синхронно получал сигналы от модуля БАД-256 (логические импульсы временного окна и 12-битного кода адреса пикселя альфа-детектора). Технически это можно сделать путем распараллеливания электрического интерфейса модуля БАД-256 на кросс-платы других крейтов. Таким способом можно обеспечить регистрацию и передачу данных без потери качества измерения и аддитивное наращивание скорости передачи АГС при подключении практически любого количества гамма-детекторов.
5. ВЫВОДЫ
Для актуальных применений метода меченых нейтронов для поиска взрывчатых веществ в крупногабаритных объектах и транспортных средствах, обнаружения алмазов в кимберлитовой руде требуется обеспечить скорость регистрации и передачи АГС до 3∙105 с-1 при скорости прихода альфа-частицы более 6∙106 с-1 и потоке генератора меченых нейтронов 1∙108 с-1. Создана система сбора данных МАВР на основе магистрально-модульного принципа, позволяющая в одном крейте подключать до семи шестиканальных модулей БГД-6, соответственно, до 42 гамма-детекторов, с параллельным сбором данных от модулей. Каждый модуль соединен с общей кросс-платой, по которой поступают логические импульсы временного окна и 12-битного кода адреса пикселя альфа-детектора от модуля БАД-256, регистрирующего сигналы от многопиксельного альфа-детектора.
Экспериментально достигнутая предельная скорость передачи АГС при подключении шести модулей БГД-6 составила около 3∙105 с-1, что в несколько раз превышает предельную скорость передачи существующих систем сбора данных для метода меченых нейтронов. Общая скорость передачи АГС была равна сумме скоростей передачи АГС отдельными модулями, таким образом, параллельная передача данных происходила без потери аддитивности. За счет буферизации данных скорость передачи АГС линейно зависела от потока нейтронного генератора до достижения предельного значения. Возможно дальнейшее увеличение количества гамма-детекторов путем наращивания количества крейтов с модулями БГД-6 и распараллеливания электрического интерфейса модуля БАД-256 на кросс-платы других крейтов.
Модуль БАД-256 в составе МАВР дополнительно регулирует ширину и сдвиг временного окна для регистрации АГС, измеряет количество срабатываний каждого пикселя альфа-детектора. Это позволяет с высокой точностью измерять поток нейтронного генератора, который однозначно связан со скоростью счета пикселей альфа-детектора. Временное окно может быть уменьшено до 20 нс для снижения вероятности наложений сигналов альфа-детектора во временном окне, при этом разброс временной отметки для различных пикселей альфа-детектора не превышает 0.4 нс. МАВР позволяет одновременно со спектром совпадений регистрировать гамма-спектр без совпадений и по нему определять спектр фона случайных совпадений.
About the authors
В. Ф. Батяев
Всероссийский научно-исследовательский институт автоматики им. Н.Л. Духова (ФГУП “ВНИИА”); Национальный исследовательский ядерный университет “МИФИ”
Email: MDKaretnikov@vniia.ru
Russian Federation, 127055, Москва, Сущевская ул., 22; 115409, Москва, Каширское шоссе, 31
С. Г. Беличенко
Всероссийский научно-исследовательский институт автоматики им. Н.Л. Духова (ФГУП “ВНИИА”)
Email: MDKaretnikov@vniia.ru
Russian Federation, 127055, Москва, Сущевская ул., 22
М. Д. Каретников
Всероссийский научно-исследовательский институт автоматики им. Н.Л. Духова (ФГУП “ВНИИА”); Национальный исследовательский ядерный университет “МИФИ”
Author for correspondence.
Email: MDKaretnikov@vniia.ru
Russian Federation, 127055, Москва, Сущевская ул., 22; 115409, Москва, Каширское шоссе, 31
А. Д. Мазницин
Всероссийский научно-исследовательский институт автоматики им. Н.Л. Духова (ФГУП “ВНИИА”)
Email: MDKaretnikov@vniia.ru
Russian Federation, 127055, Москва, Сущевская ул., 22
А. Ю. Пресняков
Всероссийский научно-исследовательский институт автоматики им. Н.Л. Духова (ФГУП “ВНИИА”)
Email: MDKaretnikov@vniia.ru
Russian Federation, 127055, Москва, Сущевская ул., 22
References
- Barmakov Yu., Batyaev V., Bogolyubov E., Gavryuchenkov A., Karetnikov M., Ryzhkov V., Yurkov D. // RAD Conference Proceedings. 2016. V. 1. P. 40. http://doi.org/10.21175/RadProc.2016.11
- Быстрицкий В.М., Замятин Н.И., Зубарев Е.В., Рапацкий В.Л., Рогов Ю.Н., Романов И.В., Садовский А.Б., Саламатин А.В., Салмин Р.А., Сапожников М.Г., Сафонов М.В., Седин А.Н., Слепнев В.М., Шмелев А.В. // Сборник докладов международной научно- технической конференции “Портативные генераторы нейтронов и технологии на их основе”. М.: ВНИИА, 2012. C. 538.
- Perot B., Carasco C., Bernard S., Mariani A., Szabo J.-L., Sannie G., Roll Th., Valkovic V., Sudac D., Viestid G., Lunardon M., Botosso C., Fabris D., Nebbia G., Pesente S. // Nucl. Instrum and Methods. 2008. V. A588. P. 307. https://doi.org/10.1016/j.nima.2008.01.097
- Fontana C., Carnera A., Lunardon M., Pino F., Sada C., Soramel F., Stevanato L., Nebbia G., Carasco S., Perot B., Sardet A., Sannie G., Iovene A., Tintori C., Grodzicki K., Moszyński M., P. Sibczyński, Swiderski L., Moretto S. // International Journal of Modern Physics: Conference Series. 2018. V. 48. P. 1860125-1. https://doi.org/10.1142/S2010194518601254
- Bystritsky V.M., Nikitin G.M., Rogov Yu.N., Sadovsky A.B., Sapozhnikov M.G. // Proceedings of International Mineral Processing Council IMPC 2018. Canadian Institute of Mining, Metallurgy and Petroleum, 2019. P. 683.
- Сапожников М.Г. // Сборник докладов международной научно-технической конференции “Портативные генераторы нейтронов и технологии на их основе”. М.: ВНИИА, 2012. C. 582.
- Barmakov Yu., Batyaev V., Bogolyubov E., Gavryuchenkov A., Karetnikov M., Yurkov D., Ryzhkov V. // RAD Conference Proceedings. 2016. V. 1. P. 40. http://doi.org/10.21175/RadProc.2016.11
- Григорьев В.А., Колюбин А.А., Логинов В.А. Электронные методы ядерно-физического эксперимента. М.: Энергоатомиздат, 1988.
- Lunardon M., Bottosso C., Fabris D., Moretto S., Nebbia G., Pesente S., Viesti G., Bigongiary A., Colonna A., Tintori C., Valcovich V., Sudac D., Peerani P., Sequeira V., Salvano M. // Nuclear Instruments and Methods in Physics Research. 2007. V. 261. P. 391. https://doi.org/10.1016/j.nimb.2007.03.072
- Fontana C., Carnera A., Lunardon M., Pino F., Sada C., Soramel F., Stevanato L., Nebbia G., Carasco S., Perot B., Sardet A., Sannie G., Iovene A., Tintori C., Grodzicki K., Moszyński M., Sibczyński P., Swiderski L., Moretto S. // Physics Procedia. 2017. V. 90. P. 279. https://doi.org/10.1016/j.phpro.2017.09.010
- Ruskov I., Kopach Yu., Bystritsky V., Skoy V., Grozdanov D., Fedorov N., Tretyakova T., Aliev F., Hramco C., Slepnev S., Zamyatin N., Gandhi A., Wang D., Kumar A., Zubarev E., Bogolubov E., Barmakov Yu. // EPJ Web of Conferences. 2021. V. 256. Р. 00014. https://doi.org/10.1051/epjconf/202125600014
Supplementary files






