Электростатическая линза для коррекции пучка ионов магнетронного источника
- Authors: Терентьев А.А.1
-
Affiliations:
- Национальный исследовательский центр “Курчатовский институт”
- Issue: No 2 (2024)
- Pages: 93–95
- Section: ОБЩАЯ ЭКСПЕРИМЕНТАЛЬНАЯ ТЕХНИКА
- URL: https://medbiosci.ru/0032-8162/article/view/266094
- DOI: https://doi.org/10.31857/S0032816224020114
- EDN: https://elibrary.ru/QSNDBV
- ID: 266094
Cite item
Full Text
Abstract
Описаны принципиальная схема и конструкция электростатической линзы для коррекции и дополнительной фокусировки пучка, выходящего из источника ионов магнетронного типа. Представлен чертеж такой линзы.
Full Text
1. Введение. Постановка задачи
В физических экспериментах ионные пучки небольшой интенсивности часто получают при помощи источника магнетронного типа. Этим источникам присущ следующий недостаток: рассеянное магнитное поле отклоняет пучок в горизонтальной плоскости, ионы выходят не по радиусу цилиндра-катода. Такое отклонение показано на рис. 1a. Корпус источника 5 находится под ускоряющим потенциалом Uacc, а входной патрубок 6 — под потенциалом земли.
Рис. 1. Отклонение ионного пучка в магнетронном источнике в горизонтальной плоскости: 1 — газоразрядная камера, 2 — магнитное поле, 3 — нить накала (катод), 4 — выходная щель, 5 — корпус источника (анод), 6 — входной патрубок установки, 7 — ионный пучок.
Для компенсации этого отклонения и фокусировки пучка была разработана электростатическая линза, результат работы которой показан на рис. 1б. Видно, что после коррекции пучок идет строго по радиусу катода и дополнительно фокусируется.
Значение Uacc в установке составляло от 800 В до 1.2 кВ и менялось, исходя из требований эксперимента, номинальное значение магнитного поля в источнике составляло B0 = 100 Гс. Требовалось обеспечить возможно лучшую фокусировку в указанном диапазоне Uacc при отклонении величины B0 от номинального значения на ±5 Гс.
При этом расхождение пучка в вертикальной плоскости изначально было приемлемым (рис. 2а) из-за большого размера входного окна установки. Поэтому линза должна была, по крайней мере, не ухудшать фокусировку в этом направлении. Но удалось добиться значительного улучшения фокусировки и в вертикальной плоскости (рис. 2б).
Рис. 2. Расхождение ионного пучка в вертикальной плоскости.
При разработке линзы было выдвинуто требование максимальной простоты ее изготовления. В качестве основного материала было решено использовать пластину из стали Х18Н10Т толщиной 0.8 мм.
2. Электростатическая схема
Сначала была разработана общая электростатическая схема линзы. После рассмотрения нескольких вариантов остановились на схеме, показанной на рис. 3. Она состоит из двух П-образных потенциальных электродов 2 и 3, двух плоских земляных электродов 1 и 4 и выходной диафрагмы 5. Диафрагма находится под потенциалом Uacc, а электроды 2 и 3 — под некоторыми потенциалами, меньшими Uacc и пропорциональными последнему.
Рис. 3. Электростатическая схема линзы.
Далее был проведен подбор оптимальной геометрии электродов и значений потенциалов на них. Для этого выполнялось моделирование траекторий ионов программой SIMION 7.0 [1]. Подбором геометрии удалось добиться того, что оба потенциальных электрода находятся под одним потенциалом UL; UL — единственный параметр, изменение которого возможно в процессе эксплуатации, он настраивается из соображений лучшей фокусировки.
Задача моделирования осложнялась тем, что, к сожалению, область, из которой выходят ионы, точно неизвестна. Кроме того, ионы стартуют из разряда не точно по радиусу цилиндра, а имеют некоторое распределение по направлениям (углам), которое тоже неизвестно.
Было проведено моделирование траекторий ионов для разных точек старта и различных начальных направлений. Оно показало, что эти параметры мало влияют на общую картину. Фокусировка пучка сохраняется, размеры электродов приходится изменять в пределах точности изготовления, напряжение лучшей фокусировки меняется незначительно. В реальном же пучке будут присутствовать ионы, вышедшие из различных точек и под разными начальными углами. Поэтому исходный пучок (без линзы) будет более широким и размытым, чем на рис. 1а.
Полученные при моделировании размеры электродов приведены на рис. 3. Лучшая фокусировка была получена при UL = 0.16Uacc, именно она показана на рис. 1б.
3. Конструкция
Конструктивно линза представляет собой электростатический блок, закрепленный в корпусе. Конструкция блока показана на рис. 4. Потенциальные электроды 2 и 3 были соединены между собой двумя винтами М3 и составляли единый узел. К этому узлу были приклеены фарфоровые пластины 6 и 7, которые накладывались на несущие площадки земляных электродов 1 и 4 и тоже приклеивались. Выходная диафрагма 5 крепилась к ушкам малого потенциального электрода при помощи двух фарфоровых трубок 8 диаметром 2 мм. Эта часть конструкции также склеивалась. Таким образом, блок содержал всю электростатическую часть линзы. При сборке блок юстировался.
Рис. 4. Электростатический блок.
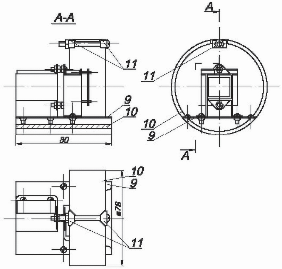
В нижней части земляных электродов были выполнены опорные площадки, с помощью которых этот узел закреплялся тремя винтами М3 на несущей пластине 9 (рис. 5), которая ранее была установлена в корпусе 10.
Рис. 5. Конструкция линзы.
Линза предназначалась для действующей установки и размещалась в трубе внутреннего диаметра 80 мм, где не было никаких элементов для ее крепления. Для решения этой проблемы был разработан способ крепления, получивший название “труба в трубе”. Корпус был выполнен разрезным из отрезка трубы диаметром 78 мм. В разрез были вставлены два клина 11, которые стягивались винтом М4. Вся конструкция устанавливалась в нужное место трубы, после чего затягивался винт. Корпус разжимался и фиксировался.
4. Результаты
Линза была изготовлена и испытана. При испытании измерялся ток пучка на зонд, установленный около выходного среза входного патрубка 6 (рис. 1). Размеры зонда были такие же, что и у входного окна рабочей части установки, 18×16 мм2. При Uacc =1000 В ток источника I без линзы составлял 0.48 мА, а с линзой 2.1 мА, т.е. увеличивался более чем в 4 раза. Лучшая фокусировка достигалась при UL=0.15Uacc (рис. 6а). При этом изменение UL от 0.14Uacc до 0.16Uacc изменяло I меньшея чем на 5%. Изменение магнитного поля в источнике тоже слабо влияло на I (рис. 6б). Для других значений Uacc картина оставалась практически той же.
Рис. 6. Изменение тока пучка при отклонении напряжения на линзе (a), магнитного поля в источнике (б).
В настоящее время описанная линза используется на действующей установке и хорошо выполняет свои функции. Ее использование с магнетронным источником оказалось вполне оправданным. Возможно, подобная линза может быть использована и в других случаях для коррекции ионных пучков, проходящих через области слабого магнитного поля.
About the authors
А. А. Терентьев
Национальный исследовательский центр “Курчатовский институт”
Author for correspondence.
Email: Terentev_AA@nrcki.ru
Russian Federation, 123098, Москва, пл. Академика Курчатова, 1
References
- Computer code SIMION 3D Version 7.0 Sci. Instrum. Services, Ringoes, NJ 08551, USA.
Supplementary files








