Acceleration of shear flow ina viscoplastic half-plane with a depth-varying yield stress
- Authors: Georgievskii D.V.1,2,3, Banko V.A.1
-
Affiliations:
- Lomonosov Moscow State University
- Ishlinsky Institute for Problems in Mechanics RAS
- Moscow Center of Fundamental and Applied Mathematics
- Issue: Vol 88, No 1 (2024)
- Pages: 95-103
- Section: Articles
- URL: https://medbiosci.ru/0032-8235/article/view/260217
- DOI: https://doi.org/10.31857/S0032823524010071
- EDN: https://elibrary.ru/YUONUJ
- ID: 260217
Cite item
Full Text
Abstract
The problem of acceleration from a state of rest of a shear flow in a viscoplastic half-plane is studied analytically when a tangential stress is specified at the boundary. It is assumed that the dynamic viscosity and density of the medium are constant, and the yield stress can change in a continuous or discontinuous manner depending on the depth. The entire half-plane at any moment of time consists of previously unknown layers where shear flow occurs and rigid zones. The latter can move as a rigid whole, or they can be motionless, such as, for example, a half-plane, to which disturbances caused by the action of tangential forces have not yet reached. To find the stress and velocity fields, a method is developed based on quasi-self-similar diffusion-vortex solutions of parabolic problems in areas with moving boundaries. The question of what conclusions about the depth distribution of the yield stress can be drawn from available measurements of the velocity of the half-plane boundary is discussed.
Full Text
- Диффузия вихревого слоя в вязкопластической полуплоскости. В работе [1] ставится и исследуется начально-краевая задача о нестационарном сдвиговом течении несжимаемой вязкопластической среды с плотностью , динамической вязкостью и пределом текучести в полуплоскости
(1.1)
Тензорно-линейные определяющие соотношения двухконстантного тела Бингама, связывающие декартовы компоненты девиатора напряжений и тензора скоростей деформаций , в силу несжимаемости совпадающего со своим девиатором, принимаются в виде
(1.2)
Кинематика и напряженное состояние при нестационарном одномерном сдвиге в условиях плоской деформации характеризуются единственной отличной от нуля компонентой скорости и единственной ненулевой компонентой девиатора напряжений . Интенсивность скоростей деформаций имеет вид .
Изначально вся полуплоскость покоилась, а начиная с момента времени на границе действует заданное касательное напряжение
(1.3)
где — функция Хевисайда, — неотрицательная, кусочно-непрерывная, монотонно неубывающая функция, ограниченная при конечных . Обозначим через момент времени такой, что при . Величину называют пределом текучести при сдвиге.
Вся полуплоскость (1.1) в любой момент состоит из двух частей [2]: и . Зона сдвигового течения представляет собой расширяющийся со временем слой
(1.4)
где — определяемая в процессе решения монотонно возрастающая функция; . При подобласть отсутствует.
Остальная часть полуплоскости — неподвижная полуплоскость
(1.5)
занятая жесткой зоной. В ней вплоть до бесконечности по .
Таким образом, в зоне сдвига имеет место система уравнений
(1.6)
с граничными условиями (1.3) и
(1.7)
Начальных условий ставить не требуется, поскольку в момент начала сдвига толщина слоя равна нулю, т. е. .
В жесткой зоне вместо уравнений (1.6) справедлива система
(1.8)
с одним граничным условием . Разыскиваются функции и соответственно классов и во всей полуплоскости (1.1), занятой вязкопластическим материалом. Из указанных требований непрерывности и системы (1.8) следует неподвижность жесткой полуплоскости и равенство всюду в ней.
В качестве дополнительного условия для нахождения подвижной границы принимается следующее альтернативное в теории задач Стефана [3] требование к решению. Оно при любых фиксированных и должно стремиться к решению соответствующей задачи вязкого течения (задачи о диффузии вихревого слоя в ньютоновской вязкой полуплоскости) в предельном переходе . Это означает, что вязкое течение должно быть устойчивым по отношению к малому возмущению предела текучести среды.
Выпишем [1] точное решение поставленной начально-краевой задачи в области сдвигового течения в случае, когда в (1.3)
(1.9)
где — приложенное касательное напряжение, разумеется, большее чем . При этом . Имеем
(1.10)
где — кинематическая вязкость; — классическая в параболических задачах автомодельная переменная; — дополнительная функция ошибок; — постоянная величина (), которая находится из алгебраического уравнения
(1.11)
Интегрируя второе уравнение (1.6) с граничным условием , найдем профиль скорости
(1.12)
(1.13)
Скорость границы слоя (1.4) неограниченно растет пропорционально .
Заметим, что известное автомодельное решение, называемое диффузией вихревого слоя в ньютоновской вязкой жидкости, получается из (1.10), (1.12) и (1.13) в пределе . При этом в любой момент времени области (1.1) и (1.4) совпадают, а жесткая зона (1.5) отсутствует.
- Зависимость предела текучести от глубины. Рассмотрим случай неоднородной вязкопластической среды, занимающей область (1.1), когда предел текучести при сдвиге — заданная неотрицательная кусочно-непрерывная функция координаты , в то время как динамическая вязкость , плотность , а следовательно, и кинематическая вязкость — как и ранее, постоянные величины. На границе полуплоскости , по-прежнему, задано касательное напряжение (1.3), (1.9) в виде ступеньки Хевисайда.
Распределение жестких зон по глубине в каждый момент времени , естественно, зависит от вида функции , в частности от ее монотонности. Вязкопластический сдвиг может реализовываться не только в расширяющемся со временем слое (1.4), но и в более сложных образованиях, состоящих из нескольких слоев, способных смыкаться и расходиться друг от друга. То же можно сказать и о наборе жестких зон по толщине.
В любой момент сдвиговое течение имеет место при значениях , удовлетворяющих алгебраическому неравенству
(2.1)
Точки, находящиеся внутри жестких зон, неподвижных либо движущихся поступательно как твердое целое, имеют координаты , удовлетворяющие обратному к (2.1) неравенству
(2.2)
В зонах сдвигового течения вид касательного напряжения , как следует из системы уравнений (1.6), совпадает с распределением (1.10). Из системы же (1.8) можно заключить, что в жестких зонах касательное напряжение — линейная функция от , восстанавливаемая очевидным образом так, чтобы функция была непрерывной на всей полуоси .
Поясним сказанное графически. На рис. 1 для двух моментов времени и () и фиксированного непрерывного по глубине распределения предела текучести приведены профили касательного напряжения и . Прямолинейные отрезки и предельные горизонтальные лучи на графиках соответствуют областям жестких зон, а криволинейные участки — областям вязкопластического сдвига, в которых решение описывается выражением (1.10).
Рис. 1
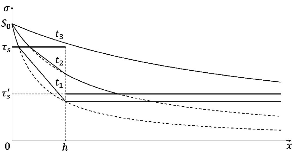
На рис. 2 и 3 приведены случаи кусочно-постоянных функций , т. е. слоистых композитов. Выбраны три характерных момента , и (), для которых построены профили касательного напряжения , и . Эти профили на определенных интервалах по включают в себя прямолинейные отрезки и предельные лучи, соответствующие жестким слоям и полуплоскостям.
Рис. 2
Рис. 3
Поскольку рассматриваемая задача статически определима, по известной функции из определяющего соотношения (1.6) и требования того, что в жесткой зоне скорость постоянна по , восстанавливается профиль скорости . Для любого конечного момента времени интегрирование уравнения
(2.3)
с уже известной правой частью начинается с последней по глубине зоны сдвигового течения, у которой одна из границ примыкает к неподвижной полуплоскости. Непрерывно-дифференцируемая по функция находится последовательно по слоям по направлению из глубины к границе . Характерный профиль скорости в случае непрерывного распределения предела текучести приведен на рис. 4.
Рис. 4
- Определение недоступных для измерения параметров по движению границы. Рассмотрим аналитически подробнее случай слоистого композита (рис. 2) с кусочно-постоянным распределением предела текучести
(3.1)
где — неизвестная толщина примыкающего к границе менее жесткого слоя, причем параметры и не доступны для прямого измерения.
Выделим три интервала времени: , и , где моменты и находятся из условий
(3.2)
а — по-прежнему корень уравнения (1.11). На рис. 2 кривые и проходят соответственно через нижнюю и верхнюю точки разрыва функции (3.1).
1°. На первом интервале времени решения для касательного напряжения и продольной скорости совпадают с (1.10) и (1.12). При этом скорость границы имеет вид (1.13).
2°. На втором интервале толщина области сдвига не меняется со временем и равна . Непрерывный по профиль касательного напряжения следующий:
(3.3)
Как видно из (3.2) и (3.3), с момента до момента функция времени возрастает от значения до .
Поскольку на втором временном интервале оба граничных условия для функции заданы на фиксированных по границах и не зависят от :
(3.4)
профиль скорости перестраивается с (1.12) и начинает стремиться к отрезку
(3.5)
соответствующему стационарному сдвиговому движению среды.
Точное решение для имеет следующий вид:
(3.6)
(3.7)
Сравнивая выражения (1.12) и (3.6), заметим, что
(3.8)
Кроме того, если , т.е. , то имеет место стремление к прямолинейному профилю (3.5):
(3.9)
3°. На третьем интервале толщина области вновь начинает увеличиваться, начиная с . Профиль касательного напряжения имеет вид
(3.10)
где — постоянная величина, определяемая из алгебраического уравнения
(3.11)
Так как , то .
Продольная скорость находится в результате интегрирования по уравнения
(3.12)
с граничным условием и разрывным пределом текучести (3.1).
Таким образом, в момент происходит еще одна после перестройка профиля скорости и, в частности, скорости границы , считающейся доступной для измерения. Характерный график функции на всем временном интервале приведен на рис. 5. Находя из наблюдения за движением границы времена и , можно из формул (3.2) последовательно вычислить сначала , а затем , т. е. не доступные для прямого измерения толщину вязкопластического слоя, примыкающего к границе, и предел текучести глубинно залегающей среды. Эти данные могут быть полезны в различного рода гидро- и геофизических приложениях.
Рис. 5
Работа выполнена при поддержке Российского научного фонда (проект 22-21-00077).
About the authors
D. V. Georgievskii
Lomonosov Moscow State University; Ishlinsky Institute for Problems in Mechanics RAS; Moscow Center of Fundamental and Applied Mathematics
Author for correspondence.
Email: georgiev@mech.math.msu.su
Russian Federation, Moscow; Moscow; Moscow
V. A. Banko
Lomonosov Moscow State University
Email: mr.banko.vlad@mail.ru
Russian Federation, Moscow
References
- Banko V.A., Georgievskii D.V. Quasi-self-similar solutions of some parabolic problems in the theory of viscoplastic flow // Moscow Univ. Mech. Bull., 2023, vol. 78, no. 4, pp. 102–109.
- Ogibalov P.M., Mirzadzhanzade A.Kh. Nonsteady Motions of Viscoplastic Media. Moscow: Moscow Univ. Press, 1977. (in Russian)
- Meirmanov A.M. The Stefan Problem. Novosibirsk: Nauka, 1986. (in Russian)
Supplementary files







