Technology of experiments on non-thermal effects of powerful lectromagnetic pulses on natural and artificial environments
- Autores: Vdovin V.A.1, Denisov R.A.1, Sapetckii S.A.1, Cherepenin V.A.1
-
Afiliações:
- Kotelnikov Institute of Radioengineering and Electronics, Russian Academy of Sciences
- Edição: Volume 68, Nº 9 (2023)
- Páginas: 910-916
- Seção: К 70-ЛЕТИЮ ИРЭ ИМ. В.А. КОТЕЛЬНИКОВА РАН
- URL: https://medbiosci.ru/0033-8494/article/view/138425
- DOI: https://doi.org/10.31857/S0033849423090267
- EDN: https://elibrary.ru/SILADT
- ID: 138425
Citar
Texto integral
Resumo
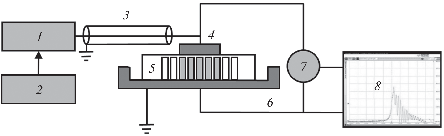
The features of the technology of experiments on the non-thermal effects of high-power nanosecond pulses are considered using the example of a setup used to modify biological media and other objects with heterogeneous electrophysical characteristics. An experimental setup has been created to study the non-thermal effects of high-power pulses on samples of various materials, which generates pulses with a repetition frequency of up to 500 Hz, amplitude up to 60 kV and duration 5 ns. Simulation of transient processes in the equivalent electrical circuit of the load was carried out, and a biological one was used as a load material placed in a microplate.
Sobre autores
V. Vdovin
Kotelnikov Institute of Radioengineering and Electronics, Russian Academy of Sciences
Email: vdv@cplire.ru
Moscow, 125009 Russia
R. Denisov
Kotelnikov Institute of Radioengineering and Electronics, Russian Academy of Sciences
Email: vdv@cplire.ru
Moscow, 125009 Russia
S. Sapetckii
Kotelnikov Institute of Radioengineering and Electronics, Russian Academy of Sciences
Email: vdv@cplire.ru
Moscow, 125009 Russia
V. Cherepenin
Kotelnikov Institute of Radioengineering and Electronics, Russian Academy of Sciences
Autor responsável pela correspondência
Email: vdv@cplire.ru
Moscow, 125009 Russia
Bibliografia
- Медико-биологические аспекты миллиметрового излучения низкой интенсивности / Под ред. Н.Д. Девяткова. М.: ИРЭ АН СССР, 1987.
- Applications of High-Power Microwaves. / Ed. A.V. Gaponov-Grekhov, V.L. Granatstein. L.: Artech House, 1994.
- Месяц Г.А. Эктоны. Екатеринбург: Наука, 1993. Ч. 3.
- Месяц Г.А., Яландин М.И. // Успехи физ. наук. 2005. Т. 175. № 3. С. 225.
- Девятков Н.Д., Чернов З.С., Бецкий О.В. и др. // Биофизика. 1982. Т. 28. № 3. С. 558.
- Девятков Н.Д., Плетнев С.Д., Чернов З.С. и др. // Докл. РАН. 1994. Т. 336. № 6. С. 826.
- Девятков Н.Д., Плетнев С.Д., Бецкий О.В. и др. // Биомедицинская радиоэлектроника. 2000. № 10. С. 29.
- Большаков М.А., Бугаев С.П., Гончарик А.О. и др. // Докл. РАН. 2000. Т. 371. № 5. С. 691.
- Чантурия В.А., Гуляев Ю.В., Лунин В.Д. и др. // Докл. РАН. 1999. № 5. С. 680.
- Чантурия В.А., Бунин И.Ж., Лунин В.Д. и др. // Физико-технич. проблемы разработки полезных ископаемых. 2001. № 4. С. 95.
- Вдовин В.А., Гуляев Ю.В., Чантурия В.А., Черепенин В.А. // РЭ. 2005. Т. 50. № 9. С. 1129.
- Котов Ю.А., Месяц Г.А., Филатов А.Л. и др. // Докл. РАН. 2000. Т. 372. № 5. С. 654.
- Вдовин В.А., Осипов Б.П., Черепенин В.А. // Тр. X Всерос. школы-семинара “Физика и применение микроволн”. Звенигород Моск. обл., 2005. Секция 6. С. 11.
- Ключник A.B., Пирогов Ю.А., Солодов A.B. // РЭ. 2011. Т. 56. № 3. С. 375.
- Грибский М.П., Григорьев Е.В., Старостенко В.В. и др. // Прикладная радиоэлектроника. 2006. Т. 5. № 2. С. 294.
- Hong J.I., Hwang S.M., Huh C.S. // J. Electromagn. Waves Appl. 2008. V. 22. P. 2451.
- Вдовин В.А., Гераськин А.А., Горбоконенко П.А. и др. // Журн. радиоэлектроники. 2020. № 11. https://doi.org/10.30898/1684-1719.2020.11.13
- Гуляев Ю.В., Черепенин В.А., Вдовин В.А. и др. // РЭ. 2015. Т. 60. № 10. С. 1051.
- Гуляев Ю.В., Черепенин В.А., Вдовин В.А. и др. // РЭ. 2020. Т. 65. № 2. С. 189.
- Гуляев Ю.В., Черепенин В.А., Таранов И.В. и др. // РЭ. 2016. Т. 61. № 1. С. 61.
- Costa J.A., de Oliveira P.X., Pereira L.S. et al. // IEEE Trans. 2021. V. DEI-28. № 6. C. 1850.
Arquivos suplementares









