On the Features of Calculating Linear Parameters and Characteristics of Multi-Wire Transmission Lines
- Authors: Maksimov A.E.1, Kuksenko S.P.1
-
Affiliations:
- Tomsk State University of Control Systems and Radioelectronics
- Issue: Vol 68, No 12 (2023)
- Pages: 1184-1201
- Section: ЭЛЕКТРОНИКА СВЧ
- URL: https://medbiosci.ru/0033-8494/article/view/243610
- DOI: https://doi.org/10.31857/S0033849423120136
- EDN: https://elibrary.ru/AGAMTZ
- ID: 243610
Cite item
Full Text
Abstract
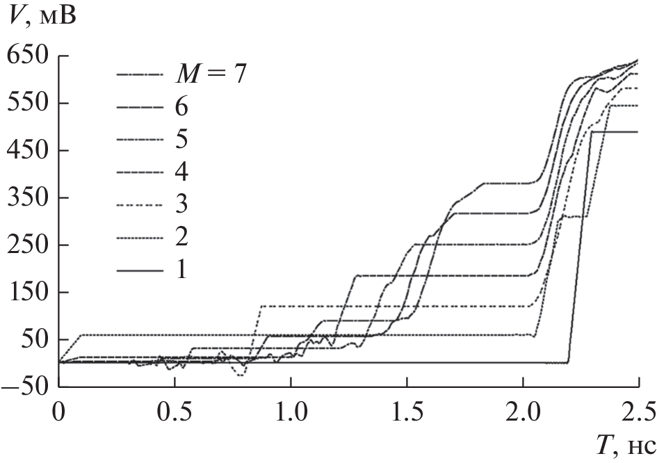
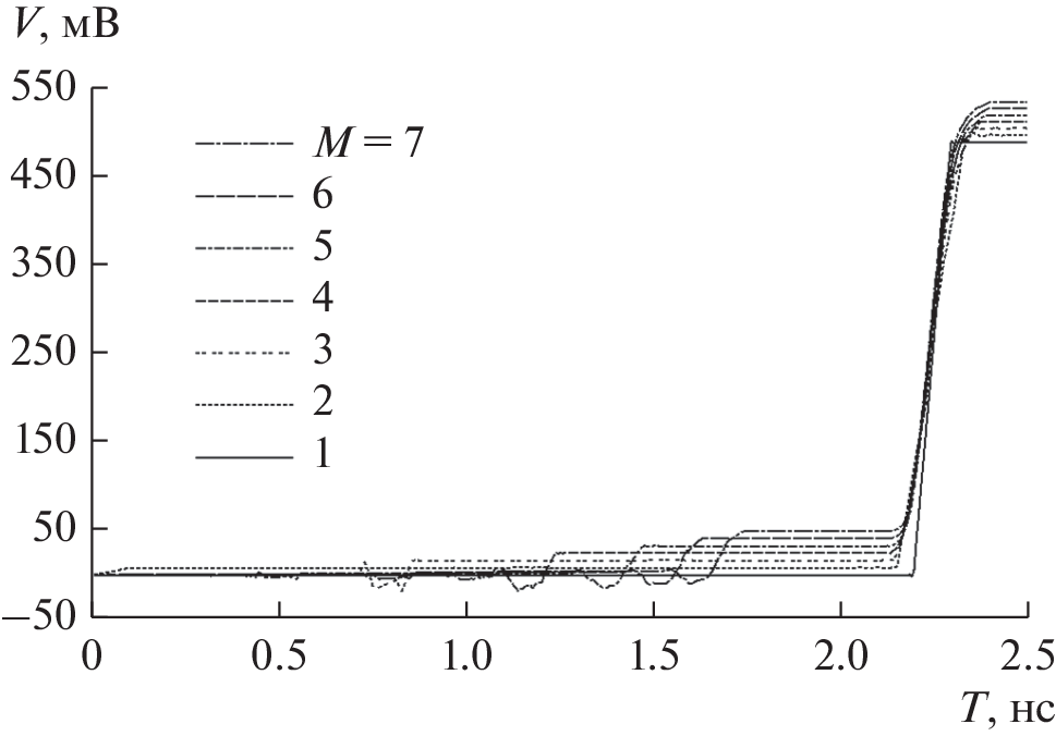
The features of calculating the matrices of linear parameters and characteristics of multi-wire transmission lines have been considered. The method of calculation of the matrices of primary linear parameters of multi-wire transmission lines has been presented. The criteria for the accuracy of the calculation of the capacitive matrix have been formulated. It has been noted that it is necessary to accurately account for the mutual influence between the transmission line conductors for a correct estimation of the distortions of the
signals propagated in it. The influence of the linear parameters of multi-wire transmission lines on responses and eye diagrams at the end of their active conductors has been demonstrated. The influence of the distances from the extreme conductors to the boundaries of the cross-sections of transmission lines on the accuracy of
calculating their capacitive matrices has been studied. Using the method of moments, it has been shown that known approaches to determining these distances do not always give accurate or efficient results. On the example of several transmission lines with different numbers of dielectric layers and conductors, as well as with the screen and without it, the minimum values of this distance at which it is possible to achieve an accurate and efficient calculation of their capacitive matrices have been determined.
About the authors
A. E. Maksimov
Tomsk State University of Control Systems and Radioelectronics
Email: mae@tusur.ru
Tomsk, 634034 Russia
S. P. Kuksenko
Tomsk State University of Control Systems and Radioelectronics
Author for correspondence.
Email: mae@tusur.ru
Tomsk, 634034 Russia
References
- Paul C.R. Analysis of Multiconductor Transmission Lines. N.Y.: Wiley-IEEE Press, 2008.
- Yordanov H., Ivrlac M., Nossek J., Russer P. // 2007 Europ. Microwave Integrated Circuit Conf. Munich. 8–10 Oct. N.Y.: IEEE, 2007. P. 579. https://doi.org/10.1109/EMICC.2007.4412779
- Johnson H.W., Graham M. High-Speed Signal Propagation: Advanced Black Magic. Hoboken: Prentice Hall, 2003.
- Джорджевич А.Р., Саркар Т.К., Харрингтон Р.Ф. // ТИИЭР. 1987. Т. 75. № 6. С. 7.
- Tesche F., Ianoz M., Karlsson T. EMC Analysis Methods and Computational Models. N.Y.: John Wiley & Sons, 1996.
- Заболоцкий А.М., Газизов Т.Р. Временной отклик многопроводных линий передачи. Томск: Томский гос. ун-т, 2007.
- Кечиев Л.Н. Проектирование печатных плат для цифровой быстродействующей аппаратуры. М.: ООО “Группа ИДТ”, 2007.
- Montrose M.I. EMC and the Printed Circuit Board: Design, Theory, and Layout Made Simple. N.Y.: Wiley-IEEE Press, 2004.
- Russ S.H. Signal Integrity: Applied Electromagnetics and Professional Practice. L.: Springer Nature, 2022.
- Thierauf S.C. High-Speed Circuit Board Signal Integrity. Norwood: Artech House Publishers, 2004.
- Broyde F., Clavelier E. // IEEE Trans. 2005. V. CSI-52. № 2. P. 405. https://doi.org/10.1109/TCSI.2004.841596
- Wu R.-B., Chao F.-L. // IEEE Trans. 1995. V. CPMT-18. № 4. P. 644. https://doi.org/10.1109/96.475270
- Guo W.-D., Shiue G.-H., Lin C.-M., Wu R.-B. // IEEE Trans. 2006. V. MTT-54. № 4. P. 1379. https://doi.org/10.1109/TMTT.2002.871913
- Rotgerink J.L., Serra R., Leferink F. // IEEE Trans. 2021. V. EMC-63. № 4. P. 1231. https://doi.org/10.1109/TEMC.2020.3040689
- Cai R., Yang S. // Energies. 2022. V. 15. № 10. P. 3501. https://doi.org/10.3390/EN15103501
- Гизатуллин З.М., Гизатуллин Р.М., Нуриев М.Г. // РЭ. 2021. Т. 66. № 6. С. 609. https://doi.org/10.31857/S0033849421060103
- Гизатуллин З.М., Гизатуллин Р.М., Шкиндеров М.С., Архипов А.О. // Докл. ТУСУР. 2019. Т. 22. № 3. С. 13. https://doi.org/10.21293/1818-0442-2019-22-3-13-17
- Xoвpaтoвич B.C. // PЭ. 1975.T. 20. № 3. C. 468.
- Amemiya H. // RCA Review. 1967. V. 28. № 2. P. 241.
- Влостовский Э.Г. // Радиотехника. 1967. Т. 22. № 4. С. 28.
- Paul C.R. Transmission Lines in Digital Systems for EMC Practitioners. N.Y.: Wiley-IEEE Press, 2012.
- Surovtsev R.S., Nosov A.V., Gazizov T.R. // Electrica. 2022. № 22. P. 84. https://doi.org/10.5152/electr.2021.21062
- Аполлонский С.М. Дифференциальные уравнения математической физики в электротехнике. СПб.: Питер, 2012.
- Sadiku M.N.O. Numerical Techniques in Electromagnetics. Boca Raton: CRC Press, 2019.
- Wei C., Harrington R.F., Mautz J.R., Sarkar T.K. // IEEE Trans. 1984. V. MTT-32. № 4. P. 439. https://doi.org/10.1109/TMTT.1984.1132696
- Lupo G., Petrarca C., Vitelli M., Tucci V. // IEEE Trans. 2002. V. DEI-9. № 3. P. 467. https://doi.org/10.1109/TDEI.2002.1007711
- Sumant P., Cangellaris A. // Int. J. Numerical Modelling. 2007. V. 20. № 5. P. 253.
- You Y., Palusinski O.A., Szidarovszky F. // IEEE Trans. 1999. V. MTT-47. № 6. P. 798. https://doi.org/10.1109/22.769353
- Venkataraman J., Rao S.M., Djordjevic A.R. et al. // IEEE Trans. 1985. V. MTT-33. № 10. P. 952. https://doi.org/10.1109/TMTT.1985.1133155
- Pan G.W., Wang G., Gilbert B.K. // IEEE Trans. 1992. V. CSI-39. № 11. P. 955. https://doi.org/10.1109/81.199876
- Musa S.M., Sadiku M.N.O. // Int. J. Engineering Research and Development. 2014. V. 10. № 3. P. 87.
- Khebir A., Kouki A., Mittra R. // J. Electromagnetic Waves and Applications. 1990. V. 4. № 2. P. 145. https://doi.org/10.1163/156939390X00041
- Maksimov A.E., Kuksenko S.P. // IEEE Trans. 2022. V. EMC-64. № 5. P. 1514. https://doi.org/10.1109/TEMC.2022.3175717
- Zhu B., Lu J., Zhu M., Jiang M. // 2015 10th Electromagnetic Compability of Integrated Circuits (EMC Compo). Edinburgh. 10–13 Nov. N.Y.: IEEE, 2015. P. 87.
- Özgün Ö., Kuzuoğlu M. MATLAB-based Finite Element Programming in Electromagnetic Modeling. Boca Raton: CRC Press, 2018.
- Rosloniec S. Fundamental Numerical Methods for Electrical Engineering. Berlin: Springer, 2008.
- Харрингтон Р.Ф. // ТИИЭР. 1967. № 2. С. 5.
- Ruehli A., Antonini G., Jiang L. Circuit Oriented Electromagnetic Modeling Using the PEEC Techniques. N.Y.: Wiley-IEEE Press, 2017.
- Karkashadze D., Jobava R., Frei S., Soziashvili B. // Proc. 6th Int. Seminar/Workshop on Direct and Inverse Problems of Electromagnetic and Acoustic Wave Theory (DIPED-2001). Lviv. 18–20 Sep. N.Y.: IEEE, 2001. P. 187.
- Кадников С.Н. Метод интегральных уравнений для расчета электростатических полей. Иваново: Ивановский гос. энергетический ун-т, 1995.
- Hackbusch W. Integral Equations: Theory and Numerical Treatment/Int. Ser. of Numerical Math. V.120. Basel: Birkhäuser, 1995. P. 266. https://doi.org/10.1007/978-3-0348-9215-5_8
- Панасюк В.В., Саврук М.П., Назарчук З.Т. Метод сингулярных интегральных уравнений в двумерных задачах дифракции. Киев: Наукова думка, 1984.
- Yla-Oijala P., Taskinen M., Sarvas J. // Progress in Electromagnetics Research. 2005. V. 52. P. 81. https://doi.org/10.2528/PIER04071301
- Banerjee P.K., Butterfield R. Boundary Element Methods in Engineering Science. N.Y.: McGraw-Hill, 1981.
- Rylander T., Ingelström P., Bondeson A. Computational Electromagnetics. N.Y.: Springer, 2013.
- L’eplattenier P., Çaldichoury I. // 38th Int. Conf. on Boundary Elements and Other Mesh Reduction Methods (BEM/MRM 38). New Forest. 21–23 Sep. Ashurst: WIT Press, 2015. P. 311.
- Yu W., Wang X. Advanced Field–Solver Techniques for RC Extraction of Integrated Circuits. Berlin: Springer, 2014.
- Верлань А.Ф., Сизиков B.C. Интегральные уравнения: методы, алгоритмы, программы. Киев: Наукова думка, 1986.
- Канторович Л.В., Акилов Г.П. Функциональный анализ в нормированных пространствах. М.: Физматгиз, 1959.
- Березин И.С., Жидков Н.П. Методы вычислений. М.: ГИФМЛ, 1959.
- Matthaei G.L., Young L., Jones E.M.T. Microwave Filters, Impedance- matching Networks, and Coupling Structures. Norwood: Artech House Publishers, 1980.
- Zhai K., Yu W. // Int. J. Numerical Modelling. 2014. V. 27. № 4. P. 656. https://doi.org/10.1002/jnm.1934
- Musa S.M., Sadiku M.N.O. // Microwave and Optical Technology Lett. 2008. V. 50. № 10. P. 2743.
- Bazdar M.B., Djordjevic A.R., Harrington R.F. et al. // IEEE Trans. 1994. V. MTT-42. № 7. P. 1223. https://doi.org/10.1109/22.299760
- Balakrishnan S., Park J.H., Kim H. et al. // Proc. 2001 IEEE Int. Conf. on Computer Design: VLSI in Computers and Processors (ICCD 2001). Austin, 23–26 Sep. N.Y.: IEEE, 2001. P. 98.
- Zhang J., Drewniak J.L., Pommerenke D.J. et al. // IEEE Trans. 2010. V. EMC-52. № 1. P. 189. https://doi.org/10.1109/TEMC.2009.2035055
- Peterson Z.M. // 2020 IEEE 29th Conf. on Electrical Performance of Electronic Packaging and Systems (EPEPS). San Jose. 5–7 Oct. N.Y.: IEEE, 2020. Paper No. 9231315.
- Pan G.-W., Olson K.S., Gilbert B.K. // IEEE Trans. 1989. V. CADICS-8. № 6. P. 608. https://doi.org/10.1109/43.31517
- Kovacevic-Badstuebner I., Romano D., Antonini G. et al. // Energies. 2021. V. 14. № 10. P. 2835. https://doi.org/10.3390/en14102835
- Мигулин В.В., Медведев В.И., Мустель Е.Р., Парыгин В.Н. Основы теории колебаний. М.: Наука, 1978.
- Ramo S., Whinnery J.R., van Duzer T. Fields and Waves in Communication Electronics. N.Y.: John Wiley & Sons, 1994.
- Shafieipour M., de Silva J., Kariyawasam A. et al. // Proc. Int. Conf. on Power Systems Transients (IPST) 2017. Seoul, 26–29 Jun 2017. Paper No. 17IPST204.
- Scheinfein M.R., Palusinski O.A. // IEEE Trans. 1987. V. SCS-4. № 3. P. 187.
- Harrington R.F. // IEEE Trans. 1984. V. MTT-32. № 7. P. 705. https://doi.org/10.1109/TMTT.1984.1132757
- Chen L.F., Ong C.K., Neo C.P. et al. Microwave Electronics. Measurement and Materials Characterization. N.Y.: John Wiley & Sons, 2004.
- Nabors K., White J. // IEEE Trans. 1991. V. CADICS-10. № 11. P. 1447. https://doi.org/10.1109/43.97624
- Drandić A., Trkulja B. // Int. J. Numerical Modelling. 2019. V. 33. № 5. Article e2669. https://doi.org/10.1002/jnm.2669
- Paul C. Transmission Lines in Digital and Analog Electronic Systems: Signal Integrity and Crosstalk. N.Y.: Wiley–IEEE Press, 2010.
- Makarov S.N., Noetscher G.M., Nazarian A. Low-Frequency Electromagnetic Modeling for Electrical and Biological Systems Using MATLAB. N.Y.: John Wiley & Sons, 2016.
- Ruehli A.E. Circuit Analysis, Simulation and Design. Amsterdam: Elsevier Science Publishers, 1987.
- Zhai K., Yu W. // Int. J. Numerical Modelling. 2014. V. 27. № 4. P. 656. https://doi.org/10.1002/jnm.1934
- Yang Z., Wang Z. // Microelectronic Engineering. 2003. V. 65. P. 133. https://doi.org/10.1016/S0167-9317(02)00746-3
- Ekman J., Antonini G., Orlandi A., Ruehli A. // IEEE Trans. 2006. V. EMC-48. № 1. P. 19. https://doi.org/10.1109/TEMC.2006.870699
- Сычев А.Н., Стручков С.М. // Докл. ТУСУР. 2011. Т. 24. № 2–3. С. 77.
- Hall S.H., Heck H.L. Advanced Signal Integrity for High-Speed Digital Designs. N.Y.: Wiley-IEEE Press, 2009.
- Wu R.-B., Chao F.-L. // IEEE Trans. 1996. V. CPMT-19 № 2. P. 397. https://doi.org/10.1109/96.496044
- Musa S.M., Sadiku M.N.O. // IEEE SoutheastCon 2008. Huntsville. 3–6 Apr. N.Y.: IEEE, 2008. P. 300. https://doi.org/10.1109/SECON.2008.4494308
- Homentcovschi D., Oprea R. // IEEE Trans. 1998. V. MTT-46. № 1. P. 18. https://doi.org/10.1109/22.654918
- Вержбицкий В.М. Основы численных методов: Учебник для вузов. М.: Высш. шк., 2002.
- Heath M.T. Scientific Computing: an Introductory Survey. Boston: McGraw- Hill, 2002.
- Zhou Y., Li Z., Shi W. // 2007 44th ACM/IEEE Design Automation Conf. San Diego. 4–8 Jun. N.Y.: IEEE, 2007. P. 835.
- Максимов А.Е., Куксенко С.П. // Журн. радиоэлектрон. 2021. № 1. http://jre.cplire.ru/jre/jan21/ 10/text.pdf .https://doi.org/10.30898/1684-1719.2021.1.10
- Swanson D.G., Hofer W.J. Microwave Circuit Modeling Using Electromagnetic Field Simulation. Norwood: Artech House Publishers, 2003.
- Максимов А.Е., Куксенко С.П. // Журн. радиоэлектрон. 2023. № 1. http://jre.cplire.ru/jre/jan23/ 14/text.pdf .https://doi.org/10.30898/1684-1719.2023.1.14
- Khalaj-Amirhosseini M. // Progress in Electromagnetics Research. 2005. V. 50. P. 267. https://doi.org/10.2528/PIER04061601
- Musa S.M., Sadiku M.N.O. // Proc. of the COMSOL Conf. Boston, 30 Mar. 2009. https://www.comsol.ru/ paper/download/44430/Musa.pdf.
Supplementary files














