Radio absorption in structures like artificial magnetic conductors at large angles of incidence of TM-polarized waves
- Authors: Kazantsev Y.N.1, Kraftmakher G.A.1, Mal'tsev V.P.1, Solosin V.S.1,2
-
Affiliations:
- Kotelnikov Institute of Radioengineering and Electronics Russian Academy of Sciences
- Institute of Theoretical and Applied Electrodynamics
- Issue: Vol 69, No 2 (2024)
- Pages: 115-121
- Section: ELECTRODYNAMICS AND RADIO WAVE PROPAGATION
- URL: https://medbiosci.ru/0033-8494/article/view/265586
- DOI: https://doi.org/10.31857/S0033849424020029
- EDN: https://elibrary.ru/KMYZVJ
- ID: 265586
Cite item
Full Text
Abstract
The frequency-angular characteristics of the reflection of TM-polarized waves from thin (thickness up to 1/200 wavelength) artificial magnetic conductor (AMC) and radio absorber (RA) based on band-reflecting and band-passing gratings are presented. It is shown that the operating frequency bands of the AMC and RA expand tens of times when the angle of incidence changes from 0 to 89 degrees. In this case, the value of the ratio (is the difference in wavelengths at the edges of the absorption band and is the thickness of the RA) increases to 30.
Full Text
ВВЕДЕНИЕ
Искусственные магнитные проводники (ИМП) обычно относят к классу так называемых метаматериалов, т.е. материалов с необычными электромагнитными характеристиками. Особенностью ИМП является то, что коэффициент отражения от него равен +1, а не –1, как от металлической поверхности. Типичная конструкция ИМП включает в свой состав емкостную [1–5], либо частотно-селективную [6–9] решетку, помещенную на слой диэлектрика, металлизированный с противоположной стороны.
В последнее время был опубликован ряд работ, посвященных различным применениям ИМП в радиоэлектронике и, в частности, в технике радиопоглощения [10–12]. Поглощающим элементом в РП такого типа является либо слой диэлектрика с потерями [11], либо резистивная пленка на поверхности ИМП [10, 12]. Известные РП на основе ИМП обладают хорошими частотно-угловыми характеристиками в ограниченном интервале углов падения () при малых (по сравнению с длиной волны) толщинах конструкций. При больших углах падения () эффективность поглощения волн TE- и TM-поляризаций падает. В то же время проблема поглощения электромагнитных волн и, в частности, волн TM-поляризации при больших углах падения остается актуальной, поскольку они являются источником, возбуждающим так называемые ползущие (creeping) волны и поверхностные бегущие (surface travelling) волны на токопроводящих поверхностях [13, 14].
В настоящей статье предложен тонкий РП со структурой ИМП на основе полосно-отражающих и полосно-пропускающих решеток и изучены его частотно-угловые характеристики отражения при больших углах падения волн TM-поляризации.
1. ИМП НА ОСНОВЕ ЧАСТОТНО-СЕЛЕКТИВНЫХ ПОЛОСНО-ОТРАЖАЮЩИХ И ПОЛОСНО-ПРОПУСКАЮЩИХ РЕШЕТОК
На рис. 1 представлена схема ИМП, в состав которого входят: полосно-отражающая или полосно-пропускающая частотно-селективная решетка 1, слой диэлектрика 2 и металлический экран 3. Полосно-отражающая решетка состоит из металлических элементов, расположенных, например, на тонкой диэлектрической пленке, а полосно-пропускающая решетка – из отверстий в тонком металлическом экране.
Рис. 1. Схема ИМП: 1 – частотно-селективная решетка, 2 – слой диэлектрика толщиной D, 3 – металлический экран, ϑ– угол падения электромагнитной волны.
В работе [9] были исследованы функциональные связи между характеристиками решетки (резонансная частота и Q-фактор) и характеристиками ИМП на ее основе (положение и ширина полосы рабочих частот). При этом было показано, что при диэлектрической проницаемости слоя ε = 1 полоса рабочих частот ИМП лежит ниже резонансной частоты полосно-отражающей решетки и выше резонансной частоты полосно-пропускающей. Ширина полосы рабочих частот ИМП зависит в основном от Q-фактора решетки, а также от электрической толщины слоя диэлектрика.
Предварительные численные расчеты угловых зависимостей фазы коэффициента отражения от ИМП показали, что при увеличении угла падения смещение резонансной частоты для волн TE-поляризации существенно больше, чем для TM-поляризации, а также имеет место расширение полосы рабочих частот ИМП для волн TM-поляризации и сужение для волн TE-поляризации.
Эффективным способом повышения угловой стабильности резонансной частоты является увеличение диэлектрической проницаемости слоя между решеткой и экраном, хотя при этом сужается полоса рабочих частот ИМП.
2. ЧАСТОТНО-УГЛОВЫЕ ЗАВИСИМОСТИ ФАЗЫ КОЭФФИЦИЕНТА ОТРАЖЕНИЯ ВОЛН TM-ПОЛЯРИЗАЦИИ ОТ ИМП НА ОСНОВЕ ЧАСТОТНО-СЕЛЕКТИВНОЙ РЕШЕТКИ
В данном разделе подтверждена целесообразность применения в слое материала с высокой диэлектрической проницаемостью ε 1 и уменьшения толщины слоя до значения меньше 1 мм, поскольку даже при таких условиях полоса ИМП при больших углах падения волн TM-поляризации составляет десятки процентов. Размеры элементов на рисунках указаны в мм.
На рис. 2 представлены два типа элементов частотно-селективных решеток: полосно-отражающих 1, 2 и полосно-пропускающих 3. Элементы полосно-отражающих решеток – это квадратные металлические петли, а элементы полосно-пропускающих решеток – квадратные щели в металлическом экране, период решеток P = 10.3 мм. Толщина слоя диэлектрика между решеткой и экраном D = 0.5 мм, а его диэлектрическая проницаемость ε = 10.2. Характеристики решеток, состоящих из элементов 1–3, в условиях свободного пространства (резонансная частота fр и Q-фактор) приведены в табл. 1. В дальнейшем нумерацию ИМП и РП будем использовать ту же, что и для элементов решеток.
Рис. 2. Три типа элементов частотно-селективных решеток: полосно-отражающих 1 и 2 и полосно-пропускающих 3.
Таблица 1. Характеристики решеток из элементов 1, 2, 3 в условиях свободного пространства
Номер типа решетки | fр, ГГц | Q-фактор |
1 | 7.72 | 0.81 |
2 | 17.68 | 0.8 |
3 | 7.65 | 0.73 |
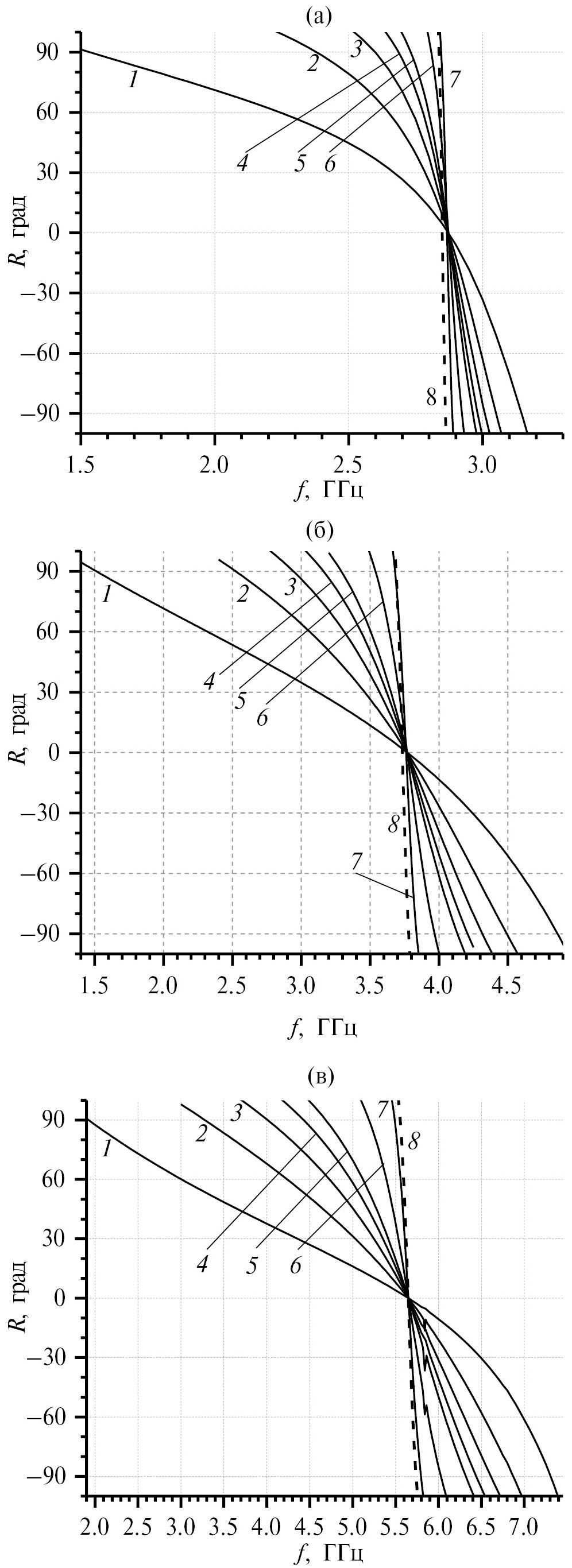
На рис. 3а–3в представлены частотно-угловые зависимости фазы коэффициента отражения от ИМП на основе решеток с элементами всех трех типоразмеров.
Рис. 3. Частотно-угловые зависимости фазы коэффициента отражения от ИМП на основе решеток с элементами трех типоразмеров 1 (а), 2 (б) и 3 (в). Углы падения ϑ равны 89° (1), 88° (2), 87° (3), 85° (4), 83° (5), 80° (6), 60° (7) и 0° (8).
В табл. 2 для различных углов падения ϑ указаны резонансные частоты fр, на которых фаза коэффициента отражения равна нулю, и относительные полосы частот Δf/fр, в которых фаза меняется в интервале ±90°.
Таблица 2. Резонансные частоты и ширины полосы частот ИМП, в которых фаза меняется в интервале при различных углах падения
ϑ, град | ИМП 1 | ИМП 2 | ИМП 3 | |||
fр, ГГц | ∆ f / fр, % | fр, ГГц | ∆ f / fр, % | fр, ГГц | ∆ f / fр, % | |
0 | 2.85 | 0.8 | 3.734 | 2.4 | 5.648 | 3.3 |
60 | 2.867 | 1.4 | 3.762 | 4.2 | 5.649 | 5.5 |
80 | 2.87 | 4.0 | 3.77 | 11.4 | 5.65 | 14.9 |
85 | 2.87 | 8.1 | 3.77 | 22.5 | 5.65 | 29.0 |
86 | 2.87 | 10.2 | 3.77 | 24.4 | 5.65 | 35.9 |
87 | 2.87 | 14.3 | 3.77 | 36.7 | 5.65 | 46.1 |
88 | 2.87 | 23.1 | 3.77 | 52.1 | 5.65 | 63.7 |
89 | 2.87 | 56.4 | 3.77 | 89.0 | 5.65 | 95.5 |
Из рис. 3 и табл. 2 следует, что при увеличении угла падения ϑ резонансные частоты практически не меняются, а полосы частот Δf/fр увеличиваются в десятки раз.
3. ЧАСТОТНО-УГЛОВЫЕ ЗАВИСИМОСТИ КОЭФФИЦИЕНТА ОТРАЖЕНИЯ ОТ РАДИОПОГЛОТИТЕЛЯ НА ОСНОВЕ ИМП
В научной литературе рассмотрены два способа реализации радиопоглотителя на основе ИМП. Первый способ – использование слоя диэлектрика с потерями между решеткой и экраном [10, 12], а второй – помещение на поверхность решетки резистивной пленки с сопротивлением, равным волновому сопротивлению свободного пространства 120p Ом [11]. Нами рассмотрены частотно-угловые характеристики ИМП-радиопоглотителя (ИМП РП) на основе частотно-селективных решеток, реализованного по первому способу.
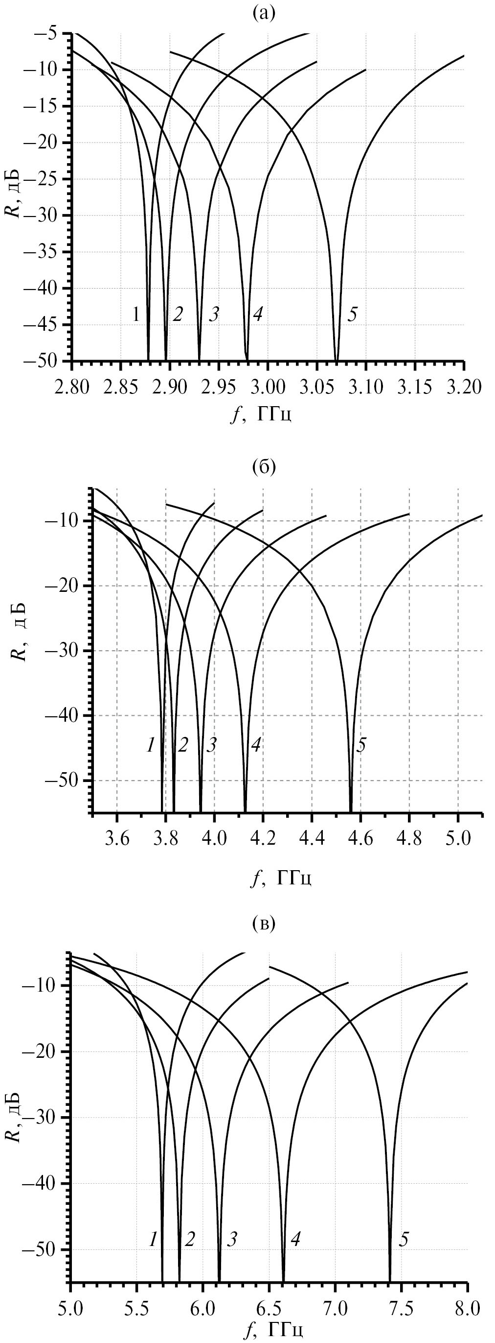
Структура и размеры расчетной модели ИМП РП такие же, как и в модели, рассмотренной в разд. 1. Для каждого угла падения подбиралась оптимальная величина тангенса угла потерь диэлектрического слоя, обеспечивающая минимальный уровень отражения (<–25 дБ) на резонансной частоте. На рис. 4а–4в представлены частотно-угловые зависимости коэффициента отражения от ИМП РП на основе частотно-селективных решеток трех типоразмеров.
В табл. 3 приведены резонансные частоты fр, полосы поглощения Δf/fр по уровню коэффициента отражения –10 дБ и оптимальные тангенсы угла потерь tg δ слоя диэлектрика.
Таблица 3. Резонансные частоты, ширины полосы частот ИМП РП и тангенсы угла потерь слоя диэлектрика при различных углах падения
ϑ, град | ИМП РП 1 | ИМП РП 2 | ИМП РП 3 | ||||||
fр, ГГц | ∆ f / fр, % | tgδ | fр, ГГц | ∆ f / fр, % | tgδ | fр, ГГц | ∆ f / fр, % | tgδ | |
0 | 2.85 | 0.56 | 0.008 | 3.735 | 1.61 | 0.026 | 5.65 | 2.23 | 0.034 |
80 | 2.878 | 2.56 | 0.04 | 3.784 | 7.66 | 0.114 | 5.694 | 9.82 | 0.15 |
83 | 2.885 | 3.50 | 0.056 | 3.802 | 9.71 | 0.160 | 5.736 | 13.81 | 0.208 |
85 | 2.896 | 4.77 | 0.075 | 3.834 | 14.53 | 0.218 | 5.822 | 18.72 | 0.277 |
86 | 2.908 | 5.71 | 0.09 | 3.870 | 17.62 | 0.263 | 5.920 | 22.62 | 0.33 |
87 | 2.93 | 7.06 | 0.112 | 3.944 | 21.73 | 0.327 | 6.120 | 27.73 | 0.391 |
88 | 2.979 | 8.26 | 0.137 | 4.126 | 26.66 | 0.407 | 6.610 | 30.32 | 0.421 |
89 | 3.07 | 7.46 | 0.158 | 4.560 | 22.62 | 0.437 | 7.414 | 22.52 | 0.304 |
Из рис. 4 и табл. 3 следует, что с увеличением угла падения ϑ полосы поглощения быстро расширяются, но при этом резонансные частоты несколько растут. При увеличении угла падения растет и такая характеристика РП, как отношение Δλ/D, где Δλ – разность длин волн на краях полосы поглощения, а D – толщина РП (диэлектрического слоя). Так, при угле падения 87° это отношение равно 14, 33 и 30 для ИМП РП 1, 2 и 3 соответственно.
Рис. 4. Частотно-угловые зависимости коэффициента отражения от ИМП РП на основе решеток с элементами трех типоразмеров 1 (а), 2 (б) и 3 при оптимальном значении tgδ диэлектрического слоя и ϑ = 80° (1), 85° (2), 87° (3), 88° (4) и 89° (5).
На рис. 5 приведены частотно-угловые зависимости коэффициента отражения от ИМП РП 1 при фиксированном значении угла потерь tg δ = 0.112, которое является оптимальным для угла падения ϑ = 87°.
Рис. 5. Частотно-угловые зависимости коэффициента отражения от ИМП РП на основе решетки с элементами 1 при фиксированном значении tgδ = 0.112 диэлектрического слоя и ϑ = 85° (1), 86° (2), 87° (3), 88° (4) и 89° (5).
Определенный интерес представляет собой случай поглощения волн TM-поляризации при угле падения ϑ, стремящегося к 90°. Моделью такого случая может служить волна H10 в волноводе прямоугольного сечения, поскольку эта волна представляет собой суперпозицию двух плоских волн, распространяющихся под углом падения 90° по отношению к широким стенкам волновода.
4. ВОЛНОВОД ПРЯМОУГОЛЬНОГО СЕЧЕНИЯ С ИМП РП НА ШИРОКИХ СТЕНКАХ
На рис. 6 представлен волновод прямоугольного сечения 72.1 × 34 мм длиной 120 мм, на широкие стенки которого помещен ИМП РП на основе полосно-отражающих решеток первого типоразмера. Толщина диэлектрического слоя между решеткой и стенкой волновода 0.5 мм, его диэлектрическая проницаемость – 10.2, тангенс угла потерь – 0.112. Число элементов решетки на каждой стенке 7 × 10 = 70 (размер решетки 72.1 × 103 мм2).
Рис. 6. Волновод прямоугольного сечения, на широкие стенки которого помещен ИМП РП на основе полосно-отражающих решеток с элементами 1.
На рис. 7 представлена частотная зависимость коэффициента прохождения S1,2 и коэффициента отражения S1,1 в таком волноводе.
Рис. 7. Частотная зависимость коэффициентов прохождения S1,2 и отражения S1,1 волновода с ИМП РП на основе полосно-отражающих решеток с элементами 1.
При сравнении рис. 7 и 4а видно, что частота минимума S1,2, равная 2.9 ГГц, находится в интервале частот поглощения ИМП РП при больших углах падения.
Все численные расчеты проведены методом моментов в программе FEKO.
ЗАКЛЮЧЕНИЕ
Предложен тонкий РП со структурой ИМП на основе полосно-отражающей и полосно-пропускающей решеток.
Путем численного расчета получены частотно-угловые зависимости фазы и модуля коэффициента отражения волн TM-поляризации от тонких (до 1/200 длины волны) ИМП и ИМП РП на основе полосно-отражающих и полосно-пропускающих решеток. Показано, что при увеличении угла падения частотные полосы ИМП и ИМП РП расширяются до нескольких десятков процентов. При этом, как положительный фактор, увеличивается и отношение Δλ/D (Δλ – разность длин волн на краях полосы поглощения по уровню отражения –10 дБ, а D – толщина РП). Так, при угле падения 87° это отношение достигает 30.
На модели волновода прямоугольного сечения с волной H10 показана возможность поглощения энергии плоской волны при ее распространении вдоль поверхности ИМП РП.
Авторы заявляют об отсутствии конфликта интересов.
ФИНАНСИРОВАНИЕ РАБОТЫ
Работа выполнена за счет бюджетного финансирования в рамках государственного задания ИРЭ им. В.А. Котельникова РАН.
About the authors
Yu. N. Kazantsev
Kotelnikov Institute of Radioengineering and Electronics Russian Academy of Sciences
Author for correspondence.
Email: yukazantsev@mail.ru
Fryazino branch
Russian Federation, Fryazino Moscow oblast, 141190G. A. Kraftmakher
Kotelnikov Institute of Radioengineering and Electronics Russian Academy of Sciences
Email: yukazantsev@mail.ru
Fryazino branch
Russian Federation, Fryazino Moscow oblast, 141190V. P. Mal'tsev
Kotelnikov Institute of Radioengineering and Electronics Russian Academy of Sciences
Email: yukazantsev@mail.ru
Fryazino branch
Russian Federation, Fryazino Moscow oblast, 141190V. S. Solosin
Kotelnikov Institute of Radioengineering and Electronics Russian Academy of Sciences; Institute of Theoretical and Applied Electrodynamics
Email: yukazantsev@mail.ru
Fryazino branch
Russian Federation, Fryazino Moscow oblast, 141190; Moscow, 125412References
- Sievenpiper D., Zhang L., Broas R.F. J. et al. // IEEE Trans. 1999. V. MTT-47. № 11. P. 2059.
- Broas R.F.J., Sievenpiper D.F., Yablonovitch E. // IEEE Trans. 2005. V. AP-53. № 4. P. 1377.
- Feresidis A.P., Goussetis G., Shenhong Wang, Vardaxoglou J.C. // IEEE Trans. 2003. V. AP-51. № 1. P. 209.
- Fan Yang, Rahmat-Samii Y. // IEEE Trans. 2003. V. AP-51. № 10. P. 2691.
- Казанцев Ю.Н., Аплеталин В.Н. // РЭ. 2007. Т. 52. № 4. С. 415.
- Kern D.J., Werner D.H., Monorchio A. et al. // IEEE Trans. 2005. V. AP-53. № 1. P. 8.
- Sohn J.R., Kim K.Y., Tae H.-S., Lee H.J. // Progress in Electromagnetics Research. 2006. V. 61. P. 27.
- Fei-Ran Yang, Kuang-Ping Ma, Yongxi Qian, Itoh T. // IEEE Trans. 1999. V. MTT-47. № 11. P. 2092.
- Казанцев Ю.Н., Крафтмахер Г.А., Мальцев В.П. // РЭ. 2019. Т. 64. № 9. С. 874.
- Engheta N. // IEEE Antennas and Propagation Soc. Int. Symp. San Antonio 16–21 Jun. 2002. N.Y.: IEEE, 2002. V. 2. P. 392.
- Tretyakov S., Maslovski S. // Proc. 33rd Europ. Microwave Conf. Munich. 07 Oct. 2003. N.Y.: IEEE, 2003. P. 1107.
- Казанцев Ю.Н., Крафтмахер Г.А., Мальцев В.П. // РЭ. 2022. Т. 67. № 4. С. 339.
- Skolnik M. Radar Handbook. 3rd ed. N.Y.: Mc-Grow-Hill Education, 2000.
- Zheng L., Yang H., Gong W. et al. // J. Appl. Phys. 2021. V. 130. № 10. Р. 105304.
Supplementary files









