Broadband of the dielectric radio-absorbing structure
- Authors: Ponomarenko V.I.1, Lagunov I.M.1
-
Affiliations:
- Vernadsky Crimean Federal University
- Issue: Vol 69, No 9 (2024)
- Pages: 855-859
- Section: ELECTRODYNAMICS AND RADIO WAVE PROPAGATION
- URL: https://medbiosci.ru/0033-8494/article/view/281988
- DOI: https://doi.org/10.31857/S0033849424090049
- EDN: https://elibrary.ru/HSGTOB
- ID: 281988
Cite item
Full Text
Abstract
A basis of dispersion functions is constructed to represent the frequency dependence of the permittivity. The problem of optimizing the dielectric radio-absorbing two-layer structure has been solved. The ratio of the maximum wavelength of the operating range of the radio-absorbing coating to its thickness is obtained, which significantly exceeds the known value for layered structures.
Keywords
Full Text
ВВЕДЕНИЕ
Радиопоглощающие покрытия применяются для оборудования безэховых камер, радиомаскировки объектов, защиты персонала от излучений и в других целях. В ряде применений [1] важное значение имеет минимальность толщины d покрытия, при условии, что коэффициент отражения (КО) по мощности в рабочем диапазоне длин волн λmin ≤ λ ≤ λmax, λmin << λmax, не превышает некоторого значения RM. При этом отношение S = λmax / d максимально. Учитывая то, что чем больше параметр при фиксированной толщине, тем больше λmax, этот параметр коррелирует с широкополосностью покрытия.
В [2] доказана теорема, из которой следует, что для многослойного диэлектрического покрытия S < 17.2 при RM = 0.1. Доказательство основано на том, что функцию частотной зависимости диэлектрической проницаемости (ДП) можно аналитически продолжить в комплексную плоскость, и не привязывается к конкретным зависимостям по моделям диэлектриков Лоренца, Дебая [3] или иным. Вопрос о том, какое максимальное значение S может быть достигнуто при условии, что частотная зависимость ДП удовлетворяет соотношениям Крамерса–Кронига (КК), рассматривался разными авторами для различных структур [4−7]. При отношении максимальной длины волны к минимальной, равном десяти, для уровня RM = 0.1 наибольшее значение S = 14.5 получено в [5] на основе решения задачи оптимизации двухслойной структуры, тонкий верхний слой которой можно выбрать недиспергирующим, а диэлектрическая проницаемость расположенного на металлическом зеркале основного нижнего слоя является суперпозицией дисперсионных функций Лоренца.
Объектом нашего исследования также является двухслойная диэлектрическая структура.
Цель данной работы – уточнение полученного в [5] значения параметра S на основе построения базиса представления частотной зависимости ДП. При этом единственными требованиями к этой зависимости являются выполнение соотношений КК и соответствие условию положительности мнимой части ДП во всем диапазоне частот (0, ∞) при выборе временного множителя в виде exp (−iωt).
ПОСТРОЕНИЕ БАЗИСНЫХ ФУНКЦИЙ
Соотношения КК являются следствием представления ДП как функции частоты в виде
, (1)
где вещественная функция Ψ (t) зависит от поляризационных процессов в материале [8]. Положив
, (2)
где C − безразмерная константа, получим в результате интегрирования
. (3)
Функцию вида (3) за вычетом единицы далее будем называть первой дисперсионной функцией (ДФ1).
Полагая
, (4)
получим дисперсионную функцию Лоренца [3]:
. (5)
Функции (3) и (5) неэквивалентны. В (3) параметры , γ независимы, тогда как (5) имеет физический смысл лишь при выполнении ограничения
, (6)
вытекающего из условия вещественности величины . Это ограничение при решении задач оптимизации сужает границы оптимизации с использованием функции Лоренца по сравнению с применением более общей по сравнению с (5) функции (3), удовлетворяющей соотношениям КК при любых значениях параметров , γ. Зависимость компонент функции (3) от отношения при и 3 представлена на рис. 1.
Рис. 1. Зависимость вещественной ε' (1,3) и мнимой ε'' (2,4) частей функции (3) от отношения : при (1,2) и (3,4).
Введем в (1) функцию
, (7)
где Γ (p) − гамма-функция, a – константа. Применив формулу Эйлера и вычислив определенный интеграл в пределах (0, ∞) от произведения Ψ (t) exp (−iωt) с использованием известных определенных интегралов [9], получим
(8)
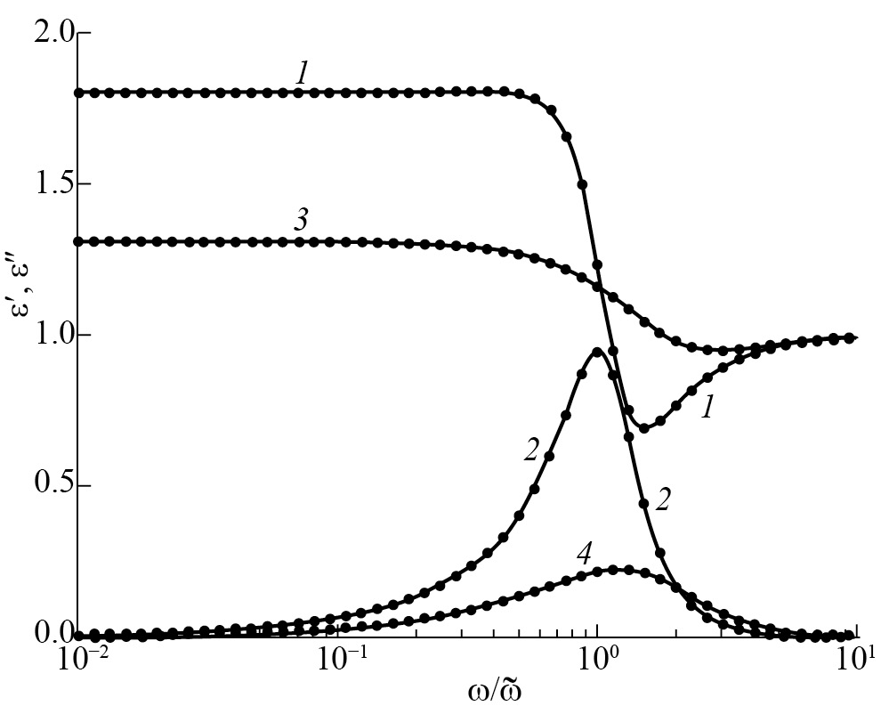
Функция ε1 (ω, a) + 1 совпадает с дисперсионной функцией Дебая [3]. Далее функцию вида (8) будем называть второй дисперсионной функцией (ДФ2). При p > 2 эти функции могут менять знак мнимой части с изменением частоты и поэтому по отдельности не могут представлять диэлектрическую проницаемость. Частотная зависимость компонент функций ε2, ε3 от отношения ω / a представлена на рис. 2. Если использовать разложение в ряд Тейлора входящей в (3) функции и подставить (2) в (1), то можно получить разложения функций (3) и (5) в функциональный ряд по системе {εp} с четными значениями числа p.
Рис. 2. Зависимость вещественной ε' (1,3) и мнимой ε'' (2,4) частей функции (8) от отношения ω / a: при p = 2 (1,2) и p = 3 (3,4).
ОПТИМИЗАЦИЯ СТРУКТУРЫ
2.1. Оптимизация с применением дисперсионных функций первого типа
Расположенная на металлическом зеркале структура толщиной d состоит из тонкого верхнего слоя толщиной d / x с вещественной ДП и основного нижнего слоя с комплексной ДП, являющейся суперпозицией N резонансных функций, представленных в удобном для решения задачи оптимизации виде через длины волн,
. (9)
Общее число подлежащих вычислению переменных Cn, gn, , , x равно 3N + 2. Методом, сочетающим подход Монте-Карло (МК) [10] с процессом итераций [11], был определен набор значений переменных, при котором минимальна толщина d, обеспечивающая максимальное значение КО, не превышающее уровня RM = 0.1 на всех расчетных длинах волн λk, k = 1, 2, …, K, λ1 = λmin = 1 см, λk = λmax = 10 см. Значения λk выбирали по закону геометрической прогрессии. Значение K = 35 оказалось достаточным для того, чтобы результат вычислений не менялся при наращивании K. Полагалось N = 7, так как при N > 7 результат оптимизации не меняется. На первом этапе оптимизации методом МК при назначенной начальной толщине структуры строили величины по закону геометрической прогрессии, причем границы , варьировались случайным образом вблизи λmin, λmax соответственно. На втором этапе значения всех переменных, в том числе , варьировались циклами в узких пределах, не более чем на 15% отличавшихся от значений, полученных на предыдущей итерации, при этом толщина в каждом цикле уменьшалась на 2% от ее значения в предыдущем цикле. Коэффициенты Cn могли принимать как положительные, так и отрицательные значения. При этом на всех этапах оптимизации, еще до начала вычисления КО, от двухслойной структуры исключались такие выборки переменных, при которых мнимая часть ДП отрицательна в какой-либо области диапазона длин волн от λ = 0 до λ = ∞ (ω = 0). Такой алгоритм оказался эффективен как в плане сокращения числа анализируемых на уровень RM случайных выборок, так и в плане глубины оптимизации. В результате было получено S = 15.1.
2.2. Оптимизация с применением дисперсионных функций второго типа
Суперпозицию функций ДФ2 представим в удобном для вычислений виде:
(10)
При pn = n переменными оптимизации являются величины Cn, bn.
Вычисления с применением описанного выше алгоритма показали, что при N = 20 оптимизация приводит к значению S = 14.9. Уточнение S путем наращивания N приводило к ускоренному замедлению вычислительного процесса и было остановлено. В связи с этим функция (10) за вычетом единицы была использована для уточнения значения совместно с функцией (9).
2.3. Оптимизация с применением двух типов дисперсионных функций
К значениям ДП на расчетных длинах волн, полученным с использованием базиса из семи функций ДФ1 прибавлялись добавки, полученные с применением базиса из десяти функций ДФ2. Учитывая, что функции ДФ1 являются «блоками» из функций ДФ2 с четными значениями p, для «дооптимизации» применялись лишь функции ДФ2 с нечетными pn = 2 (n − 1) , n = 1, 2, …, 10. Было получено минимальное значение толщины структуры d = 0.64 см и соответствующее ей значение S = 15.6 для уровня RM = 0.1. Наращивание числа базисных функций не привело к изменению результата. Стабильный выход процесса оптимизации на значение S = 15.6 при различных начальных выборках переменных, формируемых программой генерирования случайных чисел, позволяет считать, что достигнут глобальный экстремум. Авторы не исключают того, что полученный результат может быть уточнен при других вариантах выбора функционала из функций ДФ1 и ДФ2.
Полученные в результате решения задачи оптимизации значения переменных, входящих в ДФ1, приведены в табл. 1. Значения переменных, входящих в ДФ2, приведены в табл. 2. Диэлектрическая проницаемость первого слоя структуры , параметр x = 69.9.
Таблица 1. Значения переменных, входящих в дисперсионные функции первого типа
| n | , см | gn | Сn |
1 | 0.98489393 | 0.2931850 | 0.3141127 |
2 | 1.4436278 | 1.813851 | 0.3817950 |
3 | 1.3482827 | 1.897519 | 4.248031 |
4 | 3.6779944 | 1.475627 | 0.8846349 |
5 | 5.0090495 | 1.207935 | 4.038259 |
6 | 7.0169501 | 0.5048110 | 1.406469 |
7 | 8.9055136 | 0.2597022 | 0.8650910 |
Таблица 2. Значения переменных, входящих в дисперсионные функции второго типа
| n | pn | 102bn | Сp |
1 | 1 | 0.52538682 | 0.1662875 |
2 | 3 | 0.71837059 | -0.3278747 |
3 | 5 | 0.87593291 | 0.4149033 |
4 | 7 | 2.0601816 | -0.4038030 |
5 | 9 | 2.8577231 | -0.0269204 |
6 | 11 | 2.9182259 | -0.9056180 |
7 | 13 | 5.3520348 | 1.738480 |
8 | 15 | 4.2301215 | 0.3994214 |
9 | 17 | 6.1317943 | -0.4805395 |
10 | 19 | 8.1876315 | 1.781218 |
На рис. 3 приведена оптимальная зависимость ДП нижнего слоя от длины волны. Эта зависимость, коррелирует с приведенной на рис. 3 дисперсионной зависимостью ДП εc согласованного со свободным пространством слоя диэлектрика, расположенного на металлическом зеркале [12], толщина которого 0.64 см. На рис. 4 приведена зависимость коэффициента отражения от длины волны для оптимизированной структуры.
Рис. 3. Зависимость от длины волны вещественной и мнимой компонент диэлектрической проницаемости ε оптимальной структуры толщиной 0.64 см и компонент диэлектрической проницаемости εc согласованного однослойного покрытия такой же толщины: ε' (1), ε'' (2), (3), (4).
Рис. 4. Зависимость от длины волны коэффициента отражения по мощности R для оптимальной структуры.
Результаты работы применимы к другим диапазонам длин волн путем соответствующего масштабирования линейных размеров структуры.
ОБСУЖДЕНИЕ ПОЛУЧЕННЫХ РЕЗУЛЬТАТОВ
Полученное в данной работе значение S = 15.6 отношения максимальной длины волны рабочего диапазона двухслойного диэлектрического покрытия к его толщине существенно выше полученного в [5] значения S = 14.5 и выше спрогнозированного ее авторами предельного значения S = 15. По нашему мнению, уточнение достигнуто не только на основе применения расширенного базиса представления частотной зависимости ДП, но и вследствие использования в задаче оптимизации метода МК, адаптированного к конкретике задачи и ранее успешно применявшегося для оптимизации радиопоглощающих структур [7]. В [5] для решения задачи оптимизации применен симплекс-метод, который, как отмечают авторы, не гарантирует нахождения глобального экстремума функционала. В этом отношении метод МК обладает тем преимуществом, что при правильном выборе пределов изменения переменных и достаточном количестве случайных выборок вероятность достижения глобального экстремума может быть сколь угодно приближена к единице.
ЗАКЛЮЧЕНИЕ
Построен базис из удовлетворяющих соотношениям Крамерса–Кронига дисперсионных функций для представления частотной зависимости диэлектрической проницаемости. Предложен эффективный алгоритм решения задач оптимизации слоистых радиопоглощающих структур, построенный на сочетании метода Монте-Карло с методом итераций. Решена задача минимизации толщины диэлектрической радиопоглощающей двухслойной структуры в диапазоне длин волн, в котором максимальная длина волны в 10 раз превосходит минимальную. Для уровня коэффициента отражения по мощности, не превышающего 0.1, получено значение отношения максимальной длины волны рабочего диапазона покрытия к его толщине, равное 15.6, что больше известного значение 14.5 для слоистых радиопоглощающих структур.
Результаты работы могут быть использованы разработчиками радиопоглощающих покрытий.
Авторы данной работы заявляют об отсутствии конфликта интересов.
About the authors
V. I. Ponomarenko
Vernadsky Crimean Federal University
Author for correspondence.
Email: vponom@gmail.com
Russian Federation, prosp. Acad. Vernadsky, 4, Simferopol, 295007
I. M. Lagunov
Vernadsky Crimean Federal University
Email: vponom@gmail.com
Russian Federation, prosp. Acad. Vernadsky, 4, Simferopol, 295007
References
- Беляев А.А., Беспалова Е.Е., Романов А.М. // Авиационные материалы и технологии. 2013. № 1. С. 53.
- Розанов К.Н. Частотно-зависимые магнитные и диэлектрические свойства композитных материалов для широкополосных СВЧ применений. Дис. … докт. физ.-мат. наук. М.: ИТПЭ РАН, 2018. 326 с.
- Борен К., Хафмен Д. Поглощение и рассеяние света малыми частицами. М.: Мир, 1986.
- Казанцев Ю.Н., Красножен А.П., Тихонравов А.В. // РЭ. 1990. Т. 35. № 6. С.1140.
- Виноградов А.П., Лагарьков А.Н., Сарычев А.К., Стерлина И.Г. // РЭ. 1996. Т. 41. № 2. С. 158.
- Пономаренко В.И., Лагунов И.М. // ЖТФ. 2020. Т. 90. № 6. С. 1009.
- Пономаренко В.И., Лагунов И.М. Поглотители электромагнитных волн. Радиофизическая теория. Методы расчета. Симферополь: Полипринт, 2021.
- Виноградова М.В., Руденко О.В., Сухоруков А.П. Теория волн. М.: Наука, 1979.
- Градштейн И.С., Рыжик И.М. Таблицы интегралов, сумм, рядов и произведений. М.: Наука, 1971.
- Биндер К., Хеерман Д.В. Моделирование методом Монте-Карло в статистической физике. М.: Физматлит, 1995.
- Ильина В.А., Силаев П.К. Численные методы для физиков-теоретиков. М.: АНО «Институт компьютерных исследований», 2003. Ч. 1.
- Пономаренко В.И., Лагунов И.М. // Электромагнитные волны и электрон. системы. 2019. Т. 24. № 5. C. 5.
Supplementary files






