Ректификационное разделение промышленной смеси изобутилацетат–уксусная кислота–изоамилацетат
- Авторы: Полковниченко А.В.1, Челюскина Т.В.2
-
Учреждения:
- Институт общей и неорганической химии им. Н.С. Курнакова РАН
- МИРЭА – Российский технологический университет (Институт тонких химических технологий имени М.В. Ломоносова)
- Выпуск: Том 57, № 4 (2023)
- Страницы: 433-444
- Раздел: Статьи
- Статья опубликована: 01.07.2023
- URL: https://medbiosci.ru/0040-3571/article/view/138516
- DOI: https://doi.org/10.31857/S0040357123040097
- EDN: https://elibrary.ru/VGCJLH
- ID: 138516
Цитировать
Полный текст
Аннотация
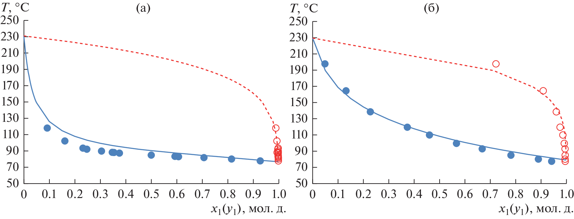
Рассмотрен процесс ректификационного разделения промышленной смеси изобутилацетат (ИБА)–уксусная кислота (УК)–изоамилацетат (ИАА), являющейся продуктом переработки многотоннажного отхода спиртовой промышленности. Предложены варианты принципиальной технологической схемы разделения (ПТСР) и определены параметры работы ректификационных колонн, обеспечивающие выделение ИАА и ИБА чистотой не менее 99.5 мол.% из промышленной смеси ИБА–УК–ИАА. ПТСР включает комплекс экстрактивной ректификации с использованием сульфолана (СФ). Проведена собственная оценка параметров бинарного взаимодействия модели NRTL-HOC для систем ИБА–УК, ИБА–ИАА, ИБА–СФ, УК–СФ. Для регрессии параметров получены новые экспериментальные данные о фазовом равновесии жидкость–пар в системах ИБА–СФ и УК–СФ при 200 мм рт. ст.
Об авторах
А. В. Полковниченко
Институт общей и неорганической химии им. Н.С. Курнакова РАН
Email: anzakhlevniy@rambler.ru
Россия, Москва
Т. В. Челюскина
МИРЭА – Российский технологический университет(Институт тонких химических технологий имени М.В. Ломоносова)
Автор, ответственный за переписку.
Email: chelyuskina@mirea.ru
Россия, Москва
Список литературы
- Пантелеев Е.В., Пантелеев П.Е., Пантелеева Г.В. Способ переработки сивушного масла. 2011. Патент № 2471769
- Patidar P., Mahajani S.M. Esterification of Fusel Oil Using Reactive Distillation. Part II: Process Alternatives // Ind. Eng. Chem. Res. 2013. V. 52. P. 16637–16647
- Комарова Л.В., Серафимов Л.А., Гарбер Ю.Н. Классификация диаграмм трехкомпонентных смесей, включающих биазеотропные составляющие // Журн. физической химии. 1974. Т. 48. С. 1391
- Жаров В.Т., Серафимов Л.А. Физико-химические основы дистилляции и ректификации. Химия, Л. 1975
- Gorak A., Schoenmakers H. Distillation: Operation and Applications, 1st ed. Elsevier, Amsterdam. 2014
- Коган В.Б. Азеотропная и экстрактивная ректификация. Изд. 2-е, перераб. и доп. Химия, Л. 1971
- Seader J.D., Henley E.J. Separation process principles. Wiley, New York. 1998
- Doherty M.F., Malone M.F. Conceptual Design of Distillation Systems. McGraw-Hill, New York. 2001
- Lei Z., Li C., Chen B. Extractive Distillation: A Review // Separation & Purification Reviews. 2003. V. 32. P. 121–213. https://doi.org/10.1081/SPM-120026627
- Wankat P.C. Equilibrium Staged Separations. Prentice Hall, Englewood Cliffs, NJ. 1984
- Фролкова А.К. Разделение азеотропных смесей. Физико-химические основы и технологические приемы. Гуманитар. изд. центр “Владос”, М. 2010
- Тимофеев В.С., Серафимов Л.А., Тимошенко А.В. Принципы технологии основного органического и нефтехимического синтеза // Учебное пособие для вузов. Изд. 3-е, перераб. и доп. М.: Высшая школа, 2010. 407 с.
- Muñoz R., Montón J.B., Burguet M.C., de la Torre J. Separation of isobutyl alcohol and isobutyl acetate by extractive distillation and pressure-swing distillation: Simulation and optimization // Sep. Purif. Technol. 2006. V. 50. P. 175–183. https://doi.org/10.1016/j.seppur.2005.11.022
- Renon H., Prausnitz J.M. Local compositions in thermodynamic excess functions for liquid mixtures // AIChE J. 1968. V. 14. P. 135–144. https://doi.org/https://doi.org/10.1002/aic.690140124
- Митюшкина И.А. Разделение бинарных биазеотропных смесей с использованием дополнительных веществ различной летучести / Дисс. … канд. техн. наук. МИТХТ, М. 2011
- Челюскина Т.В. Теоретические основы ректификационного разделения биазеотропных смесей / Дисс. … докт. техн. наук. МИТХТ, М. 2011
- Hayden J.G., O’Connell J.P. A generalized method for predicting secod virial coefficients // Industrial & Engineering Chemistry Process Design and Development. 1975. V. 14. P. 209
- Серафимов Л.А. Теоретические принципы построения технологических смех ректификации неидеальных многокомпонентных смесей / Дисс. … докт. техн. наук. МИТХТ, М. 1968
- Шутова Г.В. Физико-химические закономерности биазеотропии в бинарных системах / Дисс. … канд. хим. наук. МИТХТ, М. 1992
- Серафимов Л.А., Фролкова А.К., Челюскина Т.В. Подбор экстрактивных агентов при разделении биазеотропных бинарных смесей экстрактивной ректификацией // Теоретические основы химической технологии. 2009. Т. 43. С. 648
- Мягкова Т.О. Физико-химические основы разделения биазеотропных смесей / Дисс. … канд. техн. наук. МИТХТ, М. 2007
- Meirelles A., Weiss S., Herfurth H. Ethanol dehydration by extractive distillation // Journal of Chemical Technology & Biotechnology. 1992. V. 53. P. 181
- Клаузнер П.С., Рудаков Д.Г., Анохина Е.А., Тимошенко А.В. Применение комплекса с частично связанными тепловыми и материальными потоками и тепловых насосов в экстрактивной ректификации смеси аллило- вый спирт – аллилацетат с н-бутилпропионатом // Химия и технология органических веществ. 2020. № 4 (16). C. 42–56.
- Павлов С.Ю. Выделение и очистка мономеров для синтетического каучука. Химия, Л. 1987
- Зарецкий М.И. Комплексообразование бензола и галогенбензолов с органическими растворителями // Российский химический журн. 1998. Т. XLII. С. 9
- Биттрих Г.Й., Гайле А.А., Лемпе Д., Проскуряков В.А., Семенов Л.В. Разделение углеводородов с использованием селективных растворителей. Химия, Л. 1987
- Челюскина Т.В., Бедретдинов Ф.Н. Математическое моделирование экстрактивной ректификации смеси бутилбутират – масляная кислота // Теоретические основы химической технологии. 2016. Т. 50. С. 516
- Бедретдинов Ф.Н., Челюскина Т.В. Исследование различных изомногообразий в четырехкомпонентных системах, содержащих биазеотропные бинарные составляющие // Тонкие химические технологии. 2018. Т. 13. № 1. C. 45–53.
- Раева В.М., Громова О.В. Разделение смеси вода – муравьиная кислота – уксусная кислота в присутствии сульфолана // Тонкие химические технологии. 2019. Т. 14. № 4. C. 24–32.
- Bedretdinov F., Chelyuskina T., Frolkova A. Modeling of vapor-liquid equilibrium and extractive rectifiction of butyl-propionate-propionic acid mixture // In: 10th International Conference on Distillation and Absorption. Germany. 2014. P. 928.
- Гайле А.А., Сомов В.Е. Сульфолан. Получение и применение в качестве селективного растворителя. 2-е изд., испр. и доп. ХИМИЗДАТ, СПб. 2014
- Иванов И.В., Лотхов В.А., Глебова Ю.А., Челюскина Т.В., Кулов Н.Н. Исследование фазового равновесия в системе бензол–гептан–N-метилпирролидон // Теоретические основы химической технологии. 2014. Т. 48. С. 363.
- Christensen S.P., Olson J.D. Phase equilibria and multiple azeotropy of the acetic acid-isobutyl acetate system // Fluid Phase Equilib. 1992. V. 79. P. 187–199. https://doi.org/10.1016/0378-3812(92)85129-V
- Burguet M.C., Montón J.B., Muñoz R., Wisniak J., Segura H. Polyazeotropy in Associating Systems: The 2-Methylpropyl Ethanoate + Ethanoic Acid System // J. Chem. Eng. Data. 1996. V. 41. p. 1191–1195. https://doi.org/10.1021/je960159k
- Zhang C., Wan H., Xue L., Guan G. Investigation on isobaric vapor liquid equilibrium for acetic acid + water + (n-propyl acetate or iso-butyl acetate) // Fluid Phase Equilib. 2011. V. 305. P. 68–75. https://doi.org/10.1016/j.fluid.2011.03.006
- Челюскина Т.В., Митюшкина И.А., Чернышова М.А., Фролкова А.К. Математическое моделирование эволюции биазеотропии в системе изобутилацетат – уксусная кислота // Вестник МИТХТ. 2011. Т. 6. С. 47.
- Челюскина Т.В., Митюшкина И.А., Фролкова А.К., Чернышова М.А. Разделение биазеотропных смесей с использованием легколетучих дополнительных веществ // Химическая технология. 2011. Т. 12. С. 730.
- Серафимов Л.А., Челюскина Т.В., Полковниченко А.В., Якушев Р.А. Анализ взаимных преобразований структур диаграмм трехкомпонентных систем путем образования бинарных внутренних тангенциальных азеотропов // Теоретические основы химической технологии. 2018. Т. 52. С. 636–648. https://doi.org/10.1134/S0040357118040061
- Серафимов Л.А., Челюскина Т.В., Якушев Р.А. Термодинамико-топологический анализ образования внутренних тангенциальных азеотропов в бинарных двухфазных системах // Тонкие химические технологии. 2015. Т. 10. С. 41.
- Sánchez C.A., Sánchez O.A., Orjuela A., Gil I.D., Rodríguez G. Vapor–Liquid Equilibrium for Binary Mixtures of Acetates in the Direct Esterification of Fusel Oil // J. Chem. Eng. Data. 2017. V. 62. P. 11–19. https://doi.org/10.1021/acs.jced.6b00221
- Osorio-Viana W., Duque-Bernal M., Quintero-Arias J.D., Dobrosz-Gómez I., Fontalvo J., Gómez-García M.Á. Activity model and consistent thermodynamic features for acetic acid–isoamyl alcohol–isoamyl acetate–water reactive system // Fluid Phase Equilib. 2013. V. 345. P. 68–80. https://doi.org/10.1016/j.fluid.2013.02.006
- Wittig R., Lohmann J., Gmehling J. Vapor-Liquid Equilibria by UNIFAC Group Contribution. 6. Revision and Extension // Ind. Eng. Chem. Res. 2003. V. 42. P. 183.
- Челюскина Т.В., Полковниченко А.В., Модурова Д.Д. Расширение классификации трехкомпонентных систем, содержащих бинарные биазеотропные составляющие и не имеющих тройных азеотропов // Теоретические основы химической технологии. 2020. Т. 54. С. 738.
- Серафимов Л.А. Термодинамико-топологический анализ диаграмм гетерогенного равновесия многокомпонентных смесей // Журн. физической химии. 2002. Т. 76. С. 1351.
- Patidar P., Mahajani S.M. Esterification of fusel oil using reactive distillation – Part I: Reaction kinetics // Chemical Engineering J. 2012. V. 207–208. P. 377–387. https://doi.org/10.1016/j.cej.2012.06.139
- Huang X. Modeling and Optimization of Acetic Acid Dehydration Process in Industrial Heterogeneous Azeotropic Distillation. PhD Thesis, East China University of Science and Technology, Shanghai 2014.
- Gao H., Zhao F., Zhu L., Yang F., Wang Y., Li D. Dehydration of a Dilute Acetic Acid-Water Mixture via Batch Heteroazeotropic Distillation // Chem. Eng. Technol. 2021. V. 44. P. 477–487.
Дополнительные файлы











