Simulation of the Combustion Process of Methane Hydrate Taking into Account Incomplete Evaporation of Released Water during Its Dissociation
- Authors: Bayanov I.M.1, Gimaltdinov I.K.2, Stolpovsky M.V.2
-
Affiliations:
- Kazan National Research Technical University
- Ufa State Petroleum Technological University
- Issue: Vol 61, No 2 (2023)
- Pages: 251-257
- Section: Heat and Mass Transfer and Physical Gasdynamics
- URL: https://medbiosci.ru/0040-3644/article/view/138715
- DOI: https://doi.org/10.31857/S0040364423020011
- ID: 138715
Cite item
Full Text
Abstract
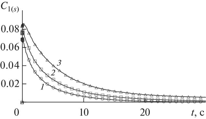
A mathematical model of the combustion process of methane hydrate in a closed volume is presented, taking into account the kinetics of its decomposition (nonequilibrium), as well as absorption of thermal radiation energy. Based on the numerical solution by the large particle method, the distributions of the main parameters of the system were constructed. The authors compare the specific features of hydrate combustion for cases corresponding to different values of the fraction of evaporated water released during hydrate dissociation. It is shown that partial evaporation of water formed during decomposition of the hydrate leads to an increase in the combustion temperature of the gas mixture and to more intense decomposition of the hydrate compared to the case of complete evaporation of all released water. The dependences of the flame temperature, the maximum pressure of the gas mixture, and the law of motion of the phase transition front on the degree of evaporation of the released water are constructed and analyzed.
About the authors
I. M. Bayanov
Kazan National Research Technical University
Email: iljas_g@mail.ru
Kazan, Russia
I. K. Gimaltdinov
Ufa State Petroleum Technological University
Email: iljas_g@mail.ru
Ufa, Russia
M. V. Stolpovsky
Ufa State Petroleum Technological University
Author for correspondence.
Email: iljas_g@mail.ru
Ufa, Russia
References
- Шагапов В.Ш., Мусакаев Н.Г. Динамика образования и разложения гидратов в системах добычи, транспортировки и хранения газа. М.: Наука, 2016. 237 с.
- Anshits A., Kirik N., Shibistov B. Possibilities of SO2 Storage in Geological Strata of Permafrost Terrain // Advances in the Geological Storage of Carbon Dioxide. 2006. V. 65. P. 93.
- Khasanov M.K., Stolpovsky M.V., Gimaltdinov I.K. Mathematical Modelofinjection of Liquid Carbon Dioxide in a Reservoir Saturated with Methane and Its Hydrate // Int. J. Heat Mass Transfer. 2019. V. 132. P. 529.
- Donskoy I.G., Misyura S.Ya. Non-isothermal Kinetic Model of the Methane Hydrate Dissociation Process at Temperatures Below Ice Melting Point // Energy Systems Res. 2020. V. 3(1). P. 27.
- Gaydukova O.S., Misyura S.Ya., Strizhak P.A. Investigating Regularities of Gas Hydrate Ignition on a Heated Surface: Experiments and Modelling // Combust. Flame. 2021. V. 228. P. 78.
- Misyura S.Y., Donskoy I.G. Dissociation and Combustion of a Layer of Methane Hydrate Powder: Ways to Increase the Efficiency of Combustion and Degassing // Energies. 2021. V. 14(16). P. 4855.
- Misyura S.Y. Non-stationary Combustion of Natural and Artificial Methane Hydrate at Heterogeneous Dissociation // Energy. 2019. V. 181. P. 589.
- Misyura S.Y., Manakov A.Y., Morozov V.S., Nyashina G.S., Gaidukova O.S., Skiba S.S., Volkov R.S., Voytkov I.S. The Influence of Key Parameters on Combustion of Double Gas Hydrate // J. Nat. Gas Sci. Eng. 2020. V. 80. P. 103396.
- Донской И.Г., Мисюра С.Я. Экспериментальное и теоретическое исследование диффузионного горения метана над слоем газового гидрата при ламинарном течении воздуха // ФГВ. 2022. № 4. С. 52.
- Bar-Kohany T., Sirignano W.A. Transient Combustion of a Methane-hydrate Sphere // Combust. Flame. 2016. V. 163. P. 284.
- Cui G., Dong Z., Wang S., Xing X., Shan T., Li Z. Effect of the Water on the Flame Characteristics of Methane Hydrate Combustion // Appl. Energy. 2020. V. 259. P. 114205.
- Dagan Y., Bar-Kohany T. Flame Propagation Through Three-phase Methane-hydrate Particles // Combust. Flame. 2018. V. 193. P. 25.
- Misyura S.Y. Efficiency of Methane Hydrate Combustion for Different Types of Oxidizer Flow // Energy. 2016. V. 103. P. 430.
- Васильев А.А., Валишев А.И., Васильев В.А. Оценка параметров горения и детонации углеводородных газогидратов // ФГВ. 2000. Т. 36. № 6. С. 119.
- Гималтдинов И.К., Баянов И.М., Столповский М.В., Чиглинцева А.С. О горении гидрата в замкнутом объеме // ИФЖ. 2022. Т. 95. № 3. С. 605.
- Wilcox D.C. Turbulence Modeling for CFD. California: DCW Industries, Inc., 1998.
- Smirnov N.N., Nikitin V.F., Legros J.C. Ignition and Combustion of Turbulized Dust−Air Mixtures // Combust. Flame. 2000. V. 123(1–2). P. 46.
- Красс М.С., Мерзликин В.Г. Радиационная теплофизика снега и льда. Л.: Гидрометеоиздат, 1990. 262 с.
- Стромберг А.Г., Семченко Д.П. Физическая химия. М.: Высшая школа, 1999. 527 с.
- Нигматулин Р.И. Динамика многофазных сред. Ч. 1. М.: Наука; Гл. ред. физ.-мат. лит., 1987. 464 с.
- Белоцерковский О.М., Давыдов Ю.М. Метод крупных частиц в газовой динамике. М.: Наука; Гл. ред. физ.-мат. лит., 1982. 392 с.
Supplementary files









