Численное исследование нелинейной фильтрации высоковязкой жидкости в пласте при высокочастотном электромагнитном воздействии в вертикальной скважине
- Authors: Давлетбаев А.Я.1, Ковалева Л.А.1, Мухаметова З.С.1
-
Affiliations:
- Уфимский университет науки и технологий
- Issue: Vol 62, No 5 (2024)
- Pages: 731–738
- Section: Heat and Mass Transfer and Physical Gasdynamics
- URL: https://medbiosci.ru/0040-3644/article/view/280991
- DOI: https://doi.org/10.31857/S0040364424050116
- ID: 280991
Cite item
Full Text
Abstract
Представлены результаты численного моделирования добычи высоковязкой жидкости из низкопроницаемого пласта к вертикальной скважине при высокочастотном электромагнитном воздействии. В задаче учитывается эффект нелинейной фильтрации жидкости в продуктивном пласте с помощью зависимости коэффициента эффективной проницаемости от градиента давления. Определено влияние электромагнитного воздействия на величину притока жидкости к скважине, значений предельного градиента давления, мощности излучателя электромагнитных волн, перепада давления между скважиной и пластом на динамику величины притока жидкости и изменение температуры в скважине.
Full Text
Введение
Высокая вязкость нефти значительно ухудшает фильтрацию флюида в пласте и приводит к низким дебитам скважины. Добыча высоковязкой нефти из продуктивных пластов может осуществляться с отклонением от линейного закона фильтрации Дарси [1–3]. Лабораторные фильтрационные исследования кернов с проницаемостью менее 0.001 мкм2 свидетельствуют о наличии нелинейной фильтрации в низкопроницаемых пластах [4–12]. В работе [6] показано, что эффективная проницаемость коллектора при фильтрации нефти может уменьшаться на несколько порядков и существенно снижаться при градиентах давления менее 0.5 МПа/м. По результатам этих лабораторных исследований предложены аппроксимирующие зависимости эффективной проницаемости от градиента давления [8]. Кроме того, при моделировании в гидродинамическом симуляторе «РН-КИМ» исследовано влияние нелинейной фильтрации на темпы падения величины притока жидкости в скважинах [9] и рассчитаны эффективные радиусы дренирования вокруг добывающих скважин [10]. Влияние нелинейной фильтрации на распределение давления в пласте и динамику величины притока жидкости в скважине представлено в [10–13].
Залежи высоковязких, битумных нефтей или нефтематеринских пород характеризуются низкой подвижностью флюида, поэтому при моделировании добычи жидкости из таких пластов необходимо учитывать эффект нелинейной фильтрации [1–13]. В случае фильтрации высоковязких жидкостей важно повысить подвижность пластовой системы, что обычно достигается с помощью тепловых методов. В данной работе изучается процесс добычи жидкости из продуктивного пласта с низкой подвижностью к вертикальной скважине при тепловом воздействии, созданном применением высокочастотного (ВЧ) электромагнитного (ЭМ) излучения [14–17]. Преимущество ВЧЭМ-воздействия на пласт в сравнении с другими термическими методами связано с возникновением в продуктивном пласте объемных источников тепла и большим радиусом теплового воздействия.
Целью работы является исследование процессов тепломассопереноса в низкопроницаемом пласте с учетом нелинейной фильтрации при добыче высоковязкой нефти с использованием высокочастотного электромагнитного воздействия.
Постановка задачи и основные уравнения
Рассматривается процесс добычи высоковязкой жидкости к вертикальной скважине при воздействии ВЧЭМ-поля на околоскважинную зону продуктивного пласта. Неизотермическая фильтрация высоковязкой нефти в анизотропном пласте с замкнутыми границами описывается уравнением пьезопроводности с учетом термического расширения, изменения вязкости жидкости от температуры [17] и зависимости эффективной проницаемости от градиента давления [2], а также уравнением конвективной теплопроводности с учетом адиабатического эффекта [18] при задании плотности распределения источников тепла в пласте за счет диссипации энергии электромагнитного излучения [13, 19–22]:
(1)
(2)
Здесь a(G) – безразмерный коэффициент, учитывающий нелинейную фильтрацию [2]; ϕm, , , – пористость и проницаемость анизотропного продуктивного пласта; βmt – общая сжимаемость системы в пласте; ρo – плотность нефти; co – удельная теплоемкость нефти; δo – коэффициент термического расширения нефти; ηo– показатель адиабаты нефти; αmt, , – объемная теплоемкость и теплопроводность в анизотропном пласте; f (E)– плотность источников тепла; Pm, Tm – давление и температура в пласте; нижние индексы: m – пласт (матрица); o – нефть; t – общий параметр системы; x, y – оси координат x и y.
Проявление нелинейной фильтрации жидкости в пласте учитывается в зависимости коэффициента эффективной проницаемости от градиента давления [2]:
(3)
где – градиент давления, Gi – начальный (предельный) градиент давления.
При выводе уравнений (1),(2) учитывалось, что скорость фильтрации жидкости в продуктивном пласте описывается модифицированным законом Дарси
(4)
Вязкость нефти зависит от температуры и описывается выражением [21, 23, 24]
(5)
где µoi – вязкость жидкости при начальной температуре Ti ; γо – коэффициент, учитывающий влияние температуры на вязкость пластовой жидкости; Ti – начальная пластовая температура.
Благодаря энергетическому взаимодействию ЭМ-волн с пластовой жидкостью и пластом в околоскважинной области возникают источники тепла, описываемые выражением [19]
(6)
Здесь – цилиндрическая координата, rd – радиус излучателя, αd – коэффициент затухания электромагнитных волн, J = Ne / Sd – интенсивность излучателя ЭМ-волн, Ng и Ne – мощность генератора и излучателя ЭМ-волн [25]; индексы: w – скважина, d – затухание ЭМ-волн, g – генератор электромагнитных волн, e – излучатель электромагнитных волн, i – начальное значение.
В данной работе учитывается ВЧЭМ-воздействие, сопровождающееся возникновением тепловых источников тепла только в нефтенасыщенной продуктивной части пласта, а в окружающих непродуктивных породах поглощения ВЧЭМ-волн практически не происходит. Термическое воздействие на пласт может быть реализовано путем спуска в интервал продуктивного пласта системы с ВЧ-генератором [26] и передачи ВЧ-энергии от наземного генератора к забойному излучателю по коаксиальной системе насосно-компрессорных труб и обсадной колонны скважины [20]. При этом часть ствола скважины в интервале продуктивного пласта может состоять из полимерных труб или ствол скважины может быть не обсажен металлическими трубами в интервале пласта [20, 27, 28]. Предполагается, что генератор вместе с закрепленной антенной-излучателем спущен в забой скважины, а излучатель находится на уровне продуктивного пласта, поэтому потерями в системе «генератор–излучатель» можно пренебречь, и мощность излучателя равна мощности генератора ЭМ-волн Ne = Ng.
При моделировании добычи с одновременным ВЧЭМ-воздействием показано, что адиабатическим эффектом можно пренебречь [29], поэтому полагается ηo = 0. В большинстве случаев продуктивные пласты анизотропные, но для упрощения задачи фильтрационные и теплофизические свойства во всех направлениях распространения считаются одинаковыми: = = km и . В данной задаче полагается, что вертикальная теплопроводность существенно меньше горизонтальной, а вклад кондуктивной вертикальной передачи тепла в окружающие породы во много раз меньше конвективного переноса и потока тепла из-за возникновения объемных тепловых источников при ЭМ-воздействии в нефтенасыщенном продуктивном пласте [14]. Теплопотери в окружающие породы не учитывались.
Граничные условия и этапы воздействия
В начальный момент времени до запуска скважины и начала теплового воздействия в системе «скважина – продуктивный пласт» задаются постоянные начальные пластовые давление и температура:
(7)
При добыче жидкости с низкой подвижностью флюидов происходит локальное изменение давления на небольших расстояниях от скважины [10], поэтому принимается, что скважина находится в замкнутом пласте. В силу симметричности геометрии задачи считается, что вертикальная скважина является началом координат и находится в середине прямоугольного пласта, и рассматривается 1/4 геометрии задачи. Вдоль осей координат Ox и Oy, которые пересекаются в вертикальной скважине, заданы условия симметрии по давлению и температуре:
(8)
В забое скважины при осуществлении добычи пластовой жидкости поддерживается постоянное давление
(9)
Величина притока жидкости в скважину рассчитывается по выражению
(10)
где q – величина притока жидкости в скважину, м3/сут; Bo – коэффициент объемного расширения жидкости; h – высота продуктивного пласта.
Результаты численных расчетов
Система уравнений (1), (2) с дополнительными выражениями (3)–(6) и граничными условиями (7)–(10) решалась конечно-разностным методом с использованием итеративной схемы Ньютона. В расчетах использовалась неравномерная прямоугольная разностная сетка с распределенными узлами и сгущением возле скважины. Тестирование численной модели проведено для количества ячеек (120 × 120) при изотермической фильтрации жидкости по линейному закону Дарси и добыче жидкости посредством вертикальной скважины из однородного изотропного пласта. Результаты численного расчета удовлетворительно согласуются с численно-аналитическим решением для модели вертикальной скважины с замкнутыми границами пласта, реализованным в программном комплексе «РН-ВЕГА» [29].
В вертикальной скважине осуществлено моделирование теплового воздействия, которое состоит из нескольких этапов: первый и третий – «холодная» добыча без ВЧЭМ-воздействия (Ng = 0) при постоянном забойном давлении в скважине; второй этап – добыча жидкости в скважине осуществляется при тепловом ЭМ-воздействии ( = Ng = 50, 100, 150 кВт) на продуктивный пласт. На рис. 1–5 представлены результаты численного моделирования в виде динамики величины притока жидкости к скважине при «холодной» добыче и добыче с поэтапным тепловым воздействием на продуктивный пласт при различных значениях предельного градиента давления Gi, мощности генератора ЭМ-волн, перепада давления между скважиной и пластом, коэффициента термического расширения нефти (таблица).
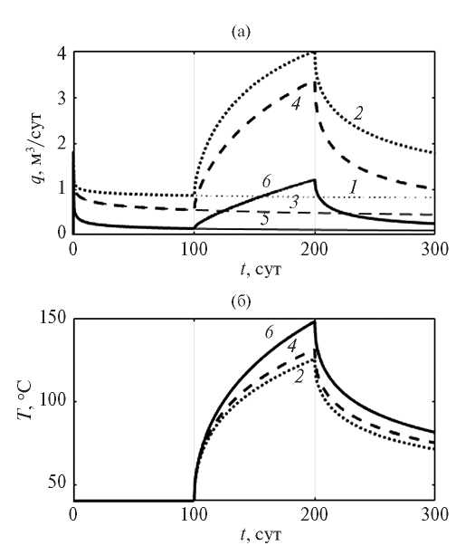
Рис. 1. Динамика величин притока жидкости (а) и температуры(б) в скважине при km =10 × 10–15 м2, δo = 1.0 × 10–4 1/К, ∆P = 10 МПа, Ng = 0 кВт (1, 3, 5) и Ng = 100 (2, 4, 6): 1, 2 – Gi = 0.001 МПа/м; 3, 4 –0.1; 5, 6 –1.
Рис. 2. Распределения коэффициента нелинейной фильтрации (а), температуры в пласте (б) при km = 10 ×10–15 м2, ∆t2 = 100 сут, δo= 1.0 × 10–4 1/К, ∆P = 10 МПа, Ng = 0 кВт (1, 3, 5) и Ng = 100 (2, 4, 6): 1, 2 – Gi = 0.05 МПа/м; 3, 4 –0.1; 5, 6 – 1.
Рис. 3. Распределения давления (а), градиента давления в пласте (б) при km = 10 ×10–15 м2, ∆t2 = 100 сут, δo= 1.0 × 10–4 1/К, ∆P = 10 МПа, Ng = 0 кВт (1, 3) и Ng = 100 (2, 4): 1, 2 – Gi = 0.1 МПа/м; 3, 4 – 1.
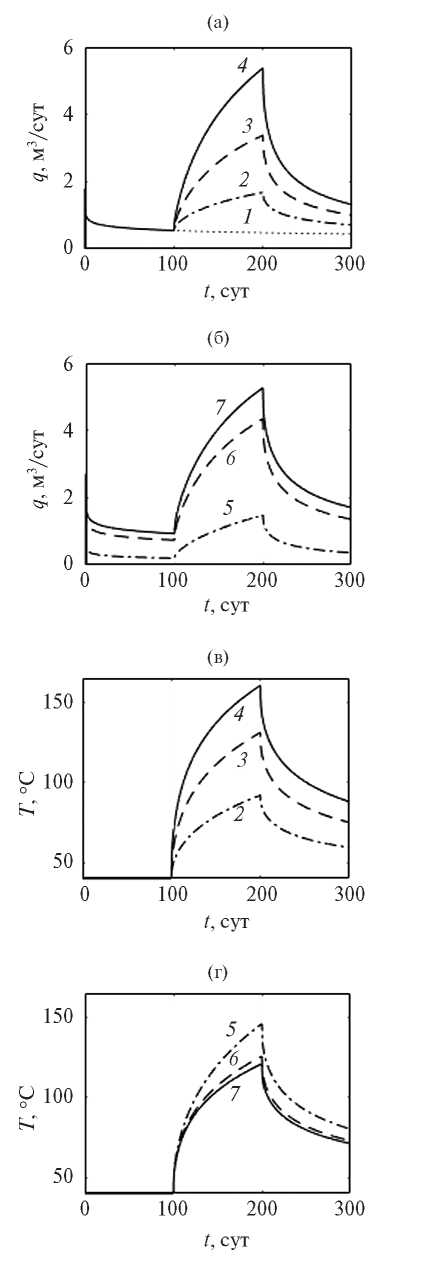
Рис. 4. Динамика величин притока (а), (б) и температуры (в),(г) в скважине при km =10 × 10–15 м2, δo = 1.0 × 10–41/К, Gi = 0.1 МПа/м: (а), (в) – ∆P = = 10 МПа, Ng = 0 кВт (1), 50 (2), 100 (3), 150 (4); (б), (г) – Ng = 100 кВт, ∆P = 5 МПа (5), 7.5 (6), 15 (7).
Рис. 5. Распределения коэффициента нелинейной фильтрации (а), (б) и температуры (в), (г) при km = 10 × 10–15 м2, δo =1.0 × 10–4 1/К, Gi = 0.1 МПа/м: (а), (в) – ∆P = 10 МПа, Ng = 0 кВт (1), 50 (2), 100 (3), 150 (4); (б), (г) – Ng = 100 кВт, ∆P = 5 МПа (5), 7.5 (6), 15 (7).
Исходные данные для моделирования
Параметр | Значение |
αd, 1/м | 0.02374 |
αmt, Дж/(м К) | 1326000 |
βmt, 1/Па | 1.83 × 10–9 |
βo, 1/Па | 1.40 × 10–9 |
γo, 1/К | 0.042 |
δo, 1/К | 1.0 × 10–4 |
ηo, К/Па | 0 |
co, Дж/(кг К) | 2000 |
Gi, МПа/м | 0.001, 0.05, 0.1, 1 |
, , м2 | 10×10–15 |
h, м | 15 |
µoi, Па с | 100 × 10–3 |
Ng, кВт | 0, 50, 100, 150 |
Расстояние до границ пласта Lx, Ly, м | 150 |
Начальное пластовое давление Pi, МПa | 25 |
Ti, °C | 40 |
rd, м | 0.06 |
ϕm | 0.18 |
Радиус скважины xw /2, yw /2, м | 0.06 |
, , Вт/(м К) | 2.4852 |
ρo, кг/м3 | 950 |
∆P, МПа | 5, 7.5, 10, 15 |
Длительность этапов воздействия, сут | 100 |
Электрическая постоянная ε0, Ф/м | 8.854187817 × 10–12 |
Магнитная постоянная χ0, Гн/м | 1.25663706 × 10–6 |
При «холодной» добыче (кривые 1, 3, 5 на рис. 1а) для случаев с более высокими значениями предельного градиента давления Gi ослабевание притока пластовой жидкости в скважину происходит быстрее. Так, при сравнении величины притока жидкости в моменты времени t = 100 и 300 сут для Gi = 0.001 МПа/м (кривая 1) отличие составляет ~1.07 раза, для Gi = = 0.1 (кривая 3) – q ≈ 1.26 раза, для Gi = 1.0 (кривая 5) – q ≈ 1.42 раза. На втором этапе с тепловым воздействием величина притока жидкости в скважине кратно усиливается. В случае предельного градиента давления Gi = 0.001 МПа/м (кривая 2) за 100 сут добычи с одновременным ВЧ- и ЭМ-воздействием отмечается рост с ~ 0.87 до ~ 4.03 м3/сут (~4.63 раза), при Gi = 0.01 (кривая 4) – с ~ 0.56 до ~3.38 (~ 6.04 раза), а для Gi = 1 (кривая 6) – с ~ 0.14 до 1.21 (~ 8.64 раза). На третьем этапе с выключенным генератором ВЧЭМ-волн происходит ослабление притока жидкости к скважине. Причем приток жидкости в скважине даже после продолжительного периода работы без теплового воздействия остается более интенсивным, чем в случаях с «холодной» добычей и без применения теплового воздействия на втором этапе: при Gi = 0.001 МПа/м (кривые 1, 2 на рис. 1а) отличие ~2.20 раза, при Gi = 0.1 (кривые 3, 4) ~ 2.27 раза, при Gi = 1.0 (кривые 5, 6) ~ 2.52 раза.
Изменения температуры в скважине на всех этапах добычи высоковязкой жидкости при различных значениях предельного градиента давления Gi приведены на рис. 1б. На первом этапе «холодной» добычи наблюдается постоянное значение температуры в скважине, которое совпадает с начальной пластовой температурой. Далее на втором этапе добычи жидкости с одновременной работой генератора ВЧЭМ-волн отмечается рост температуры в скважине. Температура в скважине возрастает тем сильнее, чем больше предельный градиент давления в пласте. Для Gi = 0.001, 0.1, 1 МПа/м рост температуры через 100 сут воздействия ЭМ-поля достиг значений ~125.2 °С (кривая 2, рис. 1б), ~131.1 °С (кривая 4), ~ 148 °С (кривая 6). На третьем этапе добычи с отключенным генератором ВЧЭМ-волн происходит снижение температуры, однако за продолжительное время она остается выше первоначальной температуры пласта. Через 100 сут добычи жидкости без теплового воздействия температура в скважине достигла 71.1–81.0 °С. Причем чем выше предельный градиент давления, тем выше температура в конце третьего этапа. Этот эффект на третьем этапе и более высокие температуры для высоких предельных градиентов давления на втором этапе объясняются большей скоростью выноса тепла из околоскважинной зоны вместе с добываемой из скважины пластовой жидкостью. Чем больше предельный градиент давления в пласте, тем меньше объемы выносимых пластовой жидкости и тепла из прогретой части пласта.
Распределение коэффициента a(G), характеризующее проявление нелинейной фильтрации, и температуры в пласте для различных значений предельного градиента давления приведены на рис. 2. При «холодной» добыче жидкости (кривые 1,3,5 на рис. 2а) отмечается монотонное снижение коэффициента a(G), которое на расстоянии 50 м от скважины при Gi = 0.05МПа/м составляет ~3.28 раза (кривая1), при Gi = 0.1 – 4.80 раза (кривая 3), при Gi = 1.0 – 20.67 раза (кривая 5). Коэффициент a(G) при добыче с включенным генератором ВЧЭМ-волн уменьшается слабее, поскольку прогревается околоскважинная зона (кривые 2, 4, 6, рис. 2б). Рост температуры в пласте сопровождается снижением вязкости пластовой жидкости и, соответственно, увеличением эффективной подвижности жидкости в пласте (km/µo)a(G). При Gi = 0.05 МПа/м a(G) уменьшается в ~2.0 раза (кривая 2, рис. 2а), при Gi = = 0.1 – 2.8 раза (кривая 4), при Gi = 1.0 – 7.2 раза (кривая 6). В области 2–5 м от скважины наблюдается перегиб в распределении a(G), который также проявляется на кривых распределения давлений и градиентов давлений в пласте (рис. 3).
На кривых распределения давления и градиента давлений видно, что через 200 сут с момента начала добычи область дренирования вокруг скважины составляет 100 м при предельном градиенте давления Gi = 0.1 МПа/м (кривые 1, 2 на рис. 3а), 60 м при Gi = 1.0 (кривые 3, 4). При этом размеры областей дренирования вокруг скважины при «холодной» добыче и добыче с тепловым воздействием практически совпадают. Градиенты давлений в ближней зоне пласта (на расстояниях 2–5 м от скважины) имеют такой же немонотонный вид, как кривые распределения коэффициента a(G) на рис. 2а. Значения градиентов давления на расстояниях 6.9–8.5 м при тепловом воздействии ниже, чем в случае «холодной» добычи (кривые 1–4 на рис. 3б). В дальней зоне пласта тенденция меняется и градиенты давления выше для случая с тепловым воздействием.
На рис. 4 показано влияние мощности генератора ВЧЭМ-волн (кривые 1–4, рис. 4а) и перепада давления между скважиной и пластом (кривые 5, 6, рис. 4б) на изменение величины притока жидкости и температуры в скважине (кривые 2–7, рис. 4в, 4г) при предельном градиенте давления Gi = 0.1 МПа/м. Величина притока в скважине при добыче с включенным генератором ВЧЭМ-волн ( = 50, 100, 150 кВт) по сравнению с «холодной» добычей (кривая 1, рис. 4а) увеличивается кратно (от ~3.5 до ~11.2 раза) через 100 сут воздействия на втором этапе (кривые 2–4). Температура в скважине при добыче с тепловым воздействием с мощностью генератора ЭМ-волн = = 150 кВт достигает 160 °С (кривая 4, рис. 4в). При мощности ВЧЭМ-генератора = 150 отмечается рост температуры в околоскважинной зоне (кривая 4, рис. 4в), она в ~2.3 раза выше, чем при = 50 (кривая 2). При добыче с отключенным генератором ЭМ-волн на третьем этапе наблюдается ослабевание величины притока жидкости, но абсолютные значения этого параметра в конце третьего этапа остаются (в 1.6–3.0 раз) выше, чем в случае с «холодной» добычей.
Перепад давления между скважиной и пластом также влияет на кратность интенсивности величины притока в конце первого и второго этапов. При наименьшем перепаде давлений ∆P = 5МПа (кривая 5, рис. 4б) кратность q составляет ~7.3 раза, а при больших перепадах давлений кратность меньше: при ∆P = 7.5 МПа ~5.9 раза (кривая 6), при ∆P = 15~5.6 раза (кривая 7). Это обусловливается тем, что при меньших перепадах давления в околоскважинной зоне достигаются более высокие температуры: при ∆P = 5 МПа – до 145.9 °С (кривая 5, рис. 4г), при ∆P = 7.5– до 125.5 °С (кривая 6), при ∆P = 15 – до 120.8 °С (кривая 7). В конце третьего этапа также величина притока интенсивнее в ~1.8 раза и температура выше первоначальной на 30–40 °С.
Из рис. 5 видно, что при возрастании мощности генератора ВЧЭМ-волн характер изменения коэффициента a(G) неодинаковый. При тепловом воздействии мощностью =150 кВт (кривая 4, рис. 5а) коэффициент a(G) уменьшается слабее (изменяется в интервале от ~0.34 при x = 50 м до ~0.80 в околоскважинной области), чем в случае «холодной» добычи (от ~0.20 до ~0.97, кривая 1) и воздействии с меньшей мощностью = 50 (от ~0.27 до ~0.94, кривая 2) и = 100 (a(G) от ~0.31 до ~0.88, кривая 3). Увеличение перепада давления между скважиной и пластом также сопровождается большими значениями a(G) и меньшими абсолютными значениями температуры в околоскважинной области (рис. 5б, 5г). Также и на рис. 3 кривые распределения a(G) имеют немонотонный вид. Видно, что этот эффект с распределением a(G) на расстояниях до ~10 м усиливается с увеличением градиента температуры в ближней зоне пласта. Соответственно, чем больше мощность генератора ВЧЭМ-волн и меньше перепад давления между скважиной и пластом, тем более немонотонное распределение a(G) в ближней зоне пласта.
Заключение
В работе показано, что при добыче жидкости в вертикальной скважине с одновременным высокочастотным электромагнитным воздействием отмечается немонотонность в распределении градиентов давления и коэффициента нелинейной фильтрации в околоскважинной области на расстояниях до 10 м. Этот эффект усиливается с увеличением градиентов температуры в ближней зоне пласта и, соответственно, может регулироваться мощностью генератора ВЧЭМ-волн, перепадом давления между скважиной и пластом.
Для случаев с большим перепадом давления между скважиной и пластом (от 5 до 15МПа) отмечается меньшая кратность увеличения интенсивности величины притока на этапе теплового воздействия с мощностью генератора ЭМ-волн 100 кВт (от 7.3 до 5.6 раза). При этом прирост температуры в околоскважинной зоне (от 80 °С до 106 °С) через 100 сут добычи с одновременным ЭМ-воздействием также ниже в случаях с меньшими перепадами давлений. Путем увеличения мощности генератора ЭМ-волн до 150 кВт можно добиться прироста температуры до 120 °С и кратности усиления притока до ~11.2 раза.
Для флюидов с большей величиной предельного градиента давления (при G0 от 0.001 до 1 МПа/м) отмечается большая кратность (от ~4.6 до ~8.6 раз) увеличения интенсивности величины притока жидкости к скважине при тепловом воздействии по сравнению с «холодной» добычей. С отключением генератора ЭМ-волн эффект от теплового воздействия снижается постепенно и в конце третьего этапа (через 100 сут) увеличение интенсивности величины притока может составлять до ~2.5 раза.
Работа выполнена при поддержке гранта РНФ № 22-11-20042. Авторы хотели бы отдать дань памяти своим коллегам и наставникам проф. И.Л. Хабибуллину и проф. В.Ш. Шагапову, оказавшим методическую поддержку.
About the authors
А. Я. Давлетбаев
Уфимский университет науки и технологий
Author for correspondence.
Email: DavletbaevAY@rambler.ru
Russian Federation, г. Уфа
Л. А. Ковалева
Уфимский университет науки и технологий
Email: liana-kovaleva@yandex.ru
Russian Federation, г. Уфа
З. С. Мухаметова
Уфимский университет науки и технологий
Email: MuchametovaZ@mail.ru
Russian Federation, г. Уфа
References
- Мирзаджанзаде А.Х., Аметов И.М., Ковалев А.Г. Физика нефтяного и газового пласта. Учеб. для вузов. М.: Недра, 1992. 270 с.
- Алишаев М.Г., Розенберг М.Д., Теслюк Е.В. Неизотермическая фильтрация при разработке нефтяных месторождений. М.: Недра, 1985. 271 с.
- Девликамов В.В., Хабибуллин З.А., Кабиров М.М. Аномальные нефти. М.: Недра, 1975. 168 с.
- Qun L., Wei X., Yuan J., Gao Sh., Wu Y.-Sh. Behavior of Flow through Low-permeability Reservoir // Europec / EAGE Conf. Exhibition. Rome, Italy. June 2008. SPE-113144.
- Wei X., Qun L.,Gao Sh., Hu Zh., Xue H. Pseudo Threshold Pressure Gradient to Flow for Low Permeability Reservoirs // Pet. Explor. Dev. 2009. V. 36. № 2. P. 232.
- Байков В.А., Колонских А.В., Макатров А.К., Политов М.Е., Телин А.Г. Нелинейная фильтрация в низкопроницаемых коллекторах. Лабораторные фильтрационные исследования керна Приобского месторождения // Науч.-техн. вестник «НК «Роснефть». 2013. № 2(31). С. 4.
- Белова О.В., Шагапов В.Ш. Метод последовательной смены стационарных состояний для плоско- одномерной задачи фильтрации с предельным градиентом давления // Вестник СамГУ. Естественнонаучная серия. 2014. Т. 118. №7. С. 75.
- Борщук О.С., Житников В.П. Нелинейная фильтрация в низкопроницаемых коллекторах. Численная схема, анализ устойчивости и сходимости // Науч.-техн. вестник «НК «Роснефть». 2013. № 2(31). С. 13.
- Байков В.А., Колонских А.В., Макатров А.К., Политов М.Е., Телин А.Г. Нелинейная фильтрация в низкопроницаемых коллекторах: от лабораторных экспериментов до моделирования разработки // Нефть. Газ. Новации. 2014. №4. С. 37.
- Байков В.А., Давлетбаев А.Я., Иващенко Д.С. Моделирование притока жидкости к скважинам в низкопроницаемых коллекторах с учетом нелинейной фильтрации // Нефтяное хозяйство. 2014. №11. C. 54.
- Liu Sh., Han F., Zhang K., Tang Z. Well Test Interpretation Model on Power-law Non-linear Percolation Pattern in Low-permeability Reservoirs // Int. Oil Gas Conf. Exhibition. Beijing, China. June 2010. SPE-132271.
- Xu J., Jiang R., Xie L., Yang M., Wang G., Liu J. Transient Pressure Behavior for Dual Porosity Low Permeability Reservoir Based on Modified Darcy’s Equation // SPE Latin America and Caribbean Petroleum Eng. Conf. Mexico City, Mexico. April 2012. SPE-153480-MS.
- Хабибуллин И.Л. Теплофизические и термогидромеханические особенности взаимодействия электромагнитного излучения со слабопоглощающими средами. Дис. … докт. физ.-мат. наук. Уфа: БГУ, 2000. 366 с.
- Давлетбаев А.Я., Ковалева Л.А., Насыров Н.М. Исследование процессов тепломассопереноса в многослойней среде при нагнетании смешивающегося агента с одновременным электромагнитным воздействием // ТВТ. 2009. Т. 47. № 4. С. 605.
- Давлетбаев А.Я., Ковалева Л.А. Моделирование добычи высоковязкой нефти с использованием электромагнитного воздействия в сочетании с гидроразрывом пласта // ТВТ. 2014. Т. 52. № 6. С. 927.
- Кислицын А.А. Численное моделирование прогрева и фильтрации нефти в пласте под действием высокочастотного электромагнитного излучения // ПМТФ. 1993. Т. 34. № 3. С. 97.
- Галимов А.Ю., Хабибуллин И.Л. Особенности фильтрации высоковязкой жидкости при нагреве электромагнитным излучением // Изв. РАН. МЖГ. 2000. № 5. С. 114.
- Чекалюк Э.Б. Термодинамика нефтяного пласта. М.:Недра, 1965. 238 с.
- Abernethy E.R. Production Increase of Heavy Oils by Electromagnetic Heating // J. Can. Petrol. Technol. 1976. V. 15. № 3. P. 91.
- Саяхов Ф.Л., Булгаков Р.Т., Дыбленко В.П., Дешура В.С., Быков М.Т. О высокочастотном нагреве битумных пластов // Нефтепромысловое дело. 1980. № 1. С. 5.
- Саяхов Ф.Л. Исследование термо- и гидродинамических процессов в многофазных средах в высокочастотном электромагнитном поле применительно к нефтедобыче. Дис. … докт. физ-мат. наук. М.: МГУ, 1984. 311 с.
- Макогон Ю.Ф., Саяхов Ф.Л., Хабибуллин И.Л. Способ добычи нетрадиционных видов углеводородного сырья // ДАН. 1989. Т. 306. № 4.С. 941.
- Viswanath D.S., Natarajan G. Data Book on the Viscosity of Liquids. N.Y.: Hemisphere Publ. Corp., 1989. 990 p.
- Насыров Н.М. Некоторые задачи тепло- и массопереноса с фазовыми переходами при воздействии электромагнитного поля на нетрадиционные углеводороды. Дис. … канд. физ.-мат. наук. Уфа: БГУ, 1992.
- Саяхов Ф.Л., Ковалева Л.А., Насыров Н.М. Изучение особенностей тепломассообмена в призабойной зоне скважин при нагнетании растворителя с одновременным электромагнитным воздействием // ИФЖ. 1998. Т. 71. № 1. С. 161.
- Ковалева Л.А., Зиннатуллин Р.Р., Мусин А.А., Благочиннов В.Н., Валиев Ш.М., Муллаянов А.И. Способ разработки обводненных залежей нефти СВЧ электромагнитным воздействием. Патент РФ № 2555731. 2013.
- Ritchey H.W. Radiation Heating. U.S. Patent No. 2, 757, 738. 1956.
- Spencer H.L. Electromagnetic Oil Recovery. Ltd. Calgary, 1987.
- Davletbaev A., Kovaleva L., Zainullin A., Babadagli T. Numerical Modeling of Heavy-oil Recovery Using Electromagnetic Radiation/Hydraulic Fracturing Considering Thermal Expansion Effect // J. Heat Transfer. 2017. V. 140. № 6. HT-17-1055.
- Уразов Р.Р., Ахметова О.В., Галлямитдинов И.И., Давлетбаев А.Я., Сарапулова В.В., Пестриков А.В. Высокоскоростной метод расчета притока к наклонно направленной скважине в программном комплексе «РН-ВЕГА» // Нефтяное хозяйство. 2023. № 11. С. 37.
Supplementary files







