An Acetone-Neutral Adsorption-Based Sensor of Exhaled-Air Humidity for Diagnosis of Diabetes Mellitus
- Authors: Simonov V.N.1,2, Fomkin A.A.1, Shkolin A.V.1, Menshikov I.E.1
-
Affiliations:
- Frumkin Institute of Physical Chemistry and Electrochemistry, Russian Academy of Sciences
- National Research Nuclear University “Moscow Engineering Physics Institute”
- Issue: Vol 59, No 4 (2023)
- Pages: 456-460
- Section: МЕТОДЫ ИЗУЧЕНИЯ ФИЗИКО-ХИМИЧЕСКИХ СИСТЕМ
- URL: https://medbiosci.ru/0044-1856/article/view/139737
- DOI: https://doi.org/10.31857/S004418562370050X
- EDN: https://elibrary.ru/YEQQVM
- ID: 139737
Cite item
Full Text
Abstract
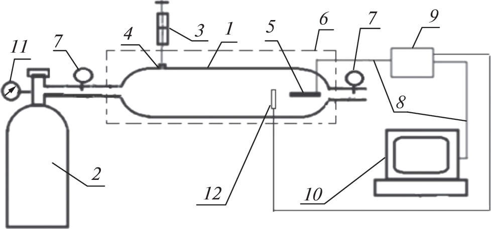
An acetone-neutral adsorption-based sensor of exhaled air humidity was developed for potential use in the diagnosis of diabetes mellitus. The sensor was made use a molecular sieve of KA zeolite, a granule of which was is glued to the plate of the quartz resonator of longitudinal oscillations. The sensor sensitivity threshold for water vapor was 0.05% of relative humidity. Due to the molecular-sieve effect, the acetone molecules penetrate to the zeolite pores only at concentrations above ~5%. Therefore, the sensor is sensitive to water-vapor adsorption, but not to acetone vapor and other volatile organic compounds that are present in exhaled air. The content of acetone and other biomarkers of diseases can be detected by a special sensor intended for the diagnosis of diabetes mellitus, lung cancer, alimentary-system organ dysfunction, and other diseases.
About the authors
V. N. Simonov
Frumkin Institute of Physical Chemistry and Electrochemistry, Russian Academy of Sciences; National Research Nuclear University “Moscow Engineering Physics Institute”
Email: simonov.valer@yandex.ru
119071, Moscow, Russia; 115409, Moscow, Russia
A. A. Fomkin
Frumkin Institute of Physical Chemistry and Electrochemistry, Russian Academy of Sciences
Email: simonov.valer@yandex.ru
119071, Moscow, Russia
A. V. Shkolin
Frumkin Institute of Physical Chemistry and Electrochemistry, Russian Academy of Sciences
Email: simonov.valer@yandex.ru
119071, Moscow, Russia
I. E. Menshikov
Frumkin Institute of Physical Chemistry and Electrochemistry, Russian Academy of Sciences
Author for correspondence.
Email: simonov.valer@yandex.ru
119071, Moscow, Russia
References
- Jones M., Harrison J.M. // Diabetes Technol Ther. 2002. V. 4(3). P. 351–359. https://doi.org/10.1089/152091502760098500
- Boots A.W., Bos L.D., van der Schee M.P., van Schooten F.J., Sterk P.J. // Trends Mol. Med. 2015. V. 10. № 21. P. 633. https://doi.org/10.1016/j.molmed.2015.08.001
- Kistenev Y.V., Borisov A.V., Kuzmin D.A., Bulanova A.A. // AIP Conf. Proc. 2016. V. 1760. P. 020028. https://doi.org/10.1063/1.4960247
- Phillips M., Cataneo R.N., Cheema T., Greenberg J. // Clin. Chim. Acta. 2004. V. 344. P. 189. https://doi.org/10.1016/j.cccn.2004.02.025
- Кистенев Ю.В., Тетенева А.В., Сорокина Т.В. // Оптика и спектроскопия, 2020. Т. 128. № 6. С. 805–810.
- Novak B.J., Blake D.R., Meinardi S., Rowland F.S., Pontello A., Cooper D.M., Galassetti P.R. // PNAS. 2007. V. 104. № 40. P. 15613. https://doi.org/10.1073/pnas.0706533104
- Stephens J.W., Khanolkar M.P., Bain S.C. // Atherosclerosis. 2009. V. 202. № 2. P. 321. https://doi.org/10.1016/j.atherosclerosis.2008.06.006
- Krzystek-Korpacka M., Salmonowicz B., Boehm D., Berdowska I., Zielinski B., Patryn E., Noczynska A., Gamian A. // Clinical Biochemistry. 2008. V. 41. P. 48. https://doi.org/10.1016/j.clinbiochem.2007.10.003
- Greiter M.B., Keck L., Siegmund T., Hoeschen C., Oeh U., Paretzke H.G. // Diabetes Technology & Therapeutics. 2010. V. 12. № 6. P. 455.
- Das S., Pal S., Mitra M. // J. Med. Biol. Eng. 2016. V. 36. P. 605.
- Mansour E., Vishinkin R., Rihet S. // Measurement of temperature and relative humidity in exhaled breath, 2019. Sensors and Actuators B Chemical. https://doi.org/10.1016/j.snb.2019.12737121
- Di Francesco F., Loccioni C., Fio- ravanti M., Russo A., Pioggia G., Ferro M., Roehrer I., Tabucchi1 S., Onor M. // J. Breath Research. 2008. V. 2(3). No. 037009. .
- Di Gilio A., Palmisani J., Ventrella G., Facchini L., Catino A., Varesano N., Piz- zutilo P., Galetta D., Borelli M., Barbieri P., Licen S., de Gennaro G. // Molecules. 2020. V. 25(24). № 5823. https://doi.org/10.3390/molecules25245823.
- Harshman S.W., Pitsch R.L., Davidson C.N., Lee E.M., Scott A.M., Hill E.M., Mainali P., Brooks Z.E., Strayer K.E., Schaeublin N.M., Wiens T.L., Brothers M.C., Drummond L.A., Yamamoto D.P., Martin J.A. // J. Breath Research. 2020. V. 14. № 036004. https://doi.org/10.1088/1752-7163/ab7e3b
- Симонов В.Н., Артамонова С.Д., Фомкин А.А., Школин А.В., Меньщиков И.Е. // Физикохимия поверхности и защита материалов. 2022. Т. 58. № 4. С. 1–7.
- Фомкин А.А., Симонов В.Н. // Пьезорезонансный сенсор микроконцентрации веществ / Патент РФ № 2722975. Госреестр изобретений РФ, 05.06.2020.
- Nadykto A.Б, Yu Fangqun // J. Geophysical Research Atmospheres. 2003. V. 108 (D23). P. 4717. https://doi.org/10.1029/2003JD003664
- Брек Д. Цеолитовые молекулярные сита. М.: Мир. 1976.
- Simonov V.N., Fomkin A.A., Vlasov D.A. et al. // Protection of Metals and Physical Chemistry of Surfaces. 2019. V. 55. № 4. P. 803–806. https://doi.org/10.1134/S2070205119040233
Supplementary files







