Автоматизация пробоподготовки на принципах хроматомембранных методов разделения при анализе водных и воздушных сред
- Авторы: Москвин Л.Н.1, Москвин А.Л.2, Родинков О.В.1, Якимова Н.М.1
-
Учреждения:
- Санкт-Петербургский государственный университет, Институт химии
- Санкт-Петербургский национальный исследовательский университет информационных технологий, механики и оптики
- Выпуск: Том 78, № 2 (2023)
- Страницы: 99-107
- Раздел: ОБЗОРЫ
- Статья получена: 14.10.2023
- URL: https://medbiosci.ru/0044-4502/article/view/135992
- DOI: https://doi.org/10.31857/S004445022302007X
- EDN: https://elibrary.ru/CDLRBW
- ID: 135992
Цитировать
Полный текст
Аннотация
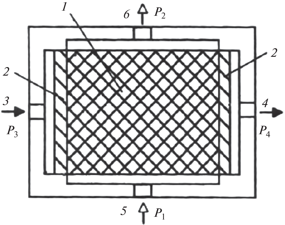
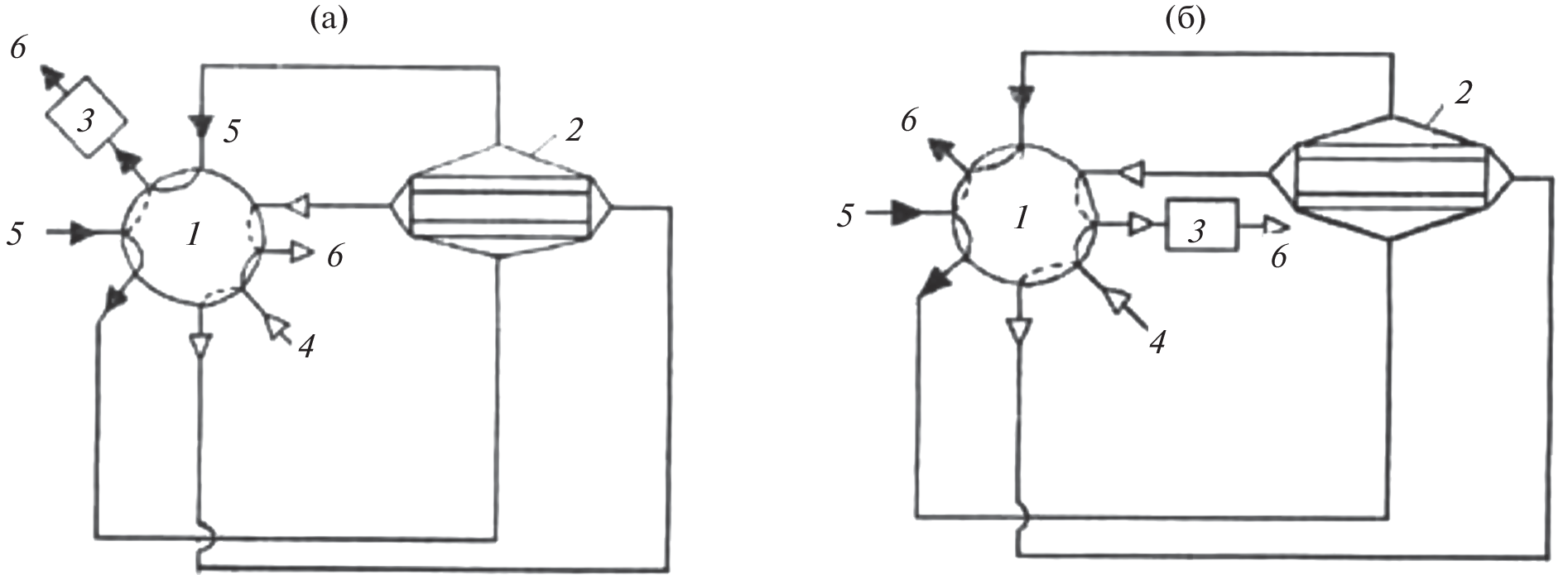
В статье обобщен накопленный опыт применения хроматомембранных методов (ХММ) для автоматизации химического анализа водных и воздушных сред. Особый акцент сделан на проточных методах непрерывного анализа, где ХММ часто не имеют альтернативы.
Ключевые слова
Об авторах
Л. Н. Москвин
Санкт-Петербургский государственный университет, Институт химии
Email: moskvinln@yandex.ru
Россия, 199034, Санкт-Петербург, Университетская наб., 7/9
А. Л. Москвин
Санкт-Петербургский национальный исследовательскийуниверситет информационных технологий, механики и оптики
Email: moskvinln@yandex.ru
Россия, 197101, Санкт-Петербург, Кронверкский просп., 49
О. В. Родинков
Санкт-Петербургский государственный университет, Институт химии
Email: moskvinln@yandex.ru
Россия, 199034, Санкт-Петербург, Университетская наб., 7/9
Н. М. Якимова
Санкт-Петербургский государственный университет, Институт химии
Автор, ответственный за переписку.
Email: moskvinln@yandex.ru
Россия, 199034, Санкт-Петербург, Университетская наб., 7/9
Список литературы
- Москвин Л.Н., Родинков О.В. Хроматомембранные методы разделения веществ. СПб: Изд-во С.-Петербургского университета, 2014. 216 с.
- Москвин Л.Н. Хроматомембранный метод разделения веществ // Доклады РАН. 1994. Т. 334. № 5. С. 599.
- Moskvin L.N. Chromatomembrane method for the continuous separation of substances // J. Chromatogr. A. 1994. V. 669. P. 81.
- Москвин Л.Н., Родинков О.В. Хроматомембранные методы: физико-химические принципы, аналитические и технологические возможности // Изв. Акад. Наук. Сер. хим. 2012. Т. 61. № 4. С. 719. (Moskvin L.N., Rodinkov O.V. Chromatomembrane methods: Physicochemical principles, analytical and technological possibilities // Russ. Chem. Bull. 2012. V. 61. № 4. P. 723).
- Родинков О.В., Москвин Л.Н., Васькова Е.А. Оптимизация пористой структуры гидрофобной матрицы для осуществления хроматомембранных массообменных процессов // Журн. физ. химии. 2005. Т. 79. № 3. С. 539. (Rodinkov O.V., Moskvin L.N., Vaskova E.A. Optimization of the porous structure of a hydrophobic matrix for chromatomembrane mass-exchange processes // Russ. J. Phys. Chem. 2005. V. 79. № 3. P. 453.)
- Moskvin L.N., Simon U., Rodinkov O.V., Grigoriev G.L. Flow-injection analysis and chromatography – A new device for extraction in gas-liquid and liquid-liquid systems // Talanta. 1994. V. 41 (10). P. 1765.
- Родинков О.В., Бугайченко А.С., Москвин Л.Н. Сравнение аналитических возможностей различных схем хроматомембранной газовой экстракции // Журн. аналит. химии. 2021. Т. 76. № 9. С. 797. (Rodinkov O.V., Bugaichenko A.S., Moskvin L.N. Comparison of the analytical capabilities of different chromatomembrane gas extraction techniques// J. Anal. Chem. 2021. V. 76. № 9. P. 1051.) https://doi.org/10.31857/S0044450221090097
- Москвин Л.Н., Михайлова Н.В., Николаева Д.Н. Экстракционно-фотометрическое определение анионных поверхностно-активных веществ с хроматомембранным концентрированием // Журн. аналит. химии. 1996. Т. 51. № 8. С. 845. (Moskvin L.N., Nikolaeva D.N., Mikhailova N.V. Determination of anionic surfactants in water with adsorption preconcentration // J. Anal. Chem. 1996. V. 51. № 3. P. 282.)
- Ganeto F., Rios Q., Luque de Castro. Liquid—liquid extraction in continuous flow systems without phase separation // Anal. Chem. 1988. V. 60. P. 2354.
- Moskvin A.L., Moskvin L.N., Moszhuchin A.V., Fomin V.V. Txtraction-cromatographic preconcentration with chromatomambrane separation of extract from aqueous phase for luminexcence determination of oil and phenols in natural water by flow analysis // Talanta. 1999. V. 50. P. 113.
- Родинков О.В., Москвин Л.Н., Синицына Т.В., Григорьев Г.Л. Хроматомембранная абсорбция микропримесей полярных органических веществ из воздуха водными растворами // Журн. аналит. химии. 1998. Т. 53. № 4. С. 373. (Rodinkov O.V., Moskvin L.N., Sinitsina T.V., Grigor’ev G.L. Chromatomembrane absorption of trace impurities of polar organic substances from water to aqueous // J. Anal. Chem. 1998. V. 53. № 4. P. 326.)
- Никоноров В.В., Москвин Л.Н. Новый реагент для определения нитрит-ионов // Журн. аналит. химии. 1996. Т. 51. № 8. С. 737. (Nikonorov V.V., Moskvin L.N. New reagent for determining nitrites // J. Anal. Chem. 1996. V. 51. № 7. P. 679.)
- Wei Y., Oshima M., Simon J., Motomizu S. Absorption, concentration and determination of trace amounts of air pollutants by flow injection method coupled with a chromatomembrane cell system: Application to nitrogen dioxide determination // Talanta. 2002. V. 58. № 6. P. 1343.
- Erxleben H., Moskvin L., Nikitina T.G., Simon J. Determination of small quantities of nitrogen oxides in air by ion chromatography using a chromatomembrane cell for preconcentration // Fresenius J. Anal. Chem. 1998. V. 361. № 2. P. 325.
- Wei. Y., Oshima M., Simon J., Motomizu S. The application of the chromatomembrane cell for the absorptive sampling of nitrogen dioxide followed by continuous determination of nitrite using a micro-flow injection system // Talanta. 2002. V. 57. № 2. P. 355.
- Москвин Л.Н., Никоноров В.В. Проточно-инжекционное определение диоксида серы в воздухе с предварительным хроматомембранным концентрированием // Журн. аналит. химии. 1996. Т. 51. № 8. С. 891. (Moskvin L.N., Nikonorov V.V. Flow-injection determination of sulfur dioxide in air with preliminary chromatomembrane concentration // J. Anal. Chem. 1996. V. 51. № 8. P. 891.)
- Sritharathikhun P., Oshima M., Wei Y., Simon J., Motomizu S. On-line cellection/concentration and detection of sulfur dioxide in air by flow-injection spectrophotometry coupled with a chromatomambrane cell // Anal. Sci. 2004. V. 20. № 1. P. 113.
- Erxleben H., Simon J., Moskvin L.N., Vladimirova L.O., Nikitina T.G. Automized procedures for the determination of ozone and ammonia contents in air by using the chromatomembrane method for gas-liquid extraction // Fresenius J. Anal. Chem. 2000. V. 366. № 4. P. 332.
- Москвин А.Л., Мельниченко А.Н., Диченко О.Ю. Фотометрическое определение аммиака в воздухе рабочей зоны с хроматомембранным концентрированием // Вестн. С.-Петерб. ун-та. Сер. 4: Физика. Химия. 2011. Вып. 4. С. 55.
- Москвин А.Л., Мельниченко А.Н., Диченко О.Ю. Фотометрическое определение аммиака в воздухе рабочей зоны с хроматомембранной жидкостной абсорбцией // Аналитика и контроль. 2013. Т. 17. № 4. С. 485.
- Sritharathikhun P., Oshima M., Wei Y., Simon J., Motomizu S. On-line collection/concentration of trace amounts of formaldehyde in air with chromatomembrane cell and its sensitive determination by flow injection technique coupled with spectrophotometric and fluorometric // Talanta. 2005. V. 67. № 5. P. 1014.
- Москвин Л.Н., Родинков О.В., Синицына Т.В. Фотометрическое определение гидразина в воздухе с хроматомембранным концентрированием // Журн. аналит. химии. 1999. Т. 54. № 1. С. 61. (Moskvin L.N., Rodinkov O.V., Sinitsyna T.V. Determination of hydrazine in air by photometry with chromatomembrane preconcentration // J. Anal. Chem. 1999. V. 54. № 1. P. 53.)
- Родинков О.В., Бугайченко А.С., Москвин Л.Н. Динамическая хроматомембранная жидкостная хемосорбция микропримесей из газовой фазы в политетрафторэтиленовых матрицах, модифицированных сорбционно-активным материалом // Журн. физ. химии. 2010. Т. 84. № 8. С. 1568. (Rodinkov O.V., Bugaichenko A.S., Moskvin L.N. Dynamic chromatomembrane liquid chemisorption of trace impurities from a gas phase in polytetrafluoroethylene matrices modified with sorptionactive material // Russ. J. Phys. Chem. A. 2010. V. 84. № 8. P. 1428.) https://doi.org/10.1134/S0036024410080261
- Moskvin L.N., Moskvin A.L. Chromatomembrane methods – Novel automatization possibilities of substances separation processes // Laboratory Robotics and Automatization. 1998. V. 10. P. 3.
- Москвин А.Л., Москвин Л.Н., Родинков О.В. Хроматомембранный метод – новый принцип функционирования устройств для пробоподготовки в аналитических приборах // Научное приборостроение. 1999. Т. 9. № 4. С. 62.
- Москвин Л.Н., Родинков О.В., Катрузов А.Н., Томилова Е.С. Ионохроматографическое определение полярных неорганических примесей в воздухе с хроматомембранным предконцентрированием // Журн. аналит. химии. 1996 Т. 51. № 11. С. 1214. (Moskvin L.N., Rodinkov O.V., Katruzov A.N., Tomilova E.S. Ion-chromatographic determination of polar inorganic impurities in air with chromatomembrane preconcentration // J. Anal. Chem. 1996. V. 51. № 11. P. 1109.)
- Moskvin L.N., Rodinkov O.V. Continuous chromatomembrane headspace analysis // J. Chromatogr. A. 1996. V. 725. P. 351.
- Родинков О.В., Москвин Л.Н., Зыкин И.А. Газохроматографическое определение газообразных углеводородов в водных растворах с хроматомембранной газовой экстракцией // Журн. аналит. химии. 2003. Т. 58. № 1. С. 82. (Rodinkov O.V., Moskvin L.N., Zykin I.A. Gas-chromatographic determination of gaseous hydrocarbons in aqueous solutions using chromatomembrane gas extraction // J. Anal. Chem. 2003. V. 58. № 1. P. 71.)
- Майорова Н.А., Родинков О.В., Москвин Л.Н. Газохроматографическое определение метилакрилата и метилметакрилата в водных растворах с хроматомембранной газовой экстракцией и газоадсорбционным концентрированием // Вестн. С.-Петерб. ун-та. Сер. 4: Физика. Химия. 2005. Вып. 4. С. 84.
- Родинков О.В., Москвин Л.Н. Хроматомембранное концентрирование микропримесей органических загрязнителей природных вод и атмосферного воздуха // Журн. аналит. химии. 2002. Т. 57. № 10. С. 1057. (Moskvin L.N., Rodinkov O.V., Chromatomembrane preconcentration of trace impurities of organic pollutants from natural waters and atmospheric air // J. Anal. Chem. 2002. V. 57. № 10. P. 894.)
- Dettmer K., Engewald W. Adsorbent materials commonly used in air analysis for adsorptive enrichment and thermal desorption of volatile organic compounds // Anal. Bioanal. Chem. 2002. V. 373. P. 490.
- Mayer H., Spiekermann M., Bergmann M. Determination of volatile organic compounds in water by purge&trap – Gas chromatography – Mass spectrometry // J. Mol. Struct. 1995. V. 348. P. 389.
- Родинков О.В., Москвин Л.Н. Поверхностно-слойные композиционные сорбенты для экспрессного концентрирования летучих органических веществ из водных и газовых сред // Журн. аналит. химии. 2012. Т. 67. № 10. С. 908. (Rodinkov O.V., Moskvin L.N. Surface layer composite sorbents for the rapid preconcentration of volatile organic substances from aqueous solutions and gas atmospheres // J. Anal. Chem. 2012. V. 67. № 10. P. 814.) https://doi.org/10.1134/S1061934812100073
- Москвин Л.Н., Родинков О.В. От жидкостно-газовой хроматографии к хроматомембранному массообменному процессу // Журн. аналит. химии. 2019. Т. 74. № 10. С. 729. (Moskvin L.N., Rodinkov O.V. From liquid–gas chromatography to a chromatomembrane mass-exchange process //J. Anal. Chem. 2019. V. 74. № 10. P. 955.) https://doi.org/10.1134/S0044450219100098
- Родинков О.В., Москвин Л.Н., Майорова Н.А. Быстродействие различных схем непрерывной хроматомембранной газовой экстракции // Журн. аналит. химии. 2005. Т. 60. № 8. С. 727. (Rodinkov O.V., Moskvin L.N, Maiorova N.A. Operation rates of different schemes of continuous chromatomembrane gas extraction // J. Anal. Chem. 2005. V. 60. № 8. P. 820.) https://doi.org/10.1134/S1061934819100083
- Rodinkov O.V., Moskvin L.N., Viktorova M.I., Dyakin A.A., Yakimova N.M. Chromatomembrane headspace analysis of aqueous solutions at elevated temperatures // Chromatographia. 2015. V. 78. P. 1211.
Дополнительные файлы







