Electrophoretic Separation of Ions, Including Isotopic Ones, with Similar Chemical Properties for Preparative and Analytical Purposes
- Authors: Moskvin L.N.1, Kamentsev M.Y.1, Moskvin A.L.2, Yakimova N.M.1
-
Affiliations:
- St. Petersburg State University
- St. Petersburg National Research University of Information Technologies, Mechanics and Optics
- Issue: Vol 97, No 10 (2023)
- Pages: 1494-1501
- Section: PHYSICAL CHEMISTRY OF SEPARATION PROCESSES. CHROMATOGRAPHY
- Submitted: 18.10.2023
- Published: 01.10.2023
- URL: https://medbiosci.ru/0044-4537/article/view/140334
- DOI: https://doi.org/10.31857/S0044453723100175
- EDN: https://elibrary.ru/XZIDCT
- ID: 140334
Cite item
Full Text
Abstract
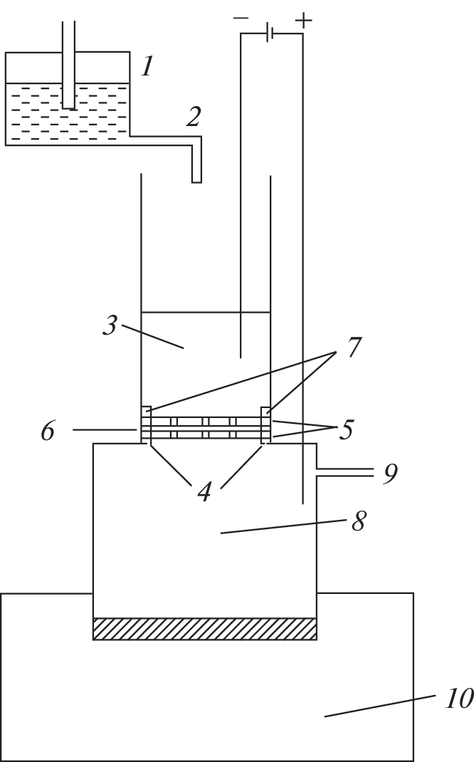
The reasons for the failure of the first attempts at countercurrent electrophoretic separation of isotopic lithium ions are analyzed. It is concluded that the separation of these ions in the potentiostatic version of the countercurrent process scheme used by the authors is futile. As an alternative for the preparative separation of isotopic and other ions with similar chemical properties, a galvanostatic mode of countercurrent electrophoretic separation is proposed. Using examples of the separation of alkali metal ions and isotopic lithium and rubidium ions, it is shown that in this case the system enters a stationary self-regulating regime and significantly higher separation factors are achieved compared to the potentiostatic version of the process. It has been determined that a high separation efficiency is achieved with a minimum length of the separation space. For significant effects of the separation of isotopic lithium ions, a separating column 4 mm in height filled with quartz sand is sufficient. Additionally, to address the analytical challenges of electrophoretic separation of isotopic ions of light elements, such as lithium and boron, the required efficiency is also achieved under the potentiostatic conditions of the traditional scheme of capillary zone electrophoresis, as demonstrated in the examples of determining the isotopic composition of the aforementioned elements.
About the authors
L. N. Moskvin
St. Petersburg State University
Email: moskvinln@yandex.ru
199034, St. Petersburg, Russia
M. Ya. Kamentsev
St. Petersburg State University
Email: moskvinln@yandex.ru
199034, St. Petersburg, Russia
A. L. Moskvin
St. Petersburg National Research University of Information Technologies, Mechanics and Optics
Email: moskvinln@yandex.ru
197101, St. Petersburg, Russia
N. M. Yakimova
St. Petersburg State University
Author for correspondence.
Email: moskvinln@yandex.ru
199034, St. Petersburg, Russia
References
- Thiemann W., Wagner K.Z. // Naturf. 1963. Bd. 18a. S. 228.
- Константинов Б.П., Фикс В.Б. // Журн. физ. химии. 1964. Т. 38. № 6. С. 1647.
- Москвин Л.Н., Катрузов А.Н., Гурский В.С. // Радиохимия. 1987. Т. 29. № 4. С. 515.
- Yoshinobu Y. // J. of Nuclear Science and Technology. 1969. V. 6. № 12. P. 698.
- Zenzai K. // Progress in Nuclear Energy. 2008. V. 50. P. 494.
- Kim D. // J. of Radioanalytical and Nuclear Chem. 1991. V. 150. № 2. P. 417.
- Patent 20130233720 A1 United States, C25C 5/02 C25C 7/00, 205/341 Extraction of Metals / Martoyan G.A., applicant and inventor Martoyan G.A. № 2013/0233720 A1, Apl. No. 13/663,418, Filed 29.10.2012, publ. date 12/09/2013. 11 p.
- Martoyan G.A. // IOP Conf. Series: Materials Science and Engineering. 2016. № 112.
- Габриелян А.В., Казарян М.А., Мартоян А.Г. и др. // Альтернативная энергетика и экология (ISJAEE). 2018. Т. 22–24. С. 107.
- Проблемы аналитической химии. Т. 18. Капиллярный электрофорез / Под ред. Л.А. Карцовой. 2014. М.: Наука, 444 с.
- Kamencev M., Yakimova N., Moskvin L. et al. // Electrophoresis. 2015. V. 36. P. 3014. https://doi.org/10.1002/elps.201500399
- Kamencev M., Yakimova N., Moskvin L. et al. // Ibid. 2016. V. 37. P. 3017. https://doi.org/10.1002/elps.201600265
Supplementary files










