Ингибирование горения и взрыва метано-воздушных смесей в присутствии угольной пыли
- Autores: Азатян В.В.1, Прокопенко В.М.2, Абрамов С.К.2
-
Afiliações:
- Институт системных исследований РАН
- Институт структурной макрокинетики и проблем материаловедения им. А.Г. Мержанова РАН
- Edição: Volume 98, Nº 3 (2024)
- Páginas: 158–164
- Seção: ФИЗИЧЕСКАЯ ХИМИЯ ПРОЦЕССОВ ГОРЕНИЯ И ВЗРЫВА
- ##submission.dateSubmitted##: 04.10.2024
- ##submission.dateAccepted##: 04.10.2024
- ##submission.datePublished##: 09.10.2024
- URL: https://medbiosci.ru/0044-4537/article/view/265513
- DOI: https://doi.org/10.31857/S0044453724030195
- EDN: https://elibrary.ru/QOQVZX
- ID: 265513
Citar
Texto integral
Resumo
С использованием угольной пыли разных марок показано, что угольная пыль промотирует горение метано-воздушных смесей: снижает нижний концентрационный предел распространения пламени, придает горению прогрессирующий характер. Предложен и испытан ингибитор, позволяющий предотвратить воспламенение метана при инициировании искрой, подавить распространение пламени и предотвратить его переход во взрыв. Результаты вместе с тем показывают, что горение метана, стимулированное угольной пылью, так же как и в отсутствии пыли, является разветвленно-цепным процессом, который можно полностью подавлять путем ингибирования.
Palavras-chave
Texto integral
Введение
Актуальность разработки эффективных методов предотвращения возгорания и взрыва метано-воздушных смесей определяется, прежде всего, тем, что работа относится непосредственно к проблеме безопасности работ в угольной промышленности. Для предотвращения возгораний и взрывов метана в шахтах применяются различные инженерные средства: вентиляция, пламяпреградители, искрогасители и т.п. Длительное время было общепринятым, что горение при атмосферном давлении в условиях саморазогрева определяется только выделившимся при горении теплом. Роль реакционных цепей игнорировали и отрицали (например, [1–3]). В настоящее время, однако, известно, что энергии активации реакций молекулярных соединений непосредственно между собой очень велики: например, реакции Н2 и СН4 с О2 превышают 220кДж/моль. Поэтому скорости таких межмолекулярных реакций чрезвычайно малы, реакции практически даже не сопровождаются саморазогревом. Уже отсюда было очевидно, что горение метана, так же как и других горючих газов, осуществляется только по цепному механизму, при участии свободных атомов и радикалов при любых давлениях и температурных режимах. Вывод был подтвержден экспериментами (например, [4–6]).
Цепной характер горения открывает возможность управлять процессом путем влияния на конкуренцию основных стадий, в том числе ускорить обрыв реакционных цепей с помощью малых присадок – ингибиторов. Явление торможения горения с помощью присадок было известно задолго до открытия цепных процессов [7]. Однако влияние добавок считалось только результатом сильного разбавления и увеличения теплоемкости.
От упомянутых выше технических способов химические средства – ингибирование отличаются большей эффективностью благодаря тому, что скорость процесса горения зависит от разности скоростей конкурирующих между собой реакций разветвления и обрыва цепей экспоненциально [4, 5]. Поэтому, уменьшая разность этих скоростей путем увеличения скорости обрыва, ингибитор очень сильно экспоненциально замедляет процесс горения.
Известно также, что присутствующая в условиях горной выработки угольная пыль промотирует горение метана [8–10]. Эксперименты и испытания, проведенные в малых (3.5 л) и больших (4, 29 м3) объемах, показали, что взрыв метано-воздушных смесей происходит также в отсутствие угольной пыли.
Цель настоящей работы – предложить ингибитор, предотвращающий возгорание и взрыв метано-воздушных смесей, выяснить закономерности подавления воспламенения, горения и взрыва, а также изучить роль угольной пыли в горении и взрыве метана. Предотвращение воспламенения и эффективное подавление распространения пламени под воздействием малых химически активных присадок – ингибиторов определяется тем, что малые присадки этих соединений интенсивно реагируют с ведущими реакцию активными частицами – свободными атомами и радикалами, образуя продукты, не способные участвовать в цепном горении. Тем самым реакционные цепи обрываютсяи горение блокируется. В качестве ингибитора использован трифторметан. Это соединение экологически безвредно и нормативными документами рекомендуется в качестве средства пожаротушения [11]. В настоящей работе использовалась также выявленная нами ранее [12] закономерность: неаддитивное усиление совместного действия ингибитора и инертного газа – азота.
Экспериментальная часть
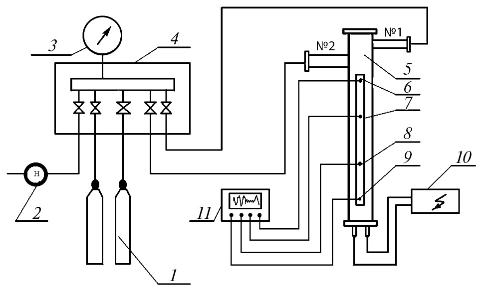
Использовался стенд с вертикальной реакционной трубой длиной 2 м и диаметром 10.1 см, схематически представленный на рис. 1. Горючие смеси приготавливались в баллоне- смесителе по парциальным давлениям за 24 ч до проведения опытов. Реакционная смесь напускалась в откачанный реактор до давления 1 бар. Зажигание производилось искрой с энергией 3.6 Дж с помощью электродов, расположенных у нижнего конца реактора. Продвигающееся по реакционной трубе пламя регистрировалось с помощью четырех фотодатчиков, расположенных вдоль реактора на определенных расстояниях от нижнего торца трубы и связанных с четырехканальным осциллографом TEKTRONIX TDS–3014.
Рис. 1. Стенд с вертикальной реакционной трубой: 1 – баллоны с газами, 2 – вентиль напуска газа на установку, 3 – манометр, 4 – гребенка с кранами, 5 – реактор, 6–9 – фотодатчики, 10 – блок зажигания, 11 – осциллограф.
Для проведения опытов с угольным порошком порция порошка предварительно размещалась в верхней части реактора. После откачки реактора исследуемая смесь медленно напускалась через патрубок № 1 до достижения давления в реакторе – 0.9 бар. Затем из смесителя (при закрытом патрубке № 1) резко напускался газ через патрубок № 2 до давления 1 бар, при этом угольный порошок (15 г), находящийся на площадке патрубка № 2, сбрасывался потоком газа в реактор. Зажигание производилось спустя 3–5 секунд, необходимых для распространения порошка по объему реактора.
По известным расстояниям фотодатчиков от места зажигания и по времени прохождения пламени мимо каждого из них строились графики зависимости пройденного пламенем пути от времени: x – t-диаграммы распространения пламени. С каждым составом смеси производилось несколько опытов для проверки воспроизводимости результатов.
Обсуждение результатов
Большинство опытов проводилось с обоими закрытыми торцами реакционной трубы. Такая процедура обеспечивала однородность состава смеси по всей трубе и вместе с тем позволяла следить за эффектом ингибирования. Безусловно, закрытые торцы тормозили распространение волны горения, однако в данном случае предметом изучения был только сам процесс ингибирования и состояние торцов (открытые они или закрытые) принципиального значения не имело.
На рис. 2 в качестве примера представлены осциллограммы фронта пламени, пробегающего мимо датчиков при горении 6% метана в воздухе в отсутствие угольной пыли и ингибиторов. После зажигания исследуемой смеси в нижней части реактора пламя регистрируется в зоне первого датчика. Рисунок показывает, что к моменту прихода зоны горения ко второму датчику в зоне первого датчика пламени уже нет, поскольку у первого датчика горение уже завершилось. После второго датчика пламя регистрируется третьим, а затем четвертым датчиками. Обратим внимание, что последовательная регистрация движения пламени вдоль реактора демонстрирует послойный характер распространения пламени в хорошем согласии с теорией горения [1–3]. При увеличении содержания метана в исходной смеси скорость пламени возрастает и в области 8% содержания метана в воздухе проходит через максимум. При открытом выходном торце реактора (рис. 3) скорость пламени больше и наблюдается прогрессирующий характер ускорения.
Рис. 2. Осциллограммы горения 6% метано-воздушной смеси вблизи 1, 2, 3 и 4 датчиков.
Рис. 3. х – t-диаграмма горения метано-воздушной смеси c 10% СH4 в воздушной среде c открытым (1) и закрытым (2) торцами.
Влияние угольной пыли и ингибитора. Использовались угольные пыли следующих марок: КЖ (коксовый жирный), антрацит и графит. На рис. 4 представлена гистограмма порошка антрацита, снятая на лазерном анализаторе частиц «ВА Инсталт». Размер частиц находится в основном в интервале 6–20 мкм.
Рис. 4. Распределение частиц по размерам.
На рис. 5 представлены примеры x – t-диаграмм опытов с 5.5% метана в отсутствие и при наличии угольной пыли. Видно, что вблизи нижнего концентрационного предела в присутствии угольной пыли горение протекает несколько интенсивнее, чем в отсутствие пыли, т.е. угольная пыль промотирует горение. Промотирующее действие угля наблюдается также при горении составов между концентрационными пределами. Однако в непосредственной близости к верхнему концентрационному пределу влияния порошка не наблюдается.
Рис. 5. х – t-диаграмма горения метано-воздушной смеси c 5.5% СH4 + 94.5% воздух; кривые 1, 2 – 5.5% CH4 + 94.5% воздух + уголь, кривые 3, 4, 5 – без угля.
Во всей концентрационной области горения угольная пыль интенсифицирует горение. Сравнение кривых 1, 2 с кривыми 3, 4 на рис. 6 показывает, что распространение пламени с добавлением угольной пыли становится прогрессивно ускоряющимся, т.е. угольная пыль промотирует горение. Результаты изучения влияния угольной пыли и ингибирующих присадок на горение представлены в таблице 1 и на рис. 5, 6 и 7. Из рис. 7 видно, что по мере обогащения смеси метаном в области верхнего предела влияние угольной пыли уменьшается.
Рис. 6. Влияние угольного порошка на скорость пламени и характер его ускорения: х – t-диаграммы распространения пламени в смесях с 9% метана в воздухе в присутствии угольной пыли (кривые 1, 2) и в отсутствие порошка угля (кривые 3, 4).
Рис. 7. х – t-диаграммы распространения пламени в метано-воздушных смесях с угольной пылью (9% метана (1, 2) и 11% метана (3, 4)).
Таблица 1. Результаты проведенных экспериментов
Смесь | Без угля | Число опытов | С углем | Число опытов |
3%CH4 + 97%Air | Не горит | 2 | Не горит | - |
4%CH4 + 96%Air | Не горит | 6 | Не горит | - |
5%CH4 + 95%Air | Не горит | 6 | Горит | 4 |
5.5%CH4 + 94.5%Air | Горит | 6 | Горит лучше | 3 |
(6–12)%CH4 + 96%Air | Горит | 21 | Горит лучше | 21 |
14%CH4 + 86%Air | Не горит | 6 | Не горит | 6 |
15%CH4 + 85%Air | Не горит | 6 | Не горит | 6 |
8%CH4 + 5%Ing + 18%N2 + 69%Air | Не горит | 7 | Не горит | 7 |
8%CH4 + 6%Ing + 15%N2 + 71%Air | Не горит | 7 | Не горит | 7 |
9%СH4 + 6%Ing + 15%N2 + 70%Air | Не горит | 3 | Не горит | 4 |
Таким образом, сделаны выводы, что за исключением смесей, очень богатых и очень бедных горючим, горение метано-воздушных смесей переходит во взрыв также в отсутствие угольной пыли. Угольная пыль промотирует горение и стимулирует переход в режим взрыва. Предложенный ингибитор предотвращает переход горения во взрыв, подавляет распространение пламени, предотвращает возгорание, затрудняет зажигание искрой, повышая необходимую энергию зажигания. Комбинированный состав с азотом более эффективен.
Добавка ингибитора подавляет горение (см. таблицу 1). Сравнение графиков без ингибитора на рис. 3, 6 (3, 4) с графиками на рис. 8 с добавкой 6% ингибитора в 8% смеси CH4 с и 6, и 10% азота видим, что наклоны кривых на x–t-диаграммах становятся более пологими, т.е. скорость пламени уменьшается. Кроме того, в присутствии ингибитора сужается концентрационная область воспламенения и распространения пламени: повышается нижний концентрационный предел. Добавка к этой 8% смеси CH4 c 6% ингибитора азота до 15% приводит к полному подавлению горения. Результаты влияния ингибиторов представлены в таблице 1.
Рис. 8. х – t-диаграммы распространения пламени в метано-воздушных смесях с 8% метана при добавлении 6% и 10% азота и 6% ингибитора.
Ингибирующее влияние трифторметана объясняется реакцией:
H+CF3H = H2+ CF3,
в которой носитель цепей – атомарный водород заменяется на малоактивный радикал CF3, не способный к участию в реакционных цепях горения метана.
Влияние порошка. Результаты показывают, что в присутствии угольной пыли нижний предел снижается, т.е. порошок инициирует воспламенение смеси. То, что угольные частички даже в присутствии метана сами не горят, очевидно из того, что вне области воспламенения метана при инициирующей искре пыль остается неизменной. Механизм инициирования воспламенения заключается в том, что атомы водорода, образующиеся из метана при разряде, частично адсорбируются на поверхности. Описана также реакция О2 адсорбированными атомами водорода, в результате которой в газовой фазе появляются атомы Н, радикалы НО2 и ОН. Эти частицы инициируют воспламенение.
Аналогичное явление, обнаруженное в смеси водорода с кислородом в кварцевом реакторе, описано в работах [13, 14].
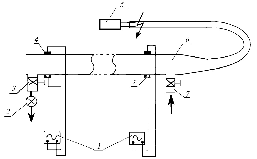
Ингибирование при высоких давлениях. На стенде с реактором (рис. 9) длиной 15 м и диаметром 10.1 см было испытано влияние ингибитора на горение метано-воздушной смеси, 6% метана, воспламеняющейся в отсутствие ингибитора. Однако смесью 6%CH4 + 8% Ing + 15%N2 + 71% воздух зажечь не удалось в диапазоне давлений 0–6 атм при инициировании горения искровым разрядом 3.6 Дж. Установлено, что во всем диапазоне давлений смесь не загоралась и, следовательно, ингибитор эффективно предотвращает горение метана также при повышенных давлениях.
Рис. 9. Стенд с ударной трубой: 1 – осциллографы, 2 – насос, 3 – вентиль, 4 – фотодатчики, 5 – реактор, 6 – источник искрового инициирования, 7 – выходной вентиль, 8 – датчик давления.
Таким образом, результаты исследований показывают, что горение и взрыв метано-воздушных смесей протекают только при реализации цепной лавины, независимо от наличия или отсутствия угольной пыли. Поэтому при наличии ингибитора воспламенение и взрыв не происходят. Тем самым показано, что горение метана, стимулированное угольной пылью, является разветвленно-цепным процессом. Угольная пыль промотирует горение, что проявляется в расширении концентрационной области воспламенения и расширении условий перехода горения во взрыв.
Работа выполнена при поддержке проекта РНФ № 23-23-00024.
Sobre autores
В. Азатян
Институт системных исследований РАН
Autor responsável pela correspondência
Email: vylenazatyan@yandex.ru
Rússia, Москва
В. Прокопенко
Институт структурной макрокинетики и проблем материаловедения им. А.Г. Мержанова РАН
Email: vprok48@mail.ru
Rússia, Черноголовка
С. Абрамов
Институт структурной макрокинетики и проблем материаловедения им. А.Г. Мержанова РАН
Email: vylenazatyan@yandex.ru
Rússia, Черноголовка
Bibliografia
- Льюис Б., Эльбе Г. Горение, взрывы и пламя в газах. М.: Мир, 1968. 604 с.
- Lewis В., Von Elbe G. Combustion, explosions and flame in gases. N.Y.-L.: Acad. Press, 1987. 592 р.
- Франк-Каменецкий Д.А. Основы макрокинетики, диффузия, теплопередача в химической кинетике. Долгопрудный: Интеллект, 2008. 407 с.
- Азатян В.В. // Успехи химии. 1999. Т. 62. № 12. С. 1122.
- Азатян В.В. // Журн. физ. химии. 2011. Т. 85. № 8. С. 1405.
- Азатян В.В., Сайкова Г.Р. // Журн. физ. химии. 2013. Т. 87. № 10. С. 1610.
- Devy H. // Phyl. Trans. 1817. P. 45.
- Демидов П.Г. Горение и свойства горючих веществ. М.: Высшая инженерная пожарно-техническая школа МВД СССР, 1975.
- Корольченко А.Я. Пожаровзрывобезопасность промышленной пыли. М.: Химия, 1986. 216 с.
- Свод правил: Системы противопожарной защиты, установки пожарной сигнализации и пожаротушения автоматические, нормы и правила проектирования. Москва: МЧС России, 2009.
- Азатян В.В., Балаян Г.А., Прокопенко В.М. и др. // Кинетика и катализ. 2016. Т. 57. № 5. С. 588.
- Haber F., Alea C. // Naturwis. 1930. P. 441. Z. Phys. Chem. 1930. (B) № 10. P. 193.
- Семенов Н.Н. Избр. произведения. Изд-во РАН, 2005. Т. 3.
Arquivos suplementares










