Температура и энтальпия плавления нанооксидов UO₂ и ThO₂ различной морфологии
- Authors: Чернышев A.П.1,2
-
Affiliations:
- Институт химии твердого тела и механохимии СО РАН
- Новосибирский государственный технический университет
- Issue: Vol 98, No 11 (2024)
- Pages: 125-132
- Section: PHYSICAL CHEMISTRY OF NANOCLUSTERS, SUPRAMOLECULAR STRUCTURES, AND NANOMATERIALS
- Submitted: 19.03.2025
- Accepted: 19.03.2025
- Published: 15.11.2024
- URL: https://medbiosci.ru/0044-4537/article/view/284136
- DOI: https://doi.org/10.31857/S0044453724110147
- EDN: https://elibrary.ru/EYPXYN
- ID: 284136
Cite item
Full Text
Abstract
В настоящей статье термодинамическим методом изучена зависимость температуры плавления и энтальпии плавления от характерного размера и морфологии нанообъектов, состоящих из UO₂ и ThO₂. Показано, что влияние характерного размера и морфологии на энтальпию и температуру плавления нанообъектов UO₂ и ThO₂ становится заметным, когда их характерный размер составляет менее 20 нм. Резкое снижение температуры плавления происходит, когда характерный размер наночастиц, нанопроволок и тонких пленок UO₂ и ThO₂ составляет менее 5, 4 и 3 нм соответственно. Во всех случаях размерный эффект уменьшается в последовательности сферические наночастицы – нанопроволоки – тонкие пленки. Установлено, что при объединении отдельно стоящих наночастиц UO₂ и ThO₂ в наноструктурированные нанообъекты размерный эффект также уменьшается. Результаты расчетов, полученные в настоящей работе, хорошо согласуются с результатами расчетов, полученных методом молекулярной динамики и экспериментальными данными, доступными в литературе.
Full Text
ВВЕДЕНИЕ
Нанообъекты (наночастицы, нанопроволоки, тонкие пленки и т. д.) обладают физическими свойствами, которые могут сильно отличаться от физических свойств аналогичных макроскопических веществ. Исследования диоксидов актинидов (AnO₂) в виде нанообъектов необходимы для разработки новых технологических подходов и новых материалов в ядерной энергетике, в катализе, при хранении и утилизации ядерных отходов [1–3]. Наноструктурированные AnO₂ являются перспективным ядерным топливом для атомных электростанций и силовых установок космических аппаратов, в том числе в условиях его глубокого выгорания. Следовательно, необходимо знать, как зависят термодинамические свойства AnO₂ от их морфологии и характерных размеров.
В настоящее время проводятся исследования возможности использования соединений актинидов в качестве катализаторов. В гетерогенном катализе предпочтительно использовать нанообъекты из-за их очень большого отношения поверхности к объему, что приводит к их высокой удельной каталитической активности. Установлено, что материалы с элементами 5f могут стать основой для замены многокомпонентных катализаторов на однокомпонентные катализаторы для упрощения каталитических процессов некоторых сложных химических реакций. Также было показано, что соединения актинидов при использовании в катализаторах обладают рядом преимуществ перед соединениями лантанидов и переходных металлов [3].
Большинство экспериментальных исследований и расчетов методами теории функционала плотности (ТФП) и молекулярной динамики (МД) посвящены структурным, электронным и оптическим свойствам нанооксидов актинидов (например, [4–7]). Тем не менее, плавление нанообъектов имеет большое фундаментальное и прикладное значение [8–10]. Поэтому для изучения плавления кубических наночастиц UO₂ в работах [11–13] было проведено несколько расчетов методом МД. Было показано, что температура плавления и энтальпия плавления снижаются с уменьшением характерного размера этих наночастиц. Плавление нанокристаллических ThO₂ и UO₂ с характерным размером кристаллитов (4 ± 1) нм и (30 ± 20) нм соответственн было исследовано в работах [14] и [15] экспериментально. Было обнаружено, что нанокристаллический ThO₂ плавится при температурах на 400…600 К ниже температуры плавления макроскопического ThO₂ [14]. Измеренная температура плавления нанокристаллического UO₂ была на 300 К меньше температуры плавления макроскопического UO₂. Было высказано предположение, что большая часть снижения температуры плавления наночастиц UO₂ обусловлена значительным увеличением молярного отношения кислорода к металлу [15], т. е. нестехиометрии образцов.
Снижение температуры плавления с уменьшением характерного размера нанообъектов широко известно и описано в других источниках (например, в работах [8–10, 16]). Систематические экспериментальные исследования зависимости температуры плавления и энтальпии плавления от размера и морфологии нанообъектов, изготовленных из AnO₂, в литературе отсутствуют. Это не позволяет нам оценить достоверность результатов МД-моделирования, которое было выполнено для кубических наночастиц UO₂ в работах [11–13]. Плавление кубических наночастиц UO₂, находящихся в вакууме, было изучено методом МД-моделирования с использованием аппроксимации парных потенциалов и точечных ионов. Межатомное взаимодействие определялось десятью наборами парных потенциалов (НПП) [11, 12]. Два из них, НПП Yakub 09 и MOX 07, воспроизводят макроскопическое значение температуры плавления лучше, чем другие используемые НПП [11]. Например, при использовании НПП Yakub‑09 и MOX‑07 экстраполяция рассчитанных температур плавления наночастиц UO₂ в область макроскопических характерных размеров дает температуры плавления (Tm(χ)) 3105 К и 3291 К соответственно, которые близки к эталонному значению (см. табл. 1). Здесь и ниже знак ∞ указывает на то, что рассматриваемый термодинамический параметр относится к макроскопическому твердому веществу. Тем не менее, аналогичная экстраполяция энтальпии плавления, дает сильно заниженные значения Hm(χ) [11, 12]. Межатомный потенциал Борна–Майера (Б–М) был использован в работе [13] для получения температуры плавления кубических наночастиц UO₂, находящихся в вакууме. Значение температуры плавления 3262 ± 280 К, полученное этим методом для соответствующего макроскопического кристалла, хорошо согласуется с его эталонным значением (табл. 1). Тем не менее, этот метод МД-моделирования также дает заниженное значение Hm(∞).
Таблица 1. Физические параметры, используемые для расчета температуры плавления и энтальпии плавления нанообъектов
AnO₂ | Hm(∞) [19] | Sm(∞) (13) | Svib(∞) | a [17] | h (5) | |
К | кДж/моль | Дж/моль·K | Дж/атом·K | нм | нм | |
ThO₂ | 3651±17 | 88±6 | 24.1 | 8.0±0.6 | 0.55971 | 0.2424 |
UO₂ | 3120±20 | 75±3 | 24.0 | 8.0±0.3 | 0.5471 [23] | 0.2369 |
Термодинамический метод обладает рядом преимуществ по сравнению с другими методами моделирования. К его преимуществам относится возможность изучать термодинамические свойства целых классов соединений с учетом характерных размеров и морфологии нанообъектов. Поэтому в настоящей статье исследование влияния размера и морфологии нанооксидов UO₂ и ThO₂ на их температуру плавления и энтальпию плавления было проведено в рамках термодинамического подхода, который иногда называют методом среднеквадратичного смещения (МСС) (см. [8–10]). Этот метод использует кристаллографические и макроскопические термодинамические свойства веществ и не использует подгоночные параметры. Температура плавления макроскопического диоксида урана зависит от различных факторов, таких как степень отклонения от стехиометрического состава, наличие примесей и дефектов в кристаллической структуре. Стехиометрический UO₂ плавится конгруэнтно, а нестехиометрический UO₂ образует линии солидуса и ликвидуса. Стехиометрия также влияет на температуру плавления других диоксидов актинидов (см. например, работы [17] и [18]). В настоящем исследовании рассматриваются только стехиометрические UO₂ и ThO₂. Все диоксиды актинидов имеют структуру флюорита с близкими параметрами решетки (табл. 1).
Было показано в работах [5–7], что структура наночастиц некоторых диоксидов актинидов отличается от структуры соответствующих массивных образцов только вблизи поверхности наночастиц из-за локального разупорядочения. Термодинамические свойства макроскопических UO₂ и ThO₂ были взяты из работ [17, 19, 20] (представлены в табл. 1). Цель этой статьи – описать зависимость температуры и энтальпии плавления нанообъектов UO₂ и ThO₂ от их характерного размера и морфологии.
МЕТОДИКА РАСЧЕТОВ
Отдельно стоящие нанообъекты – это нанообъекты, которые не взаимодействуют друг с другом. Если они находятся на подложке, то взаимодействие между подложкой и нанообъектами осуществляется силами Ван-дер-Ваальса, в то время как взаимодействия между атомами внутри самих нанообъектов представляют собой прочные химические связи. В МСС для определения температуры плавления используется критерий Линдеманна (Lindemann) [21]. Согласно этому критерию, записанному в виде соотношения, предложенного впервые Гилвари (Gilvarry) [21, 22], плавление происходит при выполнении неравенства
, (1)
где – обозначает среднеквадратичное смещение атомов от их положения равновесия, обусловленное тепловыми колебаниями, h – высота поверхностного слоя атомов (является параметром материала). Принято, что в первом приближении в качестве h можно взять межатомное расстояние [8, 9]. x – определенная доля h, при которой происходит плавление [9]. Зависимость квадрата среднеквадратичного смещения атомов ás2ñ от характерного размера и морфологии нанообъектов описывается следующим феноменологическим уравнением [8]:
(2)
Здесь c = ns/nv, ns и nv – количество поверхностных атомов и количество атомов, расположенных внутри нанообъекта, соответственно; T – абсолютная температура. В этом уравнении a является материальной константой, которая определяется соотношением [9]
, (3)
где индексы s и v показывают, что рассматриваемое физическое свойство относится к поверхностным и внутренним атомам соответственно; Svib(χ) – колебательная составляющая энтропии плавления, отнесенная к одному грамм-атому, R – универсальная газовая постоянная. Параметр c сферических и кубических наночастиц, нанопроволок и тонких пленок имеет простейшую форму [9], которая справедлива при условии, что D > D0:
, (4)
здесь D – характерный размер нанообъектов (например, диаметр сферических наночастиц и нанопроволок, толщина тонких пленок и длина ребра куба для кубических наночастиц); D0 = 2(3 – d)h; d = 0, 1 и 2 для сферических (или кубических) наночастиц, нанопроволок и тонких пленок соответственно. Для структуры флюорита параметр h был определен в [10] как
, (5)
где a – параметр решетки (табл. 1). Решение (2) дает зависимость⟨σ2⟩ от χ:
. (6)
Поскольку температура плавления нанообъектов обычно выше их температуры Дебая, используется высокотемпературное приближение [8]:
, (7)
где – не зависящая от температуры функция от χ. Подстановка (7) в (6) дает следующее уравнение:
. (8)
Уравнения (7) и (1) после несложных преобразований дают для нанообъектов и для макроскопических тел равенства = (ξ · h)2/Tm(c) и = (ξ · h)2/Tm(∞) соответственно. Здесь Tm(χ) – температура плавления нанообъектов. Подстановка этих двух уравнений в (8) приводит к следующему соотношению между Tm(χ) и Tm(∞) [8, 9]:
. (9)
Энтропию плавления можно представить в виде суммы трех составляющих [9]:
, (10)
где Sconf(∞) и Sel(∞) – это конфигурационный и электронный компоненты энтропии плавления Sm(∞) соответственно. Для диоксидов актиноидов, вклад Sel(∞) в Sm(∞) пренебрежимо мал по сравнению с вкладами Svib(∞) и Sconf(∞), поэтому им можно пренебречь. Значение Sconf(∞) может быть получено по формуле [9]
, (11)
где x = 1/(1 + ΔV/V), ΔV – изменение объема вещества после плавления, а V – его объем до плавления. Использование (11) подразумевает, что расплав является однородным. Плотности твердого и жидкого UO₂ при температуре плавления составляют 9555 и 8860 кг/м3 [20]. Уравнение (11) дает, что Sconf(∞) = 2.167 Дж·моль–1·К–1 или 0.722 Дж·г-атом–1·К–1. Таким образом имеем из (10), что Svib(∞) = Sm(∞) – Sconf(∞) ≈ 7.29 Дж·г-атом–1·К–1. Не удалось найти в литературе плотность ThO₂ в жидком и твердом состоянии при температуре плавления, что не позволило рассчитать конфигурационную энтропию этого диоксида. Sconf(∞) для UО2 близка к погрешности измерения Sm(χ) (см. табл. 1), поэтому мы будем игнорировать параметр Sconf(∞) для ThO₂. Для него мы будем использовать соотношение Svib(∞) = Sm(∞)/n = Hm(∞)/(nTm(∞)), где n – количество атомов в молекуле. Единицей измерения Svib(∞), рассчитанной по этой формуле, является Дж·г-атом–1·K–1 [9].
Энтальпия плавления зависит от размера и подчиняется уравнению [9]:
. (12)
Это уравнение, конечно, можно переписать в виде произведения
, (13)
где Sm(χ) = Sm(∞)(1 – c) и Sm(∞) = Hm(∞)/Tm(∞).
В нанокристаллическом AnO₂ величина квадрата среднеквадратичного смещения атомов, лежащих внутри границ зерен, меньше, чем на поверхности отдельно стоящих наночастиц. Согласно уравнениям (3), (9) и (12), это дает, соответственно, более слабый размерный эффект для диоксидов актинидов с нанокристаллической структурой. Было показано в работах [23–25], что для учета наличия границ зерен уравнение (3) следует заменить следующим уравнением:
, (14)
где δ имеет следующий вид:
. (15)
Здесь γsv(∞) и γgb(∞) обозначают энергию границы раздела твердое вещество–пар и энергию границы зерен соответственно. Таким образом, зависимость Tm и Hm от характерного размера нанокристаллических диоксидов актинидов может быть получена с использованием уравнений (9) и (12) после замены в них α на αnc.
РЕЗУЛЬТАТЫ РАСЧЕТОВ
Расчеты проводились по формулам (4), (9), (12) и (18), в которых использовались табличные данные о макроскопических термодинамических параметрах из табл. 1. Температура плавления и энтальпия плавления нанообъектов с одинаковым характерным размером увеличиваются в серии наночастицы-нанопроволоки-тонкие пленки (рис. 1 и 2). Значения Tm(D), полученные с помощью МД-моделирования в [12], совпадают со значениями, полученными методом МСС (см. рис. 1а).
Рис. 1. Зависимости температуры плавления от характерного размера (D) нанообъектов, состоящих из UO₂ (а) и ThO₂ (б). Нанообъекты трех типов: наночастицы (d = 0), нанопроволоки (нановолокна) (d = 1), тонкие пленки (d = 2). Результаты расчетов методом молекулярной динамики: MOX-07 (▼), Goel-08 (♦), Yakub-09 (○) [11] и Б-М (■) [13].
Макроскопические значения Tm(χ), взятые из литературы (табл. 1), имеют относительную погрешность измерения менее 0.02. Таким образом, для диоксидов актинидов разумно предположить, что влияние характерного размера нанообъектов на температуру их плавления становится заметным, если относительное уменьшение DTmr(D) = = (Tm(∞) – Tm(D))/Tm(∞) составляет около 0.04 или выше. Анализ полученных результатов (см. рис. 1) показывает, что если характерный размер нанообъектов составляет около 20 нм, то этому условию удовлетворяют только сферические и кубические наночастицы. Размерный эффект становится значительным для тонких пленок, если их толщина составляет около 5 нм. DTmr(D) для сферических и кубических наночастиц, нанопроволок и тонких пленок с D = 5 нм составляет около 0.2, 0.15 и 0.06 соответственно. Резкое снижение температуры плавления нанообъектов, состоящих из UO₂ и ThO₂, происходит, когда их характерные размеры составляют (приблизительно) менее 5, 4 и 3 нм для наночастиц, нанопроволок и тонких пленок соответственно (рис. 1). Соответствующие значения DTmr составляют около 0.4, 0.25 и 0.1 соответственно.
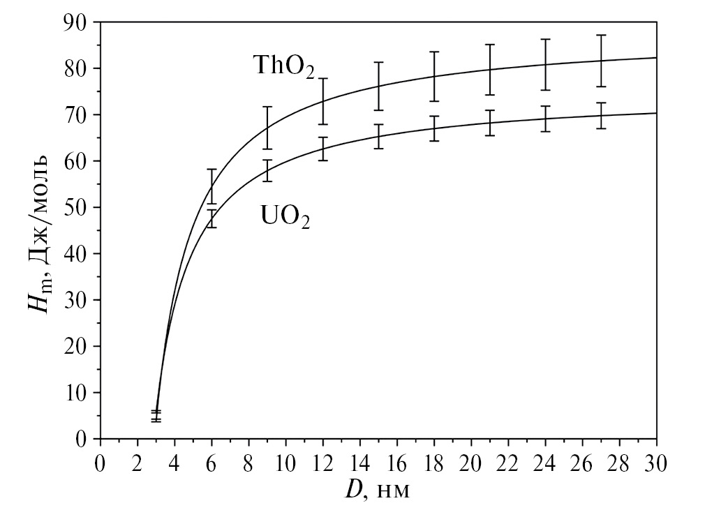
Рис. 2. Зависимости энтальпии плавления от характерного размера (D) нанообъектов, состоящих из UO₂ (а) и ThO₂ (б). Нанообъекты трех типов: наночастицы (d = 0), нанопроволоки (нановолокна) (d = 1), тонкие пленки (d = 2). Результаты расчетов методом молекулярной динамики: MOX-07 (▼), Goel-08 (♦), Yakub-09 (○) [11].
Относительная погрешность измерения Hm(∞) составляет около 0.07, что больше, чем у Tm(∞) (табл. 1). Давайте предположим, что размерный эффект становится заметным, если он вызывает относительное снижение энтальпии плавления, ΔHmr(D) = (Hm(∞) – Hm(D))/Hm(∞), что составляет не менее 0.10. Среди нанообъектов с характерным размером 20 нм только сферические и кубические наночастицы преодолевают этот порог (рис. 2). Как следует из полученных результатов, когда характерный размер сферических и кубических наночастиц, нанопроволок и тонких пленок составляет менее 10, 7 и 5 нм соответственно, последующее уменьшение характерного размера наночастиц и нанопроволок приводит к резкому снижению их энтальпии плавления и, соответственно, DHmr резко возрастает с уменьшением характерного размера. Например, наночастицы, нанопроволоки и тонкие пленки с характерным размером 3 нм имеют значения DHmr около 0.95, 0.59 и 0.27 соответственно.
Экспериментальные исследования температуры плавления нанокристаллических ThO₂ и UO₂ доступны в литературе [14, 15]. Было обнаружено, что нанокристаллический UO₂ с размером зерен (30 ± 20) нм имеет измеренную температуру плавления на 300 К ниже его значения для макроскопических частиц UO₂ [15]. Как показано выше и подтверждено расчетами (см. рис. 3), нанокристаллическая структура должна иметь температуру плавления выше, чем соответствующие отдельно стоящие наночастицы. Зависимости Tm = Tm(D) и Hm = Hm(D) для нанокристаллических диоксидов актинидов могут быть получены с использованием уравнений (9) и (12) после замены в них a на anc. Для этой цели необходимо знать значение отношения γgb(∞)/γsv(∞) в уравнении (14). Это значение для UO₂ доступно в литературе [20, 26] и равно 0.58 ± 0.05. Предполагается, что это соотношение является правильным во всем диапазоне температур твердого UO₂ [20]. В настоящее время нам неизвестно о каких-либо экспериментальных данных по энергии границ зерен или энергии адгезии зерен для поликристаллического ThO₂, поэтому значение этого отношения для UO₂ также используется ниже для нанокристаллического ThO₂ в качестве оценки. Результаты расчетов, приведенные на рис. 3 и 4, показывают, что нанокристаллические диоксиды актинидов обладают более слабым размерным эффектом по сравнению с отдельно стоящими наночастицами диоксидов актинидов с таким же характерным размером. В работе [15] было проведено определение температуры плавления нанокристаллического UO₂, имевшего наименьший размер зерен около 10 нм. Расчеты с использованием уравнений (9), (14) и (15) показывают, что нанокристаллический UO₂ с размером зерен 10 нм имеет температуру плавления на 138 К ниже, чем температура плавления макроскопического образца (рис. 3).
Рис. 3. Зависимости температуры плавления от характерного размера зерен наноструктурированных оксидов ThO₂ и UO₂. Экспериментальное значение из работы [14] обозначено как (○).
Как показано в работе [14], нанокристаллический ThO₂ с размером зерен (4 ± 1) нм плавится при температуре на 400–600 К ниже температуры макроскопического образца (рис. 3). Отдельно стоящие наночастицы ThO₂ с D = 4 нм плавятся при температуре 2507 К, что на 1144 К ниже температуры плавления соответствующих макроскопических частиц (см. рис. 1 б). Расчет методом МСС также показывает, что нанокристаллический ThO₂ с размером зерен 4 нм плавится при температуре 3087 К (рис. 3), что на 564 К ниже температуры плавления макроскопического образца и хорошо согласуется с упомянутым выше экспериментальным результатом. Плавление нанокристаллического UO₂ с размерами зерен в диапазоне (30 ± 20) нм было исследовано в работе [15]. Нанокристаллический UO₂ подвергся быстрому окислению из-за высокой удельной поверхности, поэтому измеренное в работе снижение температуры плавления более чем на 300 К ниже 3120 К (температуры плавления частиц UO₂ микрометрового размера) было в основном связано с существенным увеличением молярного отношения кислорода к урану и лишь в гораздо меньшей степени с влиянием размера зерен. Это не позволило сопоставить полученную в [15] температуру плавления нанокристаллического UO₂ с результами расчетов зависимости Tm = Tm(D) методом МСС (рис. 3).
ОБСУЖДЕНИЕ РЕЗУЛЬТАТОВ
Впервые поведение оксидов актинидов при плавлении было изучено на наноуровне с использованием строгого термодинамического подхода и в широком диапазоне их характерных размеров с учетом их морфологии. Расчеты были выполнены в соответствии с формулами (9) и (12), в которых используются табличные данные о макроскопических параметрах Tm(∞) и Hm(∞). Таким образом, точность расчетов имеет тот же порядок величины, что и используемые табличные данные (табл. 1).
В литературе имеется очень мало результатов исследований плавления нанооксидов актинидов [11–15]. Результаты МД-моделирования, доступные в литературе, посвящены исследованию плавления кубических наночастиц UO₂ размером в области от 2.2 до 8.8 нм [11–13]. Они сильно зависят от НПП, используемых для МД-моделирования, и не учитывают влияние морфологии на плавление нанообъектов. Наилучшее соответствие температуре плавления, рассчитанной методом МСС, было получено в работе [13] для отдельно стоящих кубических наночастиц UO₂ (рис. 1а). Значительно более высокие значения температуры плавления наночастиц UO₂ были получены с использованием НПП, названных Goel‑08, Yakub‑09 и MOX‑07 (рис. 1 а). Эта разница в результатах МД-моделирования вызвана выбором НПП [12, 27]. Некоторые модели влияния размера на температуру плавления предполагают, что существует линейная зависимость температуры плавления от обратного характерного размера нанообъектов (например, см. обзоры [9, 10, 16]):
, (16)
здесь C – константа, зависящая от структуры и состава вещества. Ранее было показано [9, 10], что (20) является хорошим приближением (9) при χ « 1, т. е. для большого значения отношения D/D0. МД-моделирование, выполненное в работах [11, 12], также показало, что зависимость температуры плавления наночастиц UO₂ от обратного размера нелинейная в области размеров от 2.2 до 8.8 нм.
Определение зависимости Hm = Hm(D) методом МД было выполнено для кубических наночастиц UO₂ в работах [11, 12]. Результаты МД-моделирования сильно зависят от выбора НПП (см. рис. 2 а). Например, НПП MOX‑07, Goel‑08 и Walker‑81 дают DHmr около 0.09, 0.43 и 0.90, соответственно, для кубических наночастиц UO₂ с размером ребра куба 2.74 нм. DHmr, равное 0.94, было получено методом МСС для кубических и сферических наночастиц размером 3 нм (см. рис. 2). Таким образом, результаты расчетов, полученные с использованием метода МСС, не противоречат результатам моделирования MD, выполненного в [11, 12]. С другой стороны, можно констатировать, что зависимости Tm = Tm(D) и Hm = Hm(D), полученные методом МСС, являются более адекватными, чем полученные в настоящее время с помощью МД-моделирования.
Рис. 4. Зависимости энтальпии плавления от характерного размера зерен наноструктурированных оксидов ThO₂ и UO₂. Следовательно, в соответствии с критерием плавления Линдеманна (1) плавление нанокристаллических структур происходит при более высоких температурах, чем плавление соответствующих отдельно стоящих наночастиц.
Сопоставление результатов расчетов Tm(D) и Hm(D) для отдельно стоящих наночастиц (рис. 1 и 2) и наночастиц в виде зерен нанокристаллических диоксидов UO₂ и ThO₂ (рис. 3 и 4) показывает, что размерный эффект существенно меньше в нанокристаллических диоксидах актинидов, чем в отдельно стоящих наночастицах. Это связано с тем, что из-за наличия межзеренных границ среднеквадратичное смещение атомов от их положения равновесия, обусловленное тепловыми колебаниями, у поверхностных атомов зерен меньше, чем у поверхностных атомов отдельно стоящих наночастиц такого же характерного размера. Следовательно, в соответствии с критерием плавления Линдеманна (1) плавление нанокристаллических структур происходит при более высоких температурах, чем плавление соответствующих отдельно стоящих наночастиц.
ЗАКЛЮЧЕНИЕ
Впервые было адекватно изучено поведение при плавлении нанодиоксидов UO₂ и ThO₂. Исследование было проведено в диапазоне характерных размеров от 2 до 20 нм методом МСС, который не использует параметры подгонки. Было показано, что характерные размеры и морфология нанообъектов диоксидов актинидов существенно влияют на их температуру плавления и энтальпию плавления. Температура плавления и энтальпия плавления увеличиваются в последовательности наночастицы–нанопроволоки–тонкие пленки. Если характерный размер нанообъекта составляет 20 нм, то только наночастицы дают заметное относительное снижение температуры плавления и энтальпии плавления примерно на 5 и 12 процентов соответственно. Резкое относительное снижение температуры плавления нанообъектов UO₂ и ThO₂ происходит, когда их характерный размер составляет менее 5, 4 и 3 нм соответственно. При характерном размере 5 нм температура плавления наночастиц, нанопроволок и тонких пленок составляет около 78, 87 и 94 процентов от температуры плавления частиц UO₂ и ThO₂ с макроскопическим характерным размером соответственно. Когда характерный размер наночастиц, нанопроволок и тонких пленок диоксидов актинидов составляет менее 10, 7 и 5 нм соответственно, энтальпия плавления начинает резко снижаться с уменьшением характерного размера. Если характерный размер отдельно стоящих наночастиц и зерен нанокристаллических оксидов актинидов одинаков, то последние испытывают гораздо более слабое влияние характерного размера и морфологии на температуру и энтальпию плавления.
About the authors
A. П. Чернышев
Институт химии твердого тела и механохимии СО РАН; Новосибирский государственный технический университет
Author for correspondence.
Email: alfred.chernyshev@solid.nsc.ru
Russian Federation, Новосибирск; Новосибирск
References
- Spino J., Santa Cruz H., Jovani-Abril R. et al. // J. Nucl. Mater. 2012. V. 422. P. 27. https://doi.org/10.1016/j.jnucmat.2011.11.056
- Khanal L.R., Sundararajan J.A., Qiang Y. // Energy Technol. 2020. V. 8. P. 1901070. https://doi.org/10.1002/ente.201901070
- Leduc J., Frank M., Jürgensen L. et al. // ACS Catal. 2019. V. 9. P. 4719. https://doi.org/10.1021/acscatal.8b04924
- Amidani L., Plakhova T.V., Romanchuk A. Yu. et al. // Phys. Chem. Chem. Phys. 2019. V. 21. P. 10635. https://doi.org/10.1039/C9CP01283D
- Gerber E., Romanchuk A. Yu., Pidchenko I., et al. // Nanoscale. 2020. V. 12. P. 18039. https://doi.org/10.1039/D0NR03767B
- Bonato L., Virot M., Dumas T.A. et al. // Nanoscale Adv. 2020. V. 2. № 1. P. 214. https://doi.org/10.1039/C9NA00662A
- Moreau L.M., Herve A., Straub M.D. et al. // Chem. Sci. 2020. V. 11. P. 4648. https://doi.org/10.1039/C9SC06117G
- Shi F.G. // J. Mater. Res. 1994. V.9. P. 1307. https://doi.org/10.1557/JMR.1994.1307
- Jiang Q., Wen Z. Thermodynamics of Materials. Berlin Heidelberg Higher Education Press, Beijing and Springer-Verlag, 2011, 298 p.
- Yang C.C., Mai Y.-W. // Materials Science and Engineering R: Reports. 2014. V. 79. P. 1.
- Боярченков А.С., Поташников С.И., Некрасов К.А., Купряжкин А.Я. // Расплавы. 2012. № 2. С. 32. Boyarchenkov A.S., Potashnikov S.I., Nekrasov K.A., Kupryazhkin A. Ya. // Russian Metallurgy (Metally). 2012. V. 8. № 8. P. 676. https://doi.org/10.1134/S0036029512080034
- Boyarchenkov A.S., Potashnikov S.I., Nekrasov K.A., Kupryazhkin A.Ya. // J. Nucl. Mater. 2012. V. 427. P. 311. https://doi.org/10.1016/j.jnucmat.2012.05.023
- Махмуд-Ахунов Р.Ю., Тихончев М.Ю., Светухин В.В. // Журн. Техн. физики. 2013. Т. 83. № 8. С. 8. Makhmud-Akhunov R. Yu., Tikhonchev M. Yu., Svetukhin V.V. // Technical Physics. 2013. V. 58. № 8. P. 1094. https://doi.org/10.1134/S1063784213080197
- Cappia F., Hudry D., Courtois E. et al. // Mater. Res. Express. 2014. V. 1. P. 025034. doi: 10.1088/2053-1591/1/2/025034
- Cappia F., Jovani-Abril R., Spino J. et al. // Prog. Nucl. Energy. 2014. V. 72. P. 11. https://doi.org/10.1016/j.pnucene.2013.10.018
- Wilde G. // Advanced Engineering Materials. 2021. V. 23. P. 2001387. https://doi.org/10.1002/adem.202001387
- Guéneau C., Chartier A., Fossati P., et al. Comprehensive Nuclear Materials. V. 7. Amsterdam: Elsevier, 2020. P. 111–154. https://doi.org/10.1016/B978-0-12-803581-8.11786-2
- Manara D., Ronchi C., Sheindlin M. et al. // J. Nucl. Mater. 2005. V. 342. P. 148. https://doi.org/10.1016/j.jnucmat.2005.04.002
- Konings R.J.M., Beneš O., Kovács A. et al. // J. Phys. Chem. Ref. Data. 2014. V. 43. P. 013101. https://doi.org/10.1063/1.4825256
- International Atomic Energy Agency. Thermophysical properties database of materials for light water reactors and heavy water reactors. Final report of a coordinated research project 1999–2005, Non-serial Publications / Ed. by Cognet G., Efanov A., Fortov V. et al. Vienna, IAEA-TECDOC-1496, IAEA, 2006. 397 p.
- Gilvarry J.J. // Phys. Rev. 1956. V. 102. № 2. P. 308. https://doi.org/10.1103/PhysRev.102.308
- Бацанов С.С. // Журн. физ. химии. 2012. Т. 86. № 11. С. 1890. Batsanov S.S. // Russ. J. Phys. Chem. V. 86. P. 1759. https://doi.org/10.1134/S0036024412110052
- Leinders G., Cardinaels T., Binnemans K., Verwerft M. // J. Nucl. Mater. 2015. V. 459. P. 135. https://doi.org/10.1016/j.jnucmat.2015.01.029
- Zhu Y.F., Lian J.S., Jiang Q. // J. Phys. Chem. C. 2009. V. 113. P. 16896. https://doi.org/10.1021/jp902097f
- Zhu Y.-F., Zhao N., Jin B. et al. // Phys. Chem. Chem. Phys. 2017. V. 19. P. 9253. https://doi.org/10.1039/C6CP08061H
- Hall R.O.A., Mortimer M.J. // J. Nucl. Mater. 1987. V. 148. P. 237. https://doi.org/10.1016/0022-3115(87)90017-1
- Jin M., Khafizov M., Jiang C. et al. // J. Phys. Condens. Matter. 2021. V. 33. P. 275402. https://doi.org/10.1088/1361-648X/abdc8f
Supplementary files






