Объемные свойства растворов галогенидов аммония в смешанном растворителе N-метилпирролидон–вода при 298.15 К
- Authors: Новиков А.Н.1, Костылева Е.И.1, Сривастава А.А.1, Василёв В.А.2
-
Affiliations:
- Новомосковский институт Российского химико-технологического университета им. Д. И. Менделеева
- Российский химико-технологический университет им. Д. И. Менделеева
- Issue: Vol 98, No 12 (2024)
- Pages: 70-76
- Section: PHYSICAL CHEMISTRY OF SOLUTIONS
- Submitted: 30.03.2025
- Accepted: 30.03.2025
- Published: 15.12.2024
- URL: https://medbiosci.ru/0044-4537/article/view/285580
- DOI: https://doi.org/10.31857/S0044453724120111
- EDN: https://elibrary.ru/EOAYJU
- ID: 285580
Cite item
Full Text
Abstract
Исследованы плотности растворов галогенидов аммония в смесях N-метилпирролидон (МП) – вода во всем интервале составов смешанного растворителя при 298.15 К. Рассчитаны стандартные парциальные мольные объемы электролитов. Определен стандартный парциальный мольный объем иона аммония — в исследованных смесях. Рассчитаны вклады в величину — , обусловленные электрострикцией, специфическими взаимодействиями ион-растворитель, структурными изменениями в растворе. Зависимость полученных величин от состава смеси обсуждены в связи со структурой смешанного растворителя.
Full Text
Апротонный диполярный растворитель N-метилпирролидон (МП) обладает уникальным сочетанием высокой растворяющей способности с хорошей селективностью по отношению к ароматическим и ненасыщенным углеводородам, сероводороду, ряду других газообразных компонентов. Благодаря этому МП и смеси растворителей на его основе широко используются в процессах экстракции, экстрактивной ректификации, абсорбции, очистки [1].
Данная работа является продолжением систематических исследований термодинамических свойств растворов МП [2–6]. В [2, 3], на основании изучения объемных свойств растворов галогенидов щелочных металлов в смесях МП–вода, было установлено, что специфическое взаимодействие компонентов смешанного растворителя отражается и на свойствах трехкомпонентных систем. В рамках продолжения работы представляет определенный интерес изучение трехкомпонентных растворов электролитов, имеющих в своем составе многоатомные ионы. Исследование растворов в смешанных растворителях представляет не только теоретический, но и практический интерес, так как большинство химических процессов в промышленности протекает именно в таких системах. В качестве объектов исследования выбраны бромид и иодид аммония, обладающие достаточно хорошей растворимостью в МП.
ЭКСПЕРИМЕНТАЛЬНАЯ ЧАСТЬ
Для измерения плотности растворов был использован прецизионный денсиметр Anton Paar DMA 4500 с точностью термостатирования ± 5 × 10–3 К. Погрешность измерения плотности растворов составляла ± 5 × 10–5 г ⋅ см–3. Для приготовления смешанного растворителя использовали дважды перегнанную воду и МП квалификации “ ч. д. а.” осушенный молекулярными ситами марки 4А и дважды перегнанный под вакуумом. Остаточное содержание воды в образцах МП определяли титрованием по методу Фишера и учитывали при приготовлении смешанного растворителя. Бромид аммония квалификации,, х. ч.’’ без дополнительной очистки подвергали осушке под вакуумом при 333–343 К в течение 8–10 часов. Иодид аммония квалификации “ч. д. а.” дважды перекристаллизовывали из бидистиллированной воды и из абсолютированного этанола, сушили 3–4 ч на воздухе при 343 К, а затем в течение 48 ч под вакуумом при 333 К. Содержание основного вещества в МП по данным хроматографического анализа, в галогенидах аммония по данным аргентометрического титрования составляло не менее 99.9 мас. %.
ОБСУЖДЕНИЕ РЕЗУЛЬТАТОВ
В работе измерены плотности (ρ) растворов бромида и иодида аммония в смешанном растворителе МП–вода при мольных долях неводного компонента (ХМП) 0.10, 0.33, 0.50, 0.75, 0.90. Результаты измерений ρ представлены в табл. 1. Экспериментальные данные о ρ растворов бромида и иодида аммония в МП получены нами ранее и приведены в работе [5].
Таблица 1. Плотности растворов галогенидов аммония в смешанном растворителе МП–вода при 298.15 К
m, моль/кг р-ля | ρ, г ⋅ см–3 | m, моль/кг р-ля | ρ, г ⋅ см–3 |
NН4I–MП–Н2О (ХМП = 0.10) | |||
0.0000 0.0997 0.2998 0.4993 | 1.02667 1.03543 1.05266 1.06939 | 0.7496 1.0000 1.4306 1.9999 | 1.08981 1.10961 1.14235 1.18320 |
NН4I–MП–Н2О (ХМП = 0.33) | |||
0.0000 0.0999 0.2009 0.2997 0.5003 | 1.04769 1.05665 1.06557 1.07417 1.09125 | 0.7495 1.0004 1.5001 2.0011 | 1.11180 1.13166 1.16950 1.20524 |
NН4I–MП–Н2О (ХМП = 0.50) | |||
0.0000 0.1008 0.2003 0.3003 0.5008 | 1.04371 1.05319 1.06239 1.07149 1.08931 | 0.7516 1.0011 1.5021 2.0004 | 1.11074 1.13136 1.17052 1.20703 |
NН4I–MП–Н2О (ХМП = 0.75) | |||
0.0000 0.1001 0.2001 0.3000 0.5002 | 1.03516 1.04508 1.05472 1.06428 1. 08271 | 0.7498 1.0004 1.5003 2.0013 | 1.10519 1.12660 1.16736 1.20527 |
NН4I–MП–Н2О (ХМП = 0.90) | |||
0.0000 0.0994 0.1999 0.3082 | 1.03047 1.04055 1.05050 1.06013 | 0.4997 0.7506 0.9999 1.5023 | 1.07889 1.10160 1.12334 1.16472 |
NН4Br–МП–Н2О (ХМП = 0.10) | |||
0.0000 0.1005 0.2994 0.4998 | 1.02668 1.03204 1.04240 1.05258 | 0.7497 0.9998 1.4415 1.9997 | 1.06486 1.07685 1.09722 1.12162 |
NН4Br–MП–Н2О (ХМП = 0.3300) | |||
0.0000 0.0998 0.2003 0.2995 | 1.04769 1.05305 1.05833 1.06338 | 0.4998 0.7501 1.0000 1.9998 | 1.07350 1.08552 1.09755 1.14160 |
NН4Br–MП–Н2О (ХМП = 0.5004) | |||
0.0000 0.0973 0.2011 0.3003 | 1.04371 1.04929 1.05477 1.06018 | 0.4980 1.0001 1.5069 2.0180 | 1.07029 1.0941 1.11628 1.13610 |
NН4Br–MП–Н2О (ХМП = 0.75) | |||
0.0000 0.1007 0.2002 0.2999 0.5007 | 1.03516 1.04128 1.04717 1.05291 1.06418 | 0.7509 0.9997 1.5005 1.9992 | 1.07761 1.09057 1.11533 1.13840 |
NН4Br–MП–Н2О (ХМП = 0.90) | |||
0.0000 0.0994 0.2000 0.3001 | 1.03047 1.03667 1.04274 1.04866 | 0.4999 0.7503 1.0002 1.3009 | 1.06000 1.07375 1.08704 1.10242 |
На основании данных о плотности растворов были вычислены кажущиеся мольные объемы ФV галогенидов аммония в смесях МП–вода, концентрационные зависимости которых описываются уравнением Мэссона [7]:
, (1)
где Sv – определяемая экспериментально постоянная, С – молярная концентрация.
Концентрационные зависимости кажущихся мольных объемов иодида аммония в смешанном растворителе МП–вода представлены на рис. 1.
Рис. 1. Концентрационные зависимости кажущихся мольных объемов иодида аммония в смешанном растворителе МП–вода при 298.15 К и ХМП: 1 – 0.1, 2 – 0.33, 3 – 0.5, 4 – 0.75, 5 – 0.9, 6 – 1.0.
Для нахождения стандартных парциальных мольных объемов галогенидов аммония в смесях МП–вода, соответствующих состоянию бесконечно разбавленного раствора, зависимости ФV = f (m1/2) аппроксимированы уравнениями линейной регрессии с учетом статистического веса точек, зависящего от погрешности DFV. Значения галогенидов аммония в смесях МП–вода, а также в МП и Н2О приведены в табл. 2. Для NH4I и NH4Br, как и для исследованных ранее галогенидов щелочных металлов, зависимости от состава смешанного растворителя (рис. 2) проходят через максимум, однако, для галогенидов аммония его положение смещено в область меньшего содержания МП. Это свидетельствует о сложном характере межмолекулярных взаимодействий в исследуемых растворах, на который существенное влияние оказывают как параметры ионов, так и свойства бинарной системы МП–вода.
Таблица 2. Стандартные парциальные мольные объемы галогенидов аммония , ионов аммония, калия, рубидия в смешанном растворителе МП–вода, МП и воде при 298.15 К
, см3 ⋅ моль–1 | ХМП | ||||||
0.00 [11] | 0.10 | 0.33 | 0.50 | 0.75 | 0.90 | 1.00 | |
NН4I | 54.4 | 57.1 | 55.5 | 51.0 | 45.7 | 42.9 | 42.3 [5] |
NН4Br | 42.9 | 44.8 | 42.9 | 39.5 | 35.0 | 33.0 | 32.9 [5] |
NН4+ | 23.5 | 24.2 | 21.5 | 19.8 | 17.2 | 16.4 | 18.1 [5] |
K+ [2] | 14.3 | 15.2 | 15.7 | 14.5 | 13.2 | 12.2 | 11.2 |
Rb+ [2] | 19.4 | 20.7 | 21.3 | 19.6 | 17.9 | 16.6 | 15.2 |
Рис. 2. Зависимость стандартных парциальных мольных объемов галогенидов аммония и иодидов калия и рубидия в смесях МП–Н2О от мольной доли МП: 1 – NН4I, 2 – NН4Br, 3 – КI, 4 – Rb I.
Парциальный мольный объем электролита аддитивно складывается из ионных составляющих , каждая из которых является сложной функцией природы растворителя и собственных характеристик ионов, поэтому однозначная интерпретация величин затруднительна. Более ценную информацию о межчастичных взаимодействиях в растворе дают значения стандартных парциальных мольных объемов индивидуальных ионов .
Для разделения полученных величин на ионные составляющие использовали литературные данные о галогенид-ионов в МП и смесях МП–вода [2, 3] и условие аддитивности парциальных мольных величин. При делении бромида и иодида аммония получены согласующиеся в пределах погрешности расчета значения иона NH4+, что указывает на надежность данных и их вероятное соответствие истинной величине. Результаты расчета приведены в табл. 2. На зависимости от состава смешанного растворителя МП–вода (рис. 3) различия иона аммония и ионов щелочных металлов проявляются еще в большей степени: кроме максимума в области составов с высоким содержанием воды, для иона NH4+ наблюдается минимум при ХМП ∼ 0.9. Обсуждение полученных результатов требует рассмотрения отдельных составляющих стандартного парциального мольного объема иона. Величина может быть представлена как сумма нескольких вкладов [8–12]. Поскольку для иона аммония возможно специфическое взаимодействие, как с молекулами воды [13–18], так и с молекулами амидов [12, 13, 19–21] уравнение содержит четыре слагаемых:
, (2)
где – собственный объем иона, – изменение объема, обусловленное электрострикцией, – изменение объема, обусловленное специфическими взаимодействиями ион-растворитель, – структурный вклад, отражающий изменение объема в связи со структурными изменениями в растворе.
Рис. 3. Зависимости стандартных парциальных мольных объемов ионов аммония, калия и рубидия в смесях МП–Н2О от мольной доли МП: 1 – NН4+, 2 – Rb+, 3 – K+.
Так как ион имеет определенные размеры, он обладает некоторым внутренним (собственным) объемом (), значение которого рассчитывают как объем, занимаемый одним моль ионов в бесконечно разбавленном растворе, используя выражение:
, (3)
где NA – постоянная Авогадро, ri – кристаллографический радиус иона или радиус иона в растворе [22]. Для иона NH4+ = 8.2 см3 ∙ моль–1 [12].
Уменьшение объема растворителя в ближайшем окружении ионов по сравнению с остальным объемом, вследствие воздействия электростатического поля иона, носит название эффекта электрострикции. Значения отрицательны и зависят от сжимаемости и диэлектрической проницаемости растворителя [23, 24], а также от заряда и размера иона [10, 12, 13]. Существуют попытки теоретического расчета [12, 23, 24]. Несовершенство моделей, ограниченность или недостаточная точность исходных данных приводят к тому, что в ряде случаев полученные результаты носят лишь оценочный характер, однако и они позволяют провести сравнительный анализ влияния основных характеристик ионов и состава растворителя на величину . Для оценки электрострикционного вклада мы использовали метод, предложенный Маркусом [24], основанный на примитивной модели: заряженная твердая сфера в континууме, характеризуемом диэлектрической проницаемостью и сжимаемостью. Согласно [24] среднее уменьшение объема растворителя при электрострикции, независимо от природы иона, рассчитывается по формуле:
, (4)
где kT и V – изотермическая сжимаемость и молярный объем растворителя, SV и SK – теоретические предельные наклоны для кажущихся мольных объемов и сжимаемостей, рассчитываемые на основе теории Дебая–Хюккеля.
Для нахождения этих величин необходимы данные о диэлектрической проницаемости и сжимаемости растворителей и их зависимости от давления.
Теоретический расчет электрострикционного вклада для нескольких растворителей, проведенный в [24] показал, что для воды и МП составляют –2.91 и –21.40 см3 ∙ моль–1 соответственно. Используя предложенную модель и литературные данные о свойствах растворителей [25–28] мы рассчитали значения для смесей МП–вода и уточнили значение электрострикционного вклада для МП. Результаты расчета представлены в табл. 3.
Таблица 3. Объемные вклады (см3 ⋅ моль–1) в величину стандартного парциального мольного объема иона аммония в смешанном растворителе МП – вода, МП и воде при 298.15 К
ХМП | ||||
0 | 23.5 | –2.9 | 14.1 | 4.1 |
0.1 | 24.2 | (–1.0) | 18.5 | 3.5 |
0.2 | 23.4 | –5.7 | 19.1 | 1.8 |
0.33 | 21.5 | –8.1 | 21.3 | 0.2 |
0.5 | 19.8 | –11.6 | 23.0 | 0.2 |
0.75 | 17.2 | –15.2 | 24.9 | –0.7 |
0.9 | 16.4 | –15.4 | 23.8 | –0.2 |
1.0 | 18.1 | –14.1 | 21.1 | 2.9 |
Так как характеризует способность растворителя к сжатию в электростатическом поле иона, при изменении состава смешанного растворителя абсолютная величина должна увеличиваться, вследствие лучшей сжимаемости неводных растворителей [12, 13], что в целом и иллюстрируют данные рис. 4, лишь при высоких концентрациях МП темп изменения функции замедляется и при ХМП ∼ 0.9 на зависимости наблюдается слабо выраженный минимум. Однако, при малых концентрациях МП, где происходит существенное изменение структуры воды, обуславливающей ее уникальные свойства, слишком большой шаг измерения исходных для расчета данных по диэлектрической проницаемости и сжимаемости смесей МП–вода [25–28] не позволяет однозначно определить вид зависимости = f (ХМП). Маловероятно, что этой области составов увеличение содержания МП в смеси приводит к монотонному возрастанию абсолютных величин .
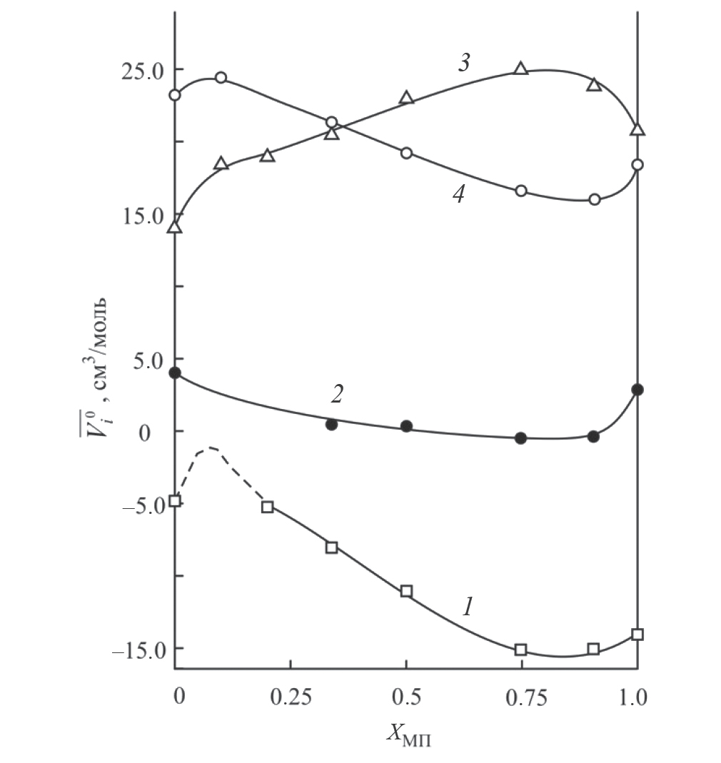
Рис. 4. Зависимости объемных вкладов в величину иона аммония в смешанном растворителе МП–вода от мольной доли МП: 1 – электрострикционный вклад , 2 – вклад обусловленный специфическими взаимодействиями , 3 – структурный вклад , 4 – NН4+.
Для оценки влияния состава смеси на сжимаемость растворов, а значит и на величину , по уравнению (5) были рассчитаны коэффициенты изотермической сжимаемости системы вода–МП:
, (5)
где u – скорость ультразвука, ρ – плотность, V – молярный объем, Т – температура, Cp – теплоемкость растворов, α – коэффициенты термического расширения растворов, вычисленные по уравнению:
. (6)
В расчетах использованы литературные данные: u [25], ρ и Cp [29].
Полученные результаты (рис. 5) подтверждают предположение о немонотонном характере зависимости сжимаемости растворов от концентрации, при ХМП ∼ 0.1 наблюдается минимум. Многочисленные исследования физико-химических свойств системы МП–вода [25, 28–32] и данные компьютерного моделирования [33] указывают на то, что в данном диапазоне концентраций влияние гидрофобной гидратации на исходную сетку водородных связей воды будет преобладающим и приводящим к упрочнению структуры воды [34]. Поэтому при 0 < ХМП < 0.15 растворы обладают наименьшей сжимаемостью и минимальной по модулю величиной электрострикционного вклада (пунктир на рис. 4). По нашим оценкам при ХМП = 0.1 величина ≈ –1 см3 ∙ моль–1. Такой характер изменения , на наш взгляд, является одной из причин появления экстремумов и на концентрационной зависимости иона аммония в области малых и больших концентраций МП.
Рис. 5. Зависимость коэффициентов изотермической сжимаемости системы МП–Н2О от мольной доли МП при 298.15 К.
Оценку вклада специфических взаимодействий иона аммония с молекулами растворителя мы провели путем сопоставления значений ионов NH4+ и Rb+. Учитывая одинаковый заряд и почти равные размеры этих ионов (по данным [12] для иона Rb+ = 8.3 см3 ∙ моль–1), а значит близкие значения первых трех вкладов уравнения (2), разность величин позволяет определить вклад иона аммония при всех составах смеси МП–вода (табл. 3). Как следует из данных рис. 4, специфические взаимодействия ион-растворитель проявляются только в двух диапазонах составов смеси и вклад имеет значение: при малом содержании МП (0 < ХМП < 0.3), где ион NH4+ преимущественно гидратирован и при большом (ХМП > 0,9), где сольватация иона NH4+ осуществляется молекулами МП. По-видимому, это является второй причиной появления экстремумов на зависимости = f (ХМП). В наиболее протяженной области составов 0.3 < ХМП < 0.9, где преобладает специфическое взаимодействие между компонентами растворителя [34], величиной вклада можно пренебречь.
Все объемные изменения не входящие в первые три слагаемые уравнения (2) объединяют в структурный вклад . Обычно разделяют на две составляющие: одна из которых отрицательная, обусловленная возможностью размещения иона в пустотах структуры растворителя (так называемый “фактор упаковки”), другая положительная, связанная с разрушением первичной структуры растворителя и ее локальной перестройкой вблизи иона. Значения были рассчитаны нами как разность и найденных объемных вкладов , , (табл. 3). Во всем интервале составов значения положительны и монотонно возрастают с увеличением содержания МП в смеси, достигая максимума при ХМП ∼0.8 (рис. 4).
Анализ полученных данных об основных составляющих величины стандартного парциального мольного объема иона аммония (табл. 3) позволяет сделать несколько выводов. С ростом концентрации МП в смеси изменение в основном определяется структурным и электрострикционным вкладами, причем экстремальная зависимость от состава смеси второго вклада, вероятно, определяет и экстремальную зависимость в целом. Ввиду резкого увеличения сжимаемости растворителя, влияние становится особенно заметным при ХМП > 0.2. Вклад специфических взаимодействий существенно меньше и имеет значение только в смесях с преобладающей структурой воды или МП.
Исследование выполнено при финансовой поддержке Министерства науки и высшего образования Российской Федерации в рамках научного проекта лаборатории “Лаборатория ионных материалов” (ЛИМ), проект № FSSM-2024-0006.
About the authors
А. Н. Новиков
Новомосковский институт Российского химико-технологического университета им. Д. И. Менделеева
Author for correspondence.
Email: anngiс@yandex.ru
Russian Federation, Новомосковск, 301665
Е. И. Костылева
Новомосковский институт Российского химико-технологического университета им. Д. И. Менделеева
Email: anngiс@yandex.ru
Russian Federation, Новомосковск, 301665
А. А. Сривастава
Новомосковский институт Российского химико-технологического университета им. Д. И. Менделеева
Email: anngiс@yandex.ru
Russian Federation, Новомосковск, 301665
В. А. Василёв
Российский химико-технологический университет им. Д. И. Менделеева
Email: anngiс@yandex.ru
Russian Federation, Москва, 125047
References
- Гайле А.А., Залищевский Г.Д. N-метилпирролидон. Получение, свойства и применение в качестве селективного растворителя. С-Пб.: Химиздат, 2005. 704 с.
- Новиков А.Н., Ленина О.Ф., Василёв В.А. // Журн. физ. химии. 2008. т. 82. № 7. С. 1270.
- Новиков А.Н., Ленина О.Ф., Василёв В.А. // Сб. научных трудов РХТУ “Физическая химия растворов и неорганических веществ”.2008. Вып. 182. С. 9.
- Новиков А.Н. // Журн. физ. химии.2009. Т. 83. № 3. C. 414.
- Новиков А.Н., Василёв В.А., Ленина О.Ф. // Там же. 2007. т. 80. № 11. С. 1947.
- Новиков А.Н., Ленина О.Ф., Василёв В.А. // Там же. 2009. Т. 83. № 3. C. 473.
- Masson D.O.// Philos. Mag. 1929.V.8. № 49. Р.218.
- Marcus Y. // J. Chem. Soc Faraday Trans. 1993. V.89. № 4. P. 713.
- Marcus Y., Hefter G.// J. Solut. Chem. 1999. V. 28. P. 575.
- Marcus Y., Hefter G. // Chem. Rev. 2004. V.104. № 7. P. 3405.
- Василёв В.А. // Журн. физ. химии. 1980. Т. 54, № 3. С. 796.
- Крестов Г.А., Новоселов Н.П., Перелыгин И.С. и др. Ионная сольватация. М.: Наука, 1987. 320 с.
- Marcus Y. Ion sоlvation. Chichester etc.: Wiley, 1985. 306 p.
- Brown R.J.C. // J. Molec. Struct. 1995. V.345. P. 77.
- Dang L.X. // Chem. Phys. Lett. 1993. V. 213. V. 5–6. P. 541.
- Contreras R., Klopman J. // Canad. Chem. J. 2011. V. 63. № 7. P. 1746.
- Jorgensen W.L., Gao J. // J. Phys. Chem. 1986. V. 90. № 7. P. 2174.
- Pattanayak S.K., Chowdhuri S.// J. Molec. Liquids. 2013. V. 186. P. 98.
- Izutsu K., Nakamura T., Murayama T., Fujinaga T. // Bull. Chem. Soc. Japan. 1978. V. 51. № 10. P. 2905.
- Кустов А.В., Смирнова Н.Л., Королев В.П. // Журн. структур. химии. 2005. Т. 46. № 5. С. 894.
- Лебедева Е.Ю. Термодинамика ионной сольватации в разбавленных и концентрированных растворах 1–1 электролитов в диметилформамиде: Автореф. дис. …канд. хим. наук. Иваново: Институт химии растворов РАН, 1998. 15 с.
- Marcus Y., Jenkins H.D.B., Glasser L. // J. Chem. Soc., Dalton Trans. 2002. P. 3795.
- Marcus Y. // J. Molecular Liquids. 2005. V.118. № 1. P. 3.
- Marcus Y. // J. Phys. Chem. B. 2005. V. 109. № 39. P. 18541.
- George J., Sastry N.V. // J. Chem. Eng. Data. 2004. V. 49. № 2. P. 235.
- Uosaki Y., Kawamura K., Moriyoshi T. // J. Chem. Eng. Data. 1996. V. 41. № 6. P. 1525.
- Uosaki Y., Kitaura S., Iwama F., Moriyoshi T. // J. Chem. Thermodyn. 1991. V. 23. № 12. P. 1125.
- Davila M.J., Trusler J.P. M. // J. Chem. Thermodyn. 2009. V. 41. № 1. P. 35.
- Василев В.А., Новиков А.Н. // Изв. вузов. Химия и хим. технология. 1989. Т. 32. № 12. С. 53.
- Garcia, B.; Alcalde, R.; Leal, J. M. // J. Phys. Chem. B. 1997. V. 101. P. 7991.
- Maloka I.E., Yassin I.S. // Petrol. Sci. and Technol. 2004. V. 22. № 11–12. P. 1571.
- Zaichikov A.M., Bushuev Y.G., Krestov G.A. // J. Thermal. Analysis. 1995. V. 45. № 4. P. 687.
- Carver T.J., Drew M.G.B., Rodger P.M. // Phys. Chem. Chem. Phys. 1999. V. 1. № 15. P. 1807.
- Зайчиков, А.М. // Журн. общ. химии. 2006. Т. 76. № 4. С. 660.
Supplementary files







