Optimisation of nickel ferrite production conditions for the preparation of magnetic composite photocatalysts
- Authors: Nemkova D.I.1, Saikova S.V.1,2, Krolikov A.E.1, Pikurova E.V.1,2, Samoilo A.S.1
-
Affiliations:
- Siberian Federal University
- Institute of Chemistry and Chemical Engineering, Krasnoyarsk Scientific Center (Federal Research Center), Siberian Branch, Russian Academy of Sciences
- Issue: Vol 69, No 2 (2024)
- Pages: 258-267
- Section: НЕОРГАНИЧЕСКИЕ МАТЕРИАЛЫ И НАНОМАТЕРИАЛЫ
- URL: https://medbiosci.ru/0044-457X/article/view/260715
- DOI: https://doi.org/10.31857/S0044457X24020135
- EDN: https://elibrary.ru/ZHBGME
- ID: 260715
Cite item
Full Text
Abstract
Ferrites of non-ferrous metals are promising magnetic catalysts that can be easily separated from the reaction mixture after use by applying a magnetic field. However, these materials have a fast electron-hole relaxation time, which reduces their activity in photoreactions. This problem is overcome by creating hybrid nanostructures based on ferrites, for example with zinc oxides. The catalytic activity of such structures depends highly on the method of their synthesis. In this work, the alkaline co-precipitation of Fe2+ and Ni2+ ions, which have similar values for hydroxides, was used to obtain stoichiometric and homogeneous nickel ferrite precursors. The influence of the reaction parameters on the purity of the nickel ferrite phase and the size of the particles was studied using the experimental design technique. Spherical nanoparticles 15.9 ± 1.1 nm in diameter were produced under the optimal conditions identified. Based on the obtained material, NiFe2O4/ZnO magnetic composites of different quantitative compositions were prepared. The photocatalytic activity of the hybrid structures was demonstrated by photodegradation of crystal violet dye.
Full Text
ВВЕДЕНИЕ
Ферриты представляют собой соединения оксида железа(III) с оксидами других металлов. Существуют различные типы структур ферритов, наиболее важными из которых являются феррошпинели, феррогранаты, гексаферриты и ортоферриты [1]. Состав феррошпинелей может быть выражен формулой MFe2O4, где M = Cu2+, Ni2+, Fe2+, Co2+, Mg2+, Mn2+ и др.
Феррошпинели имеют хорошие магнитные свойства, характеризуются значительной термической и химической стабильностью, а также высокой твердостью, что делает их отличными кандидатами для применения во многих областях науки и техники, таких как радиоэлектроника, медицина, электричество и катализ. Различают нормальные (прямые), обращенные (обратные), а также смешанные шпинели. В элементарной ячейке, которая содержит восемь формульных единиц MFe2O4, в случае нормальной шпинели двухзарядные катионы окружены четырьмя ионами кислорода в тетраэдрическом расположении, а трехзарядные катионы находятся в окружении шести ионов кислорода по вершинам октаэдра. В обращенной шпинели восемь тетраэдрических мест, напротив, заняты трехзарядными ионами, а 16 октаэдрических – статистически распределенными двух- и трехзарядными ионами. Феррит никеля NiFe2O4 представляет собой черные или коричневые кристаллы с кубической структурой обращенной шпинели [2, 3].
Фотокатализ является одним из важнейших направлений в практическом приложении современной науки. Фотокатализаторы служат альтернативой общепринятым подходам очистки сточных вод от органических загрязнителей и очень эффективны благодаря простоте аппаратного оформления и экономичности. При использовании реакции фотодеградации органические вещества разлагаются в мягких условиях с формированием безвредных продуктов (СО2 и Н2О). Кроме того, фотокатализаторы позволяют использовать один из самых доступных источников энергии – солнечный свет. В настоящее время безусловными лидерами в этой области являются фотокатализаторы на основе диоксида титана и оксида цинка из-за их химической стабильности, подходящей ширины запрещенной зоны и достаточного времени жизни электронно-дырочных пар. Однако существует проблема их отделения от обрабатываемой жидкости, особенно если они используются с целью увеличения площади поверхности реакции в наноразмерном или высокодисперсном состоянии. Таким образом, поиск недорогих и высокоэффективных фотокатализаторов, которые легко отделяются от реакционной смеси и пригодны для повторного использования, все еще остается важной проблемой.
В недавних исследованиях [4–7] показано, что ферриты цветных металлов, такие как CuFe2O4, ZnFe2O4, NiFe2O4, CоFe2O4 и др., являются многообещающими магнитными катализаторами, которые после использования легко отделить от очищенной воды с помощью магнитного поля. К сожалению, несмотря на подходящую для фотокаталитического применения ширину запрещенной зоны, ферритам свойственно быстрое время электронно-дырочной релаксации, что снижает их активность в фотореакциях [8]. Однако данная проблема решается получением гибридных наноструктур на основе ферритов, например композитов с оксидами титана или цинка.
На данный момент известно множество способов получения наночастиц феррита никеля, среди них выделяют: твердофазный [9, 10], золь-гель [11–15], левитационно-струйный [16, 17], ультразвуковой [18] методы, синтез в микроэмульсиях [19–21], метод самовоспламенения [22, 23], сольвотермальный метод [24–26], метод щелочного соосаждения [27–31], анионообменное осаждение [32].
Щелочное соосаждение является одним из наиболее простых и легко масштабируемых вариантов получения наночастиц феррита никеля, однако для образования монофазного продукта необходимо, чтобы осаждение обоих катионов (никеля и железа) происходило с сопоставимой скоростью и глубиной. Так можно предотвратить образование неоднородностей, появляющихся за счет быстрого и более полного осаждения одного компонента и более длительного и неполного осаждения другого. В случае часто применяемого совместного щелочного или аммиачного осаждения катионов железа(III) и никеля(II) возможно нарушение стехиометрии осадка вследствие существенно различающихся значений ПР их гидроксидов, что приводит к более полному и быстрому осаждению Fe3+ (ПР = = 6.3 × 10–38) по сравнению с Ni2+ (ПР = 2.0 × 10–15) [33], а также за счет склонности катионов Ni2+ к образованию устойчивых аммиачных комплексов [Ni(NH3)6]2+ (pК = 8.01).
В данной работе для решения этой проблемы использовали соль железа(II), гидроксид которого имеет более близкое к никелю значение произведения растворимости (ПР = 7.1 × 10–16). В дальнейшем образовавшийся гидроксид железа(II) окисляли до железа(III) с помощью кислорода воздуха или пероксида водорода.
Цель настоящей работы – оптимизация условий синтеза наночастиц феррита никеля путем щелочного соосаждения ионов Fe2+, Ni2+ и получение на их основе композитов NiFe2O4/ZnO для фотокаталитического разложения красителя кристаллического фиолетового.
ЭКСПЕРИМЕНТАЛЬНАЯ ЧАСТЬ
В работе использовали следующие реактивы: NaOH (ч. д. а., Химреактивснаб), 35% H2O2 (х. ч., ЛенРеактив), ZnO (х. ч., Химснаб-СПБ), краситель кристаллический фиолетовый C25N3H30Cl (ч. д. а., ЛенРеактив), NiSO4 ∙ 7H2O (х. ч., Химреактивснаб), FeSO4 ∙ 7H2O (х. ч., Химреактивснаб).
Для исследования фотокаталитической активности полученных в работе композитов нами был выбран краситель кристаллический фиолетовый (КФ) — основный трифенилметановый краситель с химической формулой C25H30N3Cl (рис. 1а). Кристаллический фиолетовый широко используется в бактериологии, аналитической химии, а также в производстве для окрашивания шерсти, шелка, хлопчатобумажных изделий, пшеничной соломы, бумаги, кожи, перьев, что может приводить к загрязнению используемым красителем сточных вод [34–36]. КФ имеет широкий максимум поглощения в интервале длин волн 470–640 нм (λmax = 590 нм), оптический спектр поглощения его водного раствора (С = 2.5 × 10–5 моль/л) приведен на рис. 1б.
Рис. 1. Структурная формула (а) и электронный спектр поглощения (б) кристаллического фиолетового.
Наночастицы феррита никеля получали методом щелочного соосаждения из солей железа(II) и никеля(II). К смеси растворов сульфата никеля (10 мл, C = 0.4–0.8 моль/л) и железа(II) (20 мл, C = 0.4–0.8 моль/л) по каплям в течение 5–20 мин добавляли раствор NaOH (C = 1–4 моль/л). Объем щелочи (л) рассчитывали по формуле:
где r — мольное отношение реагентов;
Синтез проводили на магнитной мешалке в течение 1 ч при температуре 25–80°C. В некоторых опытах для окисления железа(II) до железа(III) в смесь добавляли 35%-ный раствор перекиси водорода (0.4–0.8 мл), и/или осаждение проводили при пропускании кислорода воздуха (использовали микрокомпрессор АЭН-4, 50 л/ч). Образовавшийся осадок промывали водой до нейтрального значения рН и отрицательной качественной реакции на сульфат-ионы с хлоридом бария, высушивали в течение 2 ч при температуре 80°C и прокаливали в течение 3 ч при температуре 650°C [37].
Для получения композитов NiFe2O4/ZnO смешивали порошки NiFe2O4 и ZnO в соотношениях, указанных в табл. 1, и добавляли 20 мл дистиллированной воды. Полученную смесь обрабатывали ультразвуком в течение 30 мин, используя ультразвуковую ванну “Сапфир” (60 Вт, 35 кГц), переносили в тигель, высушивали при температуре 80°С и прокаливали в течение 3 ч при температуре 800°С.
Таблица 1. Условия получения композитов NiFe2O4/ZnO
Параметр | Образец | ||||
К1 | К2 | К3 | К4 | К5 | |
Мольная доля (χ) ZnO | 0.28 | 0.36 | 0.54 | 0.70 | 0.77 |
mZnO, г | 0.058 | 0.082 | 0.142 | 0.22 | 0.271 |
mNiFe2O4, г | 0.442 | 0.418 | 0.358 | 0.28 | 0.229 |
Для проведения фотокаталитического разложения к 20 мл водного раствора красителя (1.0 × 10–5–2.5 × 10–5 М) добавляли навеску NiFe2O4 /ZnO массой 50 мг, смесь выдерживали в темноте в течение 30 мин для установления равновесия абсорбции/десорбции красителя на поверхности катализатора. Фотокаталитическую реакцию проводили в реакторе (рис. 2), снабженном люминесцентной ультрафиолетовой лампой (ультрафиолет типа UV-C, длина волны 253.7 нм, мощность УФ-излучения 5 Вт). Степень деструкции (z) красителя определяли по формуле:
где Ai — оптическая плотность красителя за время i, A0 — начальная оптическая плотность красителя.
Рис. 2. Схема установки для проведения фотокаталитической реакции.
Для получения электронных спектров поглощения в диапазоне длин волн 200–800 нм использовали спектрофотометр Specol 1300, измерения проводили в кварцевой кювете с длиной оптического слоя 1 см.
Фазовый состав образцов определяли методом рентгенофазового анализа (РФА) на дифрактометре Shimadzu XDR-600 в СuKá-излучении, идентификацию фаз осуществляли с помощью картотеки базы данных Объединенного комитета по стандартам в порошковой дифракции Joint Committee on Powder Diffraction Standards (JCPDS). Размер области когерентного рассеяния полученных частиц рассчитывали по формуле Дебая–Шеррера.
Микрофотографии и картины микродифракции электронов получали на электронном микроскопе Hitachi 7700М при ускоряющем напряжении 100–110 кВ. Обработку микрофотографий и построение диаграмм распределения проводили с помощью программы ImageJ и пакета Microsoft Excel. Статистическому анализу было подвергнуто 467 частиц.
РЕЗУЛЬТАТЫ И ОБСУЖДЕНИЕ
Оптимизация условий получения наночастиц феррита никеля
Изучение влияния реакционных параметров щелочного соосаждения никеля и железа на фазовый состав конечного продукта и размер его наночастиц проводили с использованием метода планирования и обработки результатов эксперимента (дробный факторный эксперимент ДФЭ 27–4) [38, 39]. На основании анализа литературных данных и предварительных опытов были выбраны следующие факторы (уровни варьирования приведены в табл. 2): время осаждения (τ); пропускание воздуха (воздух); мольное отношение реагентов (r); температура синтеза (Т); концентрация NaOH (СNaOH); объем H2O2 (VH2O2); начальные концентрации солей (CМ).
Таблица 2. Значения независимых переменных
Параметр | X1 τ, мин | X2 воздух | X3 r | X4 Т, °С | X5 СNaOH, моль/л | X6 VH2O2, мл | X 7 CМ, моль/л |
Верхний уровень варьирования | 20 | Есть | 4.0 | 80 | 4 | 0 | 0.8 |
Нижний уровень варьирования | 5 | Нет | 2.4 | 25 | 1 | 0.4–0.8* | 0.4 |
* Количество добавленного пероксида водорода эквимолярно количеству Fe2+.
В рамках исследования построены две математические модели. В качестве целевой функции модели 1 выбран выход фазы образца феррита никеля ( p, %), определенный методом рентгенофазового анализа, в качестве целевой функции модели 2 – размер частиц феррита никеля (D, нм) по данным РФА.
В работе использовали стандартную матрицу планирования ДФЭ 27–4 [38, 39]. При реализации дробно-факторного эксперимента проводили три серии из восьми опытов. Статистический анализ результатов эксперимента осуществляли в программе Statistica Doe. Среднюю квадратичную ошибку и доверительный интервал (Ä, приведен в табл. 3) определяли при вероятности 0.95.
Таблица 3. Значения частных откликов целевых функций
Параметр | № опыта | ||||||||
1 | 2 | 3 | 4 | 5 | 6 | 7 | 8 | Ä | |
p, % | 100.0 | 100.0 | 100.0 | 85.9 | 100.0 | 99.0 | 96.9 | 87.8 | ±0.9 |
d, нм | 19.7 | 14.3 | 20.0 | 22.9 | 31.6 | 20.7 | 12.3 | 18.8 | ±0.4 |
Процесс осаждения вели по методике, приведенной выше. С целью контроля полноты осаждения гидроксидов контактные растворы после синтеза прекурсоров отделяли центрифугированием и исследовали методом атомно-абсорбционной спектроскопии. По результатам анализа, степень осаждения всех образцов близка к 100%.
Образцы после прокаливания исследовали методом РФА, на основании полученных данных для каждого опыта определяли долю фазы NiFe2O4, а также рассчитывали размер области когерентного рассеяния. Все полученные результаты представлены в табл. 3.
В ходе статистического анализа подтверждена однородность выборочных дисперсий, определены коэффициенты регрессии и порог их значимости (табл. 4, значимые коэффициенты подчеркнуты).
Таблица 4. Значения коэффициентов уравнений регрессии
Функция отклика | ∆b | b0 | b1 | b2 | b3 | b4 | b5 | b6 | b7 |
p, % | 1.4 | 92.3 | –3.6 | –4.1 | –0.6 | –3.5 | –1.2 | –1.7 | 1.2 |
d, нм | 1.0 | 20.0 | –0.9 | –1.5 | 0.8 | 3.2 | –0.2 | –3.8 | 1.1 |
Примечание. Подчеркнуты значимые коэффициенты.
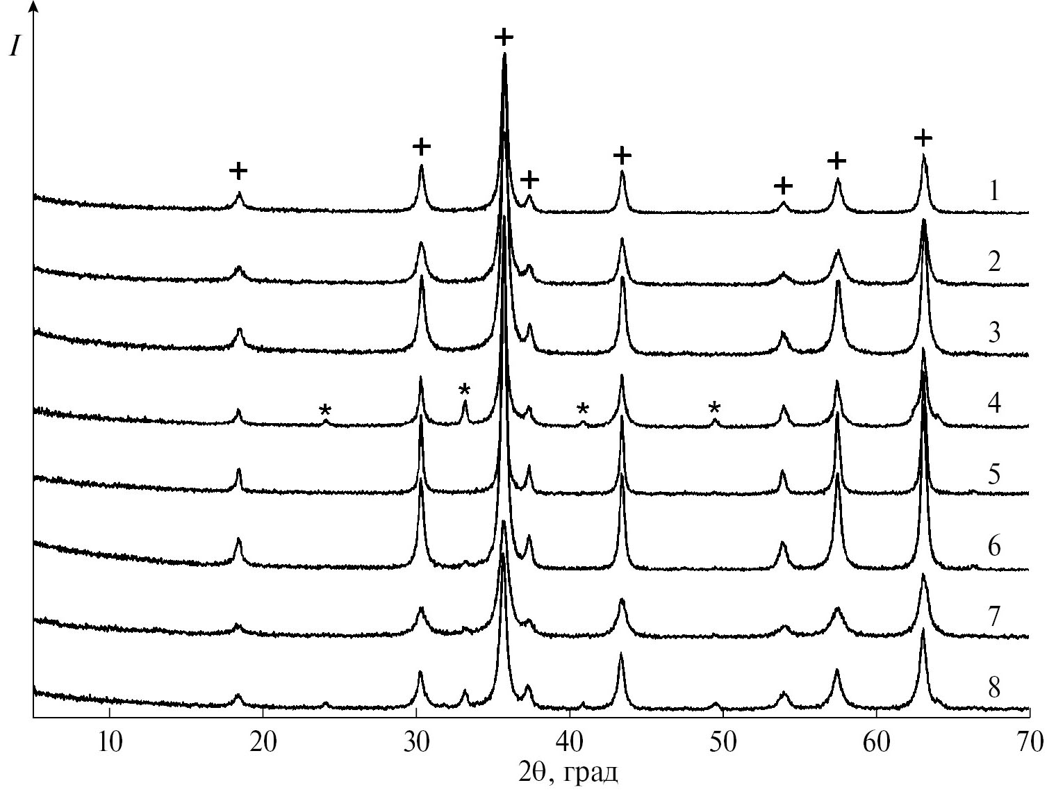
На рис. 3 приведены дифрактограммы образцов, полученных в опытах 1–8, из которых видно, что чистая фаза феррита никеля формируется в опытах 1–3 и 5, в остальных случаях помимо целевого продукта образуется примесь гематита.
Рис. 3. Дифрактограммы образцов, полученных в опытах 1–8: + — NiFe2O4, * — Fe2O3.
В результате эксперимента получены две математические модели, описывающие влияние условий на содержание фазы феррита никеля и размер полученных частиц:
p = 92.3 – 3.6 × 1 – 4.1 × 2 – 3.5 × 4 – 1.7 × 6, (1)
d = 20.0 – 1.5 × 2 + 3.2 × 4 – 3.8 × 6 + 1.1 × 7. (2)
В наибольшей степени на процесс осаждения влияют введение в систему пероксида водорода, пропускание воздуха и температура синтеза. Добавление H2O2 способствует образованию чистой фазы феррита никеля вследствие более полного окисления железа(II). Однако пропускание воздуха и повышенная температура (80°C) увеличивают содержание Fe2O3 (рис. 4). Увеличение длительности добавления щелочи в реакционную среду от 5 до 20 мин также способствует образованию гематита.
Рис. 4. Дифрактограмма образца 9, полученного в оптимальных условиях и прокаленного при 650°С.
На размер частиц наибольшее влияние оказывают пропускание воздуха, добавление пероксида водорода, а также температура синтеза. Добавление H2O2 приводит к небольшому увеличению частиц, тогда как пропускание воздуха и понижение температуры, наоборот, снижают размер частиц.
Направленность и степень влияния некоторых факторов (добавление H2O2 и пропускание воздуха) для разных моделей различны, поэтому анализ полученных данных проводили таким образом, чтобы выявить факторы, способствующие получению частиц чистофазного феррита с наименьшим размером. Оптимальными реакционными параметрами являются следующие: длительность добавления щелочи — 5 мин; r — 2.4; температура синтеза — 25°C; C(NaOH) – 1 моль/л; добавление H2O2, C(NiSO4, FeSO4) = 0.4 моль/л.
По данным рентгенофазового анализа, образец 9, полученный в оптимальных условиях, представляет собой чистую фазу феррита никеля (рис. 4, все рентгеновские рефлексы характерны для NiFe2O4), размер кристаллита, рассчитанный по формуле Дебая–Шеррера, составляет 13.6 ± 0.4 нм. Следует отметить, что каждая частица феррита никеля состоит из одного кристаллита.
Необходимо учитывать, что при определении размера частиц по рентгенографическим данным возможны погрешности, связанные как с используемым оборудованием (инструментальное уширение пиков, точность юстировки), так и со свойствами самого материала, например, дефекты кристаллической решетки тоже приводят к уширению рентгеновских пиков. Поэтому образцы были исследованы методом просвечивающей электронной микроскопии (рис. 5а). Полученные данные хорошо согласуются с результатами РФА, средний размер частиц составил 15.9 ± 1.1 нм. Распределение частиц по размерам, рассчитанное по 467 частицам, представлено на рис. 5б.
Рис. 5. Микрофотография ПЭМ (а) и распределение по размерам (б) частиц образца 9, полученного в оптимальных условиях и прокаленного при 650°С.
Получение композита NiFe2O4 /ZnO и изучение его фотокаталитической активности
Полученные в оптимальных условиях частицы были использованы для синтеза магнитных композитов NiFe2O4/ZnO. Смесь порошков феррита никеля (d = 16 нм) и оксида цинка (d = 60–80 нм) отжигали при 800°C. Дифрактограммы полученных образцов приведены на рис. 6. На дифрактограмме присутствуют рентгеновские рефлексы, соответствующие фазам замещенного феррита ZnxNi1–xFe2O4 (JCPDS 77-9650) и оксида цинка, кроме того, видна небольшая примесь гематита.
Рис. 6. Дифрактограммы композитов, полученных на основе NiFe2O4 и ZnO после обжига при 800°С: + – ZnxNi1–xFe2O4, * – ZnO, o – Fe2O3, ~ – неидентифицируемые рентгеновские рефлексы.
Уточнение состава и параметров ячеек полученных материалов (программа Topas 3) показало, что в процессе высокотемпературной обработки часть цинка из оксида диффундирует в решетку феррита никеля, замещая никель в октаэдрах MO6 с образованием замещенного феррита ZnxNi1–хFe2O4. Поскольку радиус цинка в октаэдрическом окружении (0.74 нм) несколько больше радиуса никеля (0.69 нм) [40], внедрение цинка в решетку феррита никеля приводит к увеличению размеров его ячейки (табл. 5). На рис. 7 показано изменение параметра ячейки (a) феррита в зависимости от доли оксида цинка в составе композита. Видно, что увеличение молярной доли ZnO в составе композита более 0.36 не влияет на размер ячейки вследствие ограниченного замещения. Несмотря на большое содержание оксида цинка в образцах К4 и К5, они, как и все остальные композиты, проявляют значительные магнитные свойства и поэтому могут быть отделены от фотокаталитической системы путем магнитной сепарации (в поле постоянного магнита).
Рис. 7. Зависимость параметра решетки фазы со структурой шпинели от мольной доли ZnО в композитах на основе NiFe2O4 и ZnO.
Таблица 5. Состав и параметры ячейки композита
Параметр | NiFe2O4 | К1 | К2 | К3 | К4 | К5 |
a(NiFe2O4), Å | 8.3570 | 8.3773 | 8.3916 | 8.3925 | 8.3917 | 8.3883 |
3σ | 0.0010 | 0.0019 | 0.0011 | 0.0012 | 0.0014 | 0.0018 |
ω(ZnxNi1–xFe2O4) | – | 91.4 | 93.1 | 72.5 | 50.4 | 37.7 |
ω(ZnO) | – | 5.3 | 1.8 | 23.6 | 46.8 | 61.1 |
ω(Fe2O3) | – | 3.3 | 5.1 | 3.9 | 2.7 | 1.2 |
Фотокаталитическую активность феррита никеля, цинка и композитов NiFe2O4/ZnO исследовали на примере фотодеградации органического красителя кристаллического фиолетового. Изменение оптической плотности КФ в максимуме поглощения (при длине волны 590 нм) в зависимости от длительности процесса фотокаталитического разложения для всех полученных образцов, а также чистофазных ферритов никеля и цинка приведено на рис. 8.
Рис. 8. Изменение оптической плотности раствора кристаллического фиолетового (λmax = 590 нм) в зависимости от длительности процесса фотокаталитического разложения: 1 – NiFe2O4, 2 – ZnFe2O4, 3 – образец К4, 4 – образец К3, 5 – образец К2, 6 – образец К5, 7 – образец К1.
Ферриты никеля и цинка не показывают фотокаталитической активности в условиях эксперимента, это может быть связано с характерной для них быстрой электронно-дырочной рекомбинацией [41]. В случае композита вследствие электрохимического взаимодействия ZnO и NiFe2O4 и различия в энергиях связей Zn2+–O2- и Ni2+–O2- время жизни и перенос фотогенерированных носителей заряда заметно возрастают, что приводит к снижению количества рекомбинаций и увеличению ширины запрещенной зоны. Поглощение в более широкой области спектра способствует процессу разложения органических красителей [42].
Зависимость фотокаталитической активности (τ = 1 ч) композита NiFe2O4/ZnO от его состава представлена на рис. 9. Незначительное снижение степени деструкции при переходе от образца К1 к К2 можно объяснить уменьшением количества фазы оксида цинка в композите (от 5.3 до 1.8 мол. %) вследствие внедрения ионов цинка в структуру феррита (табл. 5). Дальнейший рост содержания оксида цинка до 61.1 мол. % в пределах ошибки не сказывается на степени деструкции кристаллического фиолетового. При этом при использовании чистофазного оксида цинка за 1 ч в условиях эксперимента краситель разлагается на 80%. Мы предполагаем, что отсутствие зависимости каталитической активности композитов NiFe2O4/ZnO от содержания в них ZnO (1.8–61.1 мол. %) может быть связано с изменением поверхностных свойств гибридного материала в ходе его прокаливания и требует дополнительного изучения.
Рис. 9. Влияние состава фотокатализатора на степень деструкции кристаллического фиолетового (1 ч).
ЗАКЛЮЧЕНИЕ
Для получения наночастиц феррита никеля применен метод щелочного соосаждения ионов Fe2+ и Ni2+, предотвращающий нарушение стехиометрии прекурсора вследствие осаждения катионов с сопоставимой скоростью и глубиной за счет близких значений ПР гидроксидов железа(II) и никеля(II). Методом математического планирования и обработки результатов эксперимента (ДФЭ 27–4) изучено влияние реакционных параметров и подобраны оптимальные условия, в которых получены сферические частицы феррита никеля размером 15.9 ± 1.1 нм.
На основе синтезированных наночастиц NiFe2O4 и ZnO получены магнитные композитные материалы различного состава. Показано, что они могут быть применены в качестве легко отделяемого магнитного фотокатализатора для разложения широко используемого синтетического красителя кристаллического фиолетового.
ФИНАНСИРОВАНИЕ РАБОТЫ
Работа выполнена в рамках государственного задания Института химии и химической технологии СО РАН (проект FWES-2021-0014) с использованием оборудования Красноярского регионального центра коллективного пользования ФИЦ КНЦ СО РАН.
КОНФЛИКТ ИНТЕРЕСОВ
Авторы заявляют, что у них нет конфликта интересов.
About the authors
D. I. Nemkova
Siberian Federal University
Author for correspondence.
Email: diana.saykova@mail.ru
Russian Federation, Krasnoyarsk, 660041
S. V. Saikova
Siberian Federal University; Institute of Chemistry and Chemical Engineering, Krasnoyarsk Scientific Center (Federal Research Center), Siberian Branch, Russian Academy of Sciences
Email: diana.saykova@mail.ru
Russian Federation, Krasnoyarsk, 660041; Akademgorodok, Krasnoyarsk, 660036
A. E. Krolikov
Siberian Federal University
Email: diana.saykova@mail.ru
Russian Federation, Krasnoyarsk, 660041
E. V. Pikurova
Siberian Federal University; Institute of Chemistry and Chemical Engineering, Krasnoyarsk Scientific Center (Federal Research Center), Siberian Branch, Russian Academy of Sciences
Email: diana.saykova@mail.ru
Russian Federation, Krasnoyarsk, 660041; Akademgorodok, Krasnoyarsk, 660036
A. S. Samoilo
Siberian Federal University
Email: diana.saykova@mail.ru
Russian Federation, Krasnoyarsk, 660041
References
- Литюк Л.М., Журавлев Г.И. Химия и технология ферритов: Учебное пособие для вузов. Л.: Химия, 1983. 256 с.
- Вест А. Химия твердого тела. Теория и приложения. М.: Мир, 1988. Ч. 1. 558 с.
- Преображенский А.А., Бишард Е.Г. Магнитные материалы и элементы. М.: Высш. шк., 1986. 256 с.
- Zangeneh H., Zinatizadeh A.A., Zinadini S. еt al. // Composites Part B. 2019. V. 176. P. 107158. https://doi.org/10.1016/j.compositesb.2019.107158
- An P., Zuo F., Li X. et al. // Nano. 2013. V. 8. № 6. P.1350061-1. https://doi.org/10.1142/S1793292013500616
- Iqbal A., Haq A. ul, Cerron-Calle G.A. et al. // Catalysts. 2021. V. 11. P. 806. https://doi.org/10.3390/catal11070806
- Shokri A. // Environ. Chall. 2021. V. 5. P. 100332. https://doi.org/10.1016/j.envc.2021.100332
- Arumugham N., Mariappan A., Eswaran J. et al. // J. Hazard. Mater. 2022. V. 8. P. 100156. https://doi.org/10.1016/j.hazadv.2022.100156
- Peymanfar R., Ramezanalizadeh H. // Optik. 2018. V. 169. P. 424. https://doi.org/10.1016/j.ijleo.2018.05.072
- Yang H., Zhang X., Weiqin A., Guangzhou Q. // Mater. Res. Bull. 2004. V. 39. № 6. P. 833.
- Azizi A., Sadrnezhaad S.K. // Ceram. Int. 2010. V. 36. № 7. P. 2241. https://doi.org/10.1016/j.ceramint.2010.06.004.
- Lisnevskaya I.V., Bobrova I.A., Lupeiko T.G. // J. Magn. Magn. Mater. 2016. V. 37. P. 86. https://doi.org/10.1016/j.jmmm.2015.08.084
- Лисневская И.В., Боброва И.А., Петрова А.В., Лупейко Т.Г. // Журн. неорган. химии. 2012. Т. 57. С. 474.
- Sivakumar P., Ramesh R., Ramanand A. et al. // Mater. Res. Bull. 2011. № 46. P. 2208. https://doi.org/10.1016/j.materresbull.2011.09.010
- Mana R., Raguram T., Rajni K.S. // Mater. Today: Proc. 2019. № 18. P. 1753.
- Кузнецов М.В., Морозов Ю.Г., Белоусова О.В. // Неорган. материалы. 2012. Т. 48. № 10. С. 1172.
- Hernandeza P.T., Kuznetsov M.V., Morozov I.G., Parkind I.P. // Mater. Sci. Eng., B. 2019. № 244. P. 81. https://doi.org/10.1016/j.mseb.2019.05.003
- Shafi K., Koltypin Y., Gedanken A. // J. Phys. Chem. B. 1997. V. 101. № 33. P. 6409.
- Fang J., Shama N., Tung L.D. // J. Appl. Phys. 2003. V. 93. № 10. P. 7483.
- Rodriguez-Rodriguez A.A., Moreno-Trejo M.B., Melendez-Zaragoza M.J. et al. // Int. J. Hydrogen Energy. 2018. V. 30. P. 12421. https://doi.org/10.1016/j.ijhydene.2018.09.183
- Елисеев А.А., Лукашин А.В. Функциональные наноматериалы. М.: Физматлит, 2010. 456 c.
- Udhayaa P.A., Bessy T.C., Meena M. // Mater. Today: Proceedings. 2019. V. 8. P. 169. https://doi.org/10.1016/j.matpr.2019.02.096
- Mapossa A.B., Dantas J., Silva M.R. // Arabian J. Chem. 2019. V. 30. P. 1. https://doi.org/10.1016/j.arabjc.2019.09.003
- Jifeng Q., Tinghua Ch., Shi L. et al. // Chin. Chem. Lett. 2019. V. 30. P. 1198. https://doi.org/10.1016/j.cclet.2019.01.021
- Morelos-Santos O., Reyes de la Torre A.I., Schacht-Hernandez P. et al. // Catal. Today. 2019. V. 329. P. 1. https://doi.org/10.1016/j.cattod.2019.10.012
- Zhang S., Jiang W., Li Y. et al. // Sens. Actuators, B. 2019. V. 291. P. 266. https://doi.org/10.1016/j.snb.2019.04.090
- Chen D.H., He X.R. // Mater. Res. Bull. 2001. № 36. P. 1369. https://doi.org/10.1016/S0025-5408(01)00620-1
- Hassan A., Khan M.A., Shahid M. et al. // J. Magn. Magn. Mater. 2015. V. 393. P. 56. https://doi.org/10.1016/j.jmmm.2015.05.033
- Velmurugan K., Venkatachalapathy V.S.K., Sendhilnathan S. // Mater. Res. 2010. V. 13. P. 299. https://doi.org/10.1590/S1516-14392010000300005
- Gadkari А.В., Shinde T.J., Vasambekar P.N. // J. Mater. Sci. – Mater. Electron. 2010. V. 21. P. 96. https://doi.org/10.1007/s10854-009-9875-6
- Maaz K., Karim S., Mumtaz A. et al. // J. Magn. Magn. Mater. 2009. № 321. P. 1838. https://doi.org/10.1016/j.jmmm.2008.11.098
- Трофимова Т.В., Сайкова С.В., Пантелеева М.В. и др. // Стекло и керамика. 2018. № 2. С. 38.
- Сайкова С.В., Трофимова Т.В., Павликов А.Ю., Самойло А.С. // Журн. неорган. химии. 2020. Т. 65. № 3. С. 287.
- Chen C.C., Liao H.J., Cheng C.Y. et al. // Biotechnol. Lett. 2007. V. 29. P. 391. https://doi.org/10.1007/s10529-006-9265-6
- Chen K.C., Wu J-Y., Huang C-C. et al. // J. Biotechnol. 2003. V. 101. P. 241. https://doi.org/10.1016/S0168-1656(02)00362-0
- Cho B.P., Yang T., Blankenship L.R. et al. // Chem. Res. Toxicol. 2003. V. 16. P. 285. https://doi.org/10.1021/tx0256679
- Saykova D., Saikova S., Mikhlin Yu. et al. // Metals. 2020. V. 10. № 1. P. 1075. https://doi.org/10.3390/met10081075
- Адлер Ю.П., Маркова Е.В., Грановский Ю.В. Планирование эксперимента при поиске оптимальных условий. М.: Наука, 1976. 280 с.
- Сайкова С.В., Немкова Д.И., Пикурова Е.В., Самойло А.С. // Журн. неорган. химии. 2023. Т. 68. № 8. С. 1011.
- CRC Handbook of Chemistry and Physics / Ed. Lide D.R. CRC Press, 2017. 2560 p.
- Yusmar A., Armitasari L., Suharyadi E. // Mater. Today: proceedings. 2018. V. 5. P. 14955. https://doi.org/10.1016/j.matpr.2018.04.037
- Sharifi I. // J. Magn. Magn. Mater. 2012. V. 324. № 15. P. 2397. https://doi.org/10.1016/j.jmmm.2012.03.008
Supplementary files











