Localization of Correlated and Uncorrelated Audio Signals in the Horizontal Plane under Masking Conditions
- Authors: Agaeva M.Y.1, Petropavlovskaia E.A.1
-
Affiliations:
- Pavlov Institute of Physiology RAS
- Issue: Vol 49, No 1 (2023)
- Pages: 52-63
- Section: Articles
- URL: https://medbiosci.ru/0131-1646/article/view/139802
- DOI: https://doi.org/10.31857/S0131164622700138
- EDN: https://elibrary.ru/APOWQI
- ID: 139802
Cite item
Full Text
Abstract
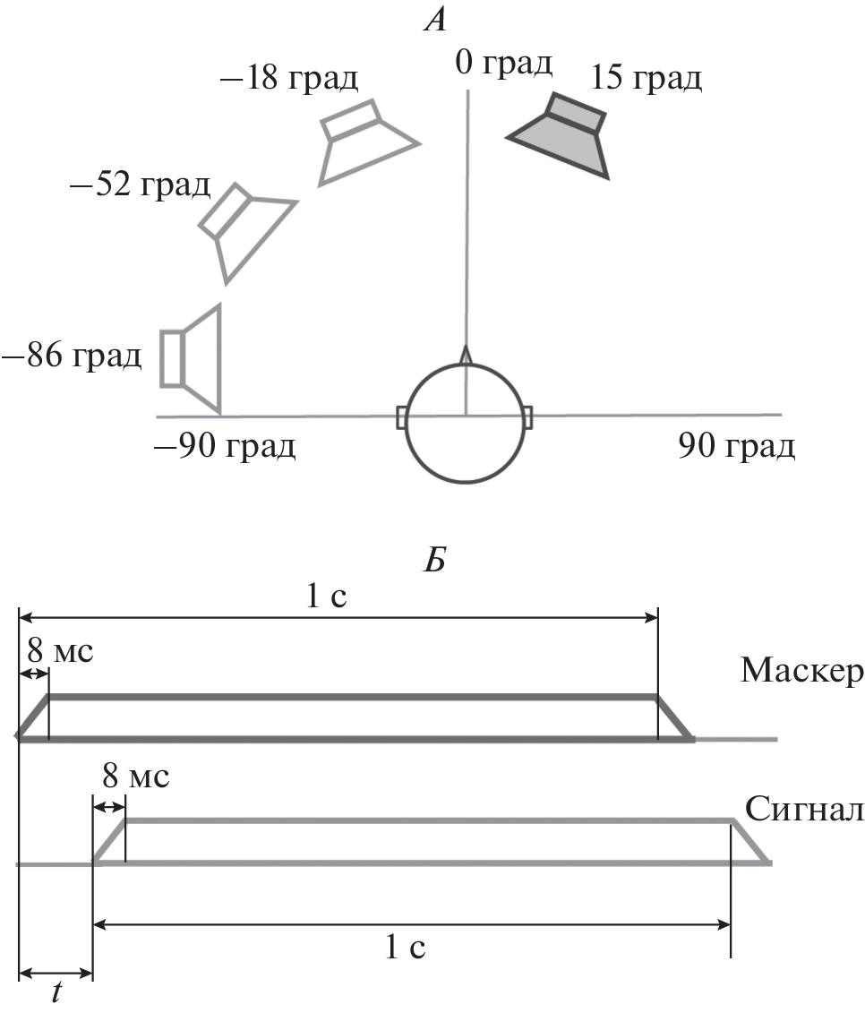
The effect of the masker on the localization of the signal was investigated in the free field conditions. Bandpass noise bursts (5–18 kHz) were used to create a signal and a masker. In the case of correlated stimuli, the same noise burst served both as a masker and a signal. In the case of uncorrelated stimuli, the signal and the masker were created from two different noise bursts. The masker was always on the right at an angle of 15 degrees. The signal was presented in one of three positions on the left: –18, –52, –86 degrees. The signal and the masker of 1 s duration each were presented either simultaneously or with a shift of the signal onset relative to the masker onset. The delay varied from 1 to 1200 ms. Perceived position of signals under masking conditions were compared with a single presentation of the signal. It is shown that under the masking conditions the perceived position of the signal shifted towards the masker, and the perceived position of the masker shifted towards the signal. The shift value decreased with increasing delay between the signal and the masker and with increasing angular distance between them. The mutual influence of the signal and the masker was more pronounced for correlated stimuli than for uncorrelated ones.
About the authors
M. Yu. Agaeva
Pavlov Institute of Physiology RAS
Author for correspondence.
Email: agamu_1@mail.ru
Russia, St. Petersburg
E. A. Petropavlovskaia
Pavlov Institute of Physiology RAS
Email: agamu_1@mail.ru
Russia, St. Petersburg
References
- Блауэрт И. Пространственный слух. М.: Энергия, 1979. С. 150.
- Middlebrooks J.C., Green D.M. Sound localization by human listeners // Annu. Rev. Psychol. 1991. V. 42. P. 135.
- Risoud M., Hanson J.N., Gauvrit F. et al. Sound source localization // Eur. Ann. Otorhinolaryngol. Head Neck Dis. 2018. V. 135. № 4. P. 259.
- Yost W.A., Pastore M.T., Dorman M.F. Sound source localization is a multisystem process // Acoust. Sci. Technol. 2020. V. 41. № 1. P. 113.
- Perrott D.R. Concurent minimum audible angle: A re-examination of the concept of auditory spatial acuity // J. Accoust. Soc. Am. 1984. V. 75. P. 1201.
- Abel S.M., Hay V.H. Sound localization. The integration of aging hearing loss and hearing protection // Scand. Audiol. 1996. V. 25. № 3. P. 3.
- Good M., Gilkey R.H. Sound localization in naise: The effect of signal-to-noiseratio // J. Accoust. Soc. Am. 1996. V. 99. P. 1108.
- Good M., Gilkey R.H., Ball J.M. The relation between detection in noise and localization in noise in free field, in Binaural and Spatial Hearing in Real and Virtual Environments / Eds. Gilkey R.H., Anderson T.R. Erlbaum, Hillasdale, NJ, 1997. P. 349.
- Gay Y., Ruhland J.L., Yin T.C.T. Effects of forward masking on sound localization in cats: basic findings with broadband maskers // J. Neurophysiol. 2013. V. 110. № 7. P. 1600.
- Lorenzi C., Gatehouse S., Lever C. Sound localization in noise in normal-hearing listeners // J. Acoust. Soc. Am. 1999. V. 105. № 3. P. 1810.
- Brown A.D., Stecker G.C., Tollin D.J. The precedence effect in sound localization // J. Assoc. Res. Otolaryngol. 2015. V. 16. № 1. P. 1.
- Brown A.D., Jones H.G., Thakkar T. et al. Evidence for a neural source of the precedence effect in sound localization // J. Neurophysiol. 2015. V. 114. № 5. P. 2991.
- Ege R., van Opstal A.J., Bremen P., van Wanrooij M.M. Testing the Precedence Effect in the Median Plane Reveals Backward Spatial Masking of Sound // Sci. Rep. 2018. V. 8. № 1. P. 8670.
- Stecker G.C., Moore T.M. Reverberation enhances onset dominance in sound localization // J. Acoust. Soc. Am. 2018. V. 143. № 2. P. 786.
- Baltzell L.S., Cho A.Y., Swaminathan J., Best V. Spectro-temporal weighting of interaural time differences in speech // J. Acoust. Soc. Am. 2020. V. 147. № 6. P. 3883.
- Litovsky R.Y., Colburn H.S., Yost W.A., Guzman S.J. The Precedence effect // J. Acoust. Soc. Am. 1999. V. 106 (4 Pt. 1). P. 1633.
- Ebata M., Sone T., Nimura T. Improvement of hearing ability by directional information // J. Acoust. Soc. Am. 1968. V. 43. № 2. P. 289.
- Carlile S., Leung J. The perception of Auditory Motion // Trends Hear. 2016. V. 20. P. 2331216516644254.
- Freyman R.L., Balakrishnan U., Zurek P.M. Lateralization of noise-burst trains based on onset and ongoing interaural delays // J. Acoust. Soc. Am. 2010. V. 128. № 1. P. 320.
- Ziegelwanger H., Majdak P., Kreuzer W. Numerical calculation of listener-specific head-related transfer functions and sound localization: Microphone model and mesh discretization // J. Acoust. Soc. Am. 2015. V. 138. № 1. P. 208.
Supplementary files






