Environmentally friendly organomineral bioactivated fertilizers
- Authors: Fufaeva V.M.1, Taran Y.A.1, Strelnikova V.O.1, Kalgashkin N.I.1, Vyazmin A.V.1, Karganyan A.K.2, Panasyuk O.T.3
-
Affiliations:
- MIREA – Russian Technological University
- Biona LLC
- Agricultural enterprise “Niva”
- Issue: Vol 30, No 3 (2024)
- Pages: 462-470
- Section: Chemical Engineering and Related Industries. Chemistr
- URL: https://medbiosci.ru/0136-5835/article/view/278620
- DOI: https://doi.org/10.17277/vestnik.2024.03.pp.462-470
- ID: 278620
Cite item
Full Text
Abstract
The article considers a method for obtaining a granular organomineral fertilizer with a prolonged effect. The structure of the fertilizer is a multilayer granule, the first layer of which, applied directly to the core of the prilled NPK fertilizer, leads to a delayed release of nutrients and a negative taxis of microorganisms. The second layer contains an organic component and microorganisms that increase soil fertility and improve the bioavailability of fertilizers. The third layer is a hydrophobic protective coating that creates positive taxis of microorganisms and prevents their premature activation and depressurization of the inner layers of the pellet.
Full Text
Введение
В настоящее время наблюдается стремительный рост населения планеты, поэтому современные способы ведения сельского хозяйства направлены на повышение урожайности культур, что достигается увеличением количества вносимых в почву минеральных удобрений. Однако чрезмерное их использование приводит к возникновению следующих серьезных экологических проблем: деградации и эрозии почвы, истощению органического вещества в ней, засолению и др. Для их решения требуются новые методы ведения сельского хозяйства, которые основаны на эффективности, экологичности и безопасности применения современных видов удобрений. Так, удобрения, обладающие пролонгированным эффектом, способствуют снижению выбросов азота за счет рационального питания сельскохозяйственных культур, а удобрения с содержанием органического субстрата и микроорганизмов обеспечивают поддержание культурного слоя и повышают плодородие почвы, а также биодоступность питательных веществ для растений. Из вышеперечисленного следует, что разработка способа получения гранулированного органоминерального биоудобрения, обладающего пролонгированным действием, является актуальной задачей, направленной на решение проблем, возникающих перед производителями сельскохозяйственной продукции.
Удобрения пролонгированного действия
Большинство минеральных удобрений, используемых на сельскохозяйственных угодьях России для повышения урожайности культур, являются азотсодержащими (аммиачная селитра, карбамид, сложные удобрения). Такие удобрения очень легко растворяются в воде, при этом не в полной мере потребляются растениями. В результате этого избыточный азот улетучивается в атмосферу и вымывается грунтовыми водами, что приводит к возникновению серьезных экологических проблем, таких как эрозия почвы, заболачивание водоемов, кислотные дожди, избыточное содержание азота в продуктах питания для человека и животных, разрушение озонового слоя и др. [1]. Для минимизации рисков их возникновения необходимо добиться повышения усвояемости потребляемого растениями азота. Одним из способов достижения этого является использование удобрений пролонгированного действия [2].
Для получения таких удобрений в основном применяют грануляторы тарельчатого и барабанного типов, аппараты с псевдоожиженным слоем [3], при этом исходное азотсодержащее ядро покрывается малорастворимыми или полностью нерастворимыми оболочками.
При использовании удобрений пролонгированного действия выделение питательных компонентов в почву происходит постепенно через поры внешней капсулы, что обеспечивает стабильное и продолжительное питание растения в течение его жизненного цикла. Стоит отметить, что покрытия, обеспечивающие пролонгированный эффект, должны сами нести полезный для растений или почвы функционал или являться разлагаемыми, не накапливаться и не загрязнять почву. Нормы внесения таких удобрений ниже по сравнению с традиционными, что способствует не только снижению негативного экологического воздействия на окружающую среду, но и ресурсо-, трудо- и энергосбережению за счет более рациональных производства, транспортировки, хранения и внесения.
Процессы нанесения оболочек на гранулы применяются не только для производства удобрений в химической промышленности России, но и в фармацевтической, пищевой промышленности, для инкапсуляции токсичных отходов [4], рекультивации загрязненных нефтью почв и др. В России на рынке удобрения пролонгированного действия по состоянию на 2023 год в основном представлены производимые АО «МХК «ЕвроХим» (UTEC® – карбамид, обработанный ингибитором уреазы NBPT) и АО «Гарден» (Bona Forte Ceolong – удобрения с цеолитом), хотя сейчас проводятся и другие отечественные разработки.
Органоминеральные и биоудобрения
Одними из современных трендов являются новые виды удобрений, которые не только увеличивают плодородие почвы на период их применения, но и улучшают культурный слой во временной перспективе. В частности, к ним относятся удобрения, содержащие не только минеральную, но и органическую (органоминеральные удобрения) и микробиологическую (биоудобрения) составляющие.
Органоминеральные удобрения содержат питательные вещества, повышающие плодородие почвы. Важно отметить, что в состав таких удобрений часто входят органические субстраты, которые являются побочными продуктами или отходами химических производств. Этим достигается синергетический эффект от сочетания двух актуальных современных тенденций в химической технологии – экологически безопасной утилизации отходов промышленного производства с возможным получением новых продуктов, обеспечивающих уникальные высокоэффективные возможности природопользования.
К биоудобрениям обычно относят препараты микроорганизмов, которые способствуют увеличению плодородия почвы за счет повышения концентрации или биодоступности элементов, содержащихся в ней. Микроорганизмы восстанавливают естественный цикл циркуляции питательных веществ в природе, делают почву более плодородной, создавая и поддерживая в ней требуемое количество органических веществ. К биоудобрениям, например, относятся бактерии, являющиеся ассоциативными, симбиотическими азотфиксаторами и фосфатмобилизирующие бактерии. Основная доля представленных на рынке биоудобрений производится в жидкой форме. Здесь перспективным направлением является создание биоудобрений в гранулированной форме, поскольку это делает их более удобными для транспортировки, хранения и применения.
Материалы и методы
Исследование направлено на создание лабораторной технологии производства прототипа гранулированного сложного органоминерального биоудобрения, обладающего пролонгированным действием, структура которого запатентована [5]. Ее схематическое изображение показано на рис. 1. Гранула удобрения представляет собой сложную многослойную структуру, включающую ядро из выпускаемого промышленно NPK-удобрения с содержанием компонентов в соотношении 1 : 1 : 1, произведенного методом приллирования в грануляционной башне. Диаметр ядра составляет 2…3 мм.
Рис. 1. Схематическая структура гранулированного многослойного органоминерального биоудобрения, обладающего пролонгированным действием: 1 – ядро из сложного NPK-удобрения; 2 – слой покрытия, обеспечивающий пролонгированный эффект действия минеральной составляющей удобрения (постепенное высвобождение NPK в течение жизненного цикла растения) и отрицательный таксис микроорганизмов; 3 – слой покрытия в виде органического субстрата для инкапсулированных в нем микроорганизмов; 4 – микроорганизмы Bacillus subtilis, инокулированные на крахмале; 5 – защитный гидрофобный слой, обеспечивающий положительный таксис микроорганизмов
Первый слой покрытия формируется из специального состава на основе серы и наносится непосредственно на ядро по технологии окатывания, обеспечивая не только пролонгированное действие минеральной составляющей удобрения, но и отрицательный таксис микроорганизмов. Второй слой покрытия содержит органическую составляющую с заранее равномерно внесенными в нее микроорганизмами Bacillus subtilis (сенная палочка), инокулированными на крахмале. Выбор таких микроорганизмов обусловлен тем, что они способствуют увеличению плодородия почвы, а также способны выделять биологически активные вещества, которые повышают устойчивость растений к болезням что в конечном счете способствует увеличению урожайности [6]. Третий слой, изготовленный на основе стеариновой кислоты, является гидрофобным защитным покрытием для предотвращения преждевременного нарушения структуры гранулы и активации микроорганизмов при внесении удобрения и его нахождении в почве менее запланированного срока. Он также обеспечивает положительный таксис микроорганизмов. Такая структура гранулы обеспечит их направленное движение при делении от центра к периферии (в сторону источника питания) для предотвращения сокращения пролонгированного действия неорганического ядра, что могло бы произойти за счет воздействия микроорганизмов на внутренний слой.
Также стоит отметить, что использованные микроорганизмы инокулированы на крахмале, который является биоразлагаемым [7] и гидрофильным [8] материалом. Биоразлагаемость – необходимое свойство, обеспечивающее отсутствие накопления крахмала в почве, гидрофильность способствует более быстрой активации микроорганизмов.
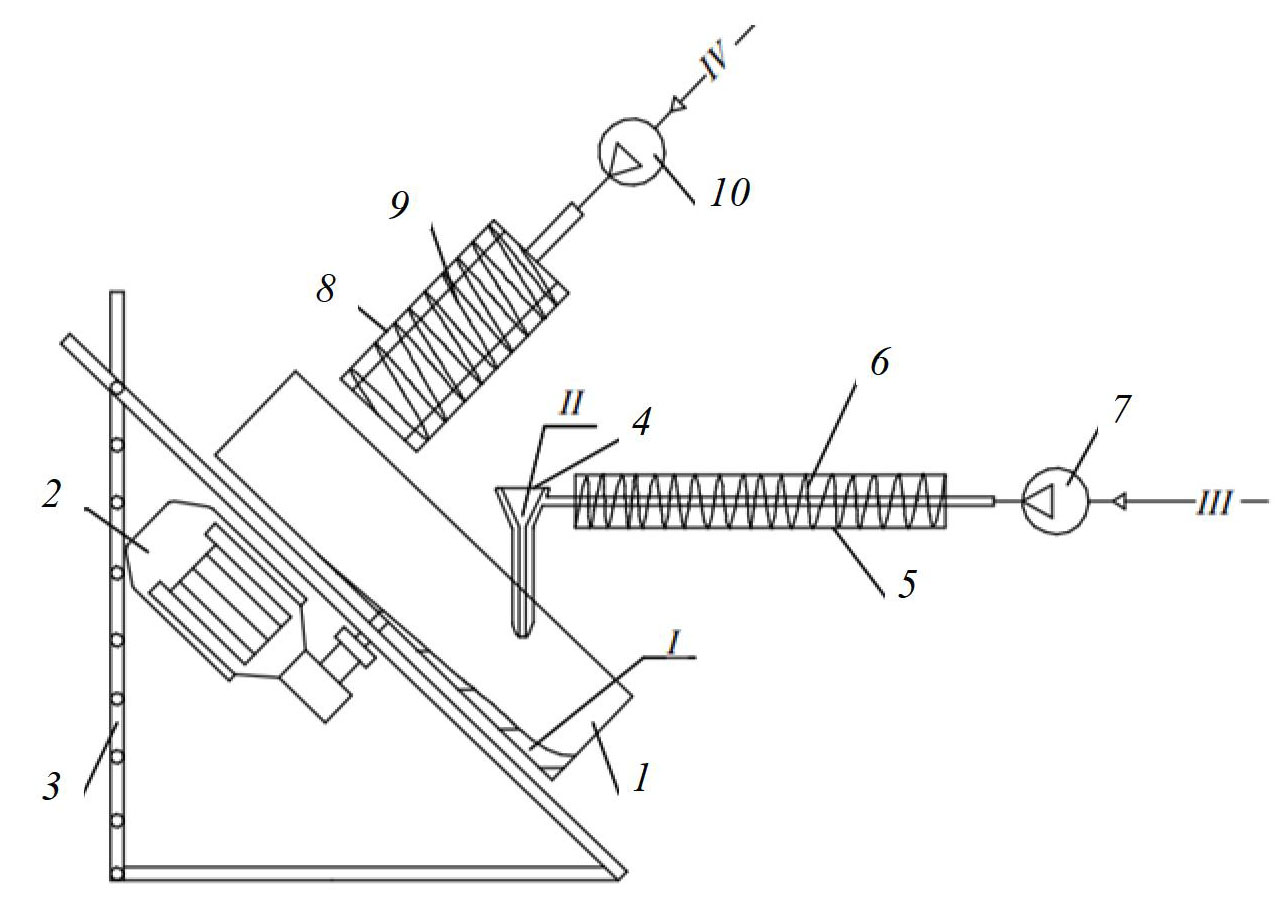
Технология получения многослойной структуры гранулы отрабатывалась на лабораторном тарельчатом грануляторе, условная схема которого приведена на рис. 2. Параметры работы гранулятора подобраны так, чтобы обеспечить равномерное распределение и перемешивание гранул в тарелке аппарата.
Рис. 2. Условная схема экспериментальной установки для отработки технологии получения гранулированного многослойного органоминерального биоудобрения, обладающего пролонгированным действием: 1 – тарельчатый гранулятор; 2 – червячный мотор-редуктор; 3 – устройство регулировки угла наклона гранулятора; 4 – диспергирующее устройство; 5 – воздуховод с кожухом; 6, 9 – ТЭНы; 7, 10 – компрессоры; 8 – тепловая пушка; I – сырье; II – расплав покрытия; III, IV – воздух
Первый слой покрытия из состава на основе серы наносили в виде расплава с температурой 150 °С в количестве 40 масс. %. Оценку пролонгированного эффекта удобрения проводили на основе данных о кинетике частичного растворения ядра гранулы в воде, полученных измерением концентрации NPK в растворе в ходе процесса при комнатной температуре. Характерный вид кривой растворимости показан на рис. 3. Концентрацию питательных веществ, выделившихся из гранулы, определяли рефрактометрическим методом.
Рис. 3. Характерный вид кривой растворимости сложного NPK удобрения с покрытием на основе серы в количестве 40 масс. %
Стоит отметить, что в качестве основного компонента первого покрытия сера выбрана не случайно, она сама используется в качестве удобрения, улучшает усвоение азота растениями, стимулирует синтез аминокислот и участвует в образовании хлорофилла. Первые исследования по покрытию удобрений серой в России проводились еще в середине XX века. В настоящее время ведутся активные научные разработки по модификации данного покрытия для дальнейшего совершенствования и улучшения его свойств.
Второй слой покрытия наносили с использованием в качестве связующего расплава стеариновой кислоты при температуре не более 70 °С и одновременной подаче микроорганизмов Bacillus subtilis, инокулированных на крахмале, в виде порошка.
Третий тонкий слой покрытия наносился в виде подкрашенного расплава стеариновой кислоты с целью визуальной оценки качества его нанесения и дальнейшего изучения структуры покрытия и гранулы в целом. Стеариновая кислота является безвредным в биологическом плане органическим веществом и отличным гидрофобизатором [9].
Важно, что микроорганизмы Bacillus subtilis устойчивы при температурах до 70 °С, поэтому на втором и третьем этапах формирования гранулы необходимо строго соблюдать температурные режимы процесса, а также избегать контакта промежуточного слоя с влагой для исключения возможной преждевременной активации жизненного цикла микроорганизмов.
Результаты и их обсуждение
Внешний вид и разрез полученного продукта показаны на рис. 4. Гранулы не имеют видимых сколов и разрушений оболочки, их диаметр составляет 4…5 мм. При измерении статической прочности на приборе ИПГ-1М по ГОСТ 21560.2–82 [10] средняя прочность гранул составляет 15,4 Н.
Рис. 4. Фотография полученного продукта
Лабораторные микробиологические испытания многослойных гранул (рис. 5) показали, что при применении представленного способа для их получения, количество жизнеспособных микроорганизмов составляет порядка 1,0·107 КОЕ/г. На рисунке видны остатки копулирующей оболочки, а также растущие на крахмале колонии микроорганизмов. Расчет показывает, что при внесении многослойного удобрения в почву в дозировке 100 кг/га микробная нагрузка будет равна 1,0·1012 КОЕ/га.
Рис. 5. Рост культуры Bacillus subtilis на агаризованной среде на вторые сутки культивирования при температуре 37 °С
По количеству минеральных и микробиологических составляющих внесение нового удобрения в указанной дозировке равносильно использованию традиционного удобрения при весенней подкормке зерновых при норме 100…150 кг/га и препарата Бактофорт (также содержащего Bacillus subtilis) в количестве 2,0 л/га, обеспечивающем микробную нагрузку – 1,0·1012 КОЕ/га.
Особый интерес представляют механизмы процессов массопереноса, происходящие внутри многослойных гранул в почве. Кинетика массопереноса в структурированных средах с микроорганизмами сложна и многообразна [11, 12]. Причина кроется в том, что со временем меняются массопроводные свойства среды переноса, возрастает скорость поглощения питательных веществ за счет увеличения концентрации микроорганизмов, при их питании происходит выделение веществ, замедляющих процессы метаболизма и т.д. Исходя из сказанного выше, рассмотрим динамику распада многослойной гранулы качественно, используя примерную схему, изображенную на рис. 6.
Рис. 6. Качественная модель распада многослойной гранулы в почве: 1 – диффузия воды из внешней среды через микропоры защитного покрытия; 2 – разрушение защитного покрытия и деление микроорганизмов; 3 – разрушение второго слоя и диффузия воды через микропоры первого слоя к ядру; 4 – растворение ядра NPK-удобрения и диффузия растворов питательных веществ наружу
После внесения гранул удобрения в почву начинается диффузионное проникновение влаги в них из внешней среды через микропоры гидрофобного защитного покрытия. Микропоры покрытия могут образовываться как в результате жизнедеятельности микроорганизмов почвы и других внешних факторов, так и в процессе производства самой гранулы. После проникновения влаги внутрь гранулы происходит активация жизненного цикла микроорганизмов, их деление, расширение объема органического субстрата и его разрушение. Одновременно с распадом второго слоя начинается образование микропор в первом слое, обеспечивающем защиту неорганического ядра и пролонгированный эффект. Аналогично первой стадии влага через образованные микропоры диффундирует внутрь гранулы к ее ядру, медленно растворяет его, а образующийся раствор сложного NPK-удобрения медленно выходит наружу и питает растение.
Заключение
Предложен способ получения многослойных гранул сложного удобрения на тарельчатом грануляторе, сочетающего в себе преимущества биоудобрений и удобрений пролонгированного действия. Лабораторные испытания подтвердили наличие пролонгированного эффекта (для минеральной составляющей более 60 суток) и выживаемость микроорганизмов при выбранной технологии формирования многослойной структуры. Содержание микроорганизмов в гранулах удобрения составило 1,0·107 КОЕ/г.
Достигаемый пролонгированный эффект действия неорганической части удобрения позволит снизить риски возникновения экологических проблем, связанных с выбросами избыточного азота в атмосферу и почву, а повышение усвояемости питательных веществ – уменьшить нормы внесения таких удобрений в почву.
Органический субстрат и микроорганизмы Bacillus subtilis, инокулированные на крахмале, увеличивают плодородие почвы. Поэтому новый вид удобрений рекомендован к использованию на пахотных землях, склонных к истощению и подверженных эрозии. Крахмал, входящий в состав удобрения и обладающий гидрофильными свойствами, способствует аккумуляции вокруг гранул удобрения молекул воды, что особенно важно при их использовании в регионах, где могут возникать периоды засухи.
About the authors
V. M. Fufaeva
MIREA – Russian Technological University
Author for correspondence.
Email: fufaeva@mirea.ru
Assistant of the Department of Processes and Apparatus of Chemical Technologies named after N.I. Gelperin
Russian Federation, MoscowYu. A. Taran
MIREA – Russian Technological University
Email: fufaeva@mirea.ru
Candidate of Technical Sciences, Associate Professor of the Department of Processes and Apparatus of Chemical Technologies named after N.I. Gelperin
Russian Federation, MoscowV. O. Strelnikova
MIREA – Russian Technological University
Email: fufaeva@mirea.ru
Lecturer at the Department of Processes and Apparatus of Chemical Technology named after N.I. Gelperin
Russian Federation, MoscowN. I. Kalgashkin
MIREA – Russian Technological University
Email: fufaeva@mirea.ru
Postgraduate student of the Department of Processes and Apparatuses of Chemical Technologies named after N.I. Gelperin
Russian Federation, MoscowA. V. Vyazmin
MIREA – Russian Technological University
Email: fufaeva@mirea.ru
Doctor of Physical and Mathematical Sciences, Associate Professor, Head of the Department of Processes and Apparatus of Chemical Technologies named after N.I. Gelperin
Russian Federation, MoscowA. K. Karganyan
Biona LLC
Email: fufaeva@mirea.ru
Deputy Director for Development
Russian Federation, BelgorodO. T. Panasyuk
Agricultural enterprise “Niva”
Email: fufaeva@mirea.ru
Deputy Director of Production
Russian Federation, Republic of CrimeaReferences
- Xia L., Yan X. How to feed the world while reducing nitrogen pollution, Nature, 2023, vol. 613, pp. 34-35.
- Fufaeva V.M., Taran Yu.A., Strelnikova V.O. [Prolonged action fertilizers as new stage in development of fertilizer market. Review], Khimicheskaya Tekhnologiya [Chemical technology], 2024, vol. 25, no. 3, pp. 86-95. (In Russ., abstract in Eng.)
- Lipin A.A., Lipin A.G., Wójtowicz R. [Modelling nutrient release from controlled release fertilizers], Biosystems Engineering, 2023, vol. 234, pp. 81-91.
- Eleev Yu.A., Bogoyavlenskaya Yu.S., Glukhan E.N., Golovkov V.F., Afanasiev V.V. [Development of an encapsulation process for toxic waste and hazardous chemicals in a fluidized bed], Tonkiye khimicheskiye tekhnologii [Fine Chemical Technologies], 2021, vol. 16, no. 3, pp. 199-212. (In Russ., abstract in Eng.)
- Karganyan A.K., Panasyuk O.T., Taran Yu.A., Fufaeva V.M., Strel'nikova V.O. Granula organomineral'nogo bioudobreniya prolongirovannogo dejstviya [A granule of organomineral fertilizer of prolonged action], Russian Federation, 2024, Pat. 223921. (In Russ.)
- Spirina A.A., Pronina V.V. Teoriya i praktika innovacionnyh issledovanij v oblasti estestvennyh nauk: sbornik materialov II Vserossijskoj nauchno-prakticheskoj konferencii s mezhdunarodnym uchastiem [Theory and practice of innovative research in the field of natural sciences: a collection of materials of the II All-Russian Scientific and Practical Conference with international participation], 26-27 April 2023, Orenburg, 2023, pp. 248-249. (In Russ.)
- Vasilyev I.Yu., Ananyev V.V., Chernov M.E. [Biodegradable packaging materials based on low density polyethylene, starch and monoglycerides], Tonkiye khimicheskiye tekhnologii [Fine Chemical Technologies], 2022, vol. 17, no. 3, pp. 231-241. (In Russ., abstract in Eng.)
- Kabanova A.N., Belova D.I. [Technology of manufacturing bioplastics from starch], Simvol nauki [A symbol of science], 2020, no. 12-1, pp. 12-13. (In Russ., abstract in Eng.)
- Niftaliev S.I., Lygina L.V., Peregudov Yu.S., Prokofieva L.A. Investigation of rheological properties of PVC-based compositions. Vestnik Voronezhskogo gosudarstvennogo universiteta inzhenernyh tekhnologij [Bulletin of the Voronezh State University of Engineering Technologies], 2014, vol. 60, no. 2, pp. 132-134. (In Russ., abstract in Eng.)
- GOST 21560.2-82. Udobreniya mineral'nyye. Metod opredeleniya staticheskoy prochnosti granul [Mineral fertilizers. Method for determining the static strength of granules], Moscow: Izdatel'stvo standartov, 1983, 21 p. (In Russ.)
- Khramtsov D.P., Sutyagina O.A., Pokusaev B.G., Vyazmin A.V., Nekrasov D.A. [Unsteady mass transfer in gels with microorganisms], Teoreticheskie osnovy himicheskoj tekhnologii [Theoretical Foundations of Chemical Engineering], 2023, vol. 57, no. 1, pp. 71-80. (In Russ., abstract in Eng.)
- Pokusaev B.G., Vyazmin A.V., Nekrasov D.A., Khramtsov D.P., Zakharov N.S. Nestatsionarnyy teplomassoperenos v mikrostrukturirovannykh sredakh [Unsteady heat and mass transfer in microstructured media], St. Petersburg: Lan, 2023, 180 p. (In Russ.)
Supplementary files








