Mathematical Model of the Graphite Exfoliation Process in Bar Drum Mill
- Authors: Aldawood S.Y.1, Baranov A.A.1, Pershin V.F.1
-
Affiliations:
- Tambov State Technical University
- Issue: Vol 30, No 1 (2024)
- Pages: 108-121
- Section: Chemical Engineering and Related Industries. Chemistr
- URL: https://medbiosci.ru/0136-5835/article/view/278748
- DOI: https://doi.org/10.17277/vestnik.2024.01.pp.108-121
- ID: 278748
Cite item
Full Text
Abstract
The features of the process of graphite exfoliation in a rod drum mill are considered and it is established that a gap of crushed particles is formed between the grinding rods and the inner surface of the drum, and the size of this gap decreases during the exfoliation process. A mechanism for the exfoliation process has been proposed, according to which the separation of particles occurs after they pass through a given gap. The original graphite powder is presented as a set of fractions with the same particle size ranges. To model the process, the mathematical apparatus of random Markov processes, discrete in space and time, was used. An example of using the model to determine the particle size distribution during the exfoliation process is given.
Full Text
Введение
Графен благодаря своим уникальным свойствам все шире используется в различных отраслях промышленности. В англоязычной литературе часто используются термины few-layer graphene (малослойный графен) и multilayer graphene (многослойный графен). В соответствии с ГОСТ ISO/TS 80004-4–2016 [1] указанные термины можно объединить одним – нанопластины графита. Нанопластина – нанообъект, линейные размеры которого по одному измерению находятся в нанодиапазоне, а размеры по двум другим измерениям значительно больше [2]. Основные способы производства графена – механический метод эксфолиации [3], отгонка жидкой фазы [4]; окислительно-восстановительный метод [5]; химическое осаждение из газовой фазы [6]. Такое разнообразие технологий объясняется тем, что в зависимости от применения нанопластин, к ним предъявляются определенные требования по размерам, числу графеновых слоев, электропроводности и т.д. Например, при модифицировании бетона необходимы нанопластины, состоящие из пяти-семи графеновых слоев, а при модифицировании пластичных смазок используются нанопластины, содержащие 20 – 25 графеновых слоев. При создании электронных устройств в основном используется одно- или двухслойный графен с минимальным числом дефектов. 2D-графен является фундаментальным элементом всех других аллотропов углерода, включая 0-мерные (0D) фуллерены, 1-мерные (1D) углеродные нанотрубки (УНТ) и трехмерный (3D) графит. Все эти аллотропы можно получить, модифицируя графен [7]. Кроме того, графен легкий, твердый, прочный и демонстрирует исключительные электро- и теплопроводности, но при этом самый тонкий и прочный среди наноматериалов.
Несмотря на то, что УНТ и графен почти одинаковы по своим свойствам, УНТ имеют некоторые существенные недостатки с точки зрения токсичности и стоимости производства. Если УНТ долгое время используются в медицине, они могут вызвать гибель клеток человеческого тела и вызвать окислительный стресс, злокачественную трансформацию, разрушение ДНК, воспаление легких, рубцевание кожи и других органов [8]. Кроме того, разработка и синтез УНТ с другими органическими и неорганическими веществами являются трудоемкими процессами. В отличие от УНТ, графен не содержит металлических примесей, что делает его более биосовместимым материалом, чем УНТ [9]. Более того, графен можно синтезировать из графита, который дешевле, чем сырье (источники углерода, такие как метан) УНТ.
Нанопластины графита широко используются при модифицировании полимерных композитных материалов. Эти композиты используются при создании сенсоров и биосенсеров [10], суперконденсаторов [11], систем для доставки лекарств [12].
Как отмечалось выше, разработано много способов получения нанопластин графита, каждый из которых имеет свои преимущества и недостатки. Одним из наиболее перспективных является способ получения нанопластин графита жидкофазной сдвиговой эксфолиацией графита. Это объясняется тем, что данный способ экологически безопасен, прост и легко масштабируется для промышленного применения. Одна из технологических схем промышленного производства нанопластин графита и модифицирования пластичных смазок рассмотрена в работе [13]. Часть данной схемы может быть использована для производства нанопластин, имеющих определенный диапазон размеров, для модифицирования функциональных и конструкционных материалов в целях улучшения их эксплуатационных характеристик. В этом случае схема содержит три основных узла: механоактивацию и частичную эксфолиацию графита в стержневой барабанной мельнице; окончательную эксфолиацию в каскаде роторных аппаратов с подвижными лопастями; классификацию нанопластин по размерам. Для расчета основных параметров указанных узлов необходимо иметь математические модели реализуемых в них процессов. Поскольку эффективность окончательной эксфолиации графита в роторных аппаратах значительно зависит от размеров нанопластин после обработки в стержневой барабанной мельнице, прежде всего, необходимо разработать математическую модель данного процесса.
Объект моделирования
Объект моделирования – процесс жидкофазной сдвиговой эксфолиации частиц графита в стержневой барабанной мельнице [14]. Рабочий орган мельницы состоит из нечетного числа барабанов, расположенных соосно. Барабаны соединены между собой и вращаются приводом с одинаковой угловой скоростью. Порошок кристаллического графита и диспергирующей жидкости в определенном соотношении дозаторами подается во внутренний барабан. При вращении барабанов частицы графита смешиваются с диспергирующей жидкостью, расслаиваются, и обработанная смесь через узел выгрузки выходит из мельницы. Внутри каждого барабана расположены стержни, соединенные между собой гибкими связями. Стержни постоянно скользят по внутренним поверхностям барабанов, и из частицы, которая попадает в зону контакта стержней с барабаном, за счет возникающих в ней касательных напряжений образуются две частицы, то есть реализуется процесс эксфолиации.
Моделирование процесса
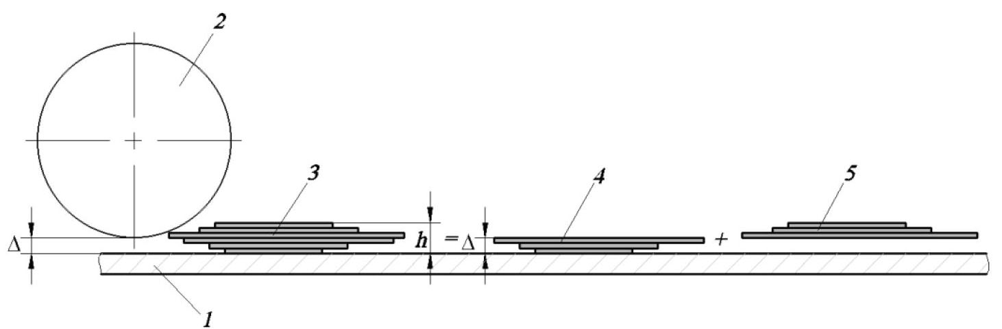
Ранее предложен механизм процесса расслоения одной частицы на две [15], в котором предполагалась равная вероятность расслоения одной частицы графита, содержащей N слоев, на две с числом графеновых слоев от 1 до N – 1. Результаты экспериментальных исследований показали, что под стержнями всегда находятся частицы, которые образуют зазор Δ между стержнями и внутренней поверхностью вращающегося барабана. Данный факт вносит существенные изменения в механизм процесса расслоения [15], поскольку часть частиц, толщина которых меньше величины зазора Δ, в процессе эксфолиации не участвует. Таким образом, в результате эксфолиации из частицы с толщиной h образуются две частицы с толщинами Δ и h – Δ. Установлено также, что в процессе эксфолиации величина указанного зазора уменьшается, по всей видимости, в результате снижения средней толщины частиц. Для моделирования процесса в работе [15] использовался математический аппарат случайных марковских процессов, дискретных в пространстве и времени. Учитывая, что число графеновых слоев в частицах графита составляет несколько тысяч, размерность вектора состояния системы, а, следовательно, и размерность матрицы переходных вероятностей были огромны, что затрудняло расчеты по данной модели. Результаты экспериментальных исследований показали, что окончательная эксфолиация в роторных аппаратах с подвижными лопастями наиболее интенсивно реализуется, когда толщина частиц в исходной суспензии менее 100 нм. Исходя из этого предлагается новый механизм эксфолиации графита в стержневой мельнице при следующих допущениях: гранулометрический состав исходного материала, поступающего в стержневую мельницу, состоит из фракций, каждая из которых содержит частицы с толщиной, кратной 100 нм; зазор Δ между стержнями и внутренней поверхностью барабана зависит от гранулометрического состава суспензии в текущий момент; в результате расслоения одной частицы с толщиной hi образуются две частицы с толщинами Δ и hi – Δ. Схема механизма эксфолиации показана на рис. 1.
Рис. 1. Схема механизма эксфолиации: 1 – обечайка барабана; 2 – стержень; 3 – исходная частица; 4 , 5 – часть частицы, которая соответственно прошла и не прошла через зазор
Реализацию предлагаемой модели рассмотрим на примере системы, состоящей из 10 фракций. Для формирования вектора начального состояния использовался следующий прием. Сделано предположение, что исходное распределение частиц по числу графеновых слоев подчиняется нормальному распределению, то есть математически описывается функцией плотности нормального распределения
. (1)
Интервал дисперсности от 0 до xmax = 4000 слоев разбивался на n = 10 фракций с диапазоном чисел слоев во фракции h = 400 ([0…400], [400…800], …, [3600…4000]). Среднее значение из каждой фракции 200, 600, …, 3800 подставлялось в функцию плотности нормального распределения с параметрами: среднее значение числа слоев m = 3200 и среднеквадратическое отклонение s = 200. Полученное значение f (x) умножалось на величину интервала h. Таким образом, получалась доля частиц заданной фракции в соответствии с принятым нормальным распределением. Вектор начального состояния системы имеет вид
. (2)
Обычно систему представляют в виде цепи Маркова, которая состоит из ячеек. Для рассматриваемого примера цепь Маркова показана на рис. 2. Частицы со средней толщиной находятся в девяти ячейках. Предположим, что зазор между стержнем и обечайкой барабана равен средней толщине частиц, находящихся в ячейке 8. Частицы, которые находятся в ячейках с первой по восьмую, не будут участвовать в процессе эксфолиации, поэтому для них элементы матрицы переходных вероятностей р(i, i) = 1, а остальные элементы равны нулю. Из каждой частицы ячейки 9, образуются две частицы, одна из которых перейдет в ячейку 8, а вторая в ячейку 1. Частицы из ячейки 10 переходят в ячейки 2 и 8.
Рис. 2. Цепь Маркова и схема переходов частиц из ячеек в ячейки
Состояние системы S[1] после первого перехода находится в результате перемножения вектора начального состояния S[0] на матрицу переходных состояний Р[1], которая представлена выражением (3):
. (3)
. (4)
Рассмотрим более подробно определение элементов матрицы р(i, j), то есть вероятностей перехода из ячейки i в ячейку j, в обобщенном виде. По вектору состояния определяем номер элемента iср, в котором находятся частицы, имеющие среднюю толщину hср для всех частиц. В рассматриваемом примере среднюю толщину имеют частицы в ячейке номер 9. Одним из варьируемых элементов предлагаемой модели является величина зазора Δ между стержнем и внутренней поверхностью барабана. Поскольку максимальное число частиц имеет толщину hср, логично предположить, что величина зазора равна hср или немного меньше данной величины. Предположим, что зазор равен hср = 100 нм, таким образом, в нашем случае – это ячейка номер 8. Поскольку толщина частиц в ячейках 1, …, 8 меньше или равна величине зазора, то эти частицы не будут участвовать в процессе эксфолиации и для них вероятности р(i, i) равны 1. Вторым варьируемым элементом предлагаемой модели является вероятность рэ неучастия остальных частиц в процессе эксфолиации. Численное значение данной величины определяется при идентификации параметров модели. Частицы со средней толщиной, равной зазору, находятся в ячейке с номером iz. В результате эксфолиации частицы из ячейки c номером i > iz образуются две частицы, одна из которых переходит в ячейку с номером iz, а вторая – в ячейку i – iz. Суммарная вероятность перехода в данные ячейки будет равна единице
. (5)
В работе [14] установлено, что форму наночастицы графита можно представить в виде трехосного эллипсоида с длиной а, шириной b и толщиной h. Между этими параметрами имеется взаимосвязь, то есть в первом приближении численные значения а и b можно выразить через h с некоторым коэффициентом k. Объем частицы V равен
. (6)
Очевидно, что вероятности р(i, iz) и р(i, i – iz) соотносятся как массы или объемы частиц, которые участвуют в переходах. Учитывая данные обстоятельства, в общем случае можно составить следующее равенство:
. (7)
После подстановки (7) в (6) и преобразований получим:
; (8)
. (9)
Отдельно необходимо рассмотреть случай, когда i = miz, где m – целое число больше 1, поскольку в этом случае часть частиц с вероятностью рэ останется в ячейке i, а все остальные частицы с вероятностью р(i, iz) = 1 – pэ перейдут в ячейку c номером z.
В результате эксфолиации части частиц графита, распределение частиц по ячейкам изменилось и ячейка, в которой содержатся частицы среднего размера, сместилась влево. Состояние системы определяется следующими рекурентными соотношениями:
(10)
где S(j) – вектор состояния системы после перехода j; P – матрица переходных вероятностей; k – номер перехода, на котором заканчивается процесс.
После каждого шага (перехода) определяется номер ячейки, в которой находятся частицы со средней толщиной, и назначается зазор, то есть определяется номер ячейки iz. Далее рассчитываются элементы матрицы переходных вероятностей (3).
На рисунке 3 показаны гистограммы распределения частиц по ячейкам в процессе эксфолиации. Для наглядности и простоты анализа гистограмм и работы модели взято n = 10 фракций. Интервал распределения исходных частиц 0…4000 нм, размер каждой фракции h = 400 нм. Исходное распределение по фракциям соответствует параметрам плотности нормального распределения μ = 3200 нм, σ = 200 нм. Исходный зазор соответствует номеру фракции 8, где размеры частиц находятся в диапазоне 2800…3200 нм, а вероятность неучастия частиц в процессе эксфолиации р(е) = 0,5. Расчет по модели прекращается, когда более 60 % массы частиц оказывается в первой фракции, то есть имеют размер от 0 до 400 нм.
Рис. 3. Гистограммы распределения частиц по ячейкам в процессе эксфолиации после циклов обработки (начало): а – 1, б – 3; в – 6, г – 9, д – 13
Из диаграмм видно, что средняя толщина частиц уменьшается и гистограмма смещается влево.
Численный эксперимент
Перед идентификацией варьируемых параметров математической модели целесообразно провести численный эксперимент в целях выяснения влияния каждого из параметров на кинетику процесса эксфолиации. В предлагаемой модели варьируемыми являются следующие параметры: неучастие частиц в процессе эксфолиации р(е); время одного перехода Δτ, с; исходное распределение частиц в суспензии по размерам μ и σ; исходный зазор между стержнями и внутренней поверхностью барабана, как доля от среднего размера частиц. Проводить численный эксперимент по влиянию времени одного перехода не имеет смысла, поскольку совершенно очевидно, чем меньше время одного перехода, тем меньше время процесса эксфолиации.
В первой серии численных экспериментов исследовали влияние р(е) на кинетику процесса и использовали следующие данные: интервал распределения исходных частиц 0…4000 нм; исходное распределение по фракциям соответствует параметрам плотности нормального распределения μ = 3000, σ = 200; зазор соответствует номеру фракции 30, где среднее распределения f [30] = 2900…3000 нм. На рисунке 4 показана зависимость числа переходов k, которые необходимо совершить для того, чтобы более 60 % массы частиц оказались в первой фракции, то есть имели размер от 0 до 100 нм.
Рис. 4. Зависимость переходов от вероятности неучастия частиц в процессе эксфолиации pe
Из графика видно, что при возрастании pe увеличивается время процесса эксфолиации и особенно сильно это заметно при повышении pe более 0,8. Учитывая данный результат, экспериментально установлено, что максимальной участие в процессе эксфолиации обеспечивается при толщине слоя обрабатываемой суспензии, не превышающей 5 мм.
Во второй серии численных экспериментов исследовалось влияние величины зазора между стержнями и внутренней поверхностью барабана. Для наглядности, зазор определяли номером фракции fn, которая его образует. На рисунке 5 показаны зависимости числа переходов до окончания процесса от номер фракции, соответствующей начальному зазору fn. На графиках видно, что минимальное время эксфолиации наблюдается в том случае, когда зазор составляет примерно половину максимальной толщины исходных частиц.
Рис. 5. Зависимости числа переходов k до окончания процесса от номера фракции, соответствующей начальному зазору fn
В третьей серии численных экспериментов исследовалось влияние исходного распределения частиц по размерам на продолжительность процесса эксфолиации. На рисунке 6 показаны зависимости продолжительности процесса эксфолиации k от среднего размера частиц в исходной суспензии μ. Из графиков видно, что с увеличением среднего размера частиц, время процесса увеличивается. Данный факт говорит о том, что для приготовления исходной суспензии необходимо использовать графит с минимальным размером частиц.
Рис. 6. Зависимость продолжительности процесса эксфолиации от начального распределения частиц по размерам μ
Предлагаемую математическую модель можно использовать на разных стадиях процесса. Например, сравнение результатов предварительных экспериментов с расчетами показали, что предлагаемая модель может быть использована для описания процесса эксфолиации в стержневой барабанной мельнице непрерывного принципа действия.
Представление исходного материала, поступающего в стержневую мельницу, в виде совокупности фракций, каждая из которых содержит число графеновых слоев, кратное 100, позволило сократить время идентификации параметров и объем расчетов по модели более чем в два раза.
Заключение
Предложен новый механизм эксфолиации порошка графита в стержневой барабанной мельнице. Представление гранулометрического состава порошка в виде совокупности фракций с фиксированными диапазонами изменения толщины частиц позволит значительно сократить время идентификации параметров модели, время расчета конечного состояния системы и даст возможность рассчитывать параметры последующих операций обработки и использования нанопластин графита для создания новых функциональных и конструкционных материалов.В результате проведения численных экспериментов по разработанной модели установлено влияние отдельных параметров на интенсивность процесса эксфолиации в стержневой барабанной мельнице.
About the authors
S. S. Yu. Aldawood
Tambov State Technical University
Email: pershin.home@mail.ru
аспирант кафедры «Технологические процессы, аппараты и техносферная безопасность»
Russian Federation, TambovA. A. Baranov
Tambov State Technical University
Email: pershin.home@mail.ru
кандидат технических наук, доцент кафедры «Техника и технологии производства нанопродуктов»
Russian Federation, TambovV. F. Pershin
Tambov State Technical University
Author for correspondence.
Email: pershin.home@mail.ru
доктор технических наук, профессор кафедры «Технологические процессы, аппараты и техносферная безопасность»
Russian Federation, TambovReferences
- GOST ISO/TS 80004-4-2016. Nanotechnologies. Part 4. Nano-structured materials. Terms and Definitions [ISO/TS 80004-4:2011, Nanotechnologies – Vocabulary – Part 4: Nanostructured materials (IDT)], Moscow: Izdatel’stvo stsndartov, 2016, 14 p. (In Russ.)
- GOST R 54622-2011/ISO/TS 27687:2008. Nanotechnologies. Terms and definitions of nanoobjects. Nanoparticle, nanofiberandnanoplate [ISO/TS 27687:2008. Nanotechnologies – Terminology and definitions for nano-objects – Nanoparticle, nanofibre and nanoplate (IDT)], Moscow: Izdatel’stvo stsndartov, 2013, 14 p. (In Russ.)
- Yi M., Shen Z. A Reviewon Mechanical Exfoliation for the Scalable Production of Graphene, Journal Materials Chemistry A., 2015, vol. 3, no. 22, pp. 11700-11715. doi: 10.1039/C5TA00252D
- Baqiya M.A., Nugraheni A.Y., Islamiyah W., Kurniawan A.F., Ramli M.M., Yamaguchi S., Furukawa Y., Soontaranon S., Putra E.G.R., Cahyono Y. Structural Study on Graphene-Based Particles Prepared from Old Coconut Shell by Acid–Assisted Mechanical Exfoliation, Advanced Powder Technology, 2020, vol. 31, no. 5, pp. 2072-2078. doi: 10.1016/j.apt.2020.02.039
- Ren S., Rong P., Yu Q. Preparations, Properties and Applications of Graphene in Functional Devices: A Concise Review, Ceramics International, 2018, vol. 44, no. 11, pp. 11940-11955. doi: 10.1016/j.ceramint.2018.04.089
- Pei S., Cheng H.-M. The Reduction of Graphene Oxide, Carbon, 2012, no. 50, pp. 3210-3228. doi: 10.1016/J.CARBON.2011.11.010
- Kumar S., Saeed G., Zhu L., Hui K.N., Kim N.H., Lee J.H. 0D to 3D Carbon-Based Networks Combined with Pseudocapacitive Electrode Material for High Energy Density Supercapacitor: A Review, The Chemical Engineering Journal, 2020, vol. 403, no. 8, pp. 126352. doi: 10.1016/j.cej.2020.126352
- Liu Y., Zhao Y., Sun B., Chen C. Understanding the Toxicity of Carbon Nanotubes, Accounts of Chemical Research, 2013, vol. 46, no. 3, pp. 702-713. doi: 10.1021/ar300028m
- Fang B., Chang D., Xu Z., Gao C. A Review on Graphene Fibers: Expecations, Advances, and Prospects, Advanced Materials, 2020, vol. 32, no. 5, pp. 1902664. doi: 10.1002/adma.201902664
- Suvarnaphaet P., Pechprasarn S. Graphene-Based Materials for Biosensors: A Review, Sensors, 2017, vol. 17, no. 10, pp. 2161. doi: 10.3390/s17102161
- Song S., Shen H., Wang Y., Chu X., Xie J., Zhou N., Shen J. Biomedical Application of Graphene: from Drug Delivery, Tumor Therapy, to Theranostics, Colloids and Surfaces B: Biointerfaces, 2020, no. 185, pp. 110596. doi: 10.1016/j.colsurfb.2019.110596
- Pershin V.F., AldawoodS.S.Yu., Algurabi A., Baiti A., Salkhi H. [Modification of greases with graphite nanoplates], Sbornik nauchnykh statey po materialam XII Mezhdunarodnoy nauchno-prakticheskoy konferentsii. Chast' 1 [Collection of scientific articles based on the materials of the XII International Scientific and Practical Conference. Part 1], Ufa. 2023, pp. 158-165. (In Russ.)
- Zhumagalieva G.B. Extended abstract of candidate’s of Engineering thesis, Tambov, 2020, 16 p. (In Russ.)
- Al-Mashhadani A.M.R., Pershin V.F. [Relationship between the shape of particles of the original graphite and graphene plates during liquid-phase exfoliation], Materialovedeniye. Energetika [Materials Science. Energy], 2021, vol. 27, no. 4, pp. 145-158. (In Russ., abstract in Eng.)
- Pershin V.F., Aldawood S.S.Yu., Osipov A.A. Sterzhnevaya barabannaya mel'nitsa nepreryvnogo printsipa deystviya [Rod drum mill of continuous operating principle], Russian Federation, 2023, Pat. 2792428 (In Russ.)
Supplementary files








