Study of the oxidation process of magnetite fluxed pellets by various methods of physical and chemical analysis
- Authors: Yur’ev B.P.1, Dudko V.A.1
-
Affiliations:
- Federal State Autonomous Educational Institution of Higher Education “Ural Federal University named after the first President of Russia B.N.Yeltsin”
- Issue: Vol 43, No 9 (2024)
- Pages: 42-52
- Section: Kinetics and mechanism of chemical reactions, catalysis
- URL: https://medbiosci.ru/0207-401X/article/view/282078
- DOI: https://doi.org/10.31857/S0207401X24090059
- ID: 282078
Cite item
Full Text
Abstract
In order to obtain the most complete information about the processes occurring during the oxidative roasting of magnetite iron ore pellets, comprehensive studies were carried out using various methods of physicochemical analysis. To approximate the assessment of the most probable reactions occurring in pellets during oxidative heating, a thermodynamic analysis was performed. Based on the sign of the isobaric potential, determined from the equation of the isotherm of a chemical reaction, we judged the possibility of a particular chemical reaction occurring in the direction under consideration. The influence on the dissociation reaction of calcium carbonate has been established by the formation of calcium silicates and ferrites, which facilitate its occurrence, as well as the reaction of interaction of iron oxide with calcium carbonate, which, on the contrary, inhibits its occurrence. A technique has been developed for thermographic analysis of solid-gas systems filtered through a layer of granular material, which was implemented on an installation that allows experiments with pellets in a gas flow with different oxygen contents, temperatures and heat treatment durations. It has been experimentally established that decarbonization of pellets occurs most completely and quickly in an atmosphere of inert monatomic gas, as well as in a mixture of gases that do not contain carbon dioxide. The data obtained are in good agreement with the data of thermodynamic analysis. Mineralogical studies were carried out on samples of magnetite fluxed pellets in a wide temperature range. The pellets were heated in accordance with a differential heating curve to certain temperatures, and then cooled in order to fix the structure formed by the time the specified temperature was reached. The results obtained on the considered processes of magnetite oxidation, decomposition of carbonates and formation of ferrites and silicates are in fairly good agreement with the data of the thermodynamic analysis. The results obtained in this work are of particular interest to specialists involved in the development of technologies that ensure the production of pellets with high metallurgical properties.
Full Text
1. ВВЕДЕНИЕ
Для изучения гетерогенных процессов, к которым относится и процесс окислительного обжига гранул из магнетитовых железорудных концентратов на конвейерной машине, применяют различные методы физико-химического анализа [1–6]. К этим методам обычно относят термодинамический [7–15], термографический [16–21], рентгенографический [22], минералографический [23–26] и др. Однако каждый из этих методов по отдельности не может обеспечить всестороннего освещения рассматриваемых явлений. В данной статье сделана попытка обобщить результаты изучения процесса окислительного обжига магнетитовых гранул с использованием термодинамического, термографического и минералогического методов.
2. ИЗУЧЕНИЕ ПРОЦЕССА ОКИСЛЕНИЯ ОФЛЮСОВАННЫХ ЖЕЛЕЗОРУДНЫХ ГРАНУЛ С ИСПОЛЬЗОВАНИЕМ ТЕРМОДИНАМИЧЕСКОГО, ТЕРМОГРАФИЧЕСКОГО И МИНЕРАЛОГИЧЕСКОГО МЕТОДОВ ИССЛЕДОВАНИЙ
Термодинамический метод. Железорудные окисленные гранулы представляют собой сложную многокомпонентную систему, состоящую из химических соединений, образующихся в том числе и в процессе окислительного обжига [27, 28]. Это затрудняет изучение физико-химических закономерностей процесса окислительного обжига, не позволяет однозначно оценить характер всех взаимодействий. Для приближенной оценки наиболее вероятных явлений проведен термодинамический анализ реакций, протекающих при окислительном обжиге магнетитовых офлюсованных гранул.
Основные реакции, проходящие при нагревании магнетитовых офлюсованных образцов в окислительной среде, можно представить следующими стехиометрическими уравнениями:
(1)
(2)
(3)
(4)
(5)
Реакция образования однокальциевого феррита в данном случае не рассматривается, так как она принципиально не отличается от реакции (5). Для протекания реакции (4) необходимо наличие свободного оксида кремния, в связи с чем эта реакция не получает заметного развития. Основными минералами, содержащими кремний в составе исходного концентрата, являются диопсид, гранат и эпидот [26], которые в точке плавления обладают низкой степенью диссоциации. Температуры плавления их достаточно высоки (1200–1390 °C). В условиях обжига железорудных гранул с небольшой добавкой огнеупорного материала, например, динаса, температуры плавления заметно снижаются.
По знаку изобарного потенциала Δz, найденного из уравнения изотермы химической реакции, обычно судят о направленности того или иного процесса [13]. Возможность протекания процесса в рассматриваемом направлении характеризуется соотношением Δz < 0. Таким образом, определив знак Δz и величину ΔzT0 из уравнения
, (6)
находят значение константы равновесия Кр при данной температуре.
Величину ΔzT0 определяют из выражения [13]:
(7)
где ΔH 0298 и ΔS 0298 – изменение энтальпии и энтропии при протекании реакции в стандартных условиях; ΔCp – изменение изобарной теплоемкости в результате химической реакции.
В последнее время для расчета ΔzT0 пользуются методикой, предложенной в работе [29]. По этой методике проведен расчет ΔzT0 основных реакций, протекающих при обжиге образцов. Полученные данные представлены в табл. 1, из которой видно, что в данной системе прежде всего произойдет окисление магнетита до гематита по реакции (1). Образующийся оксид железа (Fe2O3) начнет вступать в химическое взаимодействие с карбонатом кальция в интервале температур 773–873 К по реакции (2). Карбонат кальция начнет диссоциировать по реакции (3) при температуре, в условиях которой упругость диссоциации карбоната становится больше парциального давления углекислого газа в окружающей среде. Равновесное давление CO2 в газовой фазе, устанавливающееся по реакции (2), может быть найдено из выражения:
(8)
где Кр(2) – константа равновесия реакции (2).
Упругость диссоциации карбоната кальция составляет величину, определяемую соотношением
где Кр(3) – константа равновесия реакции (3).
Следовательно,
(9)
Таким образом, реакция (3) в прямом направлении протекать не может, а чтобы эта реакция пошла, необходимо повышение температуры.
Таблица 1. Значения изобарно-изотермического потенциала и константы равновесия реакции от температуры
Тип реакции | ΔzoT, lgK | Температура, К | ||||
373 | 673 | 973 | 1273 | 1573 | ||
2Fe3O4+0,5O2=3Fe2O3 | ΔzoT | –197 124 | –114 894 | –112 664 | –70 434 | –28 204 |
lgK | +27.58 | +2.01 | +6.04 | +2.88 | +0.90 | |
Fe2O3+2CaCO3=Ca2Fe2O5+2CO2 | ΔzoT | +176 742 | +10 442 | –35 510 | –139 816 | –241 686 |
lgK | –24.73 | –0.46 | +1.90 | +5.73 | +8.02 | |
CaCO3=CaO+CO2 | ΔzoT | +118 346 | +1652 | +26 931 | –16 057 | –57 567 |
lgK | –16.56 | –5.55 | –1.44 | +0.65 | +1.91 | |
2CaO+SiO2=Ca2SiO4 | ΔzoT | –128 591 | –129 931 | –131 468 | –133 034 | –134 470 |
lgK | +17.99 | +0.70 | +7.05 | +5.45 | +4.46 | |
2CaO+Fe2O3=Ca2Fe2O5 | ΔzoT | –51 324 | –50 973 | –66 423 | –77 690 | –89 489 |
lgK | +7.18 | +4.41 | +3.56 | +3.18 | +2.96 | |
Взаимодействие оксида кальция, получающегося по реакции (3), с диоксидом кремния по реакции (4) или оксидом железа по реакции (5) облегчает условия протекания процесса разложения карбоната. Таким образом, с одной стороны, начало протекания реакции (3) ограничивается протеканием реакции (2), в результате которой повышается парциальное давление углекислого газа в системе. С другой стороны, на реакцию (3) оказывают влияние реакции (4) и (5), в результате которых облегчаются процессы диссоциации карбоната кальция. В связи с отсутствием равновесных условий протекания процесса оценить количественно эти влияния не представляется возможным, можно говорить лишь о качественной оценке.
Термографический анализ, позволяющий получить информацию о фазовых превращениях исследуемых образцов, нашел широкое применение в различных отраслях промышленности, включая и металлургическую [16]. В промышленных условиях, например, на входе в слой на машинах ленточного типа скорость газового потока достигает 0.6–2.8 м/с и газ-теплоноситель фильтруется через слой обжигаемых гранул. Поэтому с целью приближения условий термографирования к условиям реальных процессов для исследования методом термографии гетерогенных реакций типа
(10)
где Т – твердое тело, Г – газ, была разработана методика анализа, позволяющая фильтровать через слой исследуемого твердого материала любой газообразный или легколетучий реагент (кислород, оксид и диоксид углерода, сернистый ангидрид) и инертный газ. Для исследования отдельных образцов эта методика термографического анализа систем твердое тело – газ (фильтрующийся через слой зернистого материала) ранее не применялась.
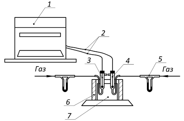
Опыты воспроизводящие процесс окислительного обжига проводили на установке (рис. 1), включающей пирометр 1 Курнакова ФПК-59, обжиговую печь сопротивления 6, блок 7 с двумя углублениями, в одно из них помещали сосуд 4 с исследуемым необожженным образцом, в другое – сосуд 3 с обожженным образцом, выполняющим роль инертного вещества. Оба образца шаровидной формы имели одинаковый диаметр, равный 10 мм. С целью равномерного распределения потока газа по сечению сосудов 3 и 4, его пропускали вначале через засыпку из кварцевого песка, после чего газ “омывал” исследуемые образцы. Таким образом, оба образца при проведении опыта находились в одинаковых тепловых условиях. Расход газа контролировали реометром 5 и поддерживали в пределах 10-4 м3/с. Скорость фильтрации газа при этом составляла 0.4–0.5 м/с. Замеры температуры осуществляли платинородий-платиновыми термопарами 2. Продолжительность опыта составляла 110 мин. Образцы нагревали вместе с печью в потоке газа с различным содержанием кислорода: 0; 11; 21; 100%; скорость нагрева образцов – 10 °С в минуту; анализ проб газа O2, CO2, N2 осуществляли с помощью хроматографа типа ХПА-4.
Рис. 1. Схема экспериментальной установки: 1 – пирометр Курнакова, 2 – термопары, 3 – сосуд с инертным веществом, 4 – реакционный сосуд с исследуемым образцом, 5 – реометр, 6 – печь сопротивления, 7 – блок.
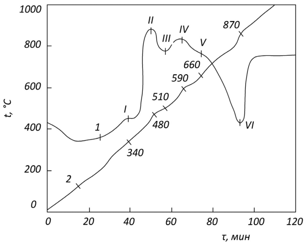
В ходе опытов были зафиксированы показания дифференциальной термопары, обработанные результаты измерений внесены в табл. 2. По данным этой таблицы построены кривые (рис. 2), иллюстрирующие зависимости продолжительности (τ, мин) и температуры превращений (°C) от содержания кислорода в газе-теплоносителе (O2, %). Из рисунка 2 видно, что при обработке образца в потоке гелия и смеси газов (15% CO2 и 85% N2), интервал времени от начала опыта до достижения максимальной интенсивности разложения карбонатов минимальный и составляет соответственно 91.25 и 89.60 мин. При введении кислорода в поток газа и дальнейшем повышении его содержания этот интервал увеличивается вплоть до содержания O2 в газовой фазе не менее 21%. При достижении концентрации кислорода в газе более 21% значение τ, (как и температура на кривой 1, рис. 2) начинает уменьшаться. Рост интервала времени на участке аб можно объяснить содержанием в газе диоксида углерода, который затормаживает процесс декарбонизации. Полученные данные свидетельствуют о том, что декарбонизация железорудных гранул наиболее быстро и полно происходит в атмосфере инертного одноатомного газа, а также в смеси газов, не содержащих CO2. В атмосфере, обогащенной кислородом, процесс декарбонизации также облегчается. Это хорошо согласуется с данными термодинамического анализа, так как действительно с уменьшением содержания CO2 в газе уменьшается и его парциальное давление, а следовательно, и температура, при которой начинается диссоциация карбоната. Влияние кислорода на процессы окисления здесь не рассматривается, так как оно будет рассмотрено в следующем разделе.
Рис. 2. Влияние состава газовой фазы на температуру (1) и промежуток времени (2), в течение которого наступает максимальная интенсивность процесса декарбонизации. Стрелки указывают на зависимость содержания кислорода от продолжительности термообработки и температуры.
Таблица 2. Температура и время, соответствующие процессам, происходящим в образцах при их обжиге в атмосфере
№ п/п | Состав атмосферы | Продолжительность опыта, мин | Скорость нагрева, °C/мин | Температура первого экзоэффекта, °C | Максимальная температура второго экзоэффекта, °C | Максимальная температура, третьего экзоэффекта, °C | Максимальная температура разложения карбоната, °C | Время протекания второго экзоэффекта, мин | Время протекания третьего экзоэффекта, мин | Время процесса разложения карбоната, мин |
1 | Воздух (21% O2) | 110 | 10 | 340 | 480 | 590 | 870 | 8.0 | 10.0 | 18.0 |
2 | Воздух, обогащенный кислородом (44% O2) | 110 | 10 | 365 | 485 | 585 | 865 | 8.5 | 10.7 | 15.0 |
3 | Кислород (100% O2) | 110 | 10 | 360 | 530 | 605 | 845 | 8.8 | 10.0 | 15.0 |
4 | Смесь газов (15% CO2; 85% N2) | 110 | 10 | 385 | – | – | 845 | – | – | 8.8 |
5 | Смесь газов (11% O2; 6% CO2; 83% N2) | 110 | 10 | 380 | 495 | 580 | 875 | 10.7 | 13.3 | 18.2 |
6 | Гелий (99.95% He) | 110 | 10 | – | – | – | 800 | – | – | 16.8 |
7 | Воздух (21% O2) Неофлюсованные образцы | 110 | 10 | 365 | 500 | – | – | – | – | – |
Примечание: пп. 1–6 – данные для офлюсованных образцов, п. 7 – неофлюсованных образцов.
Минералогические исследования офлюсованных образцов, нагревающихся в потоке воздуха в интервале температур 20–1100 °С проводили в отраженном свете в полированных срезах, соответствующих диаметральному сечению гранулы. На рис. 3 показана дифференциальная кривая нагревания гранулы. На ней отмечены точки, соответствующие температурам, до которых гранулы вначале были нагреты, а затем подвергнуты быстрому охлаждению в воде с целью фиксации структуры, сформировавшейся к моменту достижения заданной температуры.
Рис. 3. График изменения температуры образца (2) и показаний дифференциальной термопары (1) во времени при нагревании в потоке воздуха.
Исходные образцы были представлены обломочными зернами магнетита, частично окисленного по краям (при сушке концентрата) с образованием мартита, сростками нерудных зерен (диопсида, эпидота, граната) с магнетитом, единичными зернами пирита и значительно более крупными зернами известняка (рис. 4,а). При нагревании их до температуры 440 °С в них не отмечается каких-либо видимых изменений в структуре и составе. Данные химического анализа показывают незначительное уменьшение монооксида железа (табл. 3).
Рис. 4. Микроструктура исходного (а) и обожженных офлюсованных образцов, нагретых в потоке воздуха до 510 (б), 580 (в) и 660 °С (г): 1 – магнетит; 2 – гематит; 3 – кальцит; 4 – нерудные минералы; 5 – пирит Съемка в отраженном свете с увеличением микроскопа 150х.
Таблица 3. Изменение содержания монооксида железа в образцах при их нагревании
Температура, °C | Содержание FeO в гранулах, % |
В исходном состоянии | 24.53 |
440 | 21.40 |
480 | 18.95 |
510 | 18.08 |
520 | 17.84 |
580 | 13.01 |
660 | 9.91 |
900 (выдержка – 10 мин) | 5.27 |
1000 (выдержка – 5 мин) | 10.90 |
1000 (выдержка – 10 мин) | 4.58 |
1100 (выдержка – 3 мин) | 18.95 |
При более высокой температуре (480 °С) наблюдается появление точечных выделений гематита по краям отдельных зерен магнетита, что согласуется с данными термодинамического анализа реакции (1). Вероятно, окисление магнетита обусловливает появление экзотермического эффекта на дифференциальной кривой нагревания (см. рис. 3). В температурном интервале 510–520 °С почти на всех зернах магнетита можно наблюдать точечные выделения гематита. Происходит разрушение пирита в свободных зернах, включения его в нерудных зернах в данных условиях сохраняются. При этих температурах начинается разложение кальцита, что связано с появлением извести по граням его зерен и пористости в них (рис. 4,б). Начавшееся разложение карбоната соответствует перегибу на кривой нагревания.
В образцах, нагретых до 580 °С, процесс окисления развивается дальше. Гематит образует прерывистые каемчатые выделения в зернах магнетита по всему полю образца (рис. 4,в) с чем, вероятно, связано появление на дифференциальной кривой третьего экзотермического максимума.
С повышением температуры (660 °С) происходит дальнейшее разложение карбоната на границах зерен и увеличение пористости в образцах (рис. 4,г). Новообразования ферритов и силикатов кальция при этих температурах не наблюдается. Это подтверждается и термодинамическими данными, приведенными в табл. 1, из которых следует, что при этих температурах вероятность появления оксида кальция в результате разложения карбонатов незначительная. Начавшийся процесс разложения кальцита вызывает уменьшение интенсивности окисления магнетита. Для полной расшифровки кривой нагревания гранулы при более высоких температурах были исследованы образцы, нагретые до 900, 1000 и 1100 °С, и охлажденные после выдержки различной продолжительности. Образцы, нагретые до температуры 900 °С с десятиминутной выдержкой, характеризуются развитием решетчатой структуры замещения магнетита гематитом (рис. 5,а). Окисление начинается на поверхности образца, неокисленной остается незначительная часть центральной зоны гранулы. Увеличение продолжительности выдержки до 20 мин вызывает окисление во всем объеме образца. Разложение кальцита происходит с образованием извести и сохранением редких реликтовых зерен кальцита. Образования ферритов кальция не наблюдается. С разложением карбонатов связано появление пористости и трещиноватости.
Рис. 5. Микроструктура офлюсованных образцов, обожженных в потоке воздуха при температуре 900 °C с выдержкой 10 мин (а), 1000 °C с выдержкой 2 мин (б), 1000 °C с выдержкой 3 мин (в), 1000 °C с выдержкой 10 мин (г, д) и 19 мин (е): 1 – магнетит; 2 – гематит; 3 – исходные нерудные минералы; 4 – шлаковая масса; 5 – ферриты кальция; 6 – пирит. Съемка в отраженном свете с увеличением микроскопа 150х (а, в, г, д); 700х с масляной иммерсией (б).
Незначительное время выдерживания образцов при температуре 1000 °С (2 мин) и даже при 1100 °С (1 мин) не позволяет полностью завершиться процессам разложения карбонатов и сульфидов. В сульфидах сера частично выгорает, в результате чего зерна пирита приобретают пористое сотовое строение, оставшееся железо с поверхности окисляется до вюстита (рис. 5,б). При малой выдержке на поверхности образцов образуется окисленный слой незначительной толщины. Выделения вторичного гематита по магнетиту наблюдается в виде пятнистых и прерывистых каемчатых выделений по границам зерен магнетита.
Увеличение выдержки до 3 мин при температуре 1000 °С и 2 мин при 1100 °С вызывает рост степени окисления магнетита с образованием решетчатой структуры замещения его гематитом. Но окисление носит зональный характер, не внедряясь в зерно гранулы. Микроструктура сохраняется обломочная. Спекание в твердой фазе происходит на стыке зерен гематита с образованием тонких мостиков-перемычек. В центре образца начинается спекание в присутствии жидкой фазы, появившейся в связи с расплавлением силикатных минералов и образованием в отдельных участках шлакового расплава. При этих условиях отмечается образование ферритов кальция в твердой фазе на месте кусочков извести, появляющейся при разложении кальцита (рис. 5,в).
С увеличением продолжительности выдержки возрастает мощность окисленной зоны. В периферийной зоне гранулы, зерна магнетита окисляются полностью (рис. 5,г,д). Здесь развиты процессы твердофазного спекания вторичного гематита на стыке зерен. Рекристаллизация начинается при более длительной выдержке (1000 °С, 19 мин), но степень ее развития еще мала, чтобы вызвать достаточное упрочнение гранулы (рис. 5,е). Зерна силикатных минералов в окисленной зоне сохраняют свое обломочное строение или частично расплавляются, не вступая в реакцию с оксидом железа. В них можно наблюдать образование тонкодисперсных включений гематита. В магнетитовой зоне отмечается повсеместное образование ферритов кальция в твердой фазе, сохраняющих островное положение в поле магнетита и шлаковой силикатной массы (рис. 5,д). В магнетитовой зоне за счет расплавления силикатных минералов и реакционного взаимодействия между оксидами кремния, кальция и монооксида железа происходит образование оливинового шлакового расплава. Расплав пронизывает межзерновые промежутки магнетита, но на месте нахождения силикатного минерала образуются шлаковые поля с сохранением реликтов нерасплавленных зерен этих минералов (рис. 5,д). С развитием шлакового расплава в центре образца поры закрываются, постепенно приобретая округлую форму. В гематитовой зоне сохраняются открытые поры характерной извилистой, неправильной формы. При 19-ти минутной выдержке (1000 °C) магнетит полностью окислен во всем объеме образца (рис. 5,е).
Изложенное выше позволяет охарактеризовать ход процесса минералообразования (при нагревании гранул от 20 до 1100 °C) следующим образом. В образцах происходит последовательное окисление магнетита по границам зерен, что проявляется сначала в виде точечных выделений гематита по краям отдельных зерен магнетита (480 °C), далее – в виде прерывистой каймы по всему полю гранулы (580 °C), а при дельнейшем повышении температуры (до 900 °C) – в виде решетчатых структур частичного замещения магнетита гематитом и сплошного замещения при температуре 1100 °C. Наблюдаемые экзотермические эффекты на кривой нагревания образцов связаны с различными стадиями окисления магнетита.
Первые признаки разложения кальцита по границам зерен до CaO наблюдаются уже при температуре 520 °C, хотя заметное образование ферритов кальция в твердой фазе при взаимодействии извести с оксидом железа отмечается только при 1000 °C. Разложение сульфидов происходит в интервале температур 510–580 °C, но при высокой скорости нагрева и кратковременной выдержке (1–2 мин). Сульфиды сохраняются и при 1000–1100 °C; они приобретают пористое строение и замещаются по краям зерен вюститом.
Начало спекания в твердой фазе на стыке зерен вторичного гематита и образование расплава происходит при 1000 °C (выдержка – 5 мин) и 1100 °C (выдержка 3 мин). С дальнейшим увеличением продолжительности выдержки или повышением температуры нагрева эти процессы получают более широкое развитие.
3. ЗАКЛЮЧЕНИЕ
Для получения более детальной информации о процессах, протекающих при нагревании магнетитовых офлюсованных гранул, проведен комплексный физико-химический анализ, включающий термодинамический, термографический и минералографический методы исследования. Рассмотрены основные реакции, имеющие место при обжиге гранул, главной из которых является реакция окисления магнетита, степень завершенности которой и определяет их конечные свойства. Полученные результаты могут быть использованы при разработке технологий, обеспечивающих получение гранул из магнетитовых офлюсованных концентратов с требуемыми высокими свойствами и которые могут быть использованы в доменных печах при выплавке чугуна.
About the authors
B. P. Yur’ev
Federal State Autonomous Educational Institution of Higher Education “Ural Federal University named after the first President of Russia B.N.Yeltsin”
Author for correspondence.
Email: yurev-b@mail.ru
Russian Federation, Ekaterinburg
V. A. Dudko
Federal State Autonomous Educational Institution of Higher Education “Ural Federal University named after the first President of Russia B.N.Yeltsin”
Email: yurev-b@mail.ru
Russian Federation, Ekaterinburg
References
- B.B. Tanganov, Fiziko-himicheskie metody analiza, Ulan-Ude: Vostochno-Sibirskij gosud. tekhnol. un-v (2009).
- V.I. Lucik, A.E. Sobolev, Yu.V. Chursanov, Fiziko-himicheskie metody analiza, Tver’: Tv GTU (2014).
- S.I. Filippov, P.P. Arsent’ev, Fiziko-himicheskie metody issledovaniya metallurgicheskih processov, M.: Metallurgiya (1968).
- A.G. Morachevskij, E.G. Firsova, Fizicheskaya himiya. Geterogennye sistemy, SPb: Lan’ (2015).
- B.P. Yur’ev, V.A. Dudko, Russian Journal of Physical Chemistry B 16, 31–38 (2022). https://doi.org/10.1134/S1990793122010171
- B.P. Yur’ev, V.A. Dudko, Russian Journal of Physical Chemistry B, 17, 60–67 (2023). https://doi.org/10.1134/S199079312301030X
- M.V. Tsvetkov, V.M. Kislov, Yu.Yu. Tsvetkova, et al., Russian Journal of Physical Chemistry B 16, 711–716 (2022). https://doi.org/10.1134/S1990793122040315
- L.A. Wasserman, A.V. Krivandin, I.G. Plashchina, et al., Russian Journal of Physical Chemistry B 16, 141–174 (2022). https://doi.org/10.1134/S1990793122010328
- A.G. Anikin, G.M. Dugacheva, Doklady Akademii nauk, 135 (3), 634–637 (1960).
- G.A. Kurilenko, Izv. Tomskogo politekhn. un-ta, 326 (3), 105–110 (2015).
- G.V. Belov, Tekhnicheskaya termodinamika, M.: Yurajt (2023).
- L.K. Aminov, Termodinamika i statisticheskaya fizika. Konspekty lekcij i zadachi, Kazan’: Kazan. un-t (2015).
- V.N. Korolev, E.M. Tolmachev, Tekhnicheskaya termodinamika, Ekaterinburg: UGTU-UPI (2007).
- V.V. Budanov, A.I. Maksimov, Himicheskaya termodinamika, SPb: Lan’ (2017).
- Yu.D. Gamburg, Himicheskaya termodinamika, M.: Laboratoriya znanij (2017).
- Yu.J. Golovin, A.J. Tyurin, D.Yu. Golovin, Inorganic materials, 55 (15), 1445–1453 (2019). https://doi.org/10.1134/S0020168519150068
- G.A. Kurilenko, S.A. Valerik, Vestnik Sib. gos. un-ta geosistem i tekhnologij, 22 (2), 252–259 (2017).
- Zh. Gossorg, Infrakrasnaya termografiya. Osnovy, tekhnika, primenenie, M.: Mir (1988).
- V.S. Gorshkov, Termografiya stroitel’nyh materialov, M.: Strojizdat (1968).
- V.A. Drozdov, V.I. Suharev, Termografiya v stroitel’stve, M.: Strojizdat (1987).
- L.G. Berg, Vvedenie v termografiyu, M.: Nauka (1969).
- V.A. Finkel’, Nizkotemperaturnaya rentgenografiya metallov, M.: Metallurgiya (1971).
- A.I. Ginzburg, Metody mineralogicheskih issledovanij, M.: Nedra (1985).
- Sovremennye metody mineralogicheskogo issledovaniya. Chast’ 1 / Ed. E.V. Rozhkova, M.: Nedra (1969).
- V.V. Shipcov, Novye metody tekhnologicheskoj mineralogii pri ocenke rud metallov i promyshlennyh mineralov, Petrozavodsk: Kar NC RAN (2009).
- O.V. Yancer, Osnovy mineralogii, kristallografii i petrografii, Ekaterinburg: Izd-vo UrGPU (2014).
- B.P. Yur’ev, L.B. Bruk, N.A. Spirin i dr., Osnovy teorii processov pri obzhige zhelezorudnyh okatyshej, Nizhnij Tagil: NTI (filial) UrFU (2018).
- B.P. Yur’ev, V.A. Dudko, Stal’, 11, 2 – 8 (2022).
- V.I. Babushkin, G.M. Matveev, O.P. Mchedlov-Petrosyan, Termodinamika silikatov, M.: Strojizdat (1986).
Supplementary files







