INFLUENCE OF STRONTIUM ADDITION ON OXIDATION KINETICS OF INDUSTRIAL CAST ALUMINUM ALLOYS AL2, AL4 AND AL9
- Authors: Olimov N.S.1, Ganiev I.N.2, Shirinov M.C.1
-
Affiliations:
- Tajik State Pedagogical University named after S. Aini
- Institute of Chemistry named after V.I. Nikitin National Academy of Sciences of Tajikistan
- Issue: No 3 (2023)
- Pages: 274-286
- Section: Articles
- URL: https://medbiosci.ru/0235-0106/article/view/138685
- DOI: https://doi.org/10.31857/S0235010623030064
- EDN: https://elibrary.ru/PSHMPN
- ID: 138685
Cite item
Full Text
Abstract
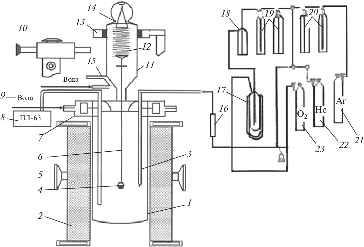
When melting cast aluminum alloys, their waste is observed, or more precisely, oxidation by the gas phase of the furnace. To select the optimal regime for melting alloys, it is necessary to know the physicochemical laws of this process, which are little studied. To study the kinetics of oxidation of metal melts, the method of continuous sample weighing is used, which is usually used in the study of high-temperature corrosion of solid metals. The mechanism of interaction of liquid metals with oxygen is similar in nature to high-temperature gas corrosion of solid metals. In both cases, adsorption of gas molecules on the metal surface, nucleation, and then growth of an oxide film take place. The kinetics of oxidation of strontium-modified AL2, AL4, and AL9 melts with atmospheric oxygen was studied by thermogravimetry. It is shown that the addition of strontium up to 0.1 wt % increases the oxidizability of melts. An increase in temperature promotes an increase in the rate of oxidation of these melts. The process of oxidation of the investigated melts obeys the parabolic law. The true rate of oxidation is on the order of 10–4 kg/m2 · s. The apparent activation energy of oxidation, depending on the amount of modifiers in the alloys, is: for AL2 alloy – 56.52–43.75, for AL4 alloy 59.74–37.09, for AL9 alloy 61.40–39.90 kJ/mol. The mechanism of influence of strontium on the kinetics of oxidation of melts AL-2, AL4 and AL9 has been established. Aluminum oxide Al2O3 plays a dominant role in the formation of a protective oxide film.
About the authors
N. S. Olimov
Tajik State Pedagogical University named after S. Aini
Email: ganievizatullo48@gmail.com
Tajikistan, Dushanbe
I. N. Ganiev
Institute of Chemistry named after V.I. Nikitin National Academyof Sciences of Tajikistan
Author for correspondence.
Email: ganievizatullo48@gmail.com
Tajikistan, Dushanbe
M. Ch. Shirinov
Tajik State Pedagogical University named after S. Aini
Email: ganievizatullo48@gmail.com
Tajikistan, Dushanbe
References
- Stroganov G.B., Rotenberg V.A., Gershman G.B. Splavy alyuminiya s kremniyem [Alloys of aluminum with silicon]. M.: Metallurgiya, 1977. [In Russian].
- Yershov G.S., Chernyakov V.A. Stroyeniye i svoystva zhidkikh i tvordykh metallov [Structure and properties of liquid and solid metals]. M. Metallurgiya, 1978. [In Russian].
- Luts A.R., Suslina A.A. Alyuminiy i yego splavy [Aluminum and its alloys]. Samara: Izd. Samarskiy Gosudarstvennyy tekhnicheskiy universitet. 2013. [In Russian].
- Zolotarevskiy V.S., Belov N.A. Metallovedeniye liteynykh alyuminiyevykh splavov [Metal science of cast aluminum alloys]. M.: Izd-vo MISiS. 2005. [In Russian].
- Beletskiy V.I., Kirov G.A. Alyuminiyevyye splavy (sostav, svoystva, tekhnologiya, primeneniya) [Aluminum alloys (composition, properties, technology, applications)]: spravochnik pod obshchey redaktsiyey akademika I.N. Fridlyandera. Kiyev: KOMINTEKH. 2005. [In Russian].
- Ganiev I.N., Vakhobov A.V., Dzhurayev G.D., Kalyayeva V.G. Modifitsirovaniye Al–Si-splavov strontsiyem [Modification of Al–Si alloys with strontium] // Liteynoye proizvodstvo. 1975. № 1. P. 33–34. [In Russian].
- Kutsenok N.L., Andrushevich A.A., Ganiev I.N., Yanchuk V.N. Tekhnologicheskiye osobennosti modifitsirovaniya siluminov alyuminiy-strontsiyevymi ligaturami [Technological features of modifying silumins with aluminum-strontium ligatures] // Tekhnologiya avtomobilestroyeniya. 1983. № 8. P. 7–10. [In Russian].
- Zalinova I.M., Gudchenko A.P., Aleyev R.N., Panov L.B. Vliyaniye strontsiya i natriya na poverkhnostnoye natyazheniye siluminov [Influence of strontium and sodium on the surface tension of silumins] // Liteynoye proizvodstvo. 1975. № 2. P. 23–24. [In Russian].
- Olimov N.S.Ganiev I.N., Shirinov M.Ch., Okisleniya splavov sistemy AI–Ge v zhidkom sostoyanii [Oxidation of alloys of the AI–Ge system in a liquid state] // Rasplavy. 2015. № 4. P. 19–26. [In Russian].
- Lepinskikh B.M., Kitashev A.S., Belousov A.A. Okisleniye zhidkikh metallov i splavov [Oxidation of liquid metals and alloys]. M.: Nauka, 1973. [In Russian].
- Lepinskikh B.M., Kiselov V.M. Ob okislenii zhidkikh metallov kislorodom iz gazovoy fazy [On the oxidation of liquid metals by oxygen from the gas phase]. // Izv. An SSSR. Metally. 1974. № 5. P. 51–54. [In Russian].
- Nazarov Sh.A., Ganiev I.N., Eshov B.B., Ganieva N.I. Kinetika okisleniya splava Al + 6 % Li, modifitsirovannogo tseriyem [Oxidation kinetics of Al + 6% Li alloy modified with cerium] // Metally. 2018. № 3. P. 33–38. [In Russian].
- Ganiev I.N., Ganieva N.I., Eshova D.B. Osobennosti okisleniya alyuminiyevykh rasplavov s redkozemel’nymi metallami [Features of the oxidation of aluminum melts with rare earth metals] // Metally. 2018. № 3. P. 39–47. [In Russian].
- Al’tman M.B., Stromskaya N.P. Povysheniye svoystv standartnykh liteynykh alyuminiyevykh splavov [Improving the properties of standard cast aluminum alloys]. M.: Metallurgiya. 1984. [In Russian].
Supplementary files






