Solubility of cerium in melts (NaCl–KCl)–CeCl₃ at a temperature of 850°С
- Authors: Shishkin V.Y.1, Ivenko V.M.1
-
Affiliations:
- Institute of High-Temperature Electrochemistry, Ural Branch of the RAS
- Issue: No 1 (2024)
- Pages: 60-66
- Section: Articles
- URL: https://medbiosci.ru/0235-0106/article/view/256463
- DOI: https://doi.org/10.31857/S0235010624010052
- ID: 256463
Cite item
Full Text
Abstract
Molten mixtures of chlorides of alkali and polyvalent metals have found wide application in the electrolytic refining of a number of metals, such as plutonium. The current efficiency in such processes depends on many factors, among which the most significant are the corrosion resistance of products made of ceramic materials in contact with melts, as well as the solubility of the metal to be purified in melts containing its chloride. Thus, when carrying out refining electrolysis to purify liquid cerium in a molten equimolar mixture of sodium and potassium chlorides with an initial concentration of cerium trichloride of 3 mol. %, it was possible to obtain a maximum current efficiency of 63%. It was shown that a significant part of the losses is due to the release of alkali metal and the dissolution of metallic cerium. There are no data on the solubility of a (polyvalent) metal in molten salt compositions containing its chloride in the literature. Therefore, the purpose of this work was to determine the solubility of metallic cerium in the (NaCl–KCl)–CeCl₃ melt at an electrolysis temperature of 850°C. An installation was created to determine the solubility of cerium with sampling of the salt melt without access to oxidizers. This was achieved by pouring the salt melt from the beaker, where the melt was saturated with cerium, into an external beaker without opening the device. It is shown that the solubility of cerium drops sharply with a decrease in the concentration of cerium trichloride and can be approximated by the equation: NCe = 1.67∙10–5∙x3–9.62∙10–4∙x2 + 4.50∙10–2∙x, NCe in mol. %, and x is the concentration of cerium trichloride in the melt in mol. %.
Keywords
Full Text
ЭКСПЕРИМЕНТАЛЬНАЯ ЧАСТЬ
В работе использовали электролитический церий марки ЦеЭ-0 с содержанием основного металла 99.8 мас.%. Основные примеси — лантан, неодим и железо. В качестве контейнеров для солевого расплава и жидкого церия использовали тигли из молибдена марки МЧ. Все остальные части прибора изготовлены из нержавеющей стали 12Х18Н9Т.
Компоненты солевой композиции готовили по известным методикам. Соответствующий хлорид щелочного металла марки “х.ч.” сушили под вакуумом с постепенным повышением температуры и сплавляли на воздухе в кварцевой пробирке. На заключительном этапе использовали зонную плавку [1].
Трихлорид церия синтезировали из его диоксида в несколько этапов. На первом этапе продукт, полученный после однократного хлорирования четыреххлористым углеродом, растворяли в воде, отделяя не прореагировавший оксид и оксихлорид церия; раствор упаривали на водяной бане до образования кристаллогидрата CeCl3∙4.5H2O, который снова хлорировали [2].
Полученный хлорид контролировали на остаточное содержание оксидных примесей. Содержание основного вещества было не менее 99.8 мас.%. Взвешивание молибденовых тиглей, распорок, солей и церия проводили на аналитических весах до четвертого знака после запятой.
Хлорид церия предварительно взвешивали в стеклянном бюксе, который затем взвешивали на воздухе на аналитических весах. После этого все операции по загрузке реактивов в молибденовый тигель проводили в сухом перчаточном боксе в атмосфере азота. Готовые к эксперименту тигли с загруженными ингредиентами закрывали крышкой из тантала, далее помещали крышку из титана марки ВТ1, служащую дополнительным геттером для поглощения остаточного кислорода. Все это помещали в контейнер из нержавеющей стали, который накрывали крышкой из нержавеющей стали с необходимыми приспособлениями для вакуумирования и запуска инертного газа и вынимали из бокса. Крышку сразу приваривали к контейнеру с помощью аргонно-дуговой сварки, и весь прибор вакуумировали.
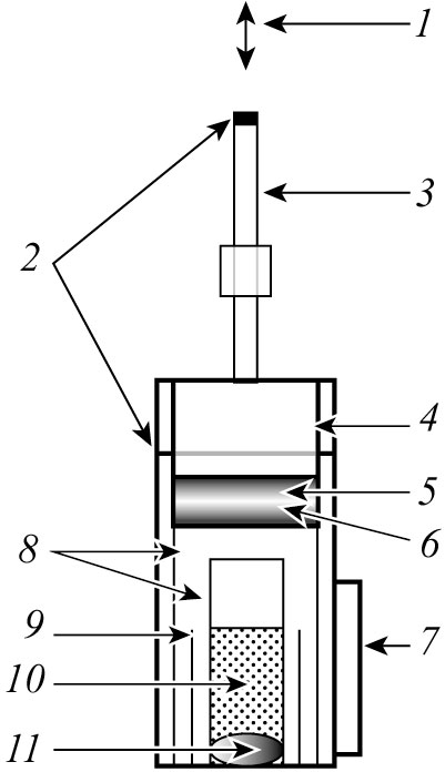
При достижении вакуума порядка 1 Па прибор прогревали до температуры ~300°C, охлаждали при откачке и в него запускали аргон, создавая давление 300 ГПа. Прибор герметизировали при этом давлении с помощью аргонно-дуговой сварки. В собранном состоянии прибор показан на рис. 1.
Рис. 1. 1 — Вакуумирование, вход аргона; 2 — места сварки; 3 — тонкостенная трубка; 4 — вкладыш; 5 — титановая крышка; 6 — танталовая крышка; 7 — карман для термопары; 8 — молибденовые тигли; 9 — молибденовые распорки; 10 — солевой расплав; 11 — церий.
Для предохранения от окисления верхней тонкостенной трубки на верхнюю часть прибора наваривали предохранительный стакан, в котором после его приварки создавали атмосферу аргона. Прибор помещали в печь сопротивления и нагревали до 850°C. Чтобы свести к минимуму потери металлического церия за счет реакции с выделением щелочного металла, прибор содержали в изотермических условиях, препятствующих конденсации образующегося щелочного металла на холодных частях.
После выдержки прибора при 850°C 8 ч печь вместе с ним наклонялась на определенный угол, при этом часть солевого расплава из внутреннего молибденового тигля выливалась в наружный тигель (таким образом отбиралась «проба» солевого расплава, насыщенного церием), затем прибор возвращали в исходное положение и в течение нескольких секунд вынимали из печи и закаляли в воде при комнатной температуре.
Необходимый угол наклона определяли при комнатной температуре. Для этого известное количество воды помещали во внутренний тигель и опытным путем устанавливали, при каком наклоне выльется оптимальное количество. Обычно по расчету в тигле должно было оставаться не менее 1.5–2 см3 жидкости.
Прибор вскрывали и сразу взвешивали на аналитических весах все содержащиеся в нем части, определяя количество вылившегося расплава. Внутреннюю часть ячейки из нержавеющей стали промывали водой и полученный раствор анализировали на щелочность для определения количества выделившегося щелочного металла.
Внешний молибденовый тигель, молибденовые распорки заливали известным количеством разбавленной соляной кислоты. Ее брали с избытком, чтобы полностью растворить выпавший при охлаждении расплава растворенный в нем церий.
После полного растворения соли и прекращения взаимодействия выделившегося из расплава церия с кислотой тигель и распорки споласкивали дистиллированной водой и объем раствора доводили до 250 см3. Этот раствор использовали для определения остаточной кислотности, а затем — общей концентрации церия в растворе.
Кислотность определялась титрованием раствором щелочи известной концентрации с индикатором метилоранж, а общее количество церия — титрованием трилоном Б по известной методике [3–4], а также методом эмиссионного спектрального анализа с индуктивно-связанной плазмой на приборе Optima 4300DV фирмы Perkin Elmer (США).
Предварительно титрование кислых растворов щелочными было отработано на модельных растворах, солевой состав которых был близок к реальным, а металлический церий добавляли в виде небольших добавок, отделенных от зачищенного от окисной пленки в атмосфере сухого азота кусочка металлического церия [5].
Заметное количество щелочного металла было обнаружено только в эксперименте с самым разбавленным по трихлориду составом (10 мол. %), и даже в этом случае учет количества церия, потраченного на его образование, не оказал существенного влияния на значение концентрации растворенного в расплаве металлического церия.
Целью экспериментов было изучение растворимости церия в зависимости от концентрации трихлорида в расплаве при постоянной температуре 850оС. Она одинакова с температурой рафинирования церия и температурой коррозионных исследований. В опытах старались поддерживать близкими начальную массу металла, количество солевой смеси хлоридов натрия и калия и время эксперимента.
Зависимость растворимости церия от концентрации его трихлорида в расплаве при температуре 850оС показана на рис. 2.
Она может быть описана полиномом третьей степени с погрешностью аппроксимации
где NCe — концентрация растворенного церия в мол. %, а х — концентрация трихлорида церия в расплаве в мол. %.
Растворимость церия в индивидуальном трихлориде церия близка к растворимости из фазовой диаграммы Мелорса и Сэндерова [6] и равна 11.6 мол. %. Эта точка на фазовой диаграмме относится к двухфазной области, и относящийся к ней равновесный состав содержит раствор трихлорида церия в церии. По составу он близок к церию (< 1 мол. % трихлорида), а значит, и по плотности (мольному объему) — тоже.
При сливании верхней части расплава рассчитывали так, чтобы оставался объем расплава приблизительно в 1.5–2 раза больше, чем расчетный объем расплава на основе церия. Так как в наших экспериментах определялась концентрация как растворившегося церия, так и всего, перераспределение трихлорида церия между солевой и металлической фазами не влияло на определение растворимости церия.
В литературе до сих пор нет единого мнения о природе данных растворов. Растворение церия за счет образования низших валентностей многие отвергают, так как энергия Гиббса образования хлорида и дихлорида считается положительной [7].
Однако растворимость церия в его трихлориде значительна, и электроны растворенного церия формально понижают среднюю валентность церия в расплаве. Мы придерживаемся мнения Бредига, что электроны, поставляемые в расплав, менее связаны, чем обычно при образовании хлорида или дихлорида.
Бредиг сравнивает растворы церия (и лантана) с растворами щелочных металлов в их галогенидах [8]. В качестве аргумента он приводит зависимость электропроводности трихлорида церия от количества растворенного в нем церия и схожесть фазовых диаграмм, хотя природа растворов щелочных металлов недостаточно ясна [9], как и мнения о природе растворов церия в галогенидных расплавах щелочных металлов с церием и его трихлоридом и косвенно — о растворимости церия за счет “образования” дихлорида церия [10–13].
Рис. 2. Растворимость металлического церия в солевом расплаве (NaCl–KCl)–CeCl₃ в зависимости от концентрации его трихлорида при 850оС.
Из рис. 2 следует несомненная связь растворимости церия с количеством трихлорида церия в расплаве. Добавка галогенидов щелочных металлов к трихлориду церия существенно уменьшает растворимость церия в расплаве. По-видимому, это происходит за счет образования комплексов галогенидов щелочных металлов и трихлорида церия, что затрудняет образование связей ионов церия с растворенными ионами церия.
Если образование комплексов трихлорида церия с хлоридами натрия и калия влияет на растворимость церия, то образование комплексов с хлоридом цезия должно еще больше понизить растворимость церия. При концентрациях трихлорида церия, используемых при электролизе, растворимость церия менее 1 мол. %. Однако такие малые, на первый взгляд, величины растворенного металла способны обеспечить необходимый массоперенос от его поверхности, например на катоде, к стенкам керамического контейнера для обеспечения успешного протекания реакции коррозии, даже в отсутствие заметных количеств растворенного в расплаве щелочного металла. Это наглядно доказывается сплавообразованием целого ряда металлов в расплавленных солевых средах по “бестоковому” механизму [14–15].
ВЫВОДЫ
Изготовлена установка для измерения растворимости металлического церия, которая позволяет во время эксперимента в изотермических условиях без доступа окислителей в расплав проводить дозированный отбор пробы расплава.
Полученные значения растворимости церия в индивидуальном трихлориде церия близки к данным Мелорса и Сэндерова и равны при температуре 850оС 11.6 мол. %.
Видно, что растворимость церия зависит от содержания в расплаве трихлорида церия.
Растворимость церия заметно убывает с уменьшением концентрации трихлорида церия и при концентрации трихлорида около 10 мол. % (концентрации, используемые при электролизе) составляет 0.3 мол. % церия.
Высказано предположение, что на растворимость церия влияет образование комплексов трихлорида церия с галогенидами щелочных металлов, а добавки хлорида цезия в расплавы должны еще больше уменьшать растворимость церия.
About the authors
V. Yu. Shishkin
Institute of High-Temperature Electrochemistry, Ural Branch of the RAS
Author for correspondence.
Email: V.Ivenko@ihte.uran.ru
Russian Federation, Yekaterinburg
V. M. Ivenko
Institute of High-Temperature Electrochemistry, Ural Branch of the RAS
Email: V.Ivenko@ihte.uran.ru
Russian Federation, Yekaterinburg
References
- Shishkin V. Yu., Mityayev V.S. Ochistka galogenidov shchelochnykh metallov metodom zonnoy plavki [Purification of alkali metal halides by zone melting method] // Izv. AN SSSR. Neorgan. Materialy. 1982. 18. № 11. P. 1917–1918. [In Russian].
- Revzin G. Ye. Bezvodnyye khloridy redkozemel’nykh elementov i skandiya [Anhydrous chlorides of rare earth elements and scandium // In: Metody polucheniya khimicheskikh reaktivov i preparatov. 1967. № 16. P. 124–129. [In Russian].
- Korostelev P.P. Fotometricheskiy i kompleksometricheskiy analiz v metallurgii [Photometric and complexometric analysis in metallurgy]. M.: Metallurgiya, 1984. [In Russian].
- Yurist I.M., Talmud M.M. Selektivnoye kompleksonometricheskoye titrovaniye [Selective complexometric titration]. M.: Nauka, 1993. [In Russian].
- Babko A.K., Pyatnitskiy I.V. Kolichestvennyy analiz [Quantitative analysis]. M.: Vysshaya shkola. 1962. [In Russian].
- Melors G., Senderoff S. The phase diagram of the cerium — cerium trichloride system. // J. Phys. Chem. 1959. 63. P. 1110–1112.
- Novikov G.I., Polyachenok O.G. Galogenidy redkozemel’nykh elementov nizshey stepeni okisleniya [Halides of rare earth elements of the lowest oxidation state] // Uspekhi khimii. 1964. XXXIII. № 6. P. 732–747. [In Russian].
- Bredig M.A. Mixtures of metals with molten salts // Molten salts chemistry. 1964. P. 367–425.
- Smirnov M.V., Chebotin V.N., Kudyakov V. Ya., Loginov N.A. Elektronnyye perekhody mezhdu chastitsami v nestekhiometricheskikh ionnykh rasplavakh [Electronic transitions between particles in non-stoichiometric ionic melts] // Elektrokhimiya. 1977. XIII. № 5. P. 754–758. [In Russian].
- Smirnov M.V., Sokolovskiy Yu.S., Krasnov Yu.N. Ravnovesiye mezhdu tseriyem i yego dvukh- i trekhvalentnymi ionami v rasplavlennoy evtekticheskoy smesi khloridov litiya i kaliya [Equilibrium between cerium and its di- and trivalent ions in a molten eutectic mixture of lithium and potassium chlorides] // Tr. In-ta elektrokhimii UF AN SSSR. 1964. № 5. P. 7–16. [In Russian].
- Smirnov M.V., Ilyushchenko N.G., Komarov V. Ye. et al. Sposobnost’ rasplavlennykh shchelochnykh galogenidov vstupat’ v khimicheskiye reaktsii, prisushchiye metallam, nakhodyashchimsya v kontakte s nimi [The ability of molten alkali halides to enter into chemical reactions inherent in metals in contact with them] // In: Rasplavlennyye i tverdyye elektrolity. Sverdlovsk: UNTS AN SSSR. 1979. P. 34–38. [In Russian].
- Vasin B.D., Ivanov V.A., Naritsyn A.V. et al. Korroziya redkozemel’nykh metallov tseriyevoy gruppy v rasplavakh ekvimol’noy smesi khloridov natriya i kaliya [Corrosion of rare earth metals of the cerium group in melts of an equimolar mixture of sodium and potassium chlorides] // Rasplavy. 1998. № 6. P. 76–80. [In Russian].
- Tkatcheva O., Red’kin A., Shishkin V., Khokhlov V. Electrical conductivity of molten system KCl–CeCl3–Ce // High Temp. Material Processes. 1998. 2. № 4. p. 581–586.
- Ilyushchenko N.G., Anfinogenov A.I., Shurov N.I. Vzaimodeystviye metallov v ionnykh rasplavakh [Interaction of metals in ionic melts]. M.: Nauka, 1991. [In Russian].
- Kovalevskiy A.V., Soroka V.V. Reaktsionnaya yemkost’ galogenidnykh rasplavov, vyderzhannykh v kontakte s metallami [Reaction capacity of halide melts kept in contact with metals] // Rasplavy. 1988. 2. № 6. P. 28–32. [In Russian].




