Development of Methods for Optimization and Machine Design of the Connecting Unit of Oil-Field Equipment
- Authors: Ragimova M.S.1
-
Affiliations:
- Azerbaijan State University of Oil and Industry
- Issue: No 4 (2023)
- Pages: 71-74
- Section: НАДЕЖНОСТЬ, ПРОЧНОСТЬ, ИЗНОСОСТОЙКОСТЬ МАШИН И КОНСТРУКЦИЙ
- URL: https://medbiosci.ru/0235-7119/article/view/137602
- DOI: https://doi.org/10.31857/S0235711923040120
- EDN: https://elibrary.ru/XWMHRQ
- ID: 137602
Cite item
Full Text
Abstract
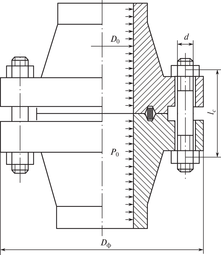
It was determined experimentally that to provide complete sealing, the value of the contact pressure on the sealing surface must be three times greater than the internal pressure. The tightness of flange connections is provided by creating the necessary pressure on the sealing surfaces of the flanges. Moreover, the required specific pressure is created in the seals by tightening the bolts fastening the flanges. The amount of leakage is influenced by the surface roughness and the accuracy of the manufacturing of the sealing elements.
Keywords
About the authors
M. S. Ragimova
Azerbaijan State University of Oil and Industry
Author for correspondence.
Email: rahimova_mahluqa@mail.ru
Baku, Azerbaijan
References
- Рагимова М.С. Вопросы обеспечения плотности и герметичности фланцевых соединений // Автоматизация, телемеханизация и связь в нефтяной промышленности. 2020. № 11 (568). С. 43.
- Мордвинов А.А., Захаров А.А., Миклина О.А., Полубоярцев Е.Л. Устьевое оборудование фонтанных и нагнетательных скважин: Методические указания. Ухта: УГТУ, 2004. 31 с.
- Kondakov L.A. et al. Sealing and sealing equipment: Handbook. M.: Machine building, 1994. 445 p.
- Даффин Р., Питерсон Э., Денер В. Геометрическое программирование. М.: Мир, 1972. 311 с.
- Хазов Б.Ф., Дидусев Б.A. Справочник по расчету надежности машин на стадии проектирования. Москва: “Машиностроение”, 1986. 224 с.
- Реклейтис Г., Рейвиндран А., Регдель К. Оптимизация в технике. В 2-х кн. Кн. 2 / Пер. с англ. М.: Мир, 1986. 320 с.
Supplementary files



