Dynamic Control of the Efficiency of Mechanic Cutting of Material
- Authors: Egorov A.V.1,2, Shram V.G.3, Kaizer Y.F.3, Zhelukevich R.B.3, Lysyannikov A.V.3, Bezborodov Y.N.3, Kuznetsov A.V.4, Kuz’min A.V.4
-
Affiliations:
- Sarov Physical and Technical Institute
- Volga State University of Technology
- Siberian Federal University
- Krasnoyarsk State Agrarian University
- Issue: No 5 (2023)
- Pages: 3-6
- Section: НАДЕЖНОСТЬ, ПРОЧНОСТЬ, ИЗНОСОСТОЙКОСТЬ МАШИН И КОНСТРУКЦИЙ
- URL: https://medbiosci.ru/0235-7119/article/view/141771
- DOI: https://doi.org/10.31857/S0235711923050048
- EDN: https://elibrary.ru/UVNYAE
- ID: 141771
Cite item
Full Text
Abstract
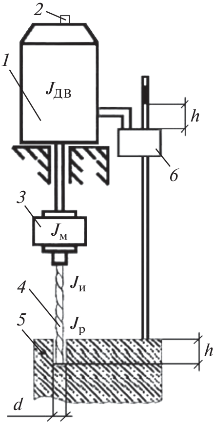
Solution to the problem of improvement in the efficiency of material cutting equipment is an important task in the development of modern mechanical engineering and related areas of science and technology. Various material cutting methods are available at present: mechanical, hydromechanical (hydroabrasive), electrical discharge, plasma, laser, and others. Further improvement in the efficiency of the operation of material cutting equipment is related to the development of rapid methods and tools for monitoring the efficiency of cutting processes. The existing strain gauge means for monitoring the cutting power of materials are limited by the output signal frequency of up to 100 kHz. High-speed control of the efficiency of cutting processes can be carried out on the basis of the developed dynamic method and traditional controls of high-performance material processing equipment with an output signal frequency of up to 1 MHz.
Keywords
About the authors
A. V. Egorov
Sarov Physical and Technical Institute; Volga State University of Technology
Email: Shram18rus@mail.ru
607186, Sarov, Russia; 424000, Yoshkar-Ola, Russia
V. G. Shram
Siberian Federal University
Email: Shram18rus@mail.ru
660049, Krasnoyarsk, Russia
Yu. F. Kaizer
Siberian Federal University
Email: Shram18rus@mail.ru
660041, Krasnoyarsk, Russia
R. B. Zhelukevich
Siberian Federal University
Email: Shram18rus@mail.ru
660041, Krasnoyarsk, Russia
A. V. Lysyannikov
Siberian Federal University
Email: Shram18rus@mail.ru
660041, Krasnoyarsk, Russia
Yu. N. Bezborodov
Siberian Federal University
Email: Shram18rus@mail.ru
660041, Krasnoyarsk, Russia
A. V. Kuznetsov
Krasnoyarsk State Agrarian University
Email: Shram18rus@mail.ru
660049, Krasnoyarsk, Russia
A. V. Kuz’min
Krasnoyarsk State Agrarian University
Author for correspondence.
Email: Shram18rus@mail.ru
660049, Krasnoyarsk, Russia
References
- Lv J., Jia S., Wang H., Ding K., Chan F.T.S. Comparison of different approaches for predicting material removal power in milling process // International Journal of Advanced Manufacturing Technology. 2021. V. 116 (1–2). P. 213.
- Gutnichenko O., Nilsson M., Lindvall R., Bushlya V., Andersson M. Improvement of tool utilization when hard turning with cBN tools at varying process parameters // Wear. 2021. V. 477. 203900.
- Zhou B., Zhang J., Fu Y., Yu D., Wang J. Research on power and vibration signal acquisition method and system of machine tool for tool wear monitoring // Journal of Physics: Conference Series. 2021. V. 1399 (1). 012114.
- Chen X., Li C., Tang Y., Li L., Li H. Energy efficient cutting parameter optimization // Frontiers of Mechanical Engineering. 2021. V. 16 (1–2). P. 221.
- Liu B., Wang Y., Zhao G., Huang D., Xiang B. Intelligent decision method for main control parameters of tunnel boring machine based on multi-objective optimization of excavation efficiency and cost // Tunnelling and Underground Space Technology. 2021. V. 116. 104054.
- Li X., Zhang Y., Sun X. Numerical analysis for rock cutting force prediction in the tunnel boring process // International Journal of Rock Mechanics and Mining Sciences. 2021. V. 144. 104696.
- Brînaș I., Andraș A., Radu S.M., Marc B.I., Cioclu A.R. Determination of the bucket wheel drive power by computer modeling based on specific energy consumption and cutting geometry // Energies. 2021. V. 14 (13). 3892.
- Tuninetti V., Alzugaray R., González J., Jaramillo A., Diez E. et al. Root cause and vibration analysis to increase veneer manufacturing process efficiency: a case study on an industrial peeling lathe // European Journal of Wood and Wood Products. 2021. V. 79 (4). P. 951.
- Egorov A., Kozlov K., Belogusev V. Experimental Identification of Bearing Mechanical Losses with the Use of Additional Inertia // Procedia Ingineering. 2016. V. 150. P. 674.
- Egorov A., Kozlov K., Belogusev V. Experimental identification of the electric motor moment of inertia and its efficiency using the additional inertia // ARPN Journal of Engineering and Applied Sciences. 2016. V. 11. Iss. 17. P. 10582.
Supplementary files



