Optimization of the Properties of Materials Based on Compressed Wood Used in the Structures of Oil-Field Machinery and Mechanisms
- Authors: Guliev A.1, Sharifova A.1, Yusubov F.1
-
Affiliations:
- Azerbaijan State University of Oil and Industry
- Issue: No 5 (2023)
- Pages: 35-44
- Section: НАДЕЖНОСТЬ, ПРОЧНОСТЬ, ИЗНОСОСТОЙКОСТЬ МАШИН И КОНСТРУКЦИЙ
- URL: https://medbiosci.ru/0235-7119/article/view/141775
- DOI: https://doi.org/10.31857/S0235711923050085
- EDN: https://elibrary.ru/XCPCME
- ID: 141775
Cite item
Full Text
Abstract
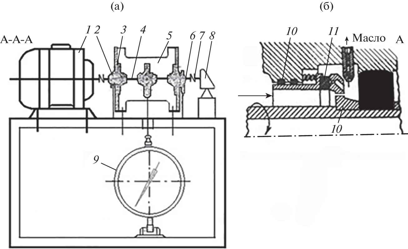
This article is devoted to the study of plain bearings made of pressed wood, lubricated and cooled with water in order to establish the features of their calculation and design. In connection with the development of the industry that produces plastics that can replace nonferrous metals, this issue is of particular importance. In guides and plain bearings, characterized mainly by low sliding speeds, pressed wood and materials based on it are used successfully. Materials based on pressed wood have good tribological properties. Pressed wood is easily modified to give it the desired properties. It is promising for use in movable mates that operate without lubrication.
About the authors
A. Guliev
Azerbaijan State University of Oil and Industry
Email: fikratyusub@gmail.com
Baku, Azerbaijan
A. Sharifova
Azerbaijan State University of Oil and Industry
Email: fikratyusub@gmail.com
Baku, Azerbaijan
F. Yusubov
Azerbaijan State University of Oil and Industry
Author for correspondence.
Email: fikratyusub@gmail.com
Baku, Azerbaijan
References
- Bakir K., Aydemir D., Bardak T. Dimensional stability and deformation analysis under mechanical loading of recycled PET-wood laminated composites with digital image correlation // Journal of Cleaner Production. 2021. V. 280. P. 124472.
- Yartsev V.P., Kiseleva O.A. The Influence of composition and structure on the performance properties of wood composites // Advanced Materials & Technologies. 2020. V. 4. № 20. P. 41.
- Liu J., Tang C., Wu H., Xu Z., Wang L. An analytical calculation method of the load distribution and stiffness of an angular contact ball bearing // Mechanism and machine theory. 2019. V. 142. P. 103597.
- Тесленко А.Ю., Шишлов О.Ф., Глухих В.В. Получение древесно-слоистого пластика, с использованием карданолсодержащего основания манниха // Материалы XIII Международной научно-технической конференции, 2021. С. 568.
- Arya S., Chauhan S., Kumar R. Plastic bonded plywood using waste polypropylene container // Materials Today: Proceedings. 2022. V. 67. P. 472.
- Kwak W., Lee J., Lee Y.B. Theoretical and experimental approach to ball bearing frictional characteristics compared with cryogenic friction model and dry friction model // Mechanical systems and signal processing. 2019. V. 124. P. 424.
- Russell T., Sadeghi F., Peterson W., Aamer S., Arya U. A novel test rig for the investigation of ball bearing cage friction // Tribology Transactions. 2021. V. 64. № 5. P. 943.
- Yalçın İ., Esen R. Adhesive type’s effects on adhesive strength of densified reinforced laminated wood obtained from black poplar (Populus nigra L.) // BioResources. 2023. V. 18. № 1. P. 1155.
- Bekhta P., Müller M., Hunko I. Properties of thermoplastic-bonded plywood: Effects of the wood species and types of the thermoplastic films // Polymers. 2020. V. 12. № 11. P. 2582.
- Zou M., Tang Q., Guo W. High-strength wood-based composites via laminated delignified wood veneers with different adhesive contents for structural applications // Polymer composites. 2022. V. 43. № 5. P. 2746.
- Fang B., Zhang J., Yan K., Hong J., Wang M.Y. A comprehensive study on the speed-varying stiffness of ball bearing under different load conditions // Mechanism and machine theory. 2019. V. 136. P. 13.
Supplementary files





