Study of the Influence of Macrogeometry Parameters on the Tightness of Shaft–Seal Joints
- Authors: Leonov O.A.1, Shkaruba N.Z.1, Grinchenko L.A.1, Pupkova D.A.1, Khasyanova D.U.2
-
Affiliations:
- Russian State Agrarian University—Moscow Timiryazev Agricultural Academy
- Mechanical Engineering Research Institute of the Russian Academy of Sciences (IMASH RAN)
- Issue: No 6 (2023)
- Pages: 40-47
- Section: НАДЕЖНОСТЬ, ПРОЧНОСТЬ, ИЗНОСОСТОЙКОСТЬ МАШИН И КОНСТРУКЦИЙ
- URL: https://medbiosci.ru/0235-7119/article/view/162318
- DOI: https://doi.org/10.31857/S0235711923060111
- EDN: https://elibrary.ru/ETCVUM
- ID: 162318
Cite item
Full Text
Abstract
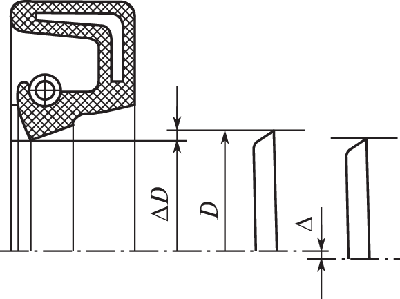
The factors influencing the reliability and durability of the joint between a shaft and a rubber reinforced seal are analyzed. It has been established that the theory of tightness of such joints has not yet been developed. The quality of a joint is usually assessed by the amount of leakage. It has been revealed that the amount of leakage depends on the materials from which the shaft and seal are manufactured, the roughness of the shaft surface, the presence of dust in the friction zone, the quality of the sealed liquid, and the operating temperature. In addition, the durability of the work is influenced by macrogeometry parameters like deviation from the perpendicularity of the seal to the shaft, deviation from coaxiality, and radial runout of the shaft. A multifactorial experiment has been carried out, as a result of which an empirical relationship has been established between the radial runout of the shaft, rotational speed, and interference in the joint according to the criterion of the onset of leaks. Analysis of the obtained dependence showed that the radial runout should be compensated by interference in the joint, and with an increase in the rotation speed, the compensation value should be greater due to the fact that the working edge of the seal does not have time to follow the shaft. An empirical relationship between the amount of interference and leakage has been obtained, which indicates that with lower interference, leakage will be greater. The research results can be used at the stage of designing assembly units with seals to reduce the influence of radial runout and deviations from the coaxiality of the shaft relative to the seal.
About the authors
O. A. Leonov
Russian State Agrarian University—Moscow Timiryazev Agricultural Academy
Email: metr@rgau-msha.ru
Moscow, Russia
N. Zh. Shkaruba
Russian State Agrarian University—Moscow Timiryazev Agricultural Academy
Email: metr@rgau-msha.ru
Moscow, Russia
L. A. Grinchenko
Russian State Agrarian University—Moscow Timiryazev Agricultural Academy
Email: metr@rgau-msha.ru
Moscow, Russia
D. A. Pupkova
Russian State Agrarian University—Moscow Timiryazev Agricultural Academy
Email: metr@rgau-msha.ru
Moscow, Russia
D. U. Khasyanova
Mechanical Engineering Research Institute of the Russian Academy of Sciences (IMASH RAN)
Author for correspondence.
Email: metr@rgau-msha.ru
Moscow, Russia
References
- Голубев А.И., Кондаков Л.А. Уплотнения и уплотнительная техника. М.: Машиностроение, 1985. 463 с.
- Голубев Г.А., Кукин Г.Н., Лазарев Г.Е., Чичинадзе А.В. Контактные уплотнения вращающихся валов. М.: Машиностроение, 1976. 264 с.
- Журавлева С.Н. Повышение износостойкости манжетных уплотнений для вращающихся валов // Новые материалы и технологии в машиностроении. 2014. № 19. С. 53.
- Mhammed E.G., Fatu A., Hajjam M. Effect of grooved shaft on the rotary lip seal performance in transient condition: Elasto-hydrodynamic simulations // Tribology International. 2015. V. 93 (A). P. 411. https://doi.org/10.1016/j.triboint.2015.09.031
- Zhang F., Zhang Y. Research on sealing performance of oil seals with micro-dimple texture on lips // Industrial Lubrication and Tribology. 2020. V. 73. № 1. P. 113. https://doi.org/10.1108/ILT-06-2020-0198
- Сковородин В.Я. Долговечность сопряжений деталей отремонтированной сельскохозяйственной техники (на примере сельскохозяйственных тракторов): Дис. … д-ра техн. наук. Л., Пушкин: ЛСХИ, 1985. 284 с.
- Кривошеев И.А., Ивашин А.Ф., Осипов Е.В., Чебаков А.В. Обеспечение герметичности турбонасосных агрегатов в составе двигателей летательных аппаратов // Вестник Пермского национального исследовательского политехнического университета. Аэрокосмическая техника. 2018. № 54. С. 105. https://doi.org/10.15593/2224-9982/2018.54.09
- Мельников О.М., Казанцев С.П., Чеха О.В. Оценка показателей качества деталей и соединения “вал–манжета” // Вестник ФГОУ ВПО МГАУ. 2019. № 5 (93). С. 8. https://doi.org/10.34677/1728-7936-2019-5-8-13
- Мельников О.М. Работоспособность соединений “вал–манжета” и повышение их надежности // Вестник ФГОУ ВПО МГАУ. 2018. № 2 (84). С. 50. https://doi.org/10.26897/1728-7936-2018-2-50-54
- Мельников О.М., Казанцев С.П., Игнаткин И.Ю., Скороходов Д.М., Белов М.И. Совершенствование уплотнительных устройств подшипниковых узлов сельскохозяйственной техники // Агроинженерия. 2022. Т. 24. № 3. С. 68. https://doi.org/10.26897/2687-1149-2022-3-68-72
- Ерохин М.Н., Белов М.И., Мельников О.М. Методика расчета контактного давления манжеты на вал // Вестник машиностроения. 2020. № 11. С. 39. https://doi.org/10.36652/0042-4633-2020-11-39-45
- Ерохин М.Н., Леонов О.А., Катаев Ю.В., Мельников О.М. Методика расчета натяга для соединений резиновых армированных манжет с валами по критерию начала утечек // Вестник машиностроения. 2019. № 3. С. 41.
- Leonov O.A., Shkaruba N.Z. Calculation of Fit Tolerance by the Parametric Joint Failure Model // J. of Machinery Manufacture and Reliability. 2020. V. 49. № 12. P. 1027. https://doi.org/10.3103/S1052618820120092
- Голубев Г.А. О динамическом эффекте, возникающем в манжетных уплотнительных узлах быстровращающихся валов // Сборник вопросов трения и проблем смазки. М.: Наука, 1988. 252 с.
- Hand B.P., Erdogan, N., Murray D., Cronin P., Doran W., Murphy J. Experimental testing on the influence of shaft rotary lip seal misalignment for a marine hydro-kinetic turbine // Sustainable Energy Technologies and Assessments. 2021. V. 50. № 9. P. 101874. https://doi.org/10.1016/j.seta.2021.101874
- Borras X., Rooij M., Schipper D.J. Misalignment-induced macro-elastohydrodynamic lubrication in rotary lip seals // Tribology International. 2020. V. 151. P. 06479. https://doi.org/10.1016/j.triboint.2020.106479
- Zhang Sh., Wu Zh., Shang Y., Qian Zh., Ke Y., Xia Y. Wear Simulation of Rotary Shaft Lip Seal // Run Hua Yu Mi Feng. Lubrication Engineering. 2021. V. 46 (3). P. 119. https://doi.org/10.3969/j.issn.0254-0150.2021.03.019
- Erokhin M.N., Leonov O.A., Shkaruba N.Zh., Amelin S.S., Bodunov D.M. Application of Dimensional Analysis for Calculating the Total Misalignment between a Seal and a Shaft // J. of Machi-nery Manufacture and Reliability. 2021. V. 50. № 6. P. 524. https://doi.org/10.3103/S1052618821060066
Supplementary files






