Исследование эффективности работы проточной вихревой газогидродинамической волновой машины, предназначенной для глубокой очистки промышленных газов от твердых частиц и токсичных компонентов
- Authors: Ганиев С.Р.1, Шмырков О.В.1, Рудаков В.П.1, Курменев Д.В.1, Крюков А.И.1, Конев Е.М.1
-
Affiliations:
- Институт машиноведения им. А. А. Благонравова РАН
- Issue: No 6 (2024)
- Pages: 90-97
- Section: ЭКСПЕРИМЕНТАЛЬНАЯ МЕХАНИКА. ДИАГНОСТИКА ИСПЫТАНИЯ
- URL: https://medbiosci.ru/0235-7119/article/view/282749
- DOI: https://doi.org/10.31857/S0235711924060105
- EDN: https://elibrary.ru/NOTCYC
- ID: 282749
Cite item
Full Text
Abstract
В статье представлены результаты исследования эффективности экспериментального образца проточной вихревой газогидродинамической волновой машины при очистке промышленных газов от твердых частиц и токсичных компонентов. При расходе промышленных газов 0.097 м3/с и рабочей жидкости (водопроводная вода) 2 л/мин эффективность очистки промышленных газов от твердых частиц размером 5–60 мкм и концентрации 10–60 г/м3 составляет 99.9%. Эффективность очистки газа от окислов азота концентрации 250–450 мг/м3 при использовании в качестве рабочей жидкости водопроводной воды составляет 75 и 93% в случае использования водных растворов кальцинированной соды 5–10% и едкого натра 30%. Эффективность очистки промышленных газов от жидких частиц пластификатора при их концентрации 0.9–2.5 г/м3 и использовании водопроводной воды в качестве рабочей жидкости составляет 99.7%.
Full Text
Интенсификация производства промышленных изделий, особенно в тех отраслях, где используются плазменные технологии, технологии по переработке нефти и газа, композитных материалов, а также переработка изделий химического производства, потребовали существенной модернизации действующих в настоящее время устройств и разработки новых технологий для более глубокой очистки промышленных газов. Эффективность улавливания твердых частиц и нейтрализации токсичных компонентов в традиционных системах газоочистки крайне невелика и не достигает 70% при высоком потреблении воды и электроэнергии таких как мокрый циклон [1].
В НЦНВМТ РАН при научном руководстве академика Ганиева Р. Ф. [2–4] более 30 лет ведутся разработки различного вида генераторов волн [5–7].
Целью настоящей статьи является разработка на теоретической основе волновых явлений и эффектов в многофазных средах экспериментального образца проточного вихревого газогидродинамического аппарата для глубокой очистки промышленных газов от твердых частиц и токсичных компонентов, а также проведение лабораторных и промышленных испытаний для оценки эффективности его работы.
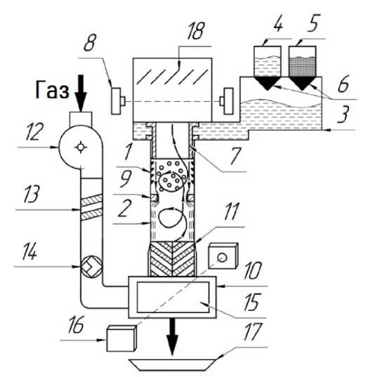
Методы и средства эксперимента. Принципиальная схема экспериментального образца модели проточной вихревой газогидродинамической волновой машины представлена на рис. 1, где 1 — верхний генератор; 2 — нижний генератор; 3 — система подачи рабочей жидкости; 4 — емкость для подачи рабочей жидкости; 5 — емкость с нейтрализующими составами; 6 — дозатор для приготовления рабочей жидкости; 7 — устройство подачи рабочей жидкости в верхний генератор; 8 — система ОФИ на выходе; 9 — сопло; 10 — опорный бак; 11 — завихритель; 12 — вентилятор; 13 — омический подогреватель; 14 — дозатор сыпучих сред; 15 — окно в опорный бак; 16 — система ОФИ на входе; 17 — отстойник; 18 — каплеотбойник.
Рис. 1. Принципиальная схема экспериментального образца проточной вихревой газогидродинамической волновой машины, предназначенной для глубокой очистки промышленных газов от твердых частиц и токсичных компонентов.
Центральная часть волновой машины представляет собой два соосно-сочлененных между собой вихревых генератора цилиндрического типа 1, 2. В верхней части центрального блока волновой машины расположена система подачи рабочей жидкости в полость верхнего генератора 3. Она включает в себя емкость с водопроводной водой 4, емкость с нейтрализующим составом 5, дозаторами для приготовления рабочей жидкости 6 и устройство слива рабочей жидкости на внутреннюю поверхность верхнего генератора в виде тонкой жидкой пленки 7. На выходе очищенного газа волновой машины установлена система оптико-физических измерений (ОФИ) для измерения концентрации твердых частиц 8 и каплеотбойник 18 для полного улавливания тонких капель рабочей жидкости.
В верхней части нижнего вихревого генератора 2 установлено сопло 9. Входная часть этого генератора вмонтирована в опорный бак 10, здесь же в нижнем вихревом генераторе расположены лопатки завихрителя 11 под углом γ = 43° к оси генератора. Сбоку опорного бака установлен патрубок, на котором закреплены вентилятор ВН-4 12, обеспечивающий постоянную подачу газа, омический подогреватель 13 для подогрева газа и емкость с дозатором сыпучих сред 14 для фиксированной подачи твердых частиц в опорный бак. В опорном баке предусмотрено окно 15 для наблюдения потока газа и регистрации концентрации твердых частиц на входе с помощью системы ОФИ 16. В нижней части опорного бака расположена емкость-отстойник 17 для приема и хранения уловленных материалов.
Внутренний диаметр генераторов был равен dГ = 130 мм. Длина верхнего генератора с пленочной подачей рабочей жидкости составляло l*ВГ = lВГ/dГ = 12. Длина нижнего вихревого генератора составляла l*НГ = lН/dГ = 3. Диаметр сопла на выходе нижнего генератора d*соп = dсоп/dГ = 0.77. Исследование на эффективность работы волновой машины по очистке газа проводились при постоянной подаче рабочего газа GГ = 0.097 м3/с, температуре газа ТГ = 290 К и расходе рабочей жидкости GЖ = 2 л/мин. Расход рабочей жидкости измерялся мерной емкостью с погрешностью ≈1%. Температура рабочей жидкости измерялась ртутным термометром с погрешностью 0.5%. Погрешность измерения концентрации твердых частиц в газе не превышало 0.5%. Измерение статического давления на стенках генераторов регистрировалось с помощью наклонных батарейных манометров ММН-200 с погрешностью ±0.5%. Скорость выходящего газа определялась чашечным анемометром с погрешностью ≈1%. Для измерения концентрации твердых частиц на входе и выходе волновой машины была разработана система оптико-физических измерений (ОФИ). В состав ее входили: источники поляризованного света, коллимирующий объектив для отображения зоны регистрации в плоскость фотопленки, фоторегистратор. Источник света — импульсный, частотный, был создан на основе ксеноновой лампы ИФК-50. Длительность вспышки — 1 · 10–5 с, частота вспышки — до 100 Гц. В качестве фоторегистратора применялась аэрофотокамера NKC-2, обеспечивающая частоту съемки до 48 кадров в секунду. Изображения частиц в плоскости пленки строились объективом с фокусным расстоянием F = 80 мм и диаметром D = 60 мм. Малая длительность вспышки источника обеспечивала получение изображения ансамбля частиц без размытия в плоскости фокусировки. Источник света работал синхронно с камерой. Импульсы на поджиг лампы ИФК-50 подавались в момент открытия затвора камеры. Оптическая система отображала в плоскость пленки тонкий слой воздушного потока, параллельный вектору скорости. Концентрация частиц оценивалась по негативам. Обработка их проводилась на автоматизированной системе анализа изображений (АСАИ). Погрешность измерений не превышала ∆ = 0.5%. При проектировании экспериментального образца волновой машины за опорный размер был принят внутренний диаметр генераторов. Остальные линейные размеры генераторов были рассчитаны с использованием работ [8, 9]. Подача рабочей жидкости в полость верхнего генератора осуществлялась в виде тонкой жидкой пленки, стекающей по внутренней поверхности генератора, а также подача встречного закрученного потока газа были выбраны на основе опубликованных материалов в работах [10, 11]. При проведении визуализационных исследований использовались трубы, изготовленные из оптически прозрачного оргстекла. При этом в качестве методов исследования использовался теневой метод и метод оптически активных сред в поляризованном свете. При наличии в газе твердых частиц и химически активных компонентов использовались трубы, выполненные из химически устойчивых материалов.
Результаты исследований. Измерение статического давления по длине генераторов при максимальном расходе потока закрученного газа GГ = 0.14 м3/с без подачи рабочей жидкости в полость генератора показали, что потери давления по длине волновой машины не превышают ΔP = 65 мм. вод. ст. В диапазоне изменения расхода газа GГ = 0.04–0.14 м3/с потери давления растут по параболическому закону (рис. 2). Основные потери давления происходят за счет сопла и завихрителя нижнего вихревого генератора: 93–94%. Потери давления за счет трения составляют 6–7%.
Рис. 2. Зависимость потерь давления от расхода газа ΔP = f(GГ) при ТГвх = 290 К: 1 — по всей длине; 2 — в сопле; 3 — в завихрителе.
При отсутствии подачи газа многократный пролив системы подачи рабочей жидкости (водопроводная вода) при расходе GЖ = 2–4 л/мин показал, что только при расходе рабочей жидкости GЖ = 2 л/мин на внутренней поверхности верхнего генератора образуется тонкая пленка жидкости, которая равномерно и устойчиво по всей внутренней поверхности генератора стекает до сопла, отрывается от поверхности сопла и стекая тонкими струйками на лопатки завихрителя, далее попадает в опорный бак и далее в отстойник.
В ряде работ было показано, что в тонкой жидкой пленке при критическом расходе образуются двухмерные волны гармонического типа, переходящие по мере движения пленки в трехмерные волны, а также периодическое движение, состоящее из одиночных волн, амплитуда и частота которых при этом возрастает [11, 12]. В нашем случае при расходе GЖ = 2 л/мин в тонкой жидкой пленке в начале формируется волны гармонического типа, по мере стекания пленки гармонический тип волн сохраняется, но при этом амплитуда и частота волн возрастает. При подаче газа в волновую машину с расходом GГ = 0.04–0.14 м3/с поток газа закручивается в вихревом генераторе и подается в верхний генератор вместе с массой жидкости, попавшей на лопатки завихрителя. Как показали визуализационные наблюдения, в начальный период при небольших расходах газа пленка жидкости за счет воздействия встречного закрученного потока газа стекает вниз по внутренней поверхности верхнего генератора в виде тонкой плоской спирали, удлиняя путь пленки жидкости до сопла и увеличивая число Рейнольдса при котором реализуется устойчивое волновое течение в пленке. При расходе газа GГ = 0.05 м3/с волны сохраняют гармонический характер, амплитуда волн в конце рабочей камеры верхнего генератора возрастает практически на порядок, частота волн так же увеличивается, пленка как бы сморщивается. При GГ = 0.08 м3/с волны приобретают нелинейный характер. При GГ = 0.09 м3/с в результате резонансного взаимодействия волновых процессов в пленке жидкости и в вихревом потоке газа волны начинают опрокидываться, на их гребнях появляются пенные буруны, возникает обратное течение жидкости против основного течения жидкой пленки [10, 11]. При дальнейшем увеличении расхода газа до GГ = 0.097 м3/с и более буруны смыкаются между собой, образуя мелкомасштабную высоко турбулентную газогидродинамическую эмульсию, которая заполняет практически весь объем генератора выше сопла. При расходе газа GГ = 0.097 м3/с и расходе рабочей жидкости GЖ = 2 л/мин потери давления возрастают в 1.5–2.0 раза. Полное давление при этом по оси генератора остается ниже атмосферного.
Измерение температуры газа на входе и выходе волновой машины показало, что при прохождении его через эмульсионное образование, температура газового потока уменьшается. Газ, при проходе через газогидродинамическую эмульсию, очищается и выходит из волновой машины через прозрачную трубу. Жидкая фаза вместе с уловленными материалами попадает в приосевую область генераторов, стекает вниз через опорный бак в отстойник. При увеличении расхода газа более чем GГ = 0.1 м3/с режим нарушается, жидкая пленка теряет устойчивость и вся жидкость вместе с газом выноситься из волновой машины в каплеотбойник.
Результаты исследования эффективности очистки газа от твердых частиц (рис. 3) были получены на режиме возникновения и сохранения газогидродинамической волновой эмульсии, при расходе рабочей жидкости (водопроводная вода) GЖ = 2 л/мин, при расходе газа GГ = 0.097 м3/с, ТГ = 290 К и концентрации твердых частиц в газе 20–100 гр/м3. В качестве твердых частиц была использована зола от дымогарных газов ТЭС, размолотая на шаровой мельнице до размера частиц 5–60 мкм.
Рис. 3. Зависимость эффективности очистки промышленного газа ψТЧ от концентрации твердых частиц в газе СТЧ при расходе промышленного газа GГ = 0.097 м3/с, расходе рабочей жидкости GЖ = 2 л/мин, ТГ = 290 К.
Эксперименты были проведены в специальном боксе, предназначенном для работы с пылевыми средами. Результаты этих исследований показали, что уровень очистки газа от твердых частиц может достигать 99.9% при концентрации золы СТЧ = 20–60 г/м3. С увеличением концентрации золы до 100 г/м3 эффективность очистки снижается и становится равной ≈97%.
Теневые фотографии потока на входе и выходе волновой машины при концентрации твердых частиц СТЧ = 20 г/м3 приведены на (рис. 4), которые дополнительно свидетельствуют о высоком уровне очистки газового потока.
Рис. 4. Фотографии потока на входе (а) и выходе (б) волновой машины при концентрации твердых частиц в газе СТЧ = 20 г/м3, GЖ = 2 л/мин,GГ = 0.097 м3/с, ТГ = 290 К.
Исследования эффективности улавливания и нейтрализация окислов азота волновой машиной проводилось в цехе предприятия «Форт» ГУП «МОЭТЗК» вблизи устройства газопламенной резки металлов. Волновая машина осуществляла забор 5–8% газов из существующей магистрали цеховой вентиляции, обеспечивающей отвод газов от устройства газопламенной резки металлов. Режим работы волновой машины был установлен при расходе рабочей жидкости GЖ = 2 л/мин, расходе очищаемого газа GГ = 0.097 м3/с, концентрации окислов азота на входе в установку — 350 мг/м3. Окислы азота NOX, образующиеся в рабочей зоне устройства газопламенной резки металлов, представляли собой в основном ~90% диоксида азота NО2, остальное NO. В качестве рабочей жидкости использовалась водопроводная вода, растворы в воде щелочи NaOH с концентрацией ~ 30% и кальцинированной соды Na2CO3 c концентрацией 5 и 10%. Приготовленную рабочую жидкость заливали в сливной бак, откуда насосом перекачивали в сливное устройство волновой машины. Измерение состава газа на входе и выходе волновой машины осуществлялось с использованием газоанализатора «Testo» непосредственно на месте отбора проб газа, так и с использованием стандартной методики обработки отобранных проб газа в условиях химической лаборатории завода. В результате проведенных измерений было получено, что эффективность улавливания и нейтрализации окислов азота при использовании в качестве рабочей жидкости водопроводной воды составила 75%. При использовании в качестве рабочей жидкости 5–10% раствора в воде кальцинированной соды или 30% раствора в воде щелочи эффективность очистки газа от окислов азота составила 90–93%.
Исследование эффективности улавливания и очистки паров пластификатора волновой машиной проводилось в лабораторных условиях при расходе газа GГ = 0.097 м3/с, расходе рабочей жидкости (водопроводная вода) GЖ = 2 л/мин, температура газа ТГ = 290 К и концентрации паров пластификатора в газе CПЛ = 0.9–2.5 г/м3. Рабочая жидкость — водопроводная вода. Дисперсия и концентрация паров в газе соответствовали аналогичным на выходе из газохода общей вентиляции каландрового цеха Мамонтовского завода по изготовлению искусственных кож. В опорный бак волновой машины пластификатор подавался с помощью распылительного устройства в виде аэрозоля при подаче вентилятором воздуха с расходом GГ = 0.097 м3/с. Полученная смесь воздуха и паров пластификатора подавалась на вход в волновую машину. Регулирование расхода пластификатора осуществлялось посредством изменения давления в питающей емкости с помощью редуктора. Массовая концентрация аэрозоля в газе определялась отношением расхода пластификатора к расходу воздуха. Замеры концентрации паров пластификатора на входе и выходе волновой машины осуществлялось с помощью ОФИ. В результате проведенных испытаний было получено, что при изменении концентрации паров пластификатора в газе во всем диапазоне значений CПЛ = 0.9–2.5 г/м3 эффективность очистки газа от паров пластификатора волновой машины составляла 99.7%.
Исследования эффективности улавливания капролактама волновой машиной проводилось на территории ОАО «Химволокно» г. Щекино. Отбор паров капролактама производился из подфильерного пространства прядильной машины. Концентрация паров капролактама в газе составляла 60 мг/м3, расход газа составлял GГ = 0.097 м3/с, расход рабочей жидкости (водопроводная вода) GЖ = 2 л/мин при температуре ТЖ = 320 К. При этом в волновой машине обеспечивался устойчивый режим образования газогидродинамической эмульсии. Измерение скорости потока газа проводилось с использованием чашечного анемометра и секундомера. Анализ воздушной смеси на входе и на выходе волновой машины проводился санитарно-промышленной лабораторией предприятия «Химволокно». Результаты исследования показали, что эффективность улавливания аэрозолей капролактама составляет ~80%. Повторное использование рабочей жидкости позволило увеличить концентрацию капролактама в ней до 30% и возврат этого материала в технологический цикл прядильной машины.
Заключение. 1. Разработан экспериментальный образец проточной вихревой волновой машины, предназначенной для глубокой очистки промышленных газов от твердых частиц и токсичных компонентов. В результате проведенных исследований в лабораторных и полевых условиях было получено, что при расходе промышленных газов GГ = 0.097 м3/с, ТГ = 290 К, расходе рабочей жидкости (водопроводная вода) GЖ = 2 л/мин, эффективность улавливания твердых частиц размером 5–6 мкм, при концентрации 10–60 г/м3состовляет 99.9%. С увеличением концентрации твердых частиц в газе до 100 г/м3 эффективность улавливания твердых частиц снижается на ~3%. Эффективность улавливания и нейтрализации окислов азота при использовании в качестве рабочей жидкости водопроводной воды составляет 70%. Эффективность очистки газа от окислов азота при концентрации их в промышленном газе 250–450 мг/м3 и использовании в качестве рабочей жидкости 5–10% раствора в воде кальцинированной соды или 30% раствора в воде щелочи составляет 90–95%. Эффективность очистки промышленных газов от жидких частиц пластификатора при их концентрации в газе 0.9–2.5 г/м3 и использовании водопроводной воды в качестве рабочей жидкости составляет — 99.7%. Эффективность улавливания капролактама при концентрации его в промышленных газах 60 мг/м3 составляет — 80%. 2. Показано, что на режиме: расход газа GГ = 0.097 м3/с, ТГ = 290 К, расход рабочей жидкости GЖ = 2 л/мин, в результате резонансного взаимодействия волновых процессов в жидкой пленке и в вихревом потоке газа во всем объеме верхнего генератора возникает газогидродинамическая эмульсия, при прохождении которой, происходит глубокая очистка газа от твердых частиц и токсичных компонентов. При этом потери давления в волновой машине увеличиваются в 1.5–2 раза, а температура в газе снижается. 3. Модульное исполнение экспериментального образца, его малое гидравлическое сопротивление (65 мм. вод. ст.), высокая производительность и низкая потребляемая энергия дает возможность увеличивать производительность очистных сооружений путем объединения волновых машин в различные блоки потребной производительности. 4. Многократное использование рабочей жидкости позволяет увеличить концентрацию улавливаемых материалов, при которой обеспечивается возврат их в технологический цикл или использования в народном хозяйстве.
Финансирование. Данная работа финансировалась за счет средств бюджета Института машиноведения им. А. А. Благонравова РАН. Никаких дополнительных грантов на проведение или руководство данным конкретным исследованием получено не было.
Конфликт интересов. Авторы заявляют об отсутствии конфликта интересов.
About the authors
С. Р. Ганиев
Институт машиноведения им. А. А. Благонравова РАН
Email: lle@bk.ru
Russian Federation, Москва
О. В. Шмырков
Институт машиноведения им. А. А. Благонравова РАН
Email: lle@bk.ru
Russian Federation, Москва
В. П. Рудаков
Институт машиноведения им. А. А. Благонравова РАН
Email: lle@bk.ru
Russian Federation, Москва
Д. В. Курменев
Институт машиноведения им. А. А. Благонравова РАН
Email: lle@bk.ru
Russian Federation, Москва
А. И. Крюков
Институт машиноведения им. А. А. Благонравова РАН
Author for correspondence.
Email: lle@bk.ru
Russian Federation, Москва
Е. М. Конев
Институт машиноведения им. А. А. Благонравова РАН
Email: lle@bk.ru
Russian Federation, Москва
References
- Ушаков В. В. СССР Авторское свидетельство 603412 A1. Мокрый циклон, 1978.
- Ганиев Р. Ф. Волновые машины и технологии (введение в волновую технологию). М.: Научно-издательский центр «Регулярная и хаотическая динамика», 2008. 192 с.
- Ганиев Р. Ф., Украинский Л. Е. Нелинейная волновая механика и технологии. М.: Научно-издательский центр «Регулярная и хаотическая динамика», 2008. 712 с.
- Ганиев Р. Ф. Нелинейные резонансы и катастрофы. Надёжность, безопасность и бесшумность. М.: Научно-издательский центр «Регулярная и хаотическая динамика», 2013. 592 с.
- Ганиев Р. Ф., Шмырков О. В., Рудаков В. П. Проточный вихревой газодинамический генератор эмульгационного типа, предназначенный для очистки промышленных газов от твердых частиц // Справочник. Инженерный журнал. С приложением. 2015. № 9. С. 6.
- Ганиев Р. Ф., Шмырков О. В., Жебынёв Д. А., Ганиев О. Р., Фельдман А. М. Исследование влияния геометрических размеров гидродинамического вихревого генератора колебаний на спектральные характеристики // Инженерный журнал. 2010. № 5. С. 15.
- Ганиев С. Р., Крюков А. И., Рудаков В. П., Шмырков О. В. Исследование течения и спектральных характеристик в проточном гидродинамическом генераторе плоского типа при изменении степени перекрытия потока цилиндрическими телами обтекания и давлении перед и за ними // Изв. РАН. МЖГ. 2023. № 2. С. 3.
- Аветьян М. Г., Витушкин В. В., Воронов И. Д., Стручков Э. В., Шмырков О. В. РФ Патент 2047327. Способ очистки газа от примесей, 1995.
- Ранк Г. США Патент 1952281, 1934.
- Кафаров В. В., Плановский А. Н. Научное открытие «Явление скачкообразного увеличения тепло- и массообмена между газовой и жидкой фазами в режиме инверсии фаз». № 141 с приоритетом от 6 июля 1949 г.
- Нигматулин Р. И. Динамика многофазных сред. Часть II. М.: Наука, 1987. 360 с.
- Капица П. П., Капица С. П. Волновое течение тонких слоев вязкой жидкости // Журнал экспериментальной и теоретической физики. 1949. Т. 19. № 2. С. 105.
Supplementary files






