Совершенствование одноосного сейсмоакселерометра, составной части трехкоординатного сейсмоакселерометра СЭМ (сейсмометр ЭкзоМарс)
- Authors: Манукин А.Б.1,2, Саякина Н.Ф.2, Черногорова Н.А.2, Тоньшев А.К.2, Калинников И.И.2
-
Affiliations:
- Институт физики Земли им. О.Ю. Шмидта РАН
- Институт космических исследований РАН
- Issue: Vol 58, No 4 (2024)
- Pages: 414-419
- Section: Articles
- URL: https://medbiosci.ru/0320-930X/article/view/272249
- DOI: https://doi.org/10.31857/S0320930X24040055
- EDN: https://elibrary.ru/LUGMCB
- ID: 272249
Cite item
Full Text
Abstract
Разработан и создан трехкоординатный сейсмоакселерометр, содержащий три одноосных взаимно перпендикулярных датчика, ось чувствительности каждого расположена под углом 54.736° к местной гравитационной вертикали. Впервые в каждый прибор введена дополнительная магнитная жесткость, позволяющая тонко настроить прибор на условия конкретной планеты. Однако накопленный опыт проведения наземных испытаний показал необходимость совершенствования одноосного сейсмоакселерометра, позволяющего существенно улучшить характеристики прибора. Во-первых, это использование одного материала – бериллиевой бронзы БрБ-2 – для изготовления массивных элементов подвеса пробной массы толщиной 1.5 мм и упругого элемента из тонкой ленты толщиной 10–20 мкм, что снижает вероятность проявления неустойчивости. Во-вторых, уменьшение зазора в конденсаторах емкостных преобразователей с 0.25 до 0.1–0.15 мм для существенного повышения крутизны преобразования емкостного датчика. В-третьих, изменение технологии настройки прибора, для чего объединить все элементы чувствительной части одноосного сейсмогравиметра с помощью специальных вертикальных вставок. Это позволяет помещать прибор как целое в систему для его настройки, исключив вероятность выхода из строя отдельных элементов, повысив тем самым надежность прибора.
Full Text
ВВЕДЕНИЕ
Одна из важнейших задач экспериментальной сейсмологии – создание новых измерительных средств, отличающихся не только высокой чувствительностью, но и широким динамическим диапазоном (Гусев и др., 1985; Башилов, 1990; Готлиб и др., 2004). Необходимо также предусмотреть возможность с помощью таких приборов измерять наряду с собственно сейсмическими сигналами, сигналы в сверхнизкочастотной области, чтобы этот прибор выполнял функции одновременно и гравиметра, и наклономера. В этой связи разработка высокочувствительного однокоординатного датчика представляется необходимым первым шагом на пути создания нового измерительного трехкоординатного устройства, в которое датчик войдет составной частью. Необходимо отметить, что такой прибор необходим для измерений не только на Марсе, но и для измерения сейсмической активности на Луне, Венере, спутнике Марса Фобосе, спутнике Юпитера Европе и других космических объектах. Важно, что по измерениям в сверхнизкочастотной области спектра имеется возможность подробного изучения приливных эффектов. Аналогичные измерения на Земле также могут дать новую информацию о динамике сейсмической активности и ее связи с проблемами прогноза землетрясений.
ТРЕХКООРДИНАТНЫЙ СЕЙСМОАКСЕЛЕРОМЕТР
В результате работ в рамках проекта ЭкзоМарс был разработан и создан новый вариант трехкоординатного сейсмоакселерометра СЭМ. Измерительная система отличалась тем, что в ней одноосность обеспечивается самими элементами механической жесткости. Трехкоординатный сейсмоакселерометр состоит из трех однокоординатных датчиков, установленных так, что их оси чувствительности взаимно перпендикулярны и составляют угол 54.736° с направлением местной гравитационной вертикали (Манукин и др., 2018; Manukin и др., 2023).
УСОВЕРШЕНСТВОВАНИЕ ОДНООСНОГО СЕЙСМОАКСЕЛЕРОМЕТРА
Схема одноосного датчика
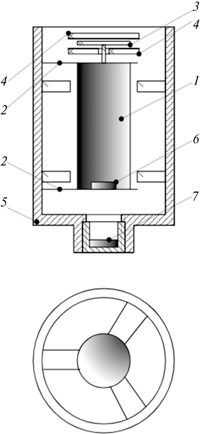
На рис. 1 показан одноосный датчик, пробная масса которого цилиндрической формы 1 удерживается с помощью упругих растяжек. Растяжки в торцевых участках цилиндра представляют собой три ленты 2 из фольги из бериллиевой бронзы толщиной ~30 мкм. В нижнем торце цилиндра укреплен постоянный магнит 6, который отталкивается от другого постоянного магнита 7 на корпусе 5 датчика. Изменением расстояния между магнитами подбирается необходимая величина силы взаимодействия. К верхнему торцу цилиндра прикреплена роторная пластина 3 измерительной емкости 4. С помощью емкостн ого датчика происходит измерение координаты пробной массы относительно корпуса.
Рис. 1. Схема одноосного датчика сейсмоакселерометра.
Материал упругого элемента в датчике
Упругий элемент представляет собой тонкую фольгу (растяжку) и является важнейшей частью датчика. Для его изготовления требуется материал, для которого величина модуля упругости слабо зависит от влияния таких факторов, как температура, время, вибрации, рабочие нагрузки и т.п. Поскольку идеальных материалов нет, то необходимо выбрать материал, у которого температурная характеристика модуля упругости в требуемом диапазоне температур линейна и достаточно стабильна. Тогда температурную погрешность датчика, появляющуюся за счет изменения модуля упругости, можно учесть.
Другим важным требованием к материалу упругого элемента является высокая стабильность модуля упругости во времени.
Нестабильность модуля упругости связана с процессами последействия и релаксации, происходящими в материале после его механической или термической обработки. Поэтому наименьшей временной нестабильностью модуля упругости обладают металлы, которые в результате обработки не получают значительных остаточных напряжений.
К таким металлам относятся дисперсионно-твердеющие сплавы. Характерной особенностью этих сплавов является то, что в закаленном состоянии они обладают высокой пластичностью, а повышение упругих свойств достигается в процессе отпуска. Бериллиевая бронза является именно таким дисперсионно-твердеющим сплавом. Кроме того, изменение модуля Юнга в широком интервале температур от –200° до +600°С практически линейно. Для бериллиевой бронзы термоупругий коэффициент составляет примерно 2.4×10–4 1/К (Смитлз, 1980). Поэтому в приборе в качестве упругих элементов–растяжек была использована тонкая фольга из бериллиевой бронзы.
Характеристики растяжек в датчике
Собственная частота, определяемая механической жесткостью растяжек из бериллиевой бронзы толщиной около 0.1 мм, длиной 10 мм при массе m = 50 г, составляет ω0~15 рад/с. Соответствующая величина минимального измеряемого ускорения, определяемого классическими тепловыми шумами (Гусев, Манукин, 1985):
, (1)
для этих параметров составит ~4.2×10–9 м/с2 (Θ – произведение постоянной Больцмана κ и абсолютной температуры). Эти простые оценки показывают, что на базе описываемой конструкции механической системы может быть реализован акселерометр с высокой чувствительностью при относительно небольших габаритах и общей массе.
Предварительные испытания показали, что описываемая конструкция акселерометра обладает широким динамическим диапазоном (не менее 140 дБ) и частотным диапазоном – вплоть до квазистатических измерений. Основным шумовым воздействием, кроме вариаций температуры, являются дрейфовые явления в упругом элементе. Накоплен большой опыт изучения дрейфовых явлений в гравиметрах. Показано, что чувствительность на больших периодах ограничивает не столько величина дрейфа прибора, сколько непрогнозируемая величина дрейфа пружины. Если прибор характеризуется даже относительно большим, но линейным по времени дрейфом, то его легко спрогнозировать и вычесть из показаний измерений. Так, при измерениях вариаций ускорения свободного падения на корабле кварцевым морским гравиметром учет линейного дрейфа прибора (он составлял 10–6 g/сут) позволил провести измерения в течение 120 суток непрерывного плавания в мировом океане с относительной точностью 10–7 (Михайлов и др., 2017). Для металлических пружин соответствующая величина дрейфа составляет обычно ~10–7амах/сут.
Введение дополнительной магнитной жесткости датчика
Во всех предыдущих построениях не учитывалась сила тяжести, воздействующая на пробную массу. В присутствии силы тяжести механической жесткости подвеса из растяжек может не хватить, поэтому необходимо еще одно, независимое силовое воздействие на пробную массу датчика. Эта проблема решается использованием двух постоянных магнитов (см. рис. 1), один из которых устанавливается в корпусе прибора 7, другой, 6, на пробной массе, так что на пробную массу будет действовать дополнительная сила, направленная вверх, поскольку магниты повернуты друг к другу одноименными полюсами. Перемещая магнит 7, можно добиться положения, когда сила отталкивания магнитов будет равна весу пробной массы.
Как следствие диполь-дипольного характера взаимодействия, сила взаимодействия между магнитами обратно пропорциональна четвертой степени расстояния между ними z (Ландау, Лифшиц, 1992):
,
где J и V – намагниченность и объем магнитов соответственно.
Уравнение движения пробной массы, где x – координата пробной массы относительно положения равновесия, соответствующего z0,
, (2)
где ∑ f – сумма всех внешних сил, воздействующих на пробную массу.
После разложения по малому параметру х/z0 выражение (2) принимает вид:
. (3)
Величина – “магнитная” жесткость. Частота собственных колебаний, определяемая этой жесткостью, будет иметь вид:
. (4)
Важно отметить, что в соотношение (4) вошли только ускорение силы тяжести g и расстояние между магнитами z0, при котором магнитная сила полностью компенсирует mg. Величина магнитной жесткости близка к жесткости механической, определяемой упругостью подвеса на растяжках.
Изменение внешней температуры приведет к изменению результатов измерений за счет вариаций силы магнитного взаимодействия.
Пусть относительное изменение намагниченности при изменении температуры: ΔВ/В = ξ, а относительное изменение механической жесткости Δk/k = γ. При этом из (3) следует:
. (5)
Значение ξ для постоянных магнитов из самария–кобальта составляет 3.5×10–4 1/град.
При k = 2.4×104 дин/см = 24 н/м, z0 = 2 см, mg = 6000 дин х = 4×10–5 см/град.
При измерении относительно быстрых сейсмических процессов (10–1 ÷ 10) Гц такие изменения магнитной силы от вариаций температуры практически не скажутся на результатах.
Возможности улучшения характеристик прибора СЭМ
После проведения всех испытаний конструкторско-доводочного (КДО) и штатного (ШО) образцов прибора СЭМ выявились некоторые характеристики, которые, если бы была возможность, хотелось бы улучшить. Конечно, испытания показали готовность ШО к выполнению миссии на Марсе, но чувство возможности что-то еще улучшить, усовершенствовать, остается всегда. Анализируя результаты проведенных испытаний, в первую очередь функциональных, физических испытаний, понимаешь, что в приборе есть что совершенствовать.
Прежде всего, это относится к системам подвесов – растяжек пробной массы. Растяжки представляют собой упругие элементы из тонкой ленты толщиной 30–50 мкм из бериллиевой бронзы БрБ-2, которые припаиваются к массивным элементам подвеса. По разным причинам эти относительно массивные элементы толщиной 1.5 мм были изготовлены из латуни. Основная причина самая банальная: в тот момент на складе не было материала – прутка из БрБ-2, а времени на заказ прутка, как обычно, не хватало. Изготовление упругого элемента из тонкой ленты из БрБ-2, а массивных элементов подвеса из латуни, материалов с близкими, но разными коэффициентами теплового расширения, может приводить к нежелательным неустойчивостям системы подвесов, что и наблюдалось в некоторых образцах чувствительных элементов. И критерием выбора подвесов для их установки в ШО был факт отсутствия нежелательных случайных выбросов.
Если бы была возможность, прежде всего наличие необходимого времени, то первое, что можно было бы переделать в подготовленных образцах – заменить материал массивных элементов подвеса, латуни, на БрБ-2. Это существенно упростило бы подбор подвесов и практически исключило бы появление нежелательных случайных выбросов.
Второе важное изменение в конструкции прибора – уменьшение зазоров в измерительных конденсаторах емкостных преобразователей с 0.25 до 0.1 ÷ 0.15 мм, что существенно повысило бы их крутизну преобразования. Это важная характеристика, которая позволяет повысить разрешение прибора при регистрации малых ускорений, воздействующих на его основание.
Отмеченные усовершенствования могут качественно улучшить работу прибора и не требуют при этом серьезной переработки конструкторской документации.
Третье изменение касается технологии настройки прибора для проведения измерений на планетах Солнечной системы, где существенно другое ускорение свободного падения. Опыт проведения подобных работ показал, что вставка деталей сейсмометра “по отдельности” в корпус специального устройства, предназначенного для настройки прибора в земных условиях, очень неудобно и сопряжено с большой вероятностью выхода из строя ряда деталей.
Главное – по возможности сохранить старые разработки. Предлагается изготовить приспособление, которое позволит помещать чувствительную часть прибора в устройство для его настройки целиком. Для этого в верхнем и нижнем подвесах пробной массы необходимо сделать по три углубления, куда вставить на винтах жесткие вертикальные детали, удерживающие всю конструкцию (рис. 2). Наружный размер вместе с вертикальными деталями такой же, как у подвесов. Всю эту конструкцию вместе с пробной массой помещаем в корпус устройства для настройки (сквозь пробную массу на эскизе просвечивает нижний подвес).
Рис. 2. Эскиз одноосного датчика с дополнительными вертикальными деталями.
На разрезе (рис. 3) вертикальные детали 1 с помощью винтов 2 приворачиваются к подвесам. Как и прежде, зазор между деталью 3 подвеса и деталью 4, в которой закреплена пробная масса, составляет 30–50 мкм. Штриховкой условно показана подвижная пластина емкостного датчика, а снизу – постоянный магнит. Вся конструкция остается без изменений. Единственное необходимое изменение – немного уменьшить внутренний радиус кольца подвеса на 0.5–0.7 мм и использовать фольгу из БрБ-2 толщиной 10–20 мкм.
Рис. 3. Разрез одноосного датчика с вертикальными деталями.
ЗАКЛЮЧЕНИЕ
Вносимые изменения в конструкцию прибора позволят существенно повысить чувствительность к воздействию малых ускорений на его корпус и упростить подготовку прибора к проведению его наземных испытаний. При этом возрастает надежность устройства и уменьшается вероятность выхода из строя отдельных элементов при сборке и проведении испытаний прибора. Перечисленные изменения в конструкции устройства не носят принципиальный характер, но позволяют упростить работы по настройке прибора
Настоящая статья подготовлена при поддержке бюджетных средств ИФЗ РАН и ИКИ РАН.
About the authors
А. Б. Манукин
Институт физики Земли им. О.Ю. Шмидта РАН; Институт космических исследований РАН
Author for correspondence.
Email: amanukin@yandex.ru
Russian Federation, Москва; Москва
Н. Ф. Саякина
Институт космических исследований РАН
Email: amanukin@yandex.ru
Russian Federation, Москва
Н. А. Черногорова
Институт космических исследований РАН
Email: amanukin@yandex.ru
Russian Federation, Москва
А. К. Тоньшев
Институт космических исследований РАН
Email: amanukin@yandex.ru
Russian Federation, Москва
И. И. Калинников
Институт космических исследований РАН
Email: amanukin@yandex.ru
Russian Federation, Москва
References
- Башилов И.П., Манукин А.Б., Попов Е.И. Сейсмическая аппаратура на основе кварцевого стекла, полиорганосилоксановых жидкостей и емкостных преобразователей перемещений // Гравиинерциальные приборы и геофизические исследования. М.: ИФЗ АН СССР, 1990. С. 3–12.
- Готлиб В.М., Евланов Е.Н., Манукин А.Б., Ребров В.И. Высокочувствительный кварцевый акселерометр для измерения малых перемещений КА // Изв. РАН. Космич. исслед. 2004. Т. 42. № 1. С. 57–62.
- Гусев Г.А., Казанцева О.С., Манукин А.Б., Матюнин В.П. Морской гиростабилизированный гравиметр с емкостным преобразователем частотного типа // Гравиинерциальные приборы и измерения. М.: ИФЗ АН СССР, 1985. С. 14–21.
- Гусев Г.А., Манукин А.Б. Предельная чувствительность гравиинерциальных приборов при измерении квазистатических процессов // Физика Земли. 1985. № 9. С. 90–95.
- Ландау Л.Д., Лифшиц Е.М. Электродинамика сплошных сред. М.: Наука, 1992. 621 с.
- Манукин А.Б., Казанцева О.С., Калинников И.И. Новый вариант высокочувствительного одноосного датчика сейсмоакселерометра // Сейсмич. приборы. 2018. Т. 54. № 4. C. 66–76.
- Михайлов П.С., Конешов В.Н., Железняк Л.К., Соловьев В.Н. Методические приемы повышения точности при выполнении гравиметрических съемок на море // Тр. VI Международной научно-практической конф. “Морские исследования и образование (MARESEDU – 2017)”. 2017. С. 332–337.
- Смитлз К.Дж. Металлы: Справочник. М.: Металлургия, 1980. 447 с.
- Manukin А.B., Сhernogorova N.A., Sayakina N.F., Tonshev A.K. Improvement of the characteristics of the uniaxial seismometer // The Fourteenth Moscow Sol. Syst. Symp. October 9–13, 2023. Space research institute of RAS (IKI RAS). P. 11–12.
Supplementary files





