Separation of Particles in Dusty Plasma in Mixtures of Inert Gases
- Authors: Novikov L.A.1, Karasev V.Y.2, Pavlov S.I.1, Balabas M.V.1, Krylov I.R.1, Dzlieva E.S.2, Maiorov S.A.3,4,5
-
Affiliations:
- St. Petersburg State University
- Saint Petersburg State University
- Prokhorov General Physics Institute, Russian Academy of Sciences
- Joint Institute for High Temperatures, Russian Academy of Sciences
- Institute of Theoretical and Experimental Physics, Al-Farabi Kazakh National University
- Issue: Vol 49, No 1 (2023)
- Pages: 98-102
- Section: ПЫЛЕВАЯ ПЛАЗМА
- URL: https://medbiosci.ru/0367-2921/article/view/139549
- DOI: https://doi.org/10.31857/S0367292122600911
- EDN: https://elibrary.ru/BIDNAK
- ID: 139549
Cite item
Full Text
Abstract
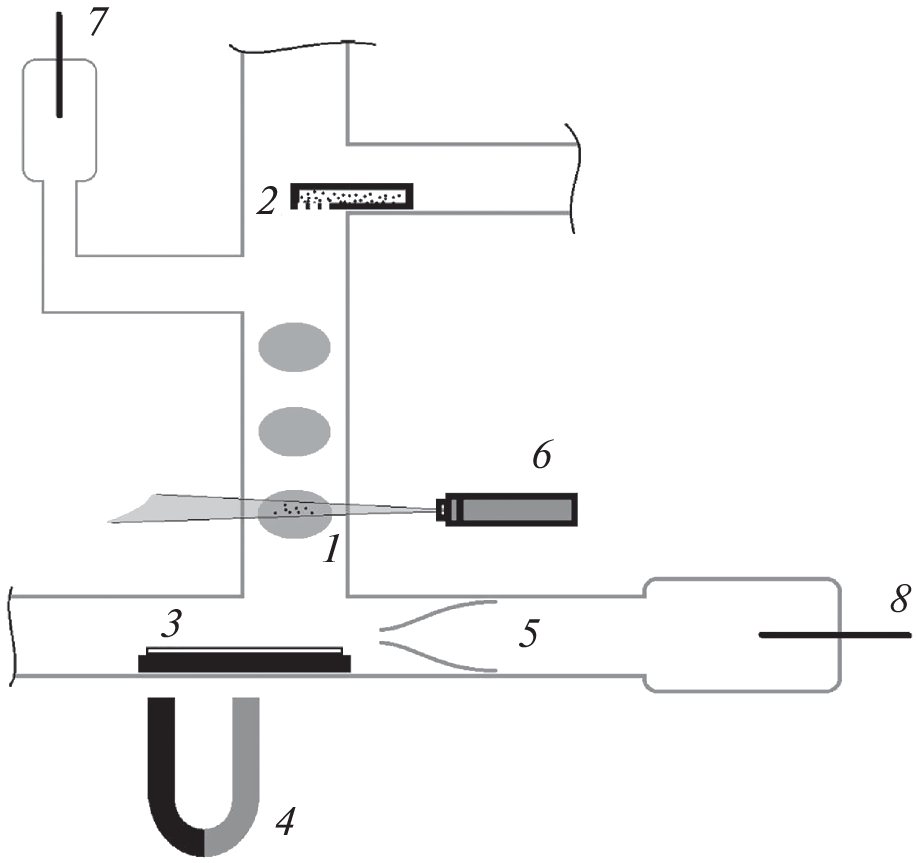
A method is proposed and implemented for controlling the size of dust particles using the variation of the electron temperature by adding a small fraction of a gas impurity with a low ionization potential to the discharge. It is shown that when using the inert He and Xe gases, which differ the most in mass, the size of the selected dust particles differs by a factor of two. Numerical estimates are made of the average size of a selected particle based on the balance of forces acting on a dust particle, taking into account the effect of impurities on the particle charge and ion flow rate. The method of tuning the dust trap to the size of retained particles, operates in the range on the order of 1–10 µm.
About the authors
L. A. Novikov
St. Petersburg State University
Email: plasmadust@yandex.ru
199034, St. Petersburg, Russia
V. Yu. Karasev
Saint Petersburg State University
Email: plasmadust@yandex.ru
Russia, 199034, Saint Petersburg
S. I. Pavlov
St. Petersburg State University
Email: s.i.pavlov@spbu.ru
199034, St. Petersburg, Russia
M. V. Balabas
St. Petersburg State University
Email: plasmadust@yandex.ru
199034, St. Petersburg, Russia
I. R. Krylov
St. Petersburg State University
Email: l.novikov@spbu.ru
St. Petersburg, Russia
E. S. Dzlieva
Saint Petersburg State University
Email: plasmadust@yandex.ru
Russia, 199034, Saint Petersburg
S. A. Maiorov
Prokhorov General Physics Institute, Russian Academy of Sciences; Joint Institute for High Temperatures, Russian Academy of Sciences; Institute of Theoretical and Experimental Physics, Al-Farabi Kazakh National University
Author for correspondence.
Email: l.novikov@spbu.ru
Moscow, Russia; Moscow, Russia; Almaty, Republic of Kazakhstan
References
- Shukla P.K., Mamun A.A. Introduction to Dusty Plasma Physics. Bristol: Institute of Physics Publishing, 2002.
- Tsytovich V.N., Morfill G.E., Vladimirov S.V., Thomas H.M. Elementary Physics of complex plasmas. Berlin; N.Y.: Springer, 2008.
- Fortov V.E., Mofill G.E. Complex and dusty plasmas: from laboratory to space. N. Y.: Taylor & Francis Group, 2010.
- Райзер Ю.П. Физика газового разряда. М.: Наука, 1992.
- Голубовский Ю.Б., Кудрявцев А.А., Некучаев В.О., Порохова И.А., Цендин Л.Д. Кинетика электронов в неравновесной газоразрядной плазме. СПб.: Из-во Санкт-Петербургского гос. ун-та, 2004.
- Цендин Л.Д. // УФН. 2010. Т. 180. С. 139.
- Дзлиева Е.С., Ермоленко М.А., Карасев В.Ю. // ЖТФ. 2012. Т. 82. С. 147.
- Дзлиева Е.С., Ермоленко М.А., Карасев В.Ю. // Физика плазмы. 2012. Т. 38. С. 591.
- Дзлиева Е.С., Ермоленко М.А., Карасев В.Ю. // ЖТФ. 2012. Т. 82. С. 51.
- Патент № 2568898 C1 Российская Федерация, МПК B01D 59/48, B82B 1/00. Способ разделения полидисперсных частиц в микронном и наноразмерном диапазоне и устройство для его реализации: № 2014132470/07: заявл. 06.08.2014: опубл. 20.11.2015 / В.Ю. Карасев, Е.С. Дзлиева, М.А. Ермоленко, В.А. Полищук; заявитель федеральное государственное бюджетное образовательное учреждение высшего профессионального образования “Санкт-Петербургский государственный университет” (СПбГУ).
- Патент на полезную модель № 149100 U1 Российская Федерация, МПК B01D 59/48, B82B 3/00. Разрядная камера для разделения полидисперсных частиц в микронном и наноразмерном диапазоне: № 2014132655/07: заявл. 07.08.2014: опубл. 20.12.2014 / В.Ю. Карасев, Е.С. Дзлиева, М.А. Ермоленко, В.А. Полищук; заявитель федеральное государственное бюджетное образовательное учреждение высшего профессионального образования “Санкт-Петербургский государственный университет” (СПбГУ).
- Maiorov S.A., Kodanova S.K., Dosbolayev M.K., Ramazanov T.S., Golyatina R.I., Bastykova N.Kh., Utegenov A.U. // Phys. Plasmas. 2015. V. 22. P. 033705.
- Антипов С.Н., Васильев М.М., Майоров С.А., Петров О.Ф., Фортов В.Е. // ЖЭТФ. 2011. Т. 139. С. 554.
- Бочкова О.П., Шрейдер Е.Я. Спектральный анализ газовых смесей. М.: Физматгиз, 1963.
- Шибкова Л.В., Шибков В.М. Разряд в смесях инертных газов. М.: Физматлит, 2005.
- Майоров С.А. // Физика плазмы. 2009. Т. 35. С. 869.
- Майоров С.А. // Физика плазмы. 2006. Т. 32. С. 802.
- Майоров С.А., Голятина Р.И., Коданова С.К., Рамазанов Т.С. // Кр. сооб. физ. ФИАН. 2012. № 1. С. 12.
- Голятина Р.И., Майоров С.А. // Прикладная физика. 2014. № 4. С. 5.
- Майоров С.А. // Кр. Сооб. Физ. ФИАН. 2014. Т. 41. С. 20.
- Dzlieva E.S., Ermolenko M.A., Karasev V.Yu., Pavlov S.I., Novikov L.A., Maiorov S.A. // JETP Letters. 2014. V. 100. P. 703.
- Dzlieva E.S., Karasev V.Yu., Pavlov S.I., Ermolenko M.A., Novikov L.A., Maiorov S.A. // Contrib. Plasma Phys. 2016. V. 56. P. 197.
- Грин Х., Лейн В. Аэрозоли – пыли, дымы и туманы. Л.: Химия, 1969.
Supplementary files





