Динамика электромагнитного поля вблизи края полосковой линии при ее зарядке
- Авторы: Корниенко В.Н.1, Кулагин В.В.1,2
-
Учреждения:
- Институт радиотехники и электроники имени В.А. Котельникова Российской академии наук
- Московский государственный университет имени М.В. Ломоносова
- Выпуск: Том 88, № 2 (2024)
- Страницы: 273-276
- Раздел: Волновые явления: физика и применения
- URL: https://medbiosci.ru/0367-6765/article/view/266125
- DOI: https://doi.org/10.31857/S0367676524020192
- EDN: https://elibrary.ru/RQYFVL
- ID: 266125
Цитировать
Полный текст
Аннотация
Методами вычислительного эксперимента исследовано пространственно-временное распределение электромагнитного поля вблизи края полосковой линии при ее зарядке до постоянного значения напряжения между полосками. Выявлены условия, при которых происходит излучение в свободное пространство монополярного электромагнитного импульса.
Ключевые слова
Полный текст
ВВЕДЕНИЕ
В последнее время появился целый ряд работ, в которых обсуждается возможность генерации и излучения в свободное пространство монополярных (униполярных) электромагнитных импульсов (МЭМИ) (см., например, обзор [1] и ссылки на статьи в нем). Следует отметить, что научная дискуссия о возможности излучения в свободное пространство МЭМИ идет уже на протяжении многих лет. Убедительно доказано [2, 3], что, вообще говоря, такого вида импульсы не могут существовать без дополняющих их волновых образований противоположного знака. Поэтому определение условий, при которых в заданной области пространства в определенный промежуток времени можно сформировать МЭМИ, является интересной научной задачей.
Практическая значимость излучаемых МЭМИ определяется, в основном, спецификой их воздействия на искусственные и естественные среды. Так, например, во многих работах, направленных на исследование влияния коротких электрических импульсов на биологические объекты [4, 5], отмечается, что наибольший положительный эффект достигается при использовании импульсов одной полярности. Перспективным представляется применение МЭМИ для задач спектроскопии, дистанционного зондирования Земли и других областях, где необходимо применение широкополосных электромагнитных сигналов.
Остановимся кратко на существующих (или теоретически предложенных) способах формирования МЭМИ. Так, генерация таких импульсов в инфракрасном диапазоне была экспериментально продемонстрирована в [6]. В этой работе МЭМИ был получен в результате возбуждения фотоиндуцированных носителей заряда лазерным излучением. Длительность лазерного импульса была равна 120 фс, он взаимодействовал с тонкой пластинкой GaAs, на которую дополнительно было подано постоянное электрическое смещение (4–11 кВ/см). Позднее, эти же авторы теоретически рассмотрели вопросы распространения МЭМИ указанного диапазона в свободном пространстве, а также особенности, возникающие при фокусировке униполярного импульса металлическим зеркалом [7].
Некоторые оригинальные способы получения МЭМИ были продемонстрированы в ряде вычислительных экспериментов [8, 9]. В этих случаях МЭМИ генерировались в результате прохождения плоского короткого зеркала релятивистских электронов через расположенную наклонно по отношению к направлению распространения зеркала тонкую металлическую фольгу. Само релятивистское зеркало формировалось при прохождении мощного короткого лазерного импульса через газовую мишень. Ввиду малого сечения взаимодействия электроны преодолевали препятствие, при этом лазерный импульс от фольги отражался. В результате на внешней поверхности металла образовывался локализованный в пространстве и перемещающийся с течением времени вдоль фольги ток, который и был источником МЭМИ. Похожий метод был детально проанализирован в [10].
В качестве примера изучения МЭМИ микроволнового диапазона можно привести работу [11], в которой показаны результаты экспериментального исследования квази-монополярного электромагнитного импульса длительностью ~0.5 нс. Излучение пары униполярных импульсов пространственно коротким током, имеющим временную зависимость в виде трапеции, теоретически рассмотрено в [12]. Длительность каждого импульса в этом случае определяется скоростью нарастания (убывания) тока.
В данной работе предложен еще один возможный способ генерации монополярного импульса, основанный на особенностях динамики электромагнитного поля в процессе зарядки воздушной полосковой линии. Идея метода состоит в следующем. Фронт приложенного к левому краю линии напряжения будет распространяться к ее правому концу со скоростью света в вакууме. Естественно, что распределение напряжения вдоль линии в фиксированный момент времени будет описываться ступенчатой функцией, а форма ступеньки будет определяться скоростью нарастания напряжения, приложенному к левому краю. Достигнув правого конца линии, часть энергии такого импульса может быть излучена в свободное пространство. Как известно, пространственно-временной профиль излученного импульса будет определяться временной зависимостью производной по времени импульса зарядки, а значит, следует ожидать излучения МЭМИ.
Таким образом, целью данной работы является исследование структуры поля излучения, которое формируется вблизи края полосковой линии при ее зарядке до заданного напряжения между пластинами, в предположении, что ширина полосковой линии много больше ее длины.
ПОСТАНОВКА ЗАДАЧИ
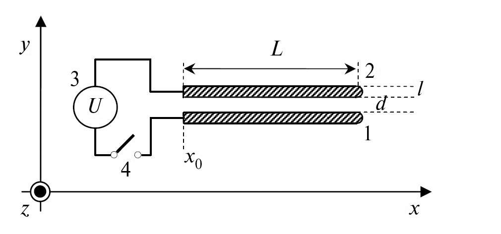
Рассмотрим следующую задачу (рис. 1). Пусть двумерная область G свободного пространства содержит воздушную линию, состоящую из двух идеально проводящих полосок 1, 2, расположенных параллельно друг другу. Они имеют одинаковую длину L. Расстояние между ними равно d. Толщина каждой полоски l удовлетворяет условию l > d. Радиус скругления правого края полосок равен l / 2. К левым краям полосок через ключ 4 подключается источник постоянного напряжения 3. Скорость срабатывания ключа будет определять изменение во времени электрического напряжения U(t) между полосками в точках подключения источника x0. Без ограничения общности положим, что
, (1)
где U0 – максимальное напряжение зарядки линии, t0 – момент включения источника напряжения, τ0 – длительность фронта импульса напряжения.
Рис. 1. Схематическое изображение рассматриваемой системы. 1, 2 – идеально проводящие полоски, 3 – источник напряжения, 4 – ключ
Из (1) следует, что производная напряжения по времени вначале нарастает по закону, близкому к линейному, а затем, после достижения максимума, монотонно убывает до нуля.
Динамику электромагнитного поля в области G будем определять при помощи решения системы уравнений Максвелла в пространственно-временном представлении. Будем рассматривать TM-поляризацию поля, т.е. предположим, что в области G отличными от нуля могут быть две электрических компоненты Ex, Ey и одна магнитная Hz. Отметим, что для свободного пространства диэлектрическая и магнитная проницаемости равны единице, а значит, . Тогда уравнения Максвелла можно представить в следующем виде:
, (2.1)
, (2.2)
. (2.3)
В виду того, что до момента t0 источники поля в G отсутствуют, при решении системы (2) будем использовать нулевые начальные условия для Ex, Ey и Hz.
Из требования отсутствия отражения электромагнитных волн от внешних границ G следует необходимость наличия идеального согласования на них волновых импедансов со свободным пространством. Внутри G на поверхности идеально проводящих полосок должно выполняться условие равенства нулю тангенциальной составляющей электрического поля.
Будем считать, что на левом краю линии (при x = x0) между проводящими полосками функциональная зависимость поперечной компоненты электрического поля от времени задана и связана с напряжением U(t) простым соотношением:
. (3)
Решение системы (2) с указанными начальными и граничными условиями было выполнено численным методом, в основе которого лежит конечно-разностная аппроксимация уравнений в частных производных второго порядка точности [13]. Ячейки пространственных сеток компонент электромагнитного поля имели прямоугольную форму, сами сетки были однородными. Описание границ идеально проводящих полосок было выполнено при помощи ступенчатой аппроксимации. Для удовлетворения условий согласования волновых импедансов на внешних границах G был выбран метод идеально согласованного слоя [14]. Значения компонент проводимости поперек слоя изменялись по квадратичному закону, от нуля до максимального значения, которое достигалось на границе области моделирования. Толщина этого дополнительного слоя составляла сорок ячеек.
РЕЗУЛЬТАТЫ МОДЕЛИРОВАНИЯ
Численное моделирование было выполнено для следующих значений параметров рассматриваемой системы. Продольный размер области G равен 900 см, поперечный – 600 см. Поперечные координаты внутренних поверхностей нижней и верхней полосок равны y1 = 299.5 см и y2 = 300.5 см соответственно. Длина линии L = 300 см, расстояние между полосками d = 1 см, толщина каждой полоски l = 5 см, продольная координата левого края линии x0 = 0. Длительность фронта напряжения τ0 = 0.3 нс, начальный момент времени t0 = 0.
Отметим, что пространственный размер (длина) фронта напряжения для выбранной τ0 составляет ~ 9 см и значительно превосходит расстояние между полосками.
На рис. 2 приведены зависимости Hz компоненты от продольной координаты на прямой y = 300 см в различные моменты времени. Указанный отрезок прямой параллелен оси x, начинается при x = L и расположен посередине между идеально проводящими полосками. Кривые 1, 2, 3, 4 и 5 соответствуют моментам времени 13.3, 16.7, 20.0, 23.3 и 26.6 нс.
Рис. 2. Зависимость магнитной компоненты поля от продольной координаты в различные (последовательные) моменты времени
Огибающая 6 пиковых значений поля пропорциональна зависимости , что соответствует закону убывания амплитуды цилиндрической волны.
Из представленных результатов следует, что при достижении фронта напряжения правого конца полосковой линии, на ее краю формируется МЭМИ, распространяющийся в свободном пространстве со скоростью света. Этот импульс имеет цилиндрический фронт, его временной профиль близок к профилю .
ЗАКЛЮЧЕНИЕ
Таким образом, процесс зарядки полосковой линии источником напряжения, который имеет достаточно крутой фронт включения, можно использовать для генерации униполярных импульсов на пространственных масштабах, сравнимых с шириной этой линии.
Работа выполнена в рамках темы государственного задания ИРЭ им. В.А. Котельникова РАН.
Об авторах
В. Н. Корниенко
Институт радиотехники и электроники имени В.А. Котельникова Российской академии наук
Автор, ответственный за переписку.
Email: korn@cplire.ru
Россия, Москва
В. В. Кулагин
Институт радиотехники и электроники имени В.А. Котельникова Российской академии наук; Московский государственный университет имени М.В. Ломоносова
Email: korn@cplire.ru
Россия, Москва; Москва
Список литературы
- Архипов Р.М., Архипов М.В., Розанов Н.Н. // Квант. электрон. 2020. Т. 50. № 9. С. 801.
- Popov N.L., Vinogradov A.V. // Foundations. 2021. V. 1. No. 2. P. 169.
- Фещенко Р.М. // ЖЭТФ. 2023. Т. 163. № . 4. С. 461; Feshchenko R.M. // JETP. 2023. V. 136. No. 4. P. 406.
- Гуляев Ю.В., Черепенин В.А., Вдовин В.А. и др. // Радиотехн. и электрон. 2015. Т. 60. № 10. С. 1051; Gulyaev Y.V., Cherepenin V.A., Vdovin V.A. et al. // J. Commun. Technol. Electron. 2015. V. 60. No. 10. P. 1097.
- Гуляев Ю.В., Черепенин В.А., Таранов И.В. и др. // Радиотехн. и электрон. 2020. Т. 65. № 2. С. 189; Gulyaev Y.V., Cherepenin V.A., Taranov I.V. et al. // J. Commun. Technol. Electron. 2020. V. 65. No. 2. P. 193.
- You D., Jones R.R., Bucksbaum P.H. // Opt. Lett. 1993. V. 18. No. 4. P. 290.
- You D., Bucksbaum P.H. // J. Opt. Soc. Amer. B. 1997. V. 14. No. 7. P. 1651.
- Wu H.–C., Meyer-ter-Vehn J. // Nature Photonics. 2012. V. 6. P. 304.
- Xu J., Shen B., Zhang X. et al. // Sci. Reports. 2018. V. 8. Art. No. 2669.
- Kuratov A.S., Brantov A.V., Kovalev V.F., Bychenkov V. Yu. // Phys. Rev. E. 2022. V. 106. Art. No. 035201.
- Fedorov V.M., Ostashev V.E., Tarakanov V.P., Ul’yanov A.V. // J. Phys. Conf. Ser. 2017. V. 830. Art. No. 012020.
- http://jre.cplire.ru/jre/mar17/8/text.pdf.
- Бэдсел Ч., Ленгдон А. Физика плазмы и численное моделирование. М.: Энергоатомиздат, 1989. 452 с.
- Taflove A. Computational electrodynamics. The finite-difference time-domain method. London: ArtechHouse, 1995. P. 188.
Дополнительные файлы




