Effect of the Material of Electrodes on Electroformation and Properties of Memristors Based on Open Metal–SiO2–Metal Sandwich Structures
- Authors: Mordvintsev V.M.1, Kudryavtsev S.E.1, Naumov V.V.1, Gorlachev E.S.1
-
Affiliations:
- Valiev Institute of Physics and Technology, Yaroslavl Branch, Russian Academy of Sciences
- Issue: Vol 52, No 5 (2023)
- Pages: 431-440
- Section: ТЕХНОЛОГИИ
- URL: https://medbiosci.ru/0544-1269/article/view/138579
- DOI: https://doi.org/10.31857/S0544126923700515
- EDN: https://elibrary.ru/PZYPSZ
- ID: 138579
Cite item
Full Text
Abstract
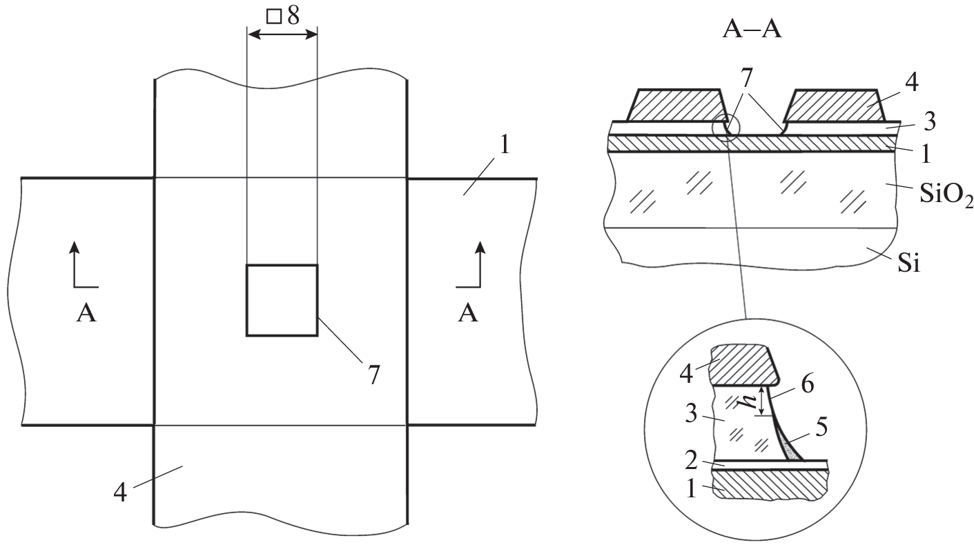
Memristors (elements of nonvolatile electrically reprogrammable memory) based on electro-formed open sandwich-metal-dielectric-metal (MDM) structures are fabricated using thin-film technology. Studies of the electroforming process and the features of the current-voltage characteristics (CVCs) after it was carried out for structures with various electrode materials showed that in the case of a tungsten anode, it was possible to minimize the probability of electrical breakdown during electroforming and subsequent oper-ation of the memory elements. This is valid for any position of the anode in the MDM structure: both upper and lower. However, it is experimentally shown that tungsten is not the optimal material. The production of the anode from molybdenum retains all the advantages of the design with tungsten, and in addition, it leads to a noticeable decrease in the electroforming voltage, which can increase the reliability of this process. The results obtained can be used to optimize the design of the memory element.
About the authors
V. M. Mordvintsev
Valiev Institute of Physics and Technology, Yaroslavl Branch, Russian Academy of Sciences
Email: Mordvintsev-Viktor@yandex.ru
Yaroslavl, 150007 Russia
S. E. Kudryavtsev
Valiev Institute of Physics and Technology, Yaroslavl Branch, Russian Academy of Sciences
Email: Mordvintsev-Viktor@yandex.ru
Yaroslavl, 150007 Russia
V. V. Naumov
Valiev Institute of Physics and Technology, Yaroslavl Branch, Russian Academy of Sciences
Email: Mordvintsev-Viktor@yandex.ru
Yaroslavl, 150007 Russia
E. S. Gorlachev
Valiev Institute of Physics and Technology, Yaroslavl Branch, Russian Academy of Sciences
Author for correspondence.
Email: Mordvintsev-Viktor@yandex.ru
Yaroslavl, 150007 Russia
References
- Abunahla H., Mohammad B. Memristor Device Overview. In: Memristor Technology: Synthesis and Modeling for Sensing and Security Applications. Analog Circuits and Signal Processing. Cham: Springer. 2018. 106 p.
- Sun W., Gao B., Chi M., Xia Q., Yang J.J., Qian H., Wu H. Understanding memristive switching via in situ characterization and device modeling // Nat. Commun. 2019. V. 10. P. 3453-1–13.
- Ielmini D. Resistive switching memories based on metal oxides: mechanisms, reliability and scaling // Semicond. Sci. Technol. 2016. V. 31. P. 063002-1–25.
- Mehonic A., Shluger A.L., Gao D., Valov I., Miranda E., Ielmini D., Bricalli A., Ambrosi E., Li C., Yang J.J., Xia Q., Kenyon A.J. Silicon Oxide (SiOx): A Promising Material for Resistance Switching? // Adv. Mater. 2018. P. 1801187-1–21.
- Тихов C.B., Горшков О.Н., Антонов И.Н., Касаткин А.П., Королев Д.С., Белов А.И., Михайлов А.Н., Тетельбаум Д.И. Изменение иммитанса при электроформовке и резистивном переключении в мемристивных структурах “металл–диэлектрик–металл” на основе SiOx // ЖТФ. 2016. Т. 86. Вып. 5. С. 107–111.
- Захаров П.С., Итальянцев А.Г. Эффект переключения электрической проводимости в структурах металл–диэлектрик–металл на основе нестехиометрического оксида кремния // Труды МФТИ. 2015. Т. 7. № 2. С. 113–118.
- Мордвинцев В.М., Кудрявцев С.Е., Левин В.Л. Электроформовка как процесс самоформирования проводящих наноструктур для элементов энергонезависимой электрически перепрограммируемой памяти // Российские нанотехнологии. 2009. Т. 4. № 1–2. С. 174–182.
- Мордвинцев В.М., Кудрявцев С.Е., Левин В.Л. Высокостабильная энергонезависимая электрически перепрограммируемая память на самоформирующихся проводящих наноструктурах // Российские нанотехнологии. 2009. Т. 4. № 1–2. С. 183–191.
- Mordvintsev V.M., Gorlachev E.S., Kudryavtsev S.E. A mechanism for the formation of a conducting medium in memristers based on electroformed open sandwich MDM structures // Russian Microelectronics. 2022. V. 51. № 4. P. 255–263.
- Mordvintsev V.M., Kudryavtsev S.E. Effect of constructional features of the insulating gap of open TiN–SiO2–W and Si–SiO2–W “sandwich” structures on the process of their electroforming // Russian Microelectronics. 2017. V. 46. № 4. P. 243–251.
- Mordvintsev V.M., Naumov V.V., Simakin S.G. Secondary Ion Mass Spectrometry Study of the Formation of a Nanometer Oxide Film on a Titanium Nitride Surface // Russian Microelectronics. 2016. V. 45. № 4. P. 242–255.
Supplementary files










