Investigation of the Dependence of the Yield of Neutrons and Protons of the DD Reaction from Ti and CVD Diamond on the Target Rotation Angle
- Autores: Negodaev M.A.1, Meshaninov S.A.2, Artemev K.K.2, Rodionov N.B.2, Amosov V.N.2, Tsekhosh V.I.1, Popovich A.F.1, Shpakov K.V.1, Rusetskii A.S.1, Skopintsev D.A.2
-
Afiliações:
- P.N. Lebedev Physical Institute, RAS
- Insitution “Project Center ITER”, Private Institution of the State Atomic Energy Corporation Rosatom
- Edição: Nº 2 (2023)
- Páginas: 3-8
- Seção: Articles
- URL: https://medbiosci.ru/1028-0960/article/view/137702
- DOI: https://doi.org/10.31857/S1028096023020073
- EDN: https://elibrary.ru/DSKWEQ
- ID: 137702
Citar
Texto integral
Resumo
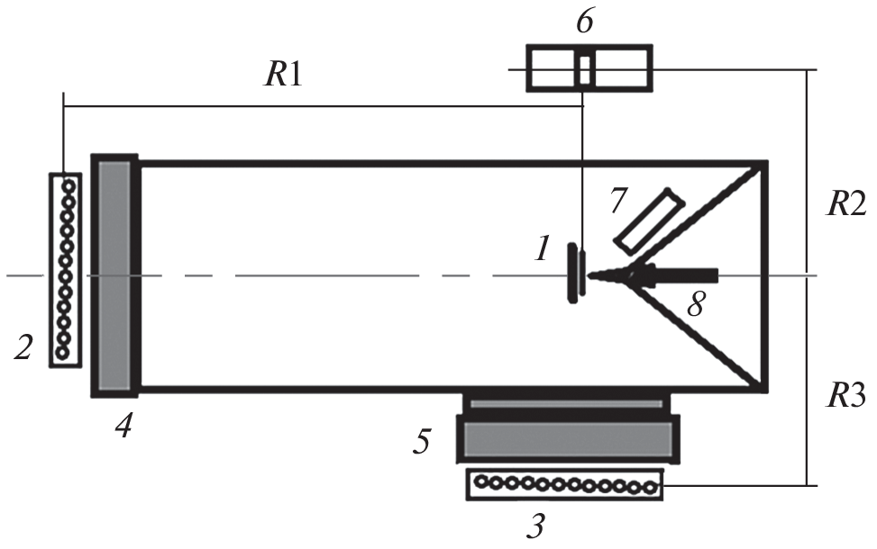
At the HELIS ion accelerator, the dependence of the yield of nuclear DD reaction products (neutrons and protons) on the angle of rotation of a Ti and CVD diamond target relative to the axis of the D+ ion beam at energies E ≤ 35 keV was studied. Neutron detection was carried out by two independent methods: proportional counters filled with 3He and a scintillation detector with a stilbene crystal. Protons were detected using a diamond detector. The detectors were located on the side and behind the target. The CVD diamond target had a polycrystalline structure and texture with (100) grain orientation. The crystal structure of the titanium target was homogeneous and isotropic. The measurements showed the dependence of the neutron flux recorded by the detectors located on the side and behind the target on the orientation of the target made of textured CVD diamond in the deuterium ion beam at energies of 25 and 30 keV. The proton yield from the CVD diamond target showed a dependence on the target rotation angle at an energy of 25 keV. For the Ti target, no such effects were observed. The orientational dependence in the yield of neutrons and protons from textured diamond is explained by the effect of channeling deuterium ions in its structure.
Sobre autores
M. Negodaev
P.N. Lebedev Physical Institute, RAS
Email: ruseckijas@lebedev.ru
Russia, 119991, Moscow
S. Meshaninov
Insitution “Project Center ITER”, Private Institution of the State Atomic Energy Corporation Rosatom
Email: ruseckijas@lebedev.ru
Russia, 123182, Moscow
K. Artemev
Insitution “Project Center ITER”, Private Institution of the State Atomic Energy Corporation Rosatom
Email: ruseckijas@lebedev.ru
Russia, 123182, Moscow
N. Rodionov
Insitution “Project Center ITER”, Private Institution of the State Atomic Energy Corporation Rosatom
Email: ruseckijas@lebedev.ru
Russia, 123182, Moscow
V. Amosov
Insitution “Project Center ITER”, Private Institution of the State Atomic Energy Corporation Rosatom
Email: ruseckijas@lebedev.ru
Russia, 123182, Moscow
V. Tsekhosh
P.N. Lebedev Physical Institute, RAS
Email: ruseckijas@lebedev.ru
Russia, 119991, Moscow
A. Popovich
P.N. Lebedev Physical Institute, RAS
Email: ruseckijas@lebedev.ru
Russia, 119991, Moscow
K. Shpakov
P.N. Lebedev Physical Institute, RAS
Email: ruseckijas@lebedev.ru
Russia, 119991, Moscow
A. Rusetskii
P.N. Lebedev Physical Institute, RAS
Autor responsável pela correspondência
Email: ruseckijas@lebedev.ru
Russia, 119991, Moscow
D. Skopintsev
Insitution “Project Center ITER”, Private Institution of the State Atomic Energy Corporation Rosatom
Email: ruseckijas@lebedev.ru
Russia, 123182, Moscow
Bibliografia
- Bagulya A.V., Dalkarov O.D., Negodaev M.A. et al. // Bull. Lebedev Phys. Inst. 2012. V. 39. P. 247. https://www.doi.org/10.3103/S1068335612090011
- Bagulya A.V., Dalkarov O.D., Negodaev M.A. et al. // Bull. Lebedev Phys. Inst. 2012. V. 39. P. 325. https://www.doi.org/10.3103/S1068335612120019
- Bagulya A.V., Dalkarov O.D., Negodaev M.A. et al. // Bull. Lebedev Phys. Inst. 2013. V. 40. P. 282. https://www.doi.org/10.3103/S1068335613100023
- Bagulya A.V., Dalkarov O.D., Negodaev M.A. et al. // Bull. Lebedev Phys. Inst. 2013. V. 40. P. 305. https://www.doi.org/10.3103/S1068335613110018
- Bagulya A.V., Dalkarov O.D., Negodaev M.A., Rusetskii A.S., Chubenko A.P. // Phys. Scr. 2015. V. 90. P. 074051. https://www.doi.org/10.1088/0031-8949/90/7/074051
- Bagulya A.V., Dalkarov O.D., Negodaev M.A. et al. // Nucl. Instrum. Methods Phys. Res. B. 2015. V. 355. P. 340. https://doi.org/10.1016/j.nimb.2015.01.021
- Bagulya A.V., Dalkarov O.D., Negodaev M.A., Pivovarov Yu.L., Rusetskii A.S., Tukhfatullin T.A. // Nuclear Instrum. Methods Phys. Res. B. 2017. V. 402. P. 243. https://www.doi.org/10.1016/J.NIMB.2017.02.059
- Bagulya A.V., Dalkarov O.D., Negodaev M.A., Rusetskii A.S. // Phys. Particles Nuclei. 2017. V. 48. № 5. P. 691. https://www.doi.org/10.1134/S106377961705004 5
- Dalkarov O.D., Negodaev M.A., Rusetskii A.S., Chubenko A.P., Pivovarov Yu. L., Tukhfatullin T.A. // Phy. Rev. Accelerators and Beam. 2019. V. 22. P. 034201. https://www.doi.org/10.1103/PHYSREVACCELBEAMS. 22.034201
- Dalkarov O.D., Negodaev M.A., Rusetskii A.S. et al. // J. Phys.: Conf. Series. 2019. V. 1390. P. 012002. https://www.doi.org/10.1088/1742-6596/1390/1/012002
- Dalkarov O.D., Negodaev M.A., Rusetskii A.S. et al. // J. Surf. Invest.: X-ray, Synchrotron Neutron Tech. 2020. V. 14. № 2. P. 220. https://www.doi.org/10.1134/S102745102002024X
- Dalkarov O.D., Negodaev M.A., Rusetskii A.S. et al. // JINST. 2020. V. 15. P. C06062. https://doi.org/10.1088/1748-0221/15/06/C06062
- Bagulya A.V., Dalkarov O.D., Negodaev M.A. et al. // Nucl. Instrum. Methods Phys. Res. B. 2017. V. 402. P. 243. https://www.doi.org/10.1016/j.nimb.2017.02.059
- Negodaev M.A., Kirsanov M.A., Popovich A.F. et al. // Bull. Lebedev Phys. Inst. 2022. V. 49. № 4. P. 110. https://www.doi.org/10.3103/S1068335622040030
- Dalkarov O.D., Negodaev M.A., Rusetskii A.S. et al. // Instrum. Experimental Tech. 2020. V. 63. № 1. P. 19. https://www.doi.org/10.1134/S002044122001011X
- Ralchenko V.G., Pleuler E., Lu F.X., Sovyk D.N., Bolshakov A.P., Guo S.B., Tang W.Z., Gontar I.V., Khomich A.A., Zavedeev E.V., Konov V.I. // Diam. Relat. Mater. 2012. V. 23. P. 172. https://www.doi.org/10.1016/j.diamond.2011.12.031
- Abdrashitov S.V., Bogdanov O.V., Korotchenko K.B. et al. // Nucl. Instrum. Methods Phys. Res. B. 2017. V. 402. P. 106. https://doi.org/10.1016/j.nimb.2017.03.132
- Korotchenko K.B., Tukhfatullin T.A., Pivovarov Y.L., Eikhorn Yu.L. // J. Phys.: Conf. Ser. 2016. V. 732. P. 012031. https://doi.org/10.1088/1742-6596/732/1/012031
- Korotchenko K.B., Tukhfatullin T.A., Pivovarov Y.L., Eikhorn Yu.L. // J. Phys.: Conf. Ser. 2016. V. 732. P. 012031. 1https://doi.org/10.1088/1742-6596/732/1/01203
- Dalkarov O.D., Glushkov N.A., Negodaev M.A., Rusetsky A.S., Oginov A.V., Kirsanov M.A., Popovich A.F. // J. Surf. Invest.: X-ray, Synchrotron Neutron Tech. 2020. V. 14. № 2. P. 226. https://www.doi.org/10.1134/S1027451020020251
- Артемьев К.К., Амосов В.Н., Родионов Н.Б. и др. // Сборник тезисов XIX Всероссийской конференции “Диагностика высокотемпературной плазмы”, 27 сентября–1 октября 2021 г., Сочи. С. 179.
- ANSYS Engineering Simulation Software (2022) ANSYS, Inc. https://www.ansys.com/ Cited 20 June 2022.
Arquivos suplementares






