Change in the Local Atomic Structure of the Fe–Ni Alloy Due to Irradiation by Argon Ions
- Authors: Averkiev I.K.1, Kolotov A.A.1, Bakieva O.R.1
-
Affiliations:
- Udmurt Federal Research Center of the Ural Branch of the Russian Academy of Sciences
- Issue: No 3 (2023)
- Pages: 46-52
- Section: Articles
- URL: https://medbiosci.ru/1028-0960/article/view/137721
- DOI: https://doi.org/10.31857/S1028096023030020
- EDN: https://elibrary.ru/LGKSUX
- ID: 137721
Cite item
Full Text
Abstract
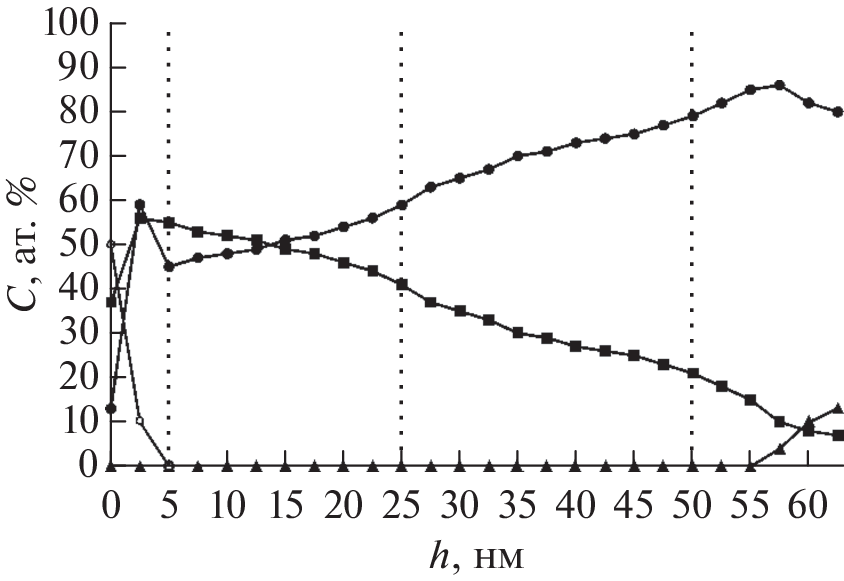
In this work, the surface of the N18 alloy was modified with argon ions in a repetitively pulsed regime. In situ electron spectroscopy methods were used to study changes in the chemical composition and local atomic structure caused by ion action on the surface. The chemical composition was determined by Auger electron spectroscopy using argon ion profiling. The analysis of the local atomic structure was carried out by the method of spectroscopy of extended thin structures of electron energy losses. The excitation spectra of the iron M2,3-edge and the K-edge of oxygen were obtained in the geometry of backscattering from the surface. The variation in the energy of the incident electron beam made it possible to obtain a signal from the excitation of oxygen and iron atoms from the same depth. The analysis of experimental data was carried out by the method of solving the inverse problem for finding pair correlation functions using regularization according to Tikhonov. The study of the local atomic structure was carried out at profiling depths of 5, 25, and 50 nm. It is shown that the ion-modified layer within the projective range of argon ions consists mainly of iron oxides. At a profiling depth of 50 nm, the parameters of the local environment of Fe atoms are close to those of unoxidized iron. Nickel as a result of surface diffusion is found at a depth of more than 50 nm.
About the authors
I. K. Averkiev
Udmurt Federal Research Center of the Ural Branch of the Russian Academy of Sciences
Author for correspondence.
Email: averkiev1997@mail.ru
Russia, 426008, Izhevsk
A. A. Kolotov
Udmurt Federal Research Center of the Ural Branch of the Russian Academy of Sciences
Email: averkiev1997@mail.ru
Russia, 426008, Izhevsk
O. R. Bakieva
Udmurt Federal Research Center of the Ural Branch of the Russian Academy of Sciences
Email: averkiev1997@mail.ru
Russia, 426008, Izhevsk
References
- Sha W., Guo Z. Maraging Steels: Modelling of Microstructure, Properties and Applications. Woodhead Publishing, 2009. 203 p.
- Raabe D., Sandlöbes S., Millan J., Ponge D., Assadi H., Herbig M., Choi P. // Acta Materialia. 2013. V. 61. № 16. P. 6132. https://www.doi.org/10.1016/j.actamat.2013.06.055
- Guo L., Zhang L., Andersson J., Ojo O. // J. Mater. Sci. Technol. 2022. V. 120. P. 227. https://www.doi.org/10.1016/j.jmst.2021.10.056
- Rohit B., Muktinutalapati N.R. // J. Mater. Engineer. Performance. 2021. V. 30. № 4. P. 2341. https://www.doi.org/10.1007/s11665-021-05583-w
- Решетников С.М., Гильмутдинов Ф.З., Борисова Е.М. и др. // Коррозия: материалы, защита. 2017. № 9. С. 10.
- Решетников С.М., Гильмутдинов Ф.З. и др. // Коррозия: материалы, защита. 2015. № 10. С. 1.
- Картапова Т.С., Бакиева О.Р. и др. // Физика и химия обработки материалов. 2019. № 4. С. 27. https://www.doi.org/10.30791/0015-3214-2019-4-27-35
- Решетников С.М., Бакиева О.Р., Борисова Е.М. и др. // Коррозия: материалы, защита. 2017. № 12. С.1.
- Решетников С.М., Бакиева О.Р., Борисова Е.М. и др. // Коррозия: материалы, защита. 2018. № 4. С.1.
- Решетников С.М., Гильмутдинов Ф.З., Борисова Е.М. и др. // Коррозия: материалы, защита. 2015. № 10. С. 1.
- Averkiev I.K., Bakieva O.R., Nemtsova O.M., et al. // Appl. Surf. Sci. 2021. V. 539. P. 148243. https://www.doi.org/10.1016/j.apsusc.2020.148243
- Бакиева О.Р., Аверкиев И.К., Гильмутдинов Ф.З. и др. // Физика металлов и металловедение. 2020. Т. 121. № 1. С. 53. https://www.doi.org/10.31857/S0015323020010027
- Сурнин Д.В., Воробьев В.Л., Гильмутдинов Ф.З. и др. // Поверхность. Рентген., синхротр. и нейтрон. исслед. 2016. № 4. С. 74. https://www.doi.org/10.7868/S0207352816010170
- Арзамазов Б.Н., Брострем В.А., Буше Н.А. и др. Конструкционные материалы: Справочник. М.: Машиностроение, 1990. 688 с.
- Бриггс Д., Сих М.П. Анализ поверхности методами оже- и рентгеновской фотоэлектронной спектроскопии. М.: Мир, 1987. 599 с.
- Childs K.D., Carlson B.A., LaVanier LA. et al. Handbook of Auger Electron Spectroscopy. Minnesota: Physical Electronics Inc., 1995.
- Guy D., Bakieva O., Grebennikov V. et al. // J. Electron Spectroscopy Related Phenomena. 2010. V. 182. P. 115. https://www.doi.org/10.1016/j.elspec.2010.09.004
- Bakieva O.R., Nemtsova O.M. // J. Electron Spectroscopy Related Phenomena. 2018. V. 222. P. 15. https://www.doi.org/10.1016/j.elspec.2017.10.004
- Бакиева О.Р., Гай Д.Е., Деев А.Н., Гильмутдинов Ф.З. // Поверхность. Рентген., синхротр. и нейтрон. исслед. 2009. № 5. С. 25.
- Бакиева О.Р., Немцова О.М., Сурнин Д.В. // Поверхность. Рентген., синхротр. и нейтрон. исслед. 2015. № 10. С. 53. https://www.doi.org/10.7868/S0207352815060049
- Гай Д.Е., Желтышева О.Р., Сурнин Д.В., Гильмутдинов Ф.З. // Поверхность. Рентген., синхротр. и нейтрон. исслед. 2006. № 12. С. 86.
Supplementary files







