Project of Scanning and Projection Microscopes for the Nanoscopy Station for Biological Research in the “Water Transparency Window”
- Autores: Malyshev I.V.1, Chernov V.A.2, Khomyakov Y.V.2, Rakshun Y.V.2, Chkhalo N.I.1, Toropov M.N.1, Reunov D.G.1, Polkovnikov V.N.1, Pestov A.E.1, Shchelokov I.A.3
-
Afiliações:
- Institute for Physics of Microstructures of RAS
- Institute of Nuclear Physics G.I. Budker of the Siberian Branch RAS
- Institute for Problems of Microelectronics Technology and High Purity Materials of RAS
- Edição: Nº 5 (2023)
- Páginas: 3-15
- Seção: Articles
- URL: https://medbiosci.ru/1028-0960/article/view/137748
- DOI: https://doi.org/10.31857/S1028096023050126
- EDN: https://elibrary.ru/AJWIBH
- ID: 137748
Citar
Texto integral
Resumo
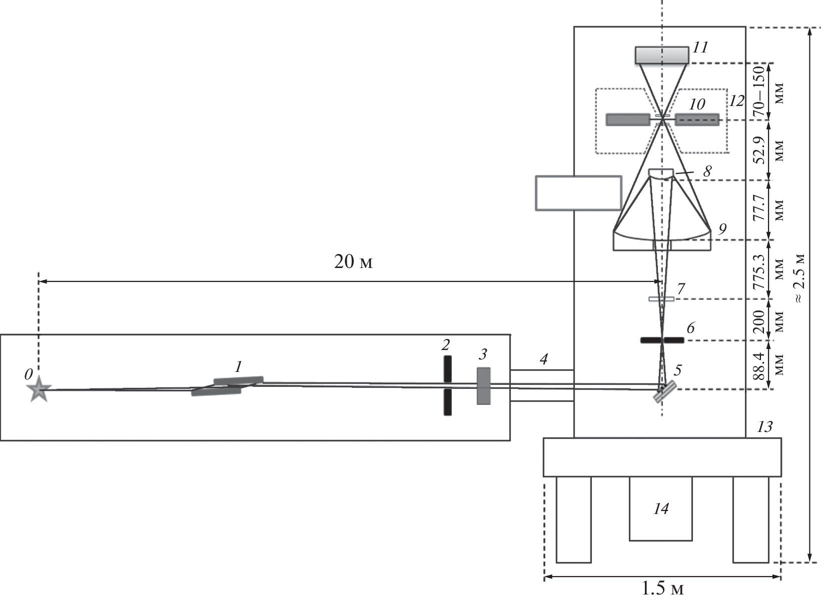
A brief description of the concept of a soft X-ray microscope for the Nanoscopy station is given, which is planned to be installed at the SKIF fourth-generation synchrotron. The microscope will be designed to study the structure of cells and dynamic processes in them with nanometer spatial resolution. It will use a unique absorption contrast of ~15 between carbon-containing structures and water in the spectral range of the “water transparency window”, λ = 2.3–4.3 nm, which eliminates the need for contrasting and the use of fluorophores and minimizes the doses of ionizing radiation absorbed in the samples to obtain high-quality 3D-images. The scanning and projection schemes of the microscope, their main technical characteristics, including the calculated spectra and parameters of the undulator source are presented, and an estimate of the absorbed doses depending on the resolution is obtained. The main advantage of the proposed concept lies in the use of an objective of high-aperture multilayer X-ray mirrors, which makes it possible to clearly visualize the focal section of the sample. Technically simple axial tomography will also be used to reconstruct the three-dimensional structure of frozen or dried samples. In the scanning scheme, due to the low dose of radiation, it will be possible to study living plant cells with a resolution of up to 10 nm, animals with a resolution of up to 80 nm, and cryofixed samples with a resolution of up to 5 nm. In the projection scheme, due to the simultaneous observation of the entire focal XY-section, the time for obtaining three-dimensional images is significantly reduced, but due to the large dose, it will be oriented mainly on the study of fixed samples.
Sobre autores
I. Malyshev
Institute for Physics of Microstructures of RAS
Autor responsável pela correspondência
Email: ilya-malyshev-wot@yandex.ru
Russia, 603950, Nizhny Novgorod
V. Chernov
Institute of Nuclear Physics G.I. Budker of the Siberian Branch RAS
Email: ilya-malyshev-wot@yandex.ru
Russia, 630090, Novosibirsk
Yu. Khomyakov
Institute of Nuclear Physics G.I. Budker of the Siberian Branch RAS
Email: ilya-malyshev-wot@yandex.ru
Russia, 630090, Novosibirsk
Ya. Rakshun
Institute of Nuclear Physics G.I. Budker of the Siberian Branch RAS
Email: ilya-malyshev-wot@yandex.ru
Russia, 630090, Novosibirsk
N. Chkhalo
Institute for Physics of Microstructures of RAS
Email: ilya-malyshev-wot@yandex.ru
Russia, 603950, Nizhny Novgorod
M. Toropov
Institute for Physics of Microstructures of RAS
Email: ilya-malyshev-wot@yandex.ru
Russia, 603950, Nizhny Novgorod
D. Reunov
Institute for Physics of Microstructures of RAS
Email: ilya-malyshev-wot@yandex.ru
Russia, 603950, Nizhny Novgorod
V. Polkovnikov
Institute for Physics of Microstructures of RAS
Email: ilya-malyshev-wot@yandex.ru
Russia, 603950, Nizhny Novgorod
A. Pestov
Institute for Physics of Microstructures of RAS
Email: ilya-malyshev-wot@yandex.ru
Russia, 603950, Nizhny Novgorod
I. Shchelokov
Institute for Problems of Microelectronics Technology and High Purity Materials of RAS
Email: ilya-malyshev-wot@yandex.ru
Russia, 142432, Chernogolovka
Bibliografia
- Hanssen E., Knoechel C., M. Dearnley M. et al. // J. Struct. Biol. 2012. V. 177. № 2. P. 224. https://doi.org/10.1016/j.jsb.2011.09.003
- Kirz J. // Q. Rev. Biophys. 1995 V. 28. P. 33. https://doi.org/10.1017/s0033583500003139
- Eltsov M., Grewe D., Lemercier N. et al. // Nucl. Acids Res. 2018. V. 46. № 17. P. 9189. https://doi.org/10.1093/nar/gky670
- Hell S.W., Wichmann J. // Opt. Lett. 1994. V. 19. № 11. P. 780. https://doi.org/10.1364/OL.19.000780
- Späth A., Schöll S., Riess C. et al. // Ultramicroscopy. 2014. V. 144. P. 19. https://doi.org/10.1016/j.ultramic.2014.04.004
- Vila-Comamala J., Jefimovs K., Raabe J. et al. // Ultramicroscopy. 2009. V. 109. № 11. P. 1360. https://doi.org/10.1016/j.ultramic.2009.07.005
- Späth A., Raabe J., Fink R.H. // J. Synchr. Radiat. 2015. V. 22. № 1. P. 113. https://doi.org/10.1107/S1600577514022322
- Kotani Y., Senba Y., Toyoki K. et al. // J. Synchr. Radiat. 2018. V. 25. № 5. P. 1444. https://doi.org/10.1107/S1600577518009177
- Takman P.A.C., Stollberg H., Johansson G.A. et al. // J. Microscopy. 2007. V. 226. № 2. P. 175. https://doi.org/10.1111/j.1365-2818.2007.01765.x
- Larabell C.A., Le Gros M.A. // Mol. Biol. Cell. 2004. V. 15. № 3. P. 957. https://doi.org/10.1091/mbc.E03-07-0522
- Малышев И.В., Пестов А.Е., Полковников В.Н. и др. // Поверхность. Рентген., синхротр. и нейтрон. исслед. 2019. № 1. С. 3. https://doi.org/10.1134/S0207352819010128
- Schneider G., Guttmann P., Heim S. et al. // Nat. Methods. 2010. V. 7. Iss. 12. P. 985. https://doi.org/10.1038/nmeth.1533
- Chkhalo N.I., Malyshev I.V., Pestov A.E. et al. // Appl. Opt. 2016. V. 55. № 3. P. 619. https://doi.org/10.1364/AO.55.000619
- Turkot B. // Proc. SPIE. 2016. V. 9776. P. 977602. https://doi.org/10.1117/12.2225014
- Pirati A., v. Schoot J., Troost K. et al. // Proc. SPIE. 2017. V. 10143. P. 101430G. https://doi.org/10.1117/12.2261079
- Gullikson E.M., Salmassi F., Aquila A.L., Dollar F. Lawrence Berkeley National Laboratory: Berkeley, CA, USA, 2006. http://escholarship.org/uc/item/8hv7q0hj (accessed on 20 June 2008).
- Jingtao Z., Haochuan L., Hongchang W. et al. PXRNM workshop-2016, 2016. https://www.utwente.nl/en/tnw/xuv/workshops/archive/ pxrnm-workshop-2016/program/pxrnms-2016-abstracts-poster-presentations.pdf.
- Burcklen C., de Rossi S., Meltchakov E. et al. // Opt. Lett. 2017. V. 42. № 10. P. 1927. https://doi.org/10.1364/OL.42.001927
- Andreev S.S., Bibishkin M.S., Chkhalo N.I. et al. // J. Synchr. Radiat. 2003. V. 10. Iss. 5. P. 358. https://doi.org/10.1107/S0909049503015255
- Bibishkin M.S., Chkhalo N.I., Fraerman A.A. et al. // Nucl. Instrum. Methods Phys. Res. A. 2005. V. 543. № 1. P. 333. https://doi.org/10.1016/j.nima.2005.01.251
- Akhsakhalyan A.D., Kluenkov E.B., Lopatin A.Ya. et al. // J. Surf. Invest.: X-ray, Synchrotron Neutron Tech. 2017. V. 11. № 1. P. 1. https://doi.org/10.1134/S1027451017010049
- Полковников В.Н., Гарахин С.А., Квашенников Д.C., Малышев И.В., Салащенко Н.Н., Свечников М.В., Смертин Р.М., Чхало Н.И. // ЖТФ. 2020. V. 90(11), P. 1893.
- Chkhalo N.I., Malyshev I.V., Pestov A.E. et al. // Physics-Uspekhi. 2020. V. 63. № 1. P. 67. https://doi.org/10.3367/UFNe.2019.05.038601
- http://www.eurotek-general.ru/products/systems_pi/ multicoordinate/p-561-p-562-p-563-pimars/"l “ad- image-0
- Schelokov I.A., Roshchupkin D.V., Kondakov A.S. et al. // Optics Commun. 1999. V. 159. № 4–6. P. 278. https://doi.org/10.1016/S0030-4018(98)00598-7
- Schneider G., Niemann B. // X-ray Sci. 1994. V. 2. P. 8.
- Gilbert J.R. Soft X-Ray Microimaging of Whole Wet Cells. PhD thesis, California Institute of Technology, Pasadena, California, 1992.
- Chkhalo N.I., Malyshev I.V., Pestov A.E., Polkovnikov V.N., Reunov D.G., Salashchenko N.N., Shchelokov I.A. X-ray Optical Scheme for Station “Nanoscope” for Biological Research in the Water Window. Synchrotron and Free Electron Laser Radiation: Generation and Application (SFR-2020). https://doi.org/10.1063/5.0031702
- Малышев И.В., Реунов Д.Г., Чхало Н.И. и др. // Матер. XXVI Междунар. симп. “Нанофизика и наноэлектроника”. Нижний Новгород, 14–17 марта 2022. Т. 1. С. 562.
- Sage D., Donati L., Soulez F. et al. // Methods-Image Processing for Biologists. 2017. V. 115. P. 28. https://doi.org/10.1016/j.ymeth.2016.12.015
Arquivos suplementares










