Особенности формирования поверхностных слоев титанового сплава ВТ6 в условиях имплантации ионов N+
- Авторы: Воробьев В.Л.1, Быков П.В.1, Гильмутдинов Ф.З.1, Ульянов А.Л.1, Баянкин В.Я.1
-
Учреждения:
- Удмуртский федеральный исследовательский центр УрО РАН
- Выпуск: № 12 (2023)
- Страницы: 82-89
- Раздел: Статьи
- URL: https://medbiosci.ru/1028-0960/article/view/232225
- DOI: https://doi.org/10.31857/S1028096023100217
- EDN: https://elibrary.ru/PQWWDR
- ID: 232225
Цитировать
Полный текст
Аннотация
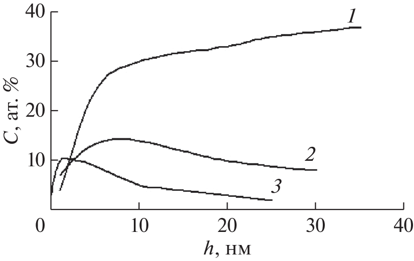
В работе исследовано влияние имплантации ионов N+ на химический состав и атомную структуру поверхностных слоев титанового сплава ВТ6. Показано накопление азота в поверхностных слоях до концентраций 30 ат. % и более и образование химических соединений нитрида титана TiN в виде фазовых включений. Предположительно, это обусловлено процессами химической природы, в частности, химической активностью атомов титана, их склонности к взаимодействию с атомами азота. Кроме этого, несмотря на то, что в условиях ионной бомбардировки интегральная концентрация кислорода в поверхностных слоях снижается из-за распыления, тем не менее в более глубоких слоях наблюдается окисление компонентов титанового сплава ВТ6. Предположительно, в окислении компонентов титанового сплава участвуют как кислород из естественного оксидного слоя, так и из остаточной атмосферы вакуумной камеры, проникающий в более глубокие поверхностные слои в процессе облучения. Накопление азота, образование нитридов титана и окисление компонентов титанового сплава ВТ6 свидетельствуют о существенной роли процессов химической природы в формировании структурно-фазового состояния поверхностных слоев титанового сплава ВТ6 в условиях имплантации ионов N+.
Об авторах
В. Л. Воробьев
Удмуртский федеральный исследовательский центр УрО РАН
Автор, ответственный за переписку.
Email: Vasily_L.84@udman.ru
Россия, 426067,
Ижевск
П. В. Быков
Удмуртский федеральный исследовательский центр УрО РАН
Email: Vasily_L.84@udman.ru
Россия, 426067,
Ижевск
Ф. З. Гильмутдинов
Удмуртский федеральный исследовательский центр УрО РАН
Email: Vasily_L.84@udman.ru
Россия, 426067,
Ижевск
А. Л. Ульянов
Удмуртский федеральный исследовательский центр УрО РАН
Email: Vasily_L.84@udman.ru
Россия, 426067,
Ижевск
В. Я. Баянкин
Удмуртский федеральный исследовательский центр УрО РАН
Email: Vasily_L.84@udman.ru
Россия, 426067,
Ижевск
Список литературы
- Козлов Д.А., Крит Б.А., Столяров В.В., Овчинников В.В. // Физика и химия обработки материалов. 2010. № 1. С. 50.
- Комаров Ф.Ф. Ионная имплантация в металлы. М.: Энергоатомиздат, 1990. 262 с.
- Jin J., Chen Y., Gao K., Huang X. // Appl. Surf. Sci. 2014. V. 305. P. 93. https://www.doi.org/10.1016/j.apsusc.2014.02.174
- Сунгатулин А.Р., Сергеев В.П., Федорищева М.В., Сергеев О.В. // Известия Томского политехнического университета. 2009. Т. 315. № 2. С. 134.
- Братушка С.Н., Маликов Л.В. // Вопросы атомной науки и техники. 2011. № 6. С. 126.
- Rautray T.R., Narayanan R., Kim K.-H. // Prog. Mater. Sci. 2011. V. 56. Iss. 8. P. 1137. https://www.doi.org/10.1016/j.pmatsci.2011.03.002
- Höhl F., Berndt H., Mayr P., Stock H.-R. // Surf. Coat. Technol. 1995. V. 74. P. 765. https://www.doi.org/10.1016/0257-8972(95)08274-3
- Воробьев В.Л., Быков П.В., Колотов А.А., Гильмутдинов Ф.З., Аверкиев И.К., Баянкин В.Я. // Физика металлов и металловедение. 2021. Т. 122. № 12. С. 1. https://www.doi.org/10.31857/S0015323021120135
- Itoh Y., Itoh A., Azuma H., Hioki T. // Surf. Coat. Technol. 1999. V. 111. Iss. 2–3. P. 172. https://www.doi.org/10.1016/S0257-8972(98)00728-2
- Thair L., Mudali U.K., Rajagopalan S., Asokamani R., Raj B. // Corrosion Sci. 2003. V. 45. Iss. 9. P. 1951. https://www.doi.org/10.1016/S0010-938X(03)00027-1
- Nath V.C., Sood D.K., Manory R.R. // Surf. Coat. Technol. 1991. V. 49. Iss. 1–3. P. 510. https://www.doi.org/10.1016/0257-8972(91)90109-A
- Воробьев В.Л., Гильмутдинов Ф.З., Быков П.В. и др. // Химическая физика и мезоскопия. 2018. Т. 20. № 3. С. 355.
- Воробьев В.Л., Гильмутдинов Ф.З., Быков П.В. и др. // Физика металлов и металловедение. 2018. Т. 119. № 9. С. 903. https://www.doi.org/10.1134/S0015323018090140
- Шелехов Е.В., Свиридова Т.А. // Металловедение и термическая обработка металлов. 2000. № 8. С. 16. https://www.doi.org/10.1007/BF02471306
- Рабинович В.А., Хавин З.Я. Краткий химический справочник. Издание 2-е, исправленное и дополненное. Ленинградское отделение: Химия, 1978. 392 с.
- Болгар А.С., Литвиенко В.Ф. Термодинамические свойства нитридов. Киев: Наук. думка, 1980. 282 с.
- NIST XPS Database (2012) NIST. https://srdata.nist.gov/xps/EnergyTypeValSrch.aspx.
- Нефедов В.И. Рентгеноэлектронная спектроскопия химических соединений. Справочник. М.: Химия, 1984. 256 с.
- Kurdi J., Ardelean H., Marcus P., Jonnard P., Arefi-Khonsari F. // Appl. Surf. Sci. 2002. V. 189. Iss. 1–2. P. 119. https://www.doi.org/10.1016/S0169-4332(02)00017-X
- Ardelean H., Petit S., Laurens P., Marcus P., Arefi-Khonsari F. // Appl. Surf. Sci. 2005. V. 243. Iss. 1–4. P. 304. https://www.doi.org/10.1016/j.apsusc.2004.09.122
- Lindsay J.R., Rose H.Jr., Swartz W.E.Jr., Watts P.H., Jr., Rayburn K.A. // Appl. Spectroscopy. 1973. V. 27. Iss. 1. P. 1. https://www.doi.org/10.1366/000370273774333876
- Gougousi T., Barua D., Young E.D., Parsons G.N. // Chem. Mater. 2005. V. 17. № 20. P. 5093. https://www.doi.org/10.1021/cm0510965
- Liu Y., Wang D., Deng C. et al. // J. Alloys Compd. 2015. V. 628. P. 208. https://www.doi.org/10.1016/j.jallcom.2014.12.144
- Vorob’ev V.L., Dobysheva L.V., Drozdov A.Yu. et al. // J. Electron Spectroscopy Related Phenomena. 2021. V. 252. P. 147124. https://www.doi.org/10.1016/j.elspec.2021.147124
- Biesinger M.C., Lau Leo W.M., Gerson A.R. et al. // Appl. Surf. Sci. 2010. V. 257. Iss. 3. P. 887. https://www.doi.org/10.1016/j.apsusc.2010.07.086
- Idriss H. // Surf. Sci. 2021. V. 712. P. 121894. https://www.doi.org/10.1016/j.susc.2021.121894
Дополнительные файлы










