Increasing the operating time of pumping units of water-reducing wells through the use of self-cleaning filters
- Authors: Shishlyannikov D.I.1, Kartavtsev V.K.1, Sitnikov D.A.1, Korotkov Y.G.1, Ivanchenko A.A.1
-
Affiliations:
- Perm National Research Polytechnic University
- Issue: Vol 335, No 11 (2024)
- Pages: 19-31
- Section: Articles
- URL: https://medbiosci.ru/2500-1019/article/view/276136
- DOI: https://doi.org/10.18799/24131830/2024/11/4619
- ID: 276136
Cite item
Full Text
Abstract
Relevance. At enterprises engaged in open-pit mining, water-reducing wells equipped with submersible installations of electric submersible pumps are widely used in drainage systems. A significant content of particles of mechanical impurities in the pumped-out well fluid causes intense hydro-abrasive wear of the working stages of the electric submersible pumps. Among the existing methods of combating hydro-abrasive wear of submersible pumps in water-reducing wells, the simplest, most economical and effective is the use of filters of various designs. An urgent task is to increase the operating time of submersible electric submersible pumps while reducing the time and costs for cleaning or replacing filters.
Aim. Justification of the designs and operating parameters of a self-cleaning filter and tubing string extension included in the electric submersible pump assembly of a dewatering well.
Methods. Static calculations of deformation of the tubing column and the tubing column extension under the influence of overpressure.
Results and conclusions. The authors have carried out the analysis of an electric submersible pump functioning in the dewatering wells of quarries during the development of mineral deposits by the open method. It was revealed that the main reason for the failure of the electric submersible pumps is the hydro-abrasive wear of the working stages of the submersible pump. The authors propose a method to increase the operating time of the electric submersible pumps in dewatering wells complicated by intensive removal of particles of mechanical impurities by using a self-cleaning filter of the original design. It is noted that a promising direction of development of the drive for self-cleaning filters is the use of deformation of the tubing column. Based on the calculations carried out, it was concluded that the small depths of dewatering wells cause an insufficient amount of deformation of the tubing string to clean the filter element. To increase the length of the reciprocating movement of the electric submersible pumps relative to the production string of a dewatering well, it is proposed to use a tubing string extension of an original design. The operating parameters of the tubing string extension were calculated, which showed the possibility of providing the required amount of controlled reciprocating movement of the electric submersible pumps in the well to restore the throughput of a self-cleaning filter.
Full Text
Введение
Значительное количество месторождений полезных ископаемых на территории России и за рубежом разрабатываются открытым способом. Открытая разработка при текущем уровне комплексной механизации горных работ обеспечивает лучшие технико-экономические показатели для добывающего предприятия и высокую рентабельность производства.
Одним из основных факторов, осложняющих функционирование карьеров и разрезов, являются гидрогеологические условия, в частности обводненность пород месторождения. Интенсивность водопритока оказывает непосредственное влияние на производительность выемочно-погрузочной техники при ведении вскрышных и добычных работ, транспортных машин при доставке пустых пород и полезного ископаемого. Кроме того, подземные и поверхностные воды влияют на устойчивость бортов и дна карьера: при изменении напряженного состояния, фильтрационных деформациях, выщелачивании, растворении и изменении механических свойств горных пород возможно возникновение оползней и плывунов [1–3].
Снижение обводненности пород месторождений осуществляется проведением дренажных работ, включающих каптаж, откачку и отвод подземных вод. Функционирование системы дренажа в период строительства и эксплуатации карьеров характеризуется значительными материальными и временными затратами, что обусловливает необходимость выбора рационального способа водоотлива и оборудования для его реализации [2–6].
На предприятиях, ведущих открытые горные работы, в системах дренажа широко используются водопонижающие скважины, оборудованные погружными установками электроцентробежных насосов (УЭЦН) [7–10]. Водопонижающие скважины эксплуатируются, как правило, в периодическом режиме, что способствует повышенному выносу частиц механических примесей в откачиваемую скважинную жидкость и обусловливает интенсивное гидроабразивное изнашивание рабочих ступеней УЭЦН [11]. Среди существующих методов борьбы с гидроабразивным изнашиванием погружных насосов водопонижающих скважин наиболее простым, рентабельным и эффективным является использование фильтров различных конструкций [12–15].
Актуальной задачей является увеличение наработки погружных УЭЦН при сокращении времени и затрат на очистку или замену фильтров. Решение указанной задачи может быть обеспечено посредством создания самоочищающихся фильтров, что минимизирует количество спускоподъемных операций и увеличит время безаварийной работы УЭЦН в водопонижающих скважинах.
Методы
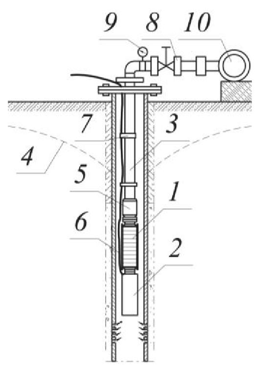
В общем виде водопонижающая скважина состоит из трех основных частей (рис. 1): кондуктора – 1, эксплуатационной – 2 и фильтровой – 3 колонн. В месте соединения колонн для уплотнения устанавливают пакер – 4. Забор жидкости производится из водоносного горизонта – 5. Для сбора механических примесей, находящихся в скважине, предусмотрен отстойник – 6.
Рис. 1. Конструкция водопонижающей скважины
Fig. 1. Design of a dewatering well
Откачка воды из водопонижающих скважин осуществляется, как правило, УЭЦН с погружными электродвигателями.
Схема УЭЦН представлена на рис. 2. Электроцентробежный насос (ЭЦН) – 1 с погружным электродвигателем (ПЭД) – 2 подвешивается к колонне насосно-компрессорных труб (НКТ) – 3 ниже динамического уровня воды – 4 в скважине. Непосредственно над насосом или выше устанавливается обратный клапан – 5, предназначенный для предотвращения обратного стока воды в скважину из НКТ. Питание ПЭД осуществляется по кабелю – 6, прикрепленному клямсами – 7 к НКТ. На устье скважины устанавливают задвижку – 8 и манометр – 9. Откачанная жидкость попадает в отводящий трубопровод – 10.
Рис. 2. Схема УЭЦН в скважине
Fig. 2. Electric submersible pump (ESP) layout in a well
При откачке воды из скважины породы в призабойной зоне постепенно разрушаются, а образовавшиеся частицы механических примесей перекачиваются насосом вместе с жидкостью, что значительно снижает наработку УЭЦН вследствие интенсивного гидроабразивного изнашивания.
Анализ статистики отказов центробежных насосов показывает, что при гидроабразивном изнашивании разрушается металл проточных каналов рабочих ступеней ЭЦН, межступенчатые уплотнения и т. д. [16, 17].
Наиболее опасно изнашивание направляющих аппаратов рабочих ступеней ЭЦН. При этом на стыке верхнего диска и корпуса образуется канавка (рис. 3, а), которая углубляется вплоть до фрагментарного разрушения направляющего аппарата. Дальнейшее развитие гидроабразивного износа ЭЦН нередко приводит к перерезанию корпуса (рис. 3, б) и падению части насоса с ПЭД в скважину, что обусловливает остановку скважины и сопровождается проведением дорогостоящих ремонтных работ [18, 19].
Рис. 3. Гидроабразивный износ направляющего аппарата (а) и перерезание насоса вследствие гидроабразивного износа (б)
Fig. 3. Waterjet wear of the guide unit (a) and pump cutting due to waterjet wear (b)
Специфические условия работы погружного оборудования, с учетом того, что затраты на остановку, подъем, ремонт и повторный спуск УЭЦН зачастую превышают себестоимость самой установки, обусловливают необходимость реализации мероприятий по предотвращению и минимизации последствий гидроабразивного изнашивания [19–21].
При работе УЭЦН в водопонижающих скважинах, как правило, самым простым и эффективным способом снижения интенсивности гидроабразивного изнашивания рабочих ступеней ЭЦН является применение фильтров различных конструкций.
Параметрами, определяющими эффективность использования фильтра, являются тонкость очистки, то есть минимальный размер частиц, задерживаемых данным фильтром, и грязеемкость – максимально возможное количество задержанных фильтром частиц механических примесей до момента его полного засорения. Следует отметить, что при увеличении тонкости очистки снижается грязеемкость фильтра, а значит, уменьшается время его функционирования в скважине. И наоборот, фильтры высокой скважности с большим условным диаметром водоприемных щелей (отверстий) характеризуются большим временем работы до кольматации, так как задерживают меньшее количество твердых частиц механических примесей [22].
Известно, что от гранулометрического состава частиц твердых примесей, проходящих через рабочие ступени ЭЦН с потоком откачиваемой из скважины воды, непосредственно зависит интенсивность гидроабразивного изнашивания деталей насоса. Частицы размером менее 100 мкм изнашивают главным образом межступенчатые уплотнения, причем с малой интенсивностью. Наличие крупных частиц в откачиваемой жидкости определяет как износ металла рабочих ступеней, так и интенсификацию разрушения межступенчатых уплотнений. При измельчении крупных частиц образовавшиеся мелкие частицы примесей характеризуются неправильной формой, высокой абразивностью и изнашивающей способностью.
Опытным путем установлено, что рациональная тонкость очистки фильтров для защиты ЭЦН от гидроабразивного изнашивания составляет 200–300 мкм.
При эксплуатации водопонижающих скважин карьеров и разрезов используются два типа фильтров: скважинные и входные.
Скважинные фильтры устанавливаются на основание ПЭД с узлом уплотнения, на кожух ПЭД либо на пакер. Входные фильтры как отдельный модуль входят в состав УЭЦН и монтируются между насосной секцией и ПЭД либо между ЭЦН и гидрозащитой ПЭД (при наличии гидрозащиты).
Как указывалось выше, основным недостатком традиционных конструкций фильтров является их низкая грязеемкость. В результате механической кольматации водоприемные отверстия фильтров заклиниваются или перекрываются песком, глиной, гравием, в связи с чем удельный дебит скважин постепенно снижается, а затем происходит отказ фильтра и всей УЭЦН в целом.
Перспективным решением данной проблемы является применение различных конструкций самоочищающихся фильтров, позволяющих производить восстановление пропускной способности фильтроэлемента на месте без сложных и дорогих операций подъема и повторного спуска его в скважину [23–25]. К тому же при поддержании пропускной способности фильтра на уровне, близком к исходному, увеличивается ресурс всей УЭЦН.
На сегодняшний день все известные конструкции самоочищающихся фильтров объединяет одно общее свойство – наличие привода. Конструктивно привод может быть реализован от погружного электродвигателя, набегающего на лопасти турбинного колеса или шнека потока жидкости или прямого воздействия на НКТ (подъем–спуск, поворот) [23–27].
Приведенные технические решения являются сложными как с точки зрения производства, так и с точки зрения эксплуатации. Наличие дополнительного привода значительно увеличивает стоимость самоочищающегося фильтра и снижает надежность всей УЭЦН.
Перспективным направлением развития привода для самоочищающихся фильтров является использование упругой деформации НКТ при работе в скважине. При изменении давления в колонне НКТ происходит ее деформация, а именно увеличение или уменьшение длины, что позволяет осуществлять очистку фильтра только за счет его возвратно-поступательного движения вместе с компоновкой погружного оборудования.
Характерные для водопонижающих скважин небольшие глубины установки оборудования обуславливают малые деформации колонны, следовательно, обеспечить необходимую величину возвратно-поступательного перемещения фильтра только за счет изменения давления в НКТ не представляется возможным.
Увеличить деформацию колонны НКТ при небольших глубинах водопонижающих скважин с целью сообщения самоочищающемуся фильтру возвратно-поступательного движения можно посредством использования удлинителя колонны НКТ оригинальной конструкции.
Авторами предложена конструкция самоочищающегося щелевого фильтра [28], представленная на рис. 4.
Для данного фильтра возможны как скважинный, так и входной варианты исполнения.
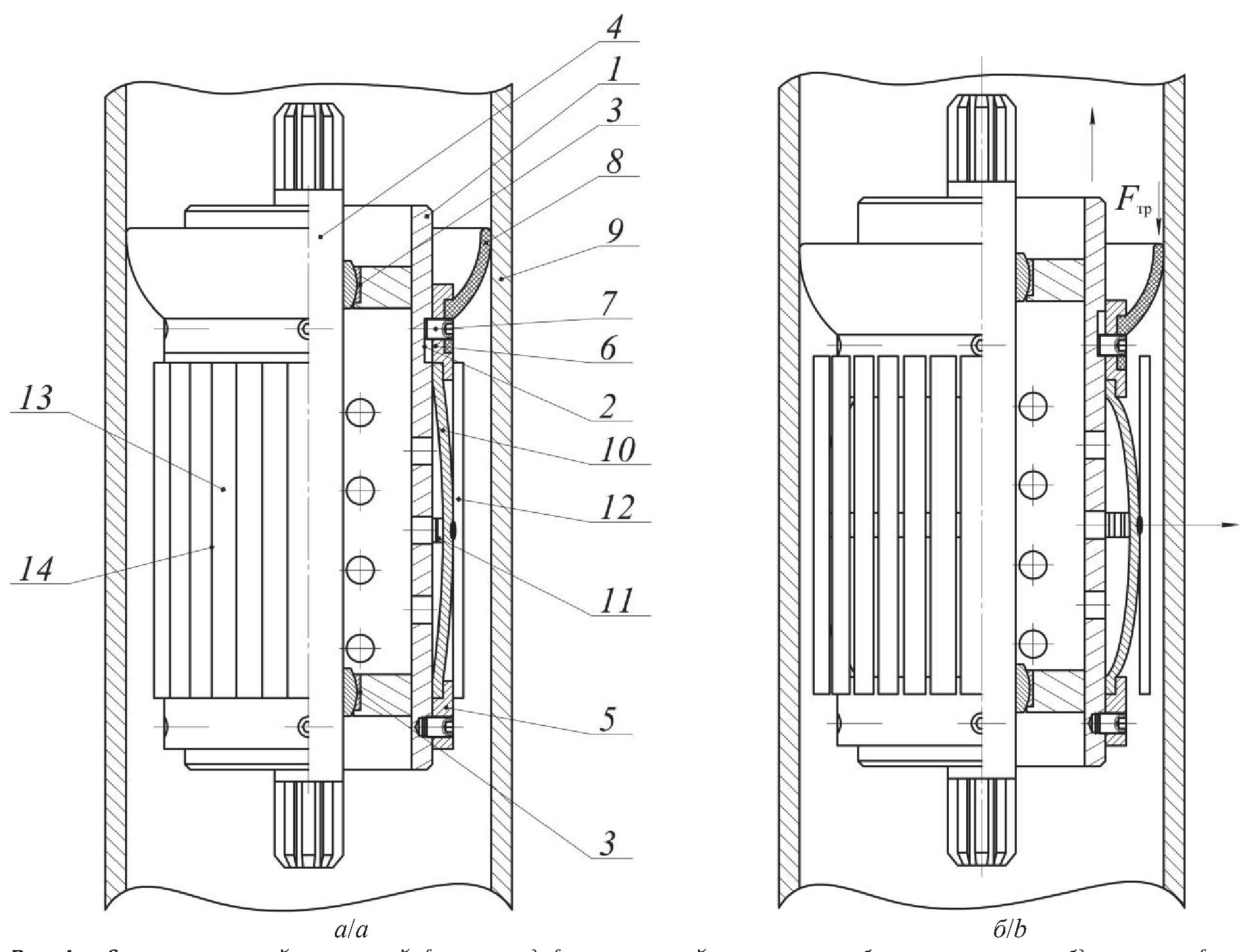
Щелевой входной самоочищающийся фильтр (рис. 4, а) состоит из перфорированной трубы – 1, на поверхности которой выполнены направляющие пазы – 2. В трубе установлены подшипниковые узлы – 3, через которые проходит вал – 4, соединяемый с валами выше- и нижерасположенного оборудования, например, посредством шлицевого соединения через муфты. На конце трубы – 1 посредством установочных винтов закреплен неподвижный упор – 5. На другом конце трубы расположен подвижный упор – 6, перемещающийся в пазах – 2. С помощью установочных винтов – 7 на подвижном упоре – 6 закреплен упругий элемент – 8, который контактирует с внутренней поверхностью обсадной трубы – 9 эксплуатационной колонны и может быть выполнен, например, в виде манжеты. Между неподвижным упором – 5 и подвижным упором – 6 коаксиально трубе – 1 расположен диаметрально расширяемый упругий элемент – 10, выполненный в виде центратора из пружинной стали 60С2ХФА, на котором, в свою очередь, выполнено поперечное крепление – 11, имеющее возможность изменять диаметр при деформации. Коаксиально трубе – 1 расположен фильтрующий элемент – 12, который состоит из продольных вертикальных стержней – 13. Вертикальные продольные стержни – 13 расположены таким образом, что между ними образованы щели – 14 заданного размера.
Принцип работы данного фильтра (рис. 4, б) состоит в том, что при упругой деформации (растяжении) НКТ в результате повышения давления внутри скважинного трубопровода происходит перемещение фильтра вниз. При упругом сжатии НКТ вследствие снижения давления в трубопроводе, например, при отключении УЭЦН, происходит перемещение фильтра вверх. При этом осуществляется сближение неподвижного упора – 5, закрепленного на конце трубы – 1 и подвижного упора – 6 перемещающегося в пазах – 2 трубы – 1. Сближение неподвижного упора – 5 и подвижного упора – 6 обеспечивается благодаря наличию упругого элемента – 8, контактирующего с поверхностью обсадной трубы – 9 эксплуатационной колонны и замедляющего движение вверх подвижного упора – 6 относительно остального фильтра. Вследствие сближения неподвижного упора – 5 и подвижного упора – 6 происходит сжатие расположенного между ними и коаксиально трубе – 1 диаметрально-расширяемого упругого элемента – 10. При деформации упругого элемента – 10 происходит расширение поперечного крепления – 11, которое в результате тоже деформируется и увеличивается в диаметре. Расположенный коаксиально трубе – 1 и диаметрально расширяемому упругому элементу – 10 фильтрующий элемент – 12 деформируется, так как продольные вертикальные стержни – 13, из которых он состоит, закреплены на поперечном креплении – 11. Очистка фильтрующего элемента – 12 происходит из-за перемещения вертикальных продольных стержней – 13 в радиальном направлении при увеличении диаметра (расширении) поперечного крепления – 11 и, как следствие, увеличении размера щелей – 14. После очистки фильтрующего элемента – 12 благодаря запасенной энергии упругой деформации упругим диаметрально расширяемым элементом – 10 и поперечным креплением – 11 происходит возвращение подвижного упора – 6 и стержней – 13 в исходное положение.
В дополнение к самоочищающемуся фильтру авторы предлагают использовать удлинитель колонны насосно-компрессорных труб, конструкция которого приведена на рис. 5.
Рис. 4. Самоочищающийся щелевой фильтр: а) фильтрующий элемент в рабочем положении; б) очистка фильтрующего элемента
Fig. 4. Self-cleaning slit filter: a) filter element in working position; b) cleaning the filter element
В нефтяной отрасли хорошо известны и отработаны в применении различные компенсаторы термобарических изменений длины колонны труб [29, 30]. Они предназначены для компенсации хода колонны труб вниз и/или вверх с одновременным гашением колебаний, а также для компенсации температурных деформаций, возникающих в колонне НКТ вследствие изменений температуры скважинной среды.
Удлинитель колонны НКТ, конструкция которого запатентована авторами [31], аналогичен по принципу действия компенсаторам термобарических изменений длины колонны труб, но предназначен для противоположных целей, а именно для увеличения деформации колонны НКТ с целью сообщения самоочищающемуся фильтру возвратно-поступательного движения.
Удлинитель содержит корпус – 1, внутри которого коаксиально расположены полый подвижный шток – 2, пружина – 3 и разделительные элементы – 4, установлен переходник – 5 для соединения с колонной НКТ. Снаружи вдоль корпуса – 1 уложена электрическая линия – 6 в виде спирали. К полому подвижному штоку – 2 присоединен поршень – 7. Внутри поршня – 7 выполнено коаксиально расположенное сквозное отверстие – 8 для подачи жидкости, перекачиваемой насосом. На внешней стороне поршня – 7 выполнены по меньшей мере два направляющих паза – 9 под ограничительные винты – 10, ввинчиваемые с внешней стороны корпуса. В кольцевом зазоре между подвижным штоком и корпусом для разобщения внутренней полости устройства и затрубного пространства размещены уплотнения – 11. Разделительные элементы – 4 установлены между пружиной и уплотнениями в указанном кольцевом зазоре. Удлинитель колонны НКТ выполнен с возможностью соединения с колонной НКТ в верхней части с помощью переходника, а в нижней части колонна НКТ присоединяется к полому подвижному штоку.
Компоновка УЭЦН в водопонижающей скважине с установленными самоочищающимся фильтром и удлинителем колонны НКТ приведена на рис. 6.
Рис. 5. Конструкция удлинителя НКТ
Fig. 5. Tubing extension design
Рис. 6. Компоновка УЭЦН с установленными самоочищающимся фильтром и удлинителем колонны НКТ: 1 – колонна НКТ; 2 – удлинитель колонны НКТ; 3 – ЭЦН; 4 – самоочищающийся фильтр; 5 – ПЭД; 6 – электрическая линия; 7 – клямсы
Fig. 6. Layout of the ESP with a self-cleaning filter and an extension of the tubing column installed: 1 – tubing column; 2 – tubing column extension; 3 – ESP; 4 – self-cleaning filter; 5 – submersible electric motor; 6 – electric line; 7 – cable fastening belt (for tubing)
По исходным данным, приведённым в таблице, выполнен расчет деформации колонны НКТ и удлинителя колонны НКТ вследствие изменения рабочих давлений в скважинном трубопроводе.
Концентрация механических примесей в откачиваемой из водопонижающих скважин жидкости составляет менее 10 г/м3. Выбросы механических примесей происходят залпово, то есть непостоянны во времени. Учитывая, что на входе в насос стоит фильтр, который задерживает неопределённую долю крупных частиц и пропускает через насос неопределённую долю мелких частиц, принимаем, что поток жидкости, протекающий в НКТ, является однофазным.
Известно, что колонна НКТ деформируется на величину Δк при ее заполнении жидкостью и создании избыточного устьевого давления Pуст. Значение Δк для колонны, состоящей из труб одного диаметра с одной толщиной стенки, рассчитывается по формуле:
(1)
где Δк – величина деформации колонны НКТ, м; L – длина колонны НКТ, м; E – модуль упругости материала труб НКТ, МПа; μ – коэффициент Пуассона материала труб НКТ; γ – удельный вес труб НКТ, Н/м3; γж – удельный вес жидкости в НКТ, Н/м3; Fпр – площадь проходного канала труб НКТ, м2; F – площадь кольцевого поперечного сечения труб НКТ, м2; Pуст – давление на устье скважины, МПа [32].
При заполненной колонне НКТ левая часть выражения (1) является постоянной величиной, то есть:
Таким образом, величина деформации Δк при заданном значении Pуст=1 МПа (таблица) определяется выражением:
Для расчета деформации удлинителя колоны НКТ необходимо рассчитать деформацию кольцевой пружины.
Деформация кольцевой пружины удлинителя НКТ происходит под действием осевого усилия, создаваемого давлением в колонне НКТ, которое рассчитывается по формуле:
где Pуст – давление на устье скважины, МПа; Pж – давление столба жидкости, МПа; DP – потери давления, вызванные трением, МПа; dк.в – диаметр внутренней стенки корпуса удлинителя, мм; Dнкт – наружный диаметр трубы НКТ, м; t – толщина стенки трубы НКТ, м; m – масса ЭЦН+ПЭД, кг.
Таблица. Исходные данные для расчета колонны НКТ и удлинителя колонны НКТ
Table. Initial data for calculating the tubing string and tubing string extension
Насос/Pump | - | ЭЦВ 8-25-400 |
Производительность, м3/ч/Capacity, m3/h | Qн | 25 |
Номинальный напор, м/Nominal pressure, m | Hн | 400 |
Масса ЭЦН+ПЭД, кг/Weight of ESP+submersible motor, kg | m | 198 |
Труба НКТ | - | 114×7,0 – Е ГОСТ 633-80 |
Наружный диаметр трубы НКТ, мм/Tubing pipe outer diameter, mm | Dнкт | 114,3 |
Внутренний диаметр трубы НКТ, мм/Tubing pipe inner diameter, mm | dнкт | 100,3 |
Толщина стенки трубы НКТ, мм/Tubing pipe wall thickness, mm | t | 7 |
Материал труб/Pipe material | - | 30ХМА |
Модуль упругости материала труб, МПа/Pipe material modulus of elasticity, MPa | Е | 2,08×105 |
Коэффициент Пуассона/Poisson's ratio | m | 0,3 |
Длина колоны, м/Column length, m | L | 50, 100…300, |
Плотность перекачиваемой жидкости ρ, кг/м3/Pumped liquid density, kg/m3 | r | 1000 |
Динамическая вязкость воды, МПа·с/Water dynamic viscosity, MPa·s | h | 1,002 |
Давление на устье скважины, МПа/ Pressure at the wellhead, MPa | Pуст | 1 |
Диаметр внутренней стенки корпуса удлинителя, мм/Diameter of the inner wall of the extension housing, mm | dк.в | 135 |
Тип упругого элемента удлинителя | - | Кольцевая Ring spring |
Высота кольца, мм/Ring height, mm | Hк | 20 |
Зазор между торцами колец, мм/Gap between the ends of the rings, mm | е | 10 |
Число колец пружины, включая опорные, шт/Number of spring rings, including support ones, pcs. | n | 101 |
Зазор между внутренним диаметром пружины и НКТ, мм | s | 3 |
Угол между контактной поверхностью и осью пружины, град | b | 17 |
Наружный диаметр пружины без нагрузки, мм/Outer diameter of the spring without load, mm | Dпр.н | 133 |
Внутренний диаметр пружины без нагрузки, мм/Inner diameter of the spring without load, mm | dпр.вн | 120 |
Диаметр, проходящий через центр масс наружного кольца, мм | Dн | 129 |
Диаметр, проходящий через центр масс внутреннего кольца, мм | dв | 124 |
Материал пружины/Spring material | - | 65С2ВА |
Модуль упругости материала пружины, МПа/Spring material modulus of elasticity, MPa | Е | 2,1×105 |
Предел текучести, МПа/Yield strength, MPa | σт | 1370 |
Коэфициент трения (сталь по стали)/Friction coefficient (steel on steel) | f | 0,16 |
Под действием осевого усилия наружные кольца испытывают деформацию растяжения, внутренние – сжатия [33].
Растягивающее напряжение в наружном кольце рассчитывается по формуле:
где Fн – площадь сечения наружного кольца, м; b – угол между контактной поверхностью и осью пружины, град; φ – угол трения, град.
Аналогично рассчитываются напряжения сжатия во внутреннем кольце:
Увеличение диаметра наружного кольца:
где Dн – диаметр, проходящий через центр масс наружного кольца, м; E – модуль упругости материала пружины, МПа.
Уменьшение диаметра внутреннего кольца:
где dв – диаметр, проходящий через центр масс внутреннего кольца, м.
Осевое перемещение наружного кольца относительно внутреннего рассчитывается по формуле:
(2)
При равенстве сечений наружного и внутреннего колец (Fн+Fв=F), иначе говоря, при равенстве абсолютных величин напряжений в наружном и внутреннем кольцах (σр = σсж = σ) формула (2) приобретает вид:
где Dср – средний диаметр пружины, м.
Полная осадка пружины под действием осевого усилия с учетом того, что опорные кольца участвуют в работе пружины, упруго сжимаясь под действием нагрузки:
(3)
где i – общее число колец пружины, включая опорные.
Если опорные кольца – внутренние и плотно центрированы в тарелках пружины, то есть лишены возможности сжиматься, то формула (3) принимает следующий вид:
В результате расчета деформации колонны НКТ и удлинителя колонны НКТ, согласно исходным данным таблицы, получен график (рис. 7).
Анализ полученных данных (рис. 7) показывает, что сообщение самоочищающемуся фильтру возвратно-поступательного движения с целью очистки его фильтроэлемента при небольших глубинах водопонижающих скважин возможно с применением удлинителя колоны НКТ, который обеспечивает необходимое удлинение колонны НКТ и управляемое возвратно-поступательного перемещение самоочищающегося фильтра внутри скважины относительно эксплуатационной колонны.
Изменение устьевого давления в НКТ за счет перекрытия задвижки на поверхности может привести к гидравлическому удару, т. е. к кратковременному, но резкому и сильному повышению давления в трубопроводе при внезапном торможении двигавшегося по нему потока жидкости.
Повышение давления при гидравлическом ударе рассчитывается по формуле Жуковского [34]:
(4)
где ΔPуд – повышение давления, Па; ρ – удельная плотность жидкости, кг/м3; Δv – произошедшее изменение скорости (скорость до закрытия задвижки), м/с; с – скорость распространения ударной волны, м/с.
Рис. 7. График зависимости величины деформации колонны НКТ и удлинителя НКТ от глубины водопонижающей скважины при Pуст=1 МПа: 1 – деформация колонны НКТ; 2 – деформация удлинителя колонны НКТ; 3 – общая деформация колонны и удлинителя колонны НКТ
Fig. 7. Graph of the dependence of the deformation value of the tubing string and the tubing extension on the depth of the dewatering well at a wellhead pressure of 1 MPa: 1 – deformation of the tubing column; 2 – deformation of the tubing column extension; 3 – general deformation of the column and the tubing column extension
Скорость распространения волны гидравлического удара, определяется по формуле Корвега–Жуковского [35]:
, (5)
где Еж – модуль объемной упругости жидкости, Па, для воды Еж=2060×106 Па.
В результате расчета по формулам (4), (5) получены значения скорости распространения ударной волны с=1343 м/с и повышения давления при гидравлическом ударе ΔPуд=1,18 МПа.
В предлагаемой компоновке УЭЦН (самоочищающийся фильтр+удлинитель колонны НКТ) в колонну насосно-компрессорных труб включен податливый элемент (демпфер), который деформируется при изменении давления в трубопроводе, тем самым гасит ударную волну. К тому же мгновенное закрытие задвижки в реальных условиях невозможно, что уменьшает максимальное повышение давления по сравнению с теоретическим значением, полученным расчетным путем. Поэтому вероятность разрушения трубопровода или элементов УЭЦН вследствие гидроудара в рассматриваемой ситуации близка к нулю, что и подтверждается практикой работы скважинных насосных установок в условиях горных предприятий.
Заключение
В статье рассмотрена задача снижения обводненности пород на предприятиях, ведущих открытую разработку месторождений полезных ископаемых, и повышения наработки насосного оборудования водопонижающих скважин, функционирующего в условиях интенсивного гидроабразивного изнашивания. Наиболее простым, часто используемым и рентабельным способом защиты погружных скважинных насосов от гидроабразивного износа является применение фильтров. Однако время их эффективной работы ограничено малой грязеёмкостью фильтроэлементов.
Авторами предложено и обосновано решение задачи по повышению наработки УЭЦН в водопонижающих скважинах, осложненных интенсивным выносом частиц механических примесей, посредством применения самоочищающихся фильтров оригинальной конструкции. Возможность самоочистки фильтра позволяет восстановить проницаемость фильтроэлемента и продолжить эксплуатацию УЭЦН без проведения спускоподъемных операций, требующих значительных временных и материальных затрат.
Перспективным направлением развития привода для самоочищающихся фильтров является использование деформации НКТ. Характерные для водопонижающих скважин небольшие глубины обуславливают недостаточные для очистки фильтроэлемента величины возвратно-поступательных перемещений. Авторами предложено использование удлинителя колонны НКТ оригинальной конструкции, который обеспечит необходимое управляемое возвратно-поступательное перемещение самоочищающегося фильтра относительно эксплуатационной колонны скважины.
About the authors
Dmitry I. Shishlyannikov
Perm National Research Polytechnic University
Email: dish844@gmail.com
ORCID iD: 0000-0002-7395-6869
Dr. Sc., Professor, Associate Professor
Russian Federation, 29, Komsomolsky avenue, Perm, 614990Vadim K. Kartavtsev
Perm National Research Polytechnic University
Email: vadk10@yandex.ru
ORCID iD: 0009-0008-5379-7726
Engineer
Russian Federation, 29, Komsomolsky avenue, Perm, 614990Dmitry A. Sitnikov
Perm National Research Polytechnic University
Author for correspondence.
Email: stdm2023@mail.ru
ORCID iD: 0009-0003-4909-7886
Laboratory Assistant
Russian Federation, 29, Komsomolsky avenue, Perm, 614990Yuri G. Korotkov
Perm National Research Polytechnic University
Email: youuura@yandex.ru
ORCID iD: 0009-0002-9465-5819
Postgraduate Student
Russian Federation, 29, Komsomolsky avenue, Perm, 614990Anna A. Ivanchenko
Perm National Research Polytechnic University
Email: anna_ivanchenko94@mail.ru
ORCID iD: 0009-0005-9667-2606
Senior Lecturer
Russian Federation, 29, Komsomolsky avenue, Perm, 614990References
- Mironenko V.A., Fisenko G.L. Guidelines for the drainage of quarry fields. Leningrad, VNIMI Publ., 1968–1970. 179 p. (In Russ.)
- Mironenko V.A., Fisenko G.L. Drainage of quarry fields. Moscow, Nedra Publ., 1972. 184 p. (In Russ.)
- Shibanov D.A., Ivanov S.L., Sheshukova E.I., Nedashkovskaya E.S. Efficiency of operation of a quarry excavator as an ergatic system. Mining information and analytical bulletin, 2023, vol. 11-1, pp. 144–158. (In Russ.) doi: 10.25018/0236_1493_2023_111_0_144.
- Abdelwahab A., Mikhailov A.V. Iron ore dust influence on the wear sur- face of quarry excavator hydraulic cylinder rods. Mining information and analytical bulletin, 2023, vol. 11-1, pp. 5–23. (In Russ.) doi: 10.25018/0236_1493_2023_111_0_5.
- Gabov V.V., Zadkov D.A., Nguyen Van Xuan, Khamitov M.S., Molchanov V.V. To the problem of improvement the working tools of mining excavation machines. Mining information and analytical bulletin, 2022, vol. 6-2, pp. 205–222. (In Russ.) doi: 10.25018/0236_1493_2022_62_0_205.
- Sudarikov A.E., Muratbakeev E.Kh., Zvonarev I.E. Modeling of mine workings intersections in KOMPAS 3D program. Journal of Physics: Conference Series, 2019, vol. 1333, no. 082012. doi: 10.1088/1742-6596/1333/8/082012.
- Morrison G., Yi Chen, Steck D., Yiming Chen, Changrui Bai, Abhay Patil. Effect of gas presence on erosive wear of split-vane electrical submersible pump. Texas A&M University, College Station, TX 46th Turbomachinery & 33rd pump symposia. Houston, Texas, 2017, pp. 80–86.
- Lipnitsky N.A., Ogorodnikov R.G., Ustinova Ya.V. Simulation modeling of underground blending warehouse operation at structurally complex salt deposits. Mining information and analytical bulletin, 2023, vol. 1, pp. 142–158. (In Russ.) doi: 10.25018/0236_1493_2023_1_0_142.
- Korzhev A.A., Bolshunova O.M., Voytyuk I.N., Vatlina A.M. Mathematical simulation of transient operation modes of an electric drive of a centrifugal pump for a slurry pipeline. Scientific Conference on Energy, Environmental and Construction Engineering-2019, 2019, vol. 140. doi: 10.1051/e3sconf/201914004012.
- Shabalov M.Yu., Zhukovskiy Yu.L., Buldysko A.D., Gil B., Starshaia V.V. The influence of technological changes in energy efficiency on the infrastructure deterioration in the energy sector. Energy Reports, 2019, vol. 7, pp. 2664–2680. doi: 10.1016/j.egyr.2021.05.001.
- Shishlyannikov D.I., Lavrenko S.A., Zverev V.Yu., Muravskiy A.K., Mikryukov A.Yu. Hydroabrasive wear of work stages of electric-centrifugal well pumps for fluids with high content of mechanical impurities. Mining information and analytical bulletin, 2023, no. 7, pp. 5–20. (In Russ.) doi: 10.25018/0236_1493_2023_7_0_5.
- Khalifa A.A., Bazhin V.Y., Ustinova Y.V., Shalabi M.E. Study of the kinetics of the process of producing pellets from red mud in a hydrogen flow. Journal of Mining Institute, 2022, vol. 254, pp. 261–270. (In Russ.) doi: 10.31897/PMI.2022.18.
- Falcone G., Teodoriu C., Reinicke K., Bello O. Multiphase-flow modeling based on experimental testing: an overview of research facilities worldwide and the need for future developments. SPE Projects, Facilities & Construction, 2008, vol. 3, pp. 1–10. doi: 10.2118/110116-PA.
- Vasilyeva M.A. Modeling of wave processes when the heterogeneous flow is moving in a low-frequency magnetic peristaltic pump of pulsating type. Vibroengineering Procedia, 2019, no. 25, pp. 111–115. doi: 10.21595/vp.2019.20751.
- Bulgarelli N.A.V., Biazussi J.L., Monte Verde W., Perles C.E., De Castro M.S., Bannwart A.C. Experimental investigation on the performance of Electrical Submersible Pump (ESP) operating with unstable water/oil emulsions. Journal of Petroleum Science and Engineering, 2021, vol. 197, article 107900. doi: 10.1016/j.petrol.2020.107900.
- Gorlov I., Ivanov S., Knyazkina V., Iakupov D. Device for integrated diagnostics of mining machines triboelements. International Conference on Innovations, Physical Studies and Digitalization in Mining Engineering, E3S Web of Conferences 326. 2021, no. 00001. doi: 10.1051/e3sconf/202132600001.
- Iakovleva E.V., Sychev Yu.A. The complex system of power quality control and improvement for minimization of deleterious effect on environment in conditions of oil production enterprises. Journal of Ecological Engineering, 2017, vol. 18, no. 3, pp. 43–47. DOI: 10. 12911/22998993/69356.
- Perissinotto R., Monte Verde W., Biazussi J.L., Bulgarelli N.A.V., Fonseca W.D.P., De Castro M.S., Franklin E., Bannwart A.C. Flow visualization in centrifugal pumps. A review of methods and experimental studies. Journal of Petroleum Science and Engineering, 2021, vol. 203, article 108582. doi: 10.1016/j.petrol.2021.108582.
- Filatova I., Nikolaichuk L., Zakaev D., Ilin I. Public-private partnership as a tool of sustainable development in the oil-refining sector: Russian case. Sustainability (Switzerland), 2021, vol. 13, no. 9, article 5153. doi: 10.3390/su13095153.
- Zhukovskiy Y.L., Batueva D.E., Buldysko A.D., Gil B., Starshaia V.V. Fossil energy in the framework of sustainable development: analysis of prospects and development of forecast scenarios. Energies, 2021, vol. 14, article 5268. doi: 10.3390/en14175268.
- Vasilyev V. E., Kholmskiy A. V., Sankovsky A. A. Determination of main vertical ore-lift shaft location in two planes. IOP Conference Series: Earth and Environmental Science, 2018, vol. 194, no. 8, article 082043. doi: 10.1088/1755-1315/194/8/082043.
- Ivanov S., Knyazkina V., Myakotnykh A. Recording gear-type pump acoustic signals for assessing the hydraulic oil impurity level in a hydraulic excavator transmission. International Conference on Innovations, Physical Studies and Digitalization in Mining Engineering, E3S Web of Conferences 326, 2021, no. 00014. doi: 10.1051/e3sconf/202132600014.
- Danchenko Yu.V. Filtering downhole device. Patent RF, no. 2543247, 2015. (In Russ.)
- Danchenko Yu.V., Sergienko A.V. Self-cleaning downhole filter. Patent RF, no. 2618248, 2017. (In Russ.)
- Varlamov S.E., Bolotin N.B., Varlamov D.S., Nefedova E.N. Self-cleaning downhole filter. Patent RF, no. 2338871, 2008. (In Russ.)
- Hafizov V.M. Sukhodeev A.V. Chaldaev S.A. Self-cleaning filter to protect the ESP. Patent RF, no. 2792939, 2023. (In Russ.)
- Yarullin A.G., Latypov N.M., Viskovatykh E.N., Novikov E.A. Self-cleaning downhole filter and the method of washing it without extraction. Patent RF, no. 2789218, 2023. (In Russ.)
- Kartavtsev V.K., Shishlyannikov D.I., Yuzhakov N.S., Korotkov Yu.G., Ivanchenko A.A. Slot filter. Patent RF, no 2807658, 2023. (In Russ.)
- Malykhin I.A., Vegera N.P. Сompensator for thermobaric changes in the length of the pipe column with damping of longitudinal vibrations. Patent RF, no 2566352, 2015. (In Russ.)
- Packer equipment for repair, operation and development of wells, product catalog, Yugson-Service LLC, p. 77. Available at: https://www.yugson.ru/FILES/fl392_5.pdf (accessed 10 March 2024).
- Shishlyannikov D.I., Kartavtsev V.K., Dremina D.I., Korotkov Yu.G., Shishlyannikov V.I. Extension of the tubing column. Patent RF, no 2811050, 2024. (In Russ.)
- RD 39-1-306-79. Instructions for calculating columns of pumping and compressor pipes. Kuibyshev, All-Union Scientific Research Institute for the Development and Operation of Oilfield Pipes Publ., 1980. 84 p. (In Russ.)
- Orlov P.I. Fundamentals of design. Ed. by P.N. Uchaev. B. 2. Moscow, Mashinostroenie Publ., 1988. 542 p. (In Russ.)
- Altshul A.D., Kiselyov P.G. Hydraulics and aerodynamics. (Fundamentals of Fluid Mechanics). Moscow, Stroyizdat Publ., 1975. 326 p. (In Russ.)
- Lovkis E.V., Berdyshev V.E. Hydraulics and hydraulic machines. Moscow, Kolos Publ., 1995. 303 p. (In Russ.)
Supplementary files








