Physico-Mechanical Properties and Architectonics of Stems as Indicators of Cereal Plants Resistance to Lodding
- Authors: Arinicheva I.V.1, Griguletsky V.G.1
-
Affiliations:
- Kuban State Agrarian University
- Issue: No 1 (2025)
- Pages: 42-46
- Section: Crop Production and Selection
- URL: https://medbiosci.ru/2500-2082/article/view/286056
- DOI: https://doi.org/10.31857/S2500208225010096
- EDN: https://elibrary.ru/CSUPSW
- ID: 286056
Cite item
Full Text
Abstract
The increase in the yield of cereals, the main food product of the planet’s population, is the result of a modern approach to the process of growing and harvesting, the introduction of new techniques of breeding work, based, among other things, on the methods of mathematical modeling of the “ideal” variety – high-yielding and resistant to various unfavorable factors. Lodging of crops leads to significant losses of the crop, deterioration of its quality. Since ancient times, famous scientists have tried to describe the behavior of the stem as an elastic rod from the point of view of mathematics and technical mechanics. The article describes the methods we developed for determining the most important physical and mechanical properties of tissues (Young’s modulus, elasticity and yield strength limits) and the parameters of the architectonics of cereal plants (stem length, outer and inner diameters of the stem at the root and at the ear or panicle, weight of the ear, panicle or cob), which are statistically reliable and are used to build a lodging model. The obtained long-term data of field, vegetation and laboratory experiments are recommended to be used in breeding new varieties and hybrids resistant to lodging. Interdisciplinary research was conducted at the junction of biological and mathematical sciences to find the features of resistance to lodging of stems of winter and spring cereals depending on the variety and species. Stress-strain diagrams were constructed for all crops, all varieties and hybrids in three phases of vegetation, with the help of which we compiled an algorithm for selecting the optimal parameters of resistance to lodging of cereal plants.
Full Text
Зерновые культуры претерпевают многочисленные испытания от всходов до урожая. Одно из самых опасных – полегание, которое может привести к масштабным потерям зерна и его качества, а также большим проблемам при уборке.
Полегание – это смещение стеблей или корней от их вертикального размещения в результате воздействия ветра, дождя или росы, ослабляющих прочность крепления корня растения в почве и плотность ткани стебля. [1] Различают две формы полегания: корневое и стеблевое. Полегание повышает восприимчивость растений к вредителям и болезням, что отрицательно воздействует на развитие урожая (уменьшение количества зерна на 1 м2 и средний вес зерна). [3] Оно влияет на все виды злаков и многие другие культуры, например, масличные.
Снизить эти потери можно с помощью селекции, создавая растения пониженной высоты (в основном, интрогрессией генов карликовости). [2, 5] Растения с сильным, прочным стеблем, то есть с увеличенным диаметром их оснований и толстыми стенками, могут быть получены также уменьшением нормы высева или внесением меньшего количества азота.
Попытки повышения урожая прибавкой доз органических и минеральных удобрений, создание оросительных систем и другие крупные мелиоративные мероприятия, направленные на улучшение общего агрофона, очень часто не достигают желаемых результатов и экономически не оправданы. Лишь сорт, обладающий устойчивостью против полегания, наряду с другими хозяйственно ценными признаками, может отвечать возрастающим требованиям современного земледелия. Благоприятное сочетание морфологических, анатомических, физиологических и биохимических свойств в сорте обусловливает его устойчивость против полегания и повышение урожая. [2, 5]
В решении проблемы реализации биологического потенциала хлебного злака в сообществе растений важное место занимают исследования полегания. [6–9] Физиологи единодушны во мнении, что полегание – это реакция на условия роста. [10]
Долгое время ученые пытались описать поведение стебля как упругого стержня с точки зрения математики и технической механики. Такие задачи остаются малоизученными, несмотря на их важность для многих биологических процессов. [11]
Существуют два основных метода для определения механических характеристик ткани стеблей злаков, включая упругость и прочность, такие как пределы упругости и текучести. В них заложены испытания на растяжение и изгиб. Однако тесты на сжатие или кручение, направленные на определение модуля упругости и пределов прочности при сдвиге, не имеют большой практической ценности. Это связано с тем, что такие напряжения в стеблях злаков от внешних факторов, как правило, не приводят к значительным деформациям.
При испытаниях на растяжение возникают технические сложности. Концы образцов необходимо зажимать в патроны, что вызывает их деформацию, влияя на точность результатов. Лабораторные установки для проведения таких испытаний часто дорогостоящие и сложные в использовании. С другой стороны, изгиб – наиболее актуальный вид напряжений для стеблей злаков, поскольку именно он чаще всего приводит к полеганию растений. Наибольшие деформации обычно происходят у корня (прикорневое полегание).
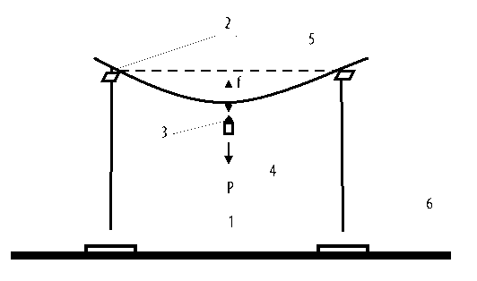
Таким образом, исследуя упругость и прочность стеблей растений рационально использовать изгиб, представляющий собой сочетание растяжения на одной стороне стебля и сжатия на другой, что позволяет моделировать реальные условия полегания. Для таких испытаний можно применять простое оборудование, включающее штативы с зажимами, нити и линейку для измерения прогиба, что делает процесс исследования доступным и экономически оправданным (рис. 1).
Цель работы – определить физико-механические свойства и параметры архитектоники стеблей злаков, которые можно использовать для построения модели полегания.
МАТЕРИАЛЫ И МЕТОДЫ
Многолетние (1997–2020 годы) наблюдения и эксперименты проводили на опытных полях в учхозе «Кубань» ФГБОУ ВО КубГАУ имени И.Т. Трубилина, ФГБНУ «НЦЗ имени П.П. Лукьяненко», ФГБНУ «ФНЦ РИСА», на почвах, соответствующих южной климатической зоне Краснодарского края (слабовыщелоченные и выщелоченные малогумусные черноземы). Растения бамбука рода Phyllostachys выращивали в естественных условиях г. Сочи. Климат зоны – умеренно-мягкий. Метеорологические условия были близки к многолетней норме.
В опытах использовали мочевину, аммиачную селитру, двойной суперфосфат и хлористый калий, которые вносили стандартными дозами. Растения десяти сортов озимой и яровой пшеницы, тритикале, озимого и ярового ячменя, сорго, десяти гибридов кукурузы, четырех сортов ржи, риса собирали вручную, случайным образом в фазы вегетации, опасные с точки зрения полегания (цветение, молочно-восковая и полная спелость).
На специально сконструированной лабораторной установке при изменяющейся поперечной силе для растений пшеницы сделали 19700 замеров прогибов стеблей, ржи – 2700, тритикале – 9000, ячменя – 18000, кукурузы – 8100, сорго – 3600, бамбука – 2500, риса – 2824 (рис. 1).
Рис. 1. Установка для определения прогиба пробы стебля: 1 – штативы; 2 – лапки; 3 – груз; 4 – проба стебля; 5 – нить; 6 – стол; f – прогиб пробы стебля в середине под действием силы Р.
Осуществляли замеры «напряжение-деформация» для стеблей злаков, применяя различные расстояния между зажимами штативов (0,2 … 1,0 м), что обеспечивало отсутствие масштабного эффекта. Повторность – от трех до десяти раз, прогиб в середине стебля, относительно натянутой нити, измеряли штангенциркулем с точностью до миллиметра. Давление на образцы – от 0,1 … 0,2 Н до 20 … 40 Н, пробы подвергали нагрузке 10 … 20 раз.
При подготовке образцов стеблей замеры диаметров концов выполняли с точностью до десятых долей миллиметра. Формулы для вычисления диаметров стебля учитывали средние наружные (D) и внутренние (d) диаметры на концах стебля.
На основании полученных данных были построены диаграммы «напряжение-деформация» для разных культур, сортов и гибридов в различные фазы вегетации. Их использовали для определения важных механических характеристик, таких как модуль Юнга, пределы упругости и текучести. Пробы вырезали из различных частей стебля.
Диаметры проб стебля вычисляли по формулам:
,
где D1, d1 и D2, d2 – средние наружные (D) и внутренние (d) диаметры пробы концов стебля.
По результатам строили диаграммы напряжения-деформации для всех культур, сортов и гибридов в три фазы вегетации.
РЕЗУЛЬТАТЫ И ОБСУЖДЕНИЕ
Проанализировав диаграммы «напряжение-деформация» была разработана схема оценки устойчивости растений злаков к полеганию. Применение математического моделирования и технической механики помогло объяснить как растения, за исключением кукурузы и риса, сохраняют целостность стеблей при воздействии неблагоприятных природных факторов (ветер, дождь, роса) (рис. 2).
Рис. 2. Общая диаграмма «напряжение-деформация» для стеблей ржи (все фазы, полевой опыт, 2011–2019 годы).
Длина стеблей растений варьирует от 53 см (яровой ячмень) до 187 см (кукуруза). Диаметры корней изменяются от минимального значения у яровой пшеницы (2,5 мм) до максимального у кукурузы (24 мм). Мокрые растения кукурузы, риса и сорго могут сохранять вертикальную устойчивость при заданных параметрах архитектоники, в отличие от ячменя, пшеницы, ржи и тритикале.
Определены изменения, которые необходимы для поддержания вертикальной устойчивости растений. Например, для озимой пшеницы потребуется увеличение диаметра колоса на 8 … 33% и сокращение длины стебля – 12 … 21%. Для других злаков (яровая пшеница, рожь, тритикале, ячмень) были рассчитаны аналогичные изменения в параметрах стебля и колоса (рис. 3).
Рис. 3. Алгоритм подбора оптимальных параметров устойчивости к полеганию злаковых растений. L – длина стебля, D0 – наружный диаметр стебля у корня, D – наружный диаметр стебля у колоса (метелки).
Например, для увеличения массы метелки среднерослых и длинностебельных сортов сорго методами селекции на 50% следует уменьшить длину стебля на 17 … 28%, увеличивая диаметр стебля у метелки на 4 … 9%.
Для сохранения устойчивости к полеганию необходимо увеличение диаметра стебля у корня на 10% для кукурузы, в 1,4 … 1,5 раза предела текучести ткани стебля для риса.
Нами определены, в зависимости от фазы вегетации изменяющиеся величины модуля Юнга, пределы упругости и текучести тканей стеблей растений злаков.
Модуль Юнга: для риса – 1250 МПа, кукурузы, тритикале, ячменя, пшеницы – 1865 … 2243, ржи и сорго – 2915 … 3022, бамбука – 14722 МПа. Для древесины бука – 12200 МПа, лиственницы – 14000 МПа, это в 14 раз меньше данного показателя для низкосортной стали (200000 МПа) (рис. 4). Пределы упругости для риса – 4,4 МПа, тритикале, ячменя, кукурузы, пшеницы – 13,3 … 17,7 ржи, сорго – 19,1 … 22,7, бамбука – 112,2 МПа. Для древесин бука – 95,3 МПа, лиственницы – 98,7 МПа, в 1,8 раза меньше этого показателя для низкосортной стали (200 МПа).
Рис. 4. Средние по фазам вегетации физико-механические свойства ткани стеблей злаковых растений.
Пределы текучести по фазам вегетации: у риса – 6,6 МПа, тритикале, ячменя, кукурузы, пшеницы, ржи – 16,1 … 25,8, сорго – 30,4, бамбука – 138,7 МПа.
Выводы. На основе многолетних исследований растений десяти важнейших культурных злаков, охватывающих 82 контрастных сорта в трех фазах их вегетации и при разных уровнях применения удобрений, определили ключевые параметры их архитектоники и физико-механических свойств. Результаты были получены с использованием научно обоснованных подходов, включая математическое моделирование и методы технической механики.
Некоторые параметры архитектоники и прочности стеблей злаков
Озимая пшеница L = 73 … 106 см; D0 = 3,7 … 4,0 мм | Яровая пшеница L = 56 … 83 см; D0 = 2,5 … 2,8 мм | Рожь L = 133 … 148 см; D0 = 4,3 … 4,7 мм | Тритикале L = 92 … 123 см; D0 = 5,1 … 5,3 мм | Озимый ячмень L = 70 … 106 см; D0 = 4,1 … 4,3 мм | Яровой ячмень L = 53 … 73 см; Do = 2,8 … 3 мм | Кукуруза L = 170 … 187 см; Do = 23,6 … 24 мм | Рис L = 82 … 89 см; Do = 7,7 … 8,1 мм | Сорго L = 78 … 168 см; Do = 13,2 … 15,3 мм |
Сохранение вертикальной устойчивости при существующих параметрах архитектоники в неблагоприятных погодных условиях (ветер, дождь, роса) | ||||||||
Озимая пшеница | Яровая пшеница | Рожь | Тритикале | Озимый ячмень | Яровой ячмень | Кукуруза | Рис | Сорго |
Нет | Нет | Нет | Нет | Нет | Нет | Да | Да | Да |
Необходимые изменения архитектоники для сохранения вертикальной устойчивости растений | ||||||||
Увеличение D на 8 … 33% Уменьшение L на 12 … 21% | Увеличение D на 24 … 50% Уменьшение L на 24 … 41% | Увеличение D на 40 … 37% Уменьшение L на 48 … 36% | Увеличение D на 10 … 19% Уменьшение L на 19 … 26% | Увеличение D на 19 … 40% Уменьшение L на 30 … 38% | Увеличение D на 32 … 57% Уменьшение L на 33 … 40% | Нет, дополнительно можно увеличить на 50% массу стебля с початками | Нет При увеличении массы метелки на 50% нужно увеличить D на 9 … 12%, уменьшить L на 15 … 11% | Нет При увеличении массы метелки на 50% для среднерослых и длинностебельных сортов нужно увеличить D на 4 … 9% уменьшить L на 17 … 28% |
Сохранение целостности стебля при изгибе растений с оптимальными параметрами архитектоники при действии максимальных ветровых нагрузок | ||||||||
Да | Да | Да | Да | Да | Да | Нет | Нет | Да |
Необходимые изменения архитектоники и прочности стеблей для сохранения устойчивости растений к полеганию | ||||||||
Озимая пшеница | Яровая пшеница | Рожь | Тритикале | Озимый ячмень | Яровой ячмень | Кукуруза | Рис | Сорго |
Нет | Нет | Нет | Нет | Нет | Нет | Увеличение D0 на 10% | Увеличение в 1,4 … 1,5 раза предела упругости | Нет |
Ключевыми достижениями стали точные и статистически значимые показатели (модули Юнга, пределы упругости и текучести тканей стеблей). Выявлено, что конструктивные особенности архитектоники растений влияют на обеспечение равномерного сопротивления стебля воздействию внешних сил и моментов в каждом его сечении. Эти теоретические результаты позволяют не только количественно оценивать действие природных факторов на деформацию и полегание стеблей злаков, но и формулировать перспективные направления их селекции, для улучшения устойчивости к неблагоприятным условиям.
About the authors
I. V. Arinicheva
Kuban State Agrarian University
Author for correspondence.
Email: loukianova7@mail.ru
Grand PhD in Biological Sciences, Professor
Russian Federation, KrasnodarV. G. Griguletsky
Kuban State Agrarian University
Email: loukianova7@mail.ru
Grand PhD in Technical Sciences, Professor
Russian Federation, KrasnodarReferences
- Griguleckij V.G., Luk’yanova I.V. Vliyanie fiziko-mekhanicheskih svojstv rastenij na ih ustojchivost’ k poleganiyu // Trudy Kubanskogo gosudarstvennogo agrarnogo universiteta. 2000. № 382. S. 39–48.
- Divashuk M.G., Vasil’ev A.V., Bespalova L.A., Karlov G.I. Identichnost’ genov korotkostebel’nosti RHT-11 i RHT-V1E // Genetika. 2012. T. 48. № 7. S. 897.
- Acreche M.M., Slafer G.A. Lodging yield penalties as affected by breeding in Mediterranean wheats // J. Agric. 2010. Sci. 122. РP. 40–48.
- Berry P.M., Griffin J.M., Sylvester-Bradley R. et al. Controlling plant form through husbandry to minimize lodging in wheat // Field Crops Res. 2000. No. 67. PP. 59–81.
- Berry P.M, Sterling M, Spink J.H et al. Understanding and reducing lodging in cereals // Adv Agron. 2004. No. 84. PP. 215–269.
- Bespalova L.A., Borovik A.N., Miroshnichenko T.Yu. Triticale sphaerococcum – a new perspective direction of breeding // 2nd International Conference on Triticale and Wheat Biology, Breeding and Production Book of Abstracts. 2018. PP. 26.
- Berry P.M., Sterling M., Spink, J.H. et al. Understanding and reducing lodging in cereals // Adv. Agron. 2004. No. 84. PP. 217–271.
- Dietrich R.C., Bengough A.G., Jones H.G., White P.J. Can root electrical capacitance be used to predict root mass in soil? // Ann. Bot. 2013. No. 112. PP. 457–464.
- Ellis T.W., Murray W., Paul K. et al. Electrical capacitance as a rapid and non–invasive indicator of root length // Tree Physiol. 2012. No. 33. PP. 3–17.
- Foulkes M.J., Slafer G.A., Davies W.J. et al. Raising yield potential of wheat. III. Optimizing partitioning to grain while maintaining lodging resistance // J. Exp. Bot. 2011. No. 62. PP. 469–486.
- Ookawa T. Inoue K., Matsuoka M. et al. Increased lodging resistance in long–culm, low–lignin gh2 rice for improved feed and bioenergy production // Sci. Rep. 2014. No. 4. PP. 65–67.
Supplementary files






