Investigating the Soil Hardness on Personal Subsidiary and Individual Peasant Farms
- Authors: Ulanov A.S.1, Kupryashkin V.F.1, Naumkin N.I.1, Naumkin D.A.1
-
Affiliations:
- National Research Mordovia State University
- Issue: Vol 34, No 4 (2024)
- Pages: 530-548
- Section: Technologies, Machinery and Equipment
- Submitted: 09.07.2024
- Accepted: 21.08.2024
- Published: 23.12.2024
- URL: https://medbiosci.ru/2658-4123/article/view/259187
- DOI: https://doi.org/10.15507/2658-4123.034.202404.530-548
- EDN: https://elibrary.ru/awrotp
- ID: 259187
Cite item
Full Text
Abstract
Introduction. Vegetable growing is one of the most important branches of agricultural production. Production of vegetables is carried out in both agricultural enterprises and on personal subsidiary and individual peasant farms. Growing vegetable crops on personal subsidiary and individual peasant farms involves tillage: plowing, cultivation, milling, etc. For tillage, there are actively used small tools, in particular tillers. The experience of their use and the research on the effectiveness of their functioning allow identifying ways to improve tillage quality.
Aim of the Study. The study is aimed at identifying the hardness of medium-loamy gray forest soil on different soil horizons typical for growing fruits and vegetables in personal subsidiary and individual peasant farms.
Materials and Methods. To measure the soil hardness, there are used different types of penetrometers: percussion, statically loaded and forcibly pressing a deformer (cone, cylinder, and ball) into the soil. In the study, instruments and devices for measuring the soil hardness were analyzed. The scheme of the soil hardness analysis included measurements after harvesting the following crops: potatoes dug using a motor cultivator with a passive potato digger, potatoes dug with a hand tool (shovel), fodder beets, squashes, and common onions. The soil hardness was measured using a hardness tester (penetrometer) manufactured by Wile Soil.
Results. The use of hardness testers in personal subsidiary and individual peasant farms is difficult due to their high cost and to the fact that the most part of these devices are specialized laboratory equipment, which require specific skills when used. Analyzing the soil hardness on personal subsidiary and individual peasant farms in the post-harvest period is a relevant task for optimal functioning of tillers, namely, it will allow operators to use the most efficient modes for tillage that will increase the tillage unit performance.
Discussion and Conclusions. Based on the analysis of the results of the experimental studies, there have been obtained the regression equations that allow determining the value of the hardness of medium-loamy gray forest soil from a depth (up to 20 cm) in the period after harvesting crops, which are the most common for growing in personal subsidiary and individual peasant farms of the Republic of Mordovia.
Full Text
Введение
Овощеводство – одна из важных отраслей сельскохозяйственного производства. В летне-осенний период оно удовлетворяет потребности населения в свежей овощной продукции, а правильное хранение и возможность консервации обеспечивают круглогодичную возможность употребления ее в пищу [1]. Овощеводство является одной из отраслей сельского хозяйства, в которой в последние годы наблюдался рост валовых сборов продукции1. Производство овощей осуществляется как на сельскохозяйственных предприятиях, так и сельскохозяйственных личных подсобных угодьях и других индивидуальных хозяйствах населения [2]. В настоящее время на индивидуальные хозяйства населения приходится почти 80 % всей выращиваемой овощной продукции Республики Мордовия. Согласно статистике на 2021 г. площадь сельскохозяйственных земель личных подсобных хозяйств жителей Мордовии составляет 158,8 тыс. га, из которых 30,4 тыс. приходится на пашню. Из 30,4 тыс. га 27,7 тыс. используются для выращивания плодово-овощных культур: 12,7 тыс. га (45,8 %) заняты картофелем; 8,9 тыс. га (32,2 %) – кормовыми культурами (свекла, кукуруза, подсолнечник и др.); 0,36 тыс. га (1,3 %) – тыквой столовой; 0,3 тыс. га (1,1 %) – репчатым луком; 0,22 тыс. га (0,8 %) – томатами; 0,19 тыс. га (0,7 %) – капустой; 0,17 тыс. га (0,6 %) – морковью2 [3; 4].
Выращивание плодово-овощных культур хозяйствами населения тесным образом связано с проведением механической обработки почвы: вспашкой, фрезерованием, культивацией, боронованием, окучиванием и др. Для ее осуществления активно используются средства малой механизации, в том числе и мотоблоки. По своему функционалу мотоблоки занимают место между мотокультиваторами и минитракторами. Выбор класса мотоблока осуществляется согласно условной классификации, составленной на основе рекомендаций пользователей и производителей, учитывающей мощность двигателя, массу агрегата, глубину обработки почвы3.
Большой опыт эксплуатации мотоблоков [4; 5], агрегатируемых с различными тяговыми и тягово-приводными сменными адаптерами (почвенные фрезы, лемешно-отвальный плуг, культиватор и др.) [6], а также исследования в области эффективности функционирования позволяют определить ряд способов для совершенствования обработки почвы:
– выбор рациональной поступательной скорости движения мотоблока;
– выбор подачи на рабочий орган (нож фрезы или лопасть ротационного плуга) за счет регулирования угловой скорости ротора;
– обеспечение постоянного угла резания рабочего органа сменного адаптера;
– выбор рациональной конструкции сменных адаптеров;
– увеличение ширины захвата фрезбарабанов;
– обработка почвы в два следа на различных глубинах;
– проведение комбинированной обработки почвы.
Представленные способы совершенствования обработки почвы во многом зависят от характера взаимодействия рабочих элементов почвообрабатывающих агрегатов с ней. Важной задачей следует считать определение конкретных значений основных физико-механических свойств почвы, в частности ее твердости, поэтому исследования, направленные на нахождение показателя твердости почвы на различных глубинах почвенного горизонта, являются актуальными и заслуживающими внимания.
Обзор литературы
Поступательная скорость движения мотоблока и величина подачи на рабочий орган обеспечиваются выбором необходимой передачи механической коробки переключения передач. Такие устройства могут иметь от двух до восьми передач переднего хода и двух передач заднего хода, что расширяет скоростной диапазон функционирования, приспосабливая машину к некоторым конкретным условиям работы4. Однако коробка переключения передач значительно увеличивает цену мотоблоков, поэтому с целью снижения себестоимости и трудоемкости изготовления производители исключают их, используя ременно-зубчато-цепные и ременно-цепные трансмиссии и передачи, тем самым ограничивая выбор наиболее рациональных скоростных режимов функционирования почвообрабатывающих агрегатов, снижая их эффективность5.
Для устранения этого недостатка сельскохозяйственным отечественным и зарубежным машиностроением разработаны и реализованы мотоблоки с бесступенчатым регулированием скорости движения. Например, агрегаты фирмы Caiman (Франция)6 оснащены трансмиссией, которая имеет высокий показатель надежности и КПД, в результате чего варьирование скоростных показателей в некотором диапазоне может осуществляться за счет изменения числа оборотов двигателя с сохранением его ресурса и без преждевременного выхода из строя. Также мотоблоки, в конструкции трансмиссий которых интегрирован клиноременный вариатор с механизмом ручного управления [7], позволяющий обеспечивать бесступенчатое регулирование скоростных режимов функционирования в зависимости от конкретных почвенных условий [8].
Движение рабочего органа (ножа) в обычном фрезерном барабане происходит с изменением угла резания, это приводит к дополнительному смятию почвы и увеличению сопротивления резания, что в свою очередь сказывается отрицательно на энергоемкости технологического процесса обработки почвы.
С целью устранения этой проблемы были проведены исследования в области обеспечения постоянного угла резания. Они показали, что в процессе отрезания почвенной стружки ножи разработанной конструкции фрезерного барабана имеют постоянный угол резания и неизменную оптимальную траекторию движения. При работе такой конструкции наблюдается минимальное сопротивление почвы о нож [9].
Рациональная конструкция сменных адаптеров, в частности фрезбарабанов, определяется наиболее оптимальным взаимным размещением ножей. Существуют два особо эффективных варианта: расположение ножей по замкнутой спирали, расположение по встречным спиралям [10].
Увеличение ширины захвата фрезбарабанов осуществляется установкой дополнительных секций с ножами. Такой способ достаточно распространен, однако увеличение нагрузок в приводе оставляет вопросы и требует исследования в области методов их снижения, например, рассмотрения подхода к оптимальному расположению ножей на увеличенном фрезбарабане [11].
Способ обработки почвы в два следа требует повышенных энергетических затрат, он используется при работе на тяжелых переуплотненных почвах.
Разработка комбинированных агрегатов, способных за один технологический проход выполнить комплекс агротехнических операций, позволит исключить многократные проходы мотоблока, приводящие к переуплотнению верхнего слоя почвы [12].
Анализ способов повышения эффективности функционирования мотоблоков выявил, что на показатель качества существенное влияние оказывают физико-механические свойства почвы, а именно ее твердость [13].
Рис. 1. Твердомер Ревякина 1 – штанга направляющая; 2 – штанга телескопическая; 3 – деформатор; 4 – пружина; 5 – планка для бумаги; 6 – устройство записывающее; 7 – рукоятка; 8 – основание; 9 – диаграмма
Fig. 1. Revyakin hardness tester 1 – guide rod; 2 – telescopic rod; 3 – deformer; 4 – spring; 5 – paper bar; 6 – recording device; 7 – handle; 8 – base; 9 – diagram
Источник: составлено авторами.
Source: compiled by the authors.
Твердость почвы (p) – способность сопротивляться внедрению в нее под давлением какого-либо деформатора7. Твердость почвы измеряют твердомерами8. Рассмотрим наиболее распространенные и применимые в сельском хозяйстве средства определения твердости почвы.
Твердомер Ревякина (рис. 1) оснащен записывающим устройством, регистрирующим степень сжатия пружины, которая зависит от характера сопротивления почвы. Диапазон глубины измерения находится в пределах от 0 до 30 см.
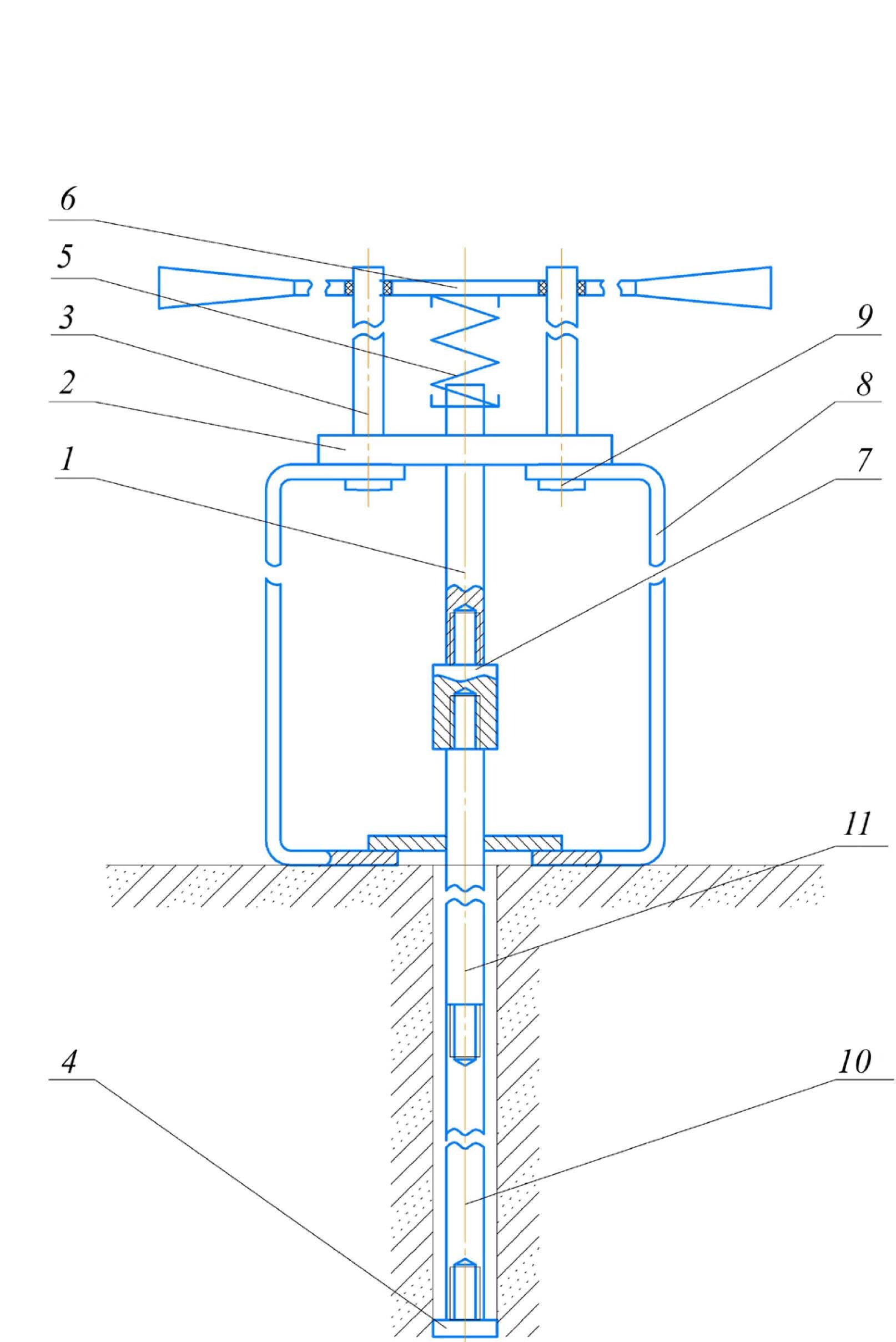
Учеными Всероссийского научно-исследовательского агролесомелиоративного института (ВНИАЛМИ, г. Волгоград) разработано устройство [14] для измерения твердости почвы на различной глубине (рис. 2).
Р и с. 2. Устройство для определения твердости почвы 1 – рабочий шток; 2 – основание; 3 – направляющие штанги; 4 – наконечник; 5 – пружина; 6 – нажимная планка с рукоятками; 7 – переходная муфта; 8 – опорная рамка; 9 – винт; 10 – нажимной шток; 11 – промежуточный шток
Fig. 2. Device for analyzing soil hardness 1 – working rod; 2 – base; 3 – guide rods; 4 – tip, 5 – spring; 6 – pressure plate with handles; 7 – adapter coupling; 8 – support frame; 9 – screw; 10 – pressure rod; 11 – intermediate rod
Источник: составлено авторами статьи по материалам [14].
Source: compiled by the authors of the article based on the materials [14].
На определение твердости почвы на глубине свыше 30 см твердомером Ревякина, представленного выше, затрачивается 40–60 мин. Такие затраты времени обусловлены проведением послойного снятия почвы, так как твердомер Ревякина ограничен диапазоном функционирования по глубине. Применение же данного устройства значительно снижает (в 10 раз) время проведения экспериментальных исследований, которое теперь составит от 3 до 5 мин. Такой эффект достигается за счет отказа от послойного снятия почвы и применения в конструкции твердомера наборных промежуточных штоков.
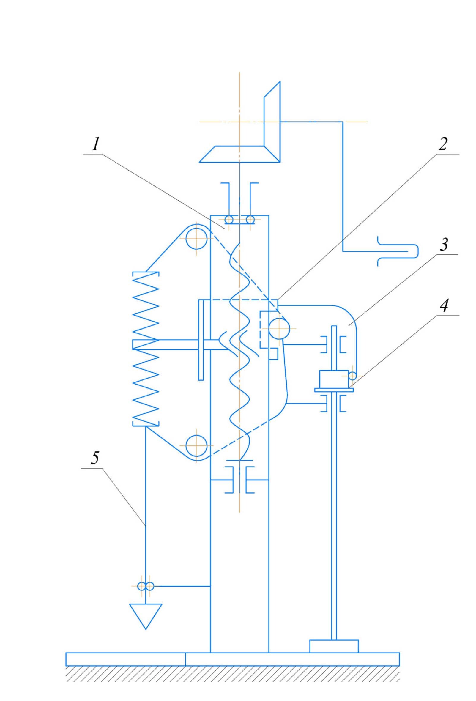
Твердомер конструкции ВИСХОМа (рис. 3) позволяет получить данные о твердости почвы на разных глубинах, но является довольно сложным по устройству и в обращении.
Рис. 3. Твердомер ВИСХОМ 1 – стойка, закрепленная на опорной плите; 2 – подвижная каретка; 3 – самопишущее устройство; 4 – лентопротяжный механизм; 5 – шток со сменным плунжером
Fig. 3. The VISKHOM hardness tester 1 – tine fixed to the base plate; 2 – movable carriage; 3 – self-recording unit; 4 – film advance mechanism; 5 – rod with a changeable plunger Источник: составлено авторами статьи по материалам [15].
Источник: составлено авторами статьи по материалам [15].
Source: compiled by the authors of the article based on the materials [15].
Помимо вышеуказанных устройств и приборов существует множество других конструктивных решений, позволяющих определить твердость почвы. К ним относятся твердомеры Горячкина, Качинского, Далина и др.9 [15].
Однако, проанализировав все многообразие конструкций, нами были выявлены некоторые недостатки их использования, например, малый диапазон глубин измерений (до 0,3 м) и сложность компоновки устройств.
Материалы и методы
Для решения указанных проблем широкое применение получили приборы [16], действие которых основано на внедрении в почву металлического наконечника с различной площадью основания. К таким относятся твердомеры (пенетрометры) фирмы Wile Soil (рис. 4).
Эксплуатация твердомера заключается в его установке наконечником вниз строго перпендикулярно поверхности почвы. Щуп твердомера необходимо вводить в почву медленно, без рывков, надавливая на обе ручки с одинаковым усилием [17].
Твердомер укомплектовывается наконечниками диаметром 1,27 см (для проведения измерений на тяжелых почвах) и 1,91 см (для почв легкого и среднего характера сложения).
Рис. 4. Твердомер Wile Soil
Fig. 4. Hardness Tester Wile Soil
Источник: фотографии для рисунков 4, 5 сделаны А. С. Улановым при проведении исследований твердости почвы (Республика Мордовия, п. Ромоданово, 10 сентября 2023 г.).
Source: the photos 4, 5 are taken during soil hardness studies by A. S. Ulanov in Republic of Mordovia, Romodanovo village, September 10, 2023.
Единицей измерения на индикаторе прибора является фунт на квадратный дюйм (Psi). Однако использование единиц измерения твердости почвы в МПа позволяет сравнивать полученные данные с результатами других исследований, проводимых в разных лабораториях или в рамках полевых экспериментов, а также обеспечивает более точные и надежные показатели замеров, чем применение фунта на квадратный дюйм в качестве единицы измерения. Для перевода измерений твердости почвы из Psi в МПа используем формулу10:
p = ПТ · 0,0069,
где p – твердость почвы в МПа; ПТ – показания твердомера.
Исходя из показаний твердости почвы, определяем характер ее сложения и даем оценку на соответствие одной из степеней: легкой, средней или твердой. Классификацию почв по твердости и характеру составили по Н. А. Качинскому11 и свели в таблицу 1.
Таблица 1. Классификация почв по характеру сложения и твердости
Table 1. Classification of soils according to the soil consistency and hardness
Характер сложения / Consistency | Твердость, МПа / Hardness, MPa | Оценка степени твердости почвы / Assessment of soil hardness degree |
Рыхлое / Friable | от 0 до 1,35 / from 0 to 1.35 | Легкая / Light |
Рыхловатое / Rather friable | от 1,35 до 1,50 / from 1.35 to 1.50 | Средняя / Middle |
Плотное / Firm | от 1,50 до 1,80 / from 1.50 to 1.80 | Средняя / Middle |
Очень плотное / Very firm | от 1,80 до 2,75 / from 1.80 to 2.75 | Твердая / Hard |
Анализ приборов и устройств показал многообразие конструкций для определения твердости почвы. В условиях личных подсобных и индивидуальных хозяйств владельцы мотоблоков не имеют приборную базу для определения твердости почвы, на основании которой происходит выбор режимов работы или сменных рабочих адаптеров для осуществления обработки почвы. Такие приборы, как правило, дороги. Чаще всего они относятся к специализированной лабораторной технике, требующей определенных навыков при использовании.
Определение твердости почвы земельных участков населения в послеуборочный период влияет на функционирование средств малой механизации (в том числе и мотоблоков), позволяет операторам проводить обработку почвы на максимально эффективных режимах, повышает производительность почвообрабатывающего агрегата, поэтому является актуальной задачей овощеводства.
Определение твердости почвы проводилось на среднесуглинистой серой лесной почве [18], время проведения экспериментов – осень 2022 и 2023 гг. Место проведения исследований – приусадебный участок, расположенный в п. Ромоданово Ромодановского района Республики Мордовия (рис. 5). На твердость почвы также оказывает влияние показатель ее влажности, поэтому в процессе исследования контролировалась ее величина: влажность почвы при исследованиях 2022 г. составила 19,1 %, 2023 г. – 19,6 %.
Рис. 5. Определение твердости почвы на участке посадки картофеля
Fig. 5. Measuring soil hardness at the potato planting site
Для измерения влажности почвы использовали метод горячей сушки почвенных проб с их взвешиванием до и после. На основе полученных результатов производился расчет влажности по формуле [19]:
где mв – масса влажной почвенной пробы, кг; mс – масса сухой почвенной пробы, кг.
Схема опыта включала в себя определение твердости почвы после уборки следующих сельскохозяйственных культур: 1) картофеля, выкопанного при помощи мотоблока с пассивным картофелевыкапывателем[12]; 2) картофеля, выкопанного при помощи ручного инструмента (лопаты); 3) свеклы кормовой; 4) тыквы столовой; 5) репчатого лука.
Измерения проводили на глубинах h = 5, 10, 15 и 20 см в пятикратной повторности, затем выбиралось среднее значение. Точки замера размещали на одной линии, шаг между точками составлял 1 м [20; 21].
Результаты исследования
В таблице 2 сведены результаты исследований твердости почвы. Учитывая, что влажность во время проведения опыта в 2022 г. составляла 19,1 %, а в 2023 г. – 19,6 %, определим относительную погрешность (δ) полученных величин по формуле13:
где Х – приближенное значение; Х0 – значение, выбранное точным (эталонным). В нашем случае δ = 2,6 %, что не превышает показатель в 5 %. Таким образом, усредним показатели замеренных твердостей почвы за 2022 и 2023 гг.
Результаты проведенных экспериментальных исследований позволили получить уравнения регрессии, отражающие характер изменения твердости среднесуглинистой серой лесной почвы в зависимости от глубины почвенного горизонта на участках, где выращивались распространенные в хозяйствах населения Республики Мордовия овощные культуры:
1) картофель, выкопанный при помощи мотоблока с пассивным картофелевыкапывателем (здесь и далее h – глубина внедрения металлического наконечника в почву):
p = 11,420h2 + 1,489h;
2) картофель, выкопанный при помощи ручного инструмента (лопаты):
p = –1,228h2 + 6,988h;
3) свекла кормовая: p = –0,571h2 + 6,783h;
4) тыква столовая: p = 15,880h2 + 4,358h;
5) репчатый лук: p = 33,480h2 + 1,016h.
Таблица 2. Твердость почвы в зависимости от ее глубины и вида выращиваемой сельскохозяйственной культуры в условиях личного подсобного хозяйства за 2022 и 2023 гг.
Table 2. Soil hardness depending on the depth and a type of agricultural crop cultivated a personal subsidiary farm for 2022 and 2023
Сельскохозяйственная культура / Agricultural culture | Глубина h, см / Depth h, sm | Твердость почвы, МПа / Hardness, MPa | ||
Год / Year | Среднее значение / The average value | |||
2022 (влажность почвы 19,1 %) / 2022 (soil moisture 19.1%) | 2023 (влажность почвы 19,6 %) / 2023 (soil moisture 19.6%) | |||
Картофель (мотоблок + картофелевыкапыватель) / Potatoes (tillers + potato digger) | 5 | 0,062 | 0,077 | 0,069 |
10 | 0,267 | 0,235 | 0,251 | |
15 | 0,579 | 0,582 | 0,581 | |
20 | 0,746 | 0,805 | 0,776 | |
Картофель (лопата) / Potatoes (shovel) | 5 | 0,402 | 0,375 | 0,389 |
10 | 0,623 | 0,655 | 0,639 | |
15 | 0,979 | 1,033 | 1,006 | |
20 | 1,335 | 1,294 | 1,315 | |
Свекла кормовая / Fodder beet | 5 | 0,267 | 0,291 | 0,279 |
10 | 0,712 | 0,695 | 0,704 | |
15 | 1,113 | 1,057 | 1,085 | |
20 | 1,380 | 1,371 | 1,376 | |
Тыква столовая / Pumpkin (squash) | 5 | 0,312 | 0,289 | 0,301 |
10 | 0,579 | 0,601 | 0,590 | |
15 | 0,935 | 0,892 | 0,919 | |
20 | 1,464 | 1,531 | 1,498 | |
Лук репчатый / Onion | 5 | 0,131 | 0,119 | 0,125 |
10 | 0,356 | 0,428 | 0,392 | |
15 | 1,024 | 0,989 | 1,007 | |
20 | 1,513 | 1,574 | 1,544 | |
Построены графические зависимости, представленные на рисунках 6–10. Полученные результаты коррелируют с ранее проводимыми исследованиями [22; 23].
Рис. 6. Твердость почвы после выкопки картофеля мотоблоком, оснащенным пассивным картофелевыкапывателем: 1 – экспериментальные данные; 2 – график аппроксимирующей функции
Fig. 6. Soil hardness after digging potatoes with a tillerblock, equipped with a passive potato digger: 1 – experimental data; 2 – approximating function curve
Источник: здесь и далее графики построены на основании полученных результатов в ходе проведения исследований твердости почвы в условиях личных подсобных и индивидуальных хозяйств населения.
Source: hereinafter in this article the diagrams are based on the results obtained during the research of soil hardness in the conditions of personal subsidiary and individual farms of the population.
Твердость почвы после выкопки картофеля мотоблоком, агрегатируемым с пассивным картофелевыкапывателем на глубинах от 0,05 до 0,20 м составляла от 0,069 до 0,776 МПа соответственно. Данные показатели характеризуют сложение почвы как рыхлое, а степень твердости – легкую. Достаточно низкие показатели твердости почвы в рассматриваемом диапазоне вызваны применением в процессе уборки культуры механизированных средств (мотоблока), воздействующих на почву рабочим органом (пассивным картофелевыкапывателем), имеющим форму клина, тем самым выполняя, помимо прямых функций по выкапыванию клубней картофеля, операцию по рыхлению почвенного слоя.
Рис. 7. Твердость почвы после выкопки картофеля при помощи лопаты: 1 – экспериментальные данные; 2 – график аппроксимирующей функции
Fig. 7. Soil hardness after digging potatoes with a shovel: 1 – experimental data; 2 – approximating function curve
Твердость почвы после уборки картофеля с помощью ручного инструмента (лопаты) на глубинах от 0,05 до 0,20 м составляла от 0,389 до 1,315 МПа. Данные показатели характеризуют сложение почвы как рыхлое, а степень твердости – легкую.
Рис. 8. Твердость почвы после уборки кормовой свеклы: 1 – экспериментальные данные; 2 – график аппроксимирующей функции
Fig. 8. Soil hardness after harvesting fodder beet: 1 – experimental data; 2 – approximating function curve
Твердость почвы после уборки кормовой свеклы на глубинах от 0,05 до 0,20 м составляла от 0,279 до 1,376 МПа. Данные показатели характеризуют сложение почвы как рыхлое, а степень твердости – легкую.
Рис. 9. Твердость почвы после уборки тыквы столовой: 1 – экспериментальные данные; 2 – график аппроксимирующей функции
Fig. 9. Soil hardness after harvesting the pumpkin (squash) 1 – experimental data; 2 – approximating function curve
Твердость почвы после уборки тыквы столовой на глубинах от 0,05 до 0,20 м составляла от 0,301 до 1,498 МПа. Однако стоит отметить, что не на всех глубинах твердостный почвенный показатель четко соответствует какой-то одной степени твердости и характеру сложения. Так, на глубине от 0,050 до 0,185 м почва легкая и рыхлая, на глубине от 0,185 до 0,200 м – средняя и рыхловатая.
Рис. 10. Твердость почвы после уборки лука репчатого: 1 – экспериментальные данные; 2 – график аппроксимирующей функции
Fig. 10. Soil hardness after harvesting onions 1 – experimental data; 2 – approximating function curve
Твердость почвы после уборки репчатого лука на глубинах от 0,05 до 0,20 м составила от 0,125 до 1,544 МПа. Однако твердостный почвенный показатель, как и в предыдущем случае, варьируется от глубины замеров: на глубине от 0,050 до 0,185 м почва легкая и рыхлая, на глубине от 0,185 до 0,200 м – средняя и рыхловатая.
Обсуждение и заключение
Результаты исследования показывают, что в диапазоне исследуемых глубин от 0 до 20 см распределение значений твердости почвы позволяет активно вовлекать в процесс обработки почвы перспективные, высокоэффективные, малогабаритные почвообрабатывающие машины, в частности мотоблок, оснащенный различными тяговыми и тягово-приводными сменными адаптерами (почвенные фрезы, лемешно-отвальный плуг, культиватор и т. д.).
Однако владельцы мотоблоков не имеют приборную базу для определения твердости почвы с целью корректировки своих действий при выборе режимов работы или сменных рабочих адаптеров для осуществления обработки почвы, так как приборы для измерения твердости представляют собой измерительное специализированное, зачастую сложное и дорогостоящее оборудование.
Полученные значения твердости среднесуглинистой серой лесной почвы на глубинах почвенного горизонта от 0 до 20 см в послеуборочный период наиболее распространенных для выращивания в условиях личных подсобных и индивидуальных хозяйств населения Республики Мордовия культур (картофеля, свеклы кормовой, тыквы столовой, репчатого лука) в значительной мере помогают пользователям мотоблоков осуществить технологический процесс на максимально эффективных режимах работы в зависимости от конкретных почвенных условий, что повышает производительность почвообрабатывающих агрегатов.
Дальнейшим развитием проведенного исследования является определение твердости почвы на других типах почвы в весенний период, в момент перед подготовкой почвы к посеву выращиваемых культур в условиях личных подсобных и индивидуальных хозяйств населения, с целью расширения технологических возможностей применяемых почвообрабатывающих машин.
1 Технологии овощеводства : учебное пособие / М. И. Машенков [и др.]. Оренбург : Оренбургский ГАУ, 2020. 478 с. URL: https://e.lanbook.ru/book/172659 (дата обращения: 10.01.2024).
2 Основные итоги сельскохозяйственной микропереписи 2021 года. Статистический сборник [Электронный ресурс]. URL: https://rosstat.gov.ru/storage/mediabank/Census_agr_2021.pdf (дата обращения: 10.01.2024); Купряшкин В. Ф., Уланов А. С. Эффективное использование почвообрабатывающих агрегатов на базе мотоблоков : моногр. Саранск, 2021. 160 с.
3 Купряшкин В. Ф., Уланов А. С. Эффективное использование почвообрабатывающих агрегатов на базе мотоблоков.
4 Гуреев И. И. Перспективная машина для фрезерной обработки почвы // Адаптивно-ландшафтные системы земледелия – основа оптимизации агроландшафтов : сб. докл. Всерос. науч.-практ. конф. (14 – 16 сентября 2016 г., г. Курск). Курск, 2016. С. 84–88. EDN: WLEKSJ
5 Синицкая Ю. С., Синицкий С. А., Лукманов Р. Р. Анализ схем механизмов привода трансмиссии средств малой механизации // Современное состояние и перспективы развития технической базы агропромышленного комплекса : науч. тр. Междунар. науч.-практ. конф., посвященной памяти д.т.н., проф. Мудрова П. Г. (28 – 29 октября 2021 г., г. Казань). Казань, 2021. С. 194–198. EDN: AWFFGO
6 Мотоблок бензиновый CAIMAN Vario 70C TWK+ [Электронный ресурс]. URL: https://clck.ru/3ETebK (дата обращения: 06.01.2024).
7 Теория, конструкция и расчет сельскохозяйственных машин : учебник для вузов по специальности «С.-х. машины» / под ред. Е. С. Босого. М. : Машиностроение, 1977. 568 с.
8 Бричков С. В., Хорев П. Н. Методика проведения исследований твердости почвы при обработке почвы // Вклад молодых ученых в инновационное развитие АПК России : сб. статей Всерос. науч.-практ. конф. молодых ученых. (25 – 26 октября 2018 г., г. Пенза). Пенза : Пенз. гос. агр. ун-т, 2018. Т. I. С. 216–218. EDN: YRREUH
9 Сабликов М. В. Сельскохозяйственные машины. Ч. 2. Основы теории и технологического расчета. М. : Колос, 1968. 295 с.
10 Соотношения единиц давлений [Электронный ресурс]. URL: https://clck.ru/3DNRmb (дата обращения: 12.01.2024).
11 Медведев В. В. Твердость почв. Харьков : Городская типография, 2009. 152 с.
12 Картофелекопатель «Нева» КНМ 005.07.0100 [Электронный ресурс]. URL: https://clck.ru/3DNSBu (дата обращения: 11.01.2024).
13 Гриценко В. В. Погрешности измерений : методические указания по организации, содержанию, оформлению и защите расчетного задания (контрольной работы) по дисциплине «Метрология, стандартизация и сертификация» для студентов направлений «Машиностроение», «Технологические машины и оборудование» и «Конструкторско-технологическое обеспечение машиностроительных производств» всех форм обучения. Рубцовск : Рубцовский индустриальный институт, 2018. 35 с. URL: https://clck.ru/3DNSi7 (дата обращения: 11.01.2024).
Дополнительная информация
Конфликт интересов: авторы заявляют об отсутствии конфликта интересов.
Заявленный вклад авторов:
В. Ф. Купряшкин – научное руководство, определение методологии исследования, формирование выводов, доработка текста.
А. С. Уланов – проведение экспериментальных исследований, обработка результатов эксперимента, подготовка начального варианта текста, визуализация и редактирование.
Н. И. Наумкин – формулирование основной концепции исследования, формирование выводов.
Д. А. Наумкин – литературный и патентный анализ.
About the authors
Aleksandr S. Ulanov
National Research Mordovia State University
Email: ulanow.aleksandr2010@yandex.ru
ORCID iD: 0000-0001-6041-6911
SPIN-code: 2183-8421
ResearcherId: L-4662-2018
Cand.Sci. (Eng.), Associate Professor of the Chair of Mobile Power Tools
and Agricultural Machinery Named after Professor A.I. Leshchankin
Vladimir F. Kupryashkin
National Research Mordovia State University
Email: kupwf@mail.ru
ORCID iD: 0000-0002-7512-509X
SPIN-code: 1894-9028
ResearcherId: L-5153-2018
Cand.Sci. (Eng.), Head of the Chair of Mobile Power Tools and
Agricultural Machinery Named after Professor A.I. Leshchankin
Nikolay I. Naumkin
National Research Mordovia State University
Email: naumn@yandex.ru
ORCID iD: 0000-0002-1109-5370
SPIN-code: 8135-7254
ResearcherId: L-4643-2018
Dr.Sci. (Ped.), Cand.Sci. (Eng.), Professor of the Chair of Mobile Power Tools
and Agricultural Machinery Named after Professor A.I. Leshchankin
Dmitry A. Naumkin
National Research Mordovia State University
Author for correspondence.
Email: aeeeaaa2@yandex.ru
ORCID iD: 0009-0003-7752-3424
ResearcherId: KVA-7171-2024
Postgraduate Student of the Chair of Mobile Power Tools and Agricultural
Machinery Named after Professor A.I. Leshchankin
References
- Branch of Agricultural Production and Science in the Middle Urals. Bulletin of Biotechnology. 2023;2(33). (In Russ., abstract in Eng.) Available at: https://bio.urgau.ru/ru/2-33-2023/1-2-2023 (accessed 17.05.2024).
- Li K., Wang C., Zhang H., Zhang J., Jiang R., Feng G., et al. Evaluating the Effects of Agricultural Inputs on the Soil Quality of Smallholdings using Improved Indices. CATENA. 2022;209(1):105838. https://doi.org/10.1016/j.catena.2021.105838
- Starkova O.Ya. Security of Land Resources in Agricultural Production. Agroprodovol’stvennaya Ekonomika. 2017;4:67–73. (In Russ., abstract in Eng.) Available at: http://apej.ru/article/10-04-17 (accessed 11.01.2024).
- Bersamin A., Hernández-Garbanzo Y., Atoloye A.T., Gonzalez J.U., Ríos-Castillo I., May Oo T.T., et al. Growing Our Commitment to Promoting Fruits and Vegetables: Looking Beyond the International Year of Fruits and Vegetables 2021. Journal of Nutrition Education and Behavior. 2021;53(11):909–910. https://doi.org/10.1016/j.jneb.2021.09.016
- Hettiaratchi D.R.P. The Development of a Powered Low Draught Tine Cultivator. Soil and Tillage Research. 1993;28(2):159–177. https://doi.org/10.1016/0167-1987(93)90024-J
- Iunusov G.S., Maiorov A.V., Anderzhanova N.N., Alibekov S.Ia. Analytical Assessment of Working Elementsfor Walk-Behind Tractors. Bulletin of the Volga State University. Series: Materials. Constructions. Technologies. 2020;1(13):62–68. (In Russ., abstract in Eng.) Available at: https://journals.volgatech.net/mkt/article/view/668 (accessed 17.05.2024).
- Kuprjashkin V.F., Ulanov A.S., Naumkin N.I., Knjazkov A.S. [Motor Cultivator with Forward Speed Stepless Regulation]. Patent 2,602,438 Russian Federation. 2016 November 20. (In Russ., abstract in Eng.) Available at: https://patenton.ru/patent/RU2602438C1.pdf (accessed 17.05.2024).
- Kupryashkin V.F., Ulanov A.S. Motoblock “Neva” MB-23-MULTIAGRO PRO with a Module for Infinitely Variable Speed of its Movements and its Operation Algorithm. Mashinovedenie. 2019;1(9):114–120. (In Russ., abstract in Eng.) EDN: AXTPCQ
- Knyazkov A.S., Kupryashkin V.F., Chetverov N.A., Kupryashkin V.V. Adaptive Energy-Efficient Working Bodies for Aggregation with Walk-Behind Tractors. Selskiy Mechanizator. 2023;5:18–19. (In Russ., abstract in Eng.) EDN: NQMUYY
- Zhuk A.F. [Combined Tillage Aggregates, Justification, Types, Designs]. Tekhnika v sel’skom hozyajstve. 1999;6:71–74. (In Russ.) EDN: UKRPHP
- Sokolov V.V., Karpov N.F., Pavlyuchenko G.V. [On the Stepwise Change in the Width of the Grip of a Tillage Machine and Tractor Unit]. Bulletin of the Altai State Agrarian University. 2004;2(14):180–184. (In Russ.) EDN: PFODCF
- Chandel N.S., Chandel A.K., Roul A.K., Solanke K. An Integrated Inter- and Intra-Row Weeding System for Row Crops. Crop Protection. 2021;145:105642. Available at: https://clck.ru/3DEQ2h (accessed 17.05.2024).
- Jabborov N.I., Dobrinov A.V., Saveluev A.P. Modeling of the Soil Tillage Process by Stress Concentration Method in the Treated Reservoir. Engineering Technologies and Systems. 2023;33(2):175–191. (In Russ., abstract in Eng.) https://doi.org/10.15507/2658-4123.033.202302.175-191
- Zhdanov Yu.M., Petrov V.I., Korpushov S.A. [Method and Device for Measuring Soil Hardness at Different Depths]. Proceedings of the Nizhnevolzhsky Agrouniversity Complex: Science and Higher Professional Education. 2014;2(34):58–161. (In Russ.) EDN: SFFKXD
- Lysenkov V.O., Bezrukov A.V., Naumkin N.I. Classification of Technical Devices for Monitoring Soil Mechanical Properties. Machinery Researching. 2023;1(17):155–161. (In Russ., abstract in Eng.) EDN: GUNYXL
- Li K., Zhang H., Li X., Wang C., Zhang J., Jiang R., et al. Field Management Practices Drive Ecosystem Multifunctionality in a Smallholder-Dominated Agricultural System. Agriculture, Ecosystems & Environment. 2021;313:107389. https://doi.org/10.1016/j.agee.2021.107389
- Zhang J., Li Y., Jia J., Liao W., Amsili J.P., Schneider R.L., et al. Applicability of Soil Health Assessment for Wheat-Maize Cropping Systems in Smallholders’ Farmlands. Agriculture, Ecosystems & Environment. 2023;353:108558. https://doi.org/10.1016/j.agee.2023.108558
- Petrov M.V. Changes in the Agrophysical Properties of the Soil Depending on the Main Tillage in Various Types of Agricultural Landscape of the Ulyanovsk Region. Izvestia of Samara Scientific Center of the Russian Academy of Sciences. 2022;1(2):67–70 (In Russ., abstract in Eng.) https://doi.org/10.37313/2782-6562-2022-1-2-67-70
- Nikulin I.S., Mishynin M.V., Nikulicheva T.B, Borodavkin I.G., Titenko A.A. [Experimental Assessment of the Effect of Humidity and Type of Tillage on Compaction under Mechanical Action]. Achievements of Science and Technology of AIC. 2020;34(12):61–65. (In Russ.) Available at: http://agroapk.ru/2020-g/190-archive/12-2020/3797-2020-12-10-ru (accessed 17.05.2024).
- Yakovlev N.S., Sineshekov V.E., Markin V.V. Analysis of Ways to Processing the Soil for Cereals Culture. Bulletin NGIEI. 2021;4(119):5–20. (In Russ., abstract in Eng.) https://doi.org/10.24412/2227-9407-2021-4-5-20
- Amsili J.P., van Es H.M., Schindelbeck R.R.. Cropping System and Soil Texture Shape Soil Health Outcomes and Scoring Functions. Soil Security. 2021;4:100012. https://doi.org/10.1016/j.soisec.2021.100012
- Parkhomenko G.G., Bozhko I.V., Kambulov S.I., Pahomov V.I. Agrotechnical and Energy Performance of Tillage Tools.. Engineering Technologies and Systems. 2021;31(1):109–126. (In Russ., abstract in Eng.) https://doi.org/10.15507/2658-4123.031.202101.109-126
- Fedorov S.Е., Bychkov M.V. Monitoring Of Physico-Mechanical Properties Of Soil. Sovremennye Problemy Territorial’nogo Razvitiya. 2019;3:2. (In Russ., abstract in Eng.) EDN: JFSLLZ
Supplementary files





























