Результаты фотобиологических исследований по выращиванию салата под разноспектральными источниками излучения
- Авторы: Долгих П.П.1, Трепуз С.В.1, Ханипова В.А.1,2, Сенкевич О.В.3
-
Учреждения:
- Красноярский государственный аграрный университет
- Институт прикладной биотехнологии и ветеринарной медицины
- Красноярский государственный медицинский университет имени профессора В. Ф. Войно-Ясенецкого Министерства здравоохранения Российской Федерации
- Выпуск: Том 33, № 3 (2023)
- Страницы: 435-451
- Раздел: Электротехнологии и электрооборудование
- Статья получена: 30.04.2025
- Статья одобрена: 15.05.2025
- Статья опубликована: 29.09.2023
- URL: https://medbiosci.ru/2658-4123/article/view/289985
- DOI: https://doi.org/10.15507/2658-4123.033.202303.435-451
- ID: 289985
Цитировать
Полный текст
Аннотация
Введение. При выращивании растений по технологиям вертикального земледелия важным фактором, регулирующим энергетические процессы, является электромагнитное излучение облучателей с определенными длинами волн в оптическом диапазоне.
Цель статьи. Обоснование технологии светодиодного облучения при выращивании зеленных культур в вегетационных установках в условиях излучения разноспектрального состава, путем определения закономерностей изменения качественных показателей салата сортов Кук, Хризолит и Афицион, и создание на их основе концепции светодиодного облучателя для управляемого растениеводства.
Материалы и методы. Эксперимент проводился в вегетационной установке, в которой в трех камерах с помощью облучателей различного спектра излучения было создано индивидуальное для каждой камеры воздействие (по спектру) на биологические объекты (зеленые растения) при прочих равных условиях.
Результаты исследования. Проведенные экспериментальные исследования позволили установить ряд разнообразных реакций на воздействие излучения определенного спектрального состава. Было обнаружено стабильное увеличение содержания треонина, фенилаланина, валина, серина, аланина и сахара у салата сорта Кук при выращивании под облучателем с регулируемым спектром. В то же время у салата сорта Хризолит выявлено стабильное снижение содержания данных веществ в тех же условиях. На содержание витамина С реакция обратная – снижение у салата сорта Кук, увеличение у салата сорта Хризолит под облучателем с регулируемым спектром. Для салата сорта Афицион реакция на содержание исследуемых веществ в обоих опытах дифференцирована несходная.
Обсуждение и заключение. Разработка и применение светодиодных облучателей с тонкой настройкой для управляемого растениеводства должны производиться на основе фотобиологических исследований с учетом специфических реакций отдельных сортов растений. Для этих целей предложено техническое решение с набором светодиодов, управляемых по отдельным каналам, с применением цифровых технологий.
Полный текст
Введение
Тепличная промышленность постоянно разрабатывает новые стратегии для увеличения урожайности, снижения любого связанного с этим негативного воздействия на окружающую среду и адаптации к новым требованиям рынка [1]. Поэтому технологии беспочвенного выращивания [2], автоматический контроль над факторами, составляющими микроклимат внутри теплицы [3], создание вертикальных агроэкосистем, которые могут быть расположены в городской среде [4] и другие перспективные направления находятся в постоянном развитии. Основным оборудованием при этом являются облучательные установки с высокой эффективностью в области фотосинтетически и физиологически активной радиации и возможностью динамического регулирования характеристик излучения в оптическом диапазоне (интенсивность, доза, спектр излучения) [5–7].
Согласно нормам искусственного освещения [8] для выращивания зеленных культур в условиях светокультуры растений, предлагаются технологии облучения, где предпочтительно использовать базовый спектр излучения, определяемый отношением синей (с), зеленой (з) и красной (к) областей в полном потоке фотонов фотосинтетически активной радиации (ФАР), %: 20 (с) ‒ 0 (з) ‒ 80 (к). Эффективный для растений и благоприятный для зрения персонала спектр с излучением в тех же областях ФАР, %: 20 (с) ‒ 18 (з) ‒ 62 (к). Спектр излучения в области ФАР стандартного источника D65 Международной комиссии по освещению (дневной свет с пропорциональным распределением энергии в синей, зеленой и красной зонах спектра), %: 30 (с) ‒ 36 (з) ‒ 34 (к). Изложенные технологии базируются на исследованиях, проводимых в Национальном исследовательском университете «МЭИ» [9; 10].
Предлагаемые технологии, на наш взгляд, имеют отдельные недостатки. Во-первых, не учтено, что существенные различия в реакции на спектральный состав воздействующего излучения накладывают не только видовые, но и сортовые особенности растений [11; 12]. Во-вторых, оценка эффективности облучения только по продуктивности растений при нескольких различных спектрах облучения в области ФАР, без учета изменения качественных показателей (физико-химических свойств и химического состава), весьма ограничена, так как не соответствует современным стратегиям роста. Известно, что переменный спектр излучения может быть эффективно использован для получения продуктов с оптимизированными питательными веществами [13], улучшенными органолептическими показателями [14; 15], измененным содержанием микроэлементов [16] и др.
Целью исследования являлось обоснование технологии светодиодного облучения при выращивании зеленных культур в вегетационных установках в условиях излучения разноспектрального состава, путем определения закономерностей изменения качественных показателей салата сортов Кук, Хризолит и Афицион, и создания на их основе концепции светодиодного облучателя для управляемого растениеводства.
Обзор литературы
В технологиях закрытого вертикального земледелия с использованием систем промышленного выращивания растений и установками искусственного облучения для производства продуктов питания [17] эффективно используются облучатели со светодиодными источниками излучения благодаря их компактным размерам, относительно низкой температуре поверхности облучателя, высокой эффективности излучения, широкому спектру, а также большой гибкости для создания излучения с различными параметрами.
Например, источник излучения, содержащий несколько типов светодиодов с разными пиковыми длинами волн, может создавать излучение, спектральный состав которого может изменяться. Такие системы источников излучения были разработаны для исследовательских целей с 5-ю [18], 6-ю [19] и 32-мя [20–22] типами светодиодов для расширенного регулирования электромагнитного спектра излучения. Такие светодиодные источники излучения идеально подходят для проведения исследований по влиянию разноспектрального воздействия на ростовые процессы, показатели продуктивности и качественные показатели растений.
При выращивании растений применяют два метода облучения в отношении действительно или кажущегося непрерывного облучения в течение всего фотопериода. Наиболее распространенным методом является облучение, при котором излучение происходит непрерывно в течение фотопериода [23]. Другой – прерывистое облучение, в котором излучение происходит с перерывами в течение короткого временного цикла [24].
Простые и общие методы управления потоком излучения или диммирование светодиода включает в себя управление электрическим током, протекающим через светодиод [25; 26].
Другой метод управления интенсивностью излучения осуществляется с помощью широтно-импульсной модуляции (ШИМ) [25]. В этом методе светодиод многократно включается и выключается через короткие промежутки времени путем подачи и отключения постоянного электрического тока. Длительность импульса равна периоду времени, в течение которого подается ток и происходит излучение в оптическом диапазоне.
Материалы и методы
Эксперимент проводился в вегетационной установке (рис. 1), в которой параметры микроклимата соответствовали рекомендациям [27], норма облученности поддерживалась на уровне Е = 150 ± 10 мкмоль/(м2·с) [8] путем регулирования высоты подвеса облучателей (была получена путем установки облучателя на высоте 0,6 м над облучаемой поверхностью при обеспечении коэффициента минимальной облученности z = 0,8), а комбинация фотопериода составляла: свет – 16 ч, темнота – 8 ч. В результате эксперимента необходимо было определить влияние различного спектра излучения на качественные показатели салата сортов Кук (К), Хризолит (Х) и Афицион (А) [28]: содержание сублимированной влаги, влаги в зелени, сахара, фенолов, аминокислот (треонин, серин, аланин, фенилаланин, валин), фруктозы, глюкозы, сахарозы, витамина С.
3 ‒ стеллаж для лотков с субстратом; 4 ‒ поддон для слива питательного раствора; 5 ‒ растения в горшках;
Fig. 1. Vegetation facility: 1 ‒ growth chambers; 2 ‒ technological compartment;
3 ‒ shelf for trays with substrate; 4 ‒ bottom for draining nutrient solution; 5 ‒ plants in pots;
6 ‒ irrigation hose with perforation; 7 ‒ irradiator with radiation coinciding with the spectral distribution
function of the relative photosynthetic activity of solar radiation; 8 ‒ irradiator with radiation, coinciding with the function of spectral sensitivity of plantations according to K. J. McCree; 9 ‒ irradiator with adjustable spectrum;
Согласно плану эксперимента в камерах для выращивания 1 вегетационной установки установлено три типа облучателей: в первой камере для выращивания (рис. 2a) – облучатель с излучением, совпадающим с функцией спектрального распределения относительной фотосинтетической активности солнечного излучения 7 (контроль), где распределение в отдельных областях ФАР следующее – 33 % (с) − 33% (з) − 33 % (к); во второй (рис. 2b) – облучатель с излучением, совпадающим с функцией спектральной чувствительности растений по K. J. McCree 8 (опыт 1), 20 % (с) − 30 % (з) − 50 % (к); в третьей (рис. 2c) – облучатель с регулируемым спектром 9 по трем каналам управления для трех участков спектра: синих (с), зеленых (з), красных (к) (опыт 2). Он должен работать по сценарию: 70 % (с) − 10 % (з) − 20 % (к) «рассвет» – продолжительность 2 ч; 10 % (с) − 10 % (з) − 80 % (к) «день» – 13 ч; 50 % (с) − 10 % (з) − 40 % (к) «закат» – продолжительность 1 ч.
a) облучатель с излучением, совпадающим с функцией спектрального распределения относительной фотосинтетической активности солнечного излучения; b) облучатель с излучением, совпадающим с функцией спектральной чувствительности растений по K. J. McCree; c) облучатель с регулируемым спектром
Fig. 2. Radiation spectra of the irradiators in the experiment:
a) irradiator with radiation coinciding with the spectral distribution function of the relative photosynthetic activity of solar radiation;
b) irradiator with radiation coinciding with the function of plantation spectral sensitivity according to K. J. McCree;
c) irradiator with adjustable spectrum
Таким образом, в каждой камере для выращивания вегетационной установки с помощью облучателей различного спектра излучения создается индивидуальное воздействие (по спектру) на биологические объекты (зеленые растения) для проведения фотобиологических экспериментов.
В ходе проведения эксперимента семена высаживают в рассадные горшки с торфяным субстратом по три семени в каждый и помещают в камеру проращивания до стадии образования розетки. После этого в каждый стеллаж для лотков с субстратом 3 помещается по два горшка трех сортов салата. Устанавливаются маркеры сортов.
За определенный период во время выращивания часть питательного раствора усваивается растениями в горшках 5 и испаряется, после чего вода из доливочного трубопровода 11 дополняет емкость для питательного раствора 10. Регулярно после добавления поливочной воды с помощью pH-метра вручную осуществляется контроль уровня кислотности питательного раствора и поддержание его на уровне 5,5‒6,5, а с помощью кондуктометра поддерживается уровень проводимости 1,85‒1,89 мСм/см. Использовались удобрения Advancer Nutrients pH Perfect Bloom, pH Perfect Grow, pH Perfect Micro, которые заливались в емкость для питательного раствора 10 в равных пропорциях в среднем по 5‒10 мл каждого на 1 литр воды. Весь цикл работы оборудования контролируется и регулируется с щита управления 12. На 35-е сутки производится уборка урожая.
Результаты исследования
На рисунке 3 представлены результаты химического анализа по содержанию незаменимых и заменимых аминокислот. По незаменимым кислотам салат был исследован на содержание треонина, фенилаланина, валина. Треонин, по данным ФАО, ‒ одна из самых дефицитных аминокислот в питании человека и относится к абсолютно незаменимым, поэтому особенно актуальной задачей является получение продукции с повышенным его содержанием. Так, количество треонина, поддерживающего работу иммунной системы организма, а также необходимого для синтеза аминокислот серина и глицина, которые в свою очередь участвуют в синтезе коллагена и эластина, увеличивается по сравнению c контролем в первом опыте К − на 38 %, Х − на 8 %, А − на 17 %. Во втором опыте: рост содержания треонина К − на 59 %, снижение Х − на 8 %, А – на 30 %.
и заменимых аминокислот: a) сорт Кук; b) сорт Хризолит; c) сорт Афицион
Fig. 3. Results of chemical analysis on the content of nonreplaceable and dispensable amino acids:
a) lettuce variety Cook; b) lettuce variety Chrysolite; c) lettuce variety Afitsion
Несколько иную закономерность показывает содержание фенилаланина, влияющего на работу центральной нервной системы и участвующего в синтезе белков: снижается по сравнению c контролем в первом опыте К − на 13 %, увеличивается Х − на 9 %, А − на 6 %. Во втором опыте: рост содержания фенилаланина К − на 30 %, снижение Х − на 2 %, А − на 28 %.
Содержание валина, необходимого для метаболизма в мышцах, снижается в первом опыте для К − на 5 %, Х − на 33 %, А − на 7 %. Во втором опыте для К − увеличивается уровень валина на 40 %, снижается для Х − на 4 %, для А − на 35 %.
По заменимым кислотам салат исследован на содержание серина и аланина. Серин – важный компонент белков головного мозга и миелиновых оболочек, которые защищают нервные клетки от биохимических и механических повреждений. Между тем передозировка аминокислоты токсична для нервных клеток. Содержание серина увеличивается в первом опыте для К − на 36 %, А − на 13 %, снижается Х − на 12,5 %. Во втором опыте для К − увеличивается уровень серина на 70 %, снижается для Х − на 8 %, для А − на 38 %.
Аланин – аминокислота, используемая в качестве «стройматериала» для кортизона, который, согласно исследованиям [29], может повышать выносливость и предотвращать быстрое старение. Закономерность изменения содержания аланина следующая: в первом опыте снижается для К − на 14 %, Х − на 33,5 %, А − на 76 %. Во втором опыте для К − увеличивается уровень аланина на 19,7 %, для А − на 27,5 %, снижается для Х − на 20,8 %.
Известно, что вода в пищевых продуктах играет важную роль, так как обусловливает консистенцию и структуру продукта, а ее взаимодействие с присутствующими компонентами определяет устойчивость продукта при хранении [30]. Для оценки водной активности был проведен физико-химический анализ по содержанию сублимированной влаги, % (рис. 4a) и влаги в зелени, % (рис. 4b) в исследуемых образцах салата. По данному показателю все исследуемые образцы салата относятся к продуктам с высокой влажностью.
a) сублимированная влага, %; b) влага в зелени, %
Fig. 4. Moisture content in the studied samples of lettuce:
a) sublimated moisture, %; b) moisture in greens, %
Из рисунка 4 следует, что наибольшее содержание сублимированной влаги (12,2 %) остается в образце салата сорта Хризолит, выращенном под облучателем с излучением, совпадающим с функцией спектральной чувствительности растений по K. J. McCree. Влаги в зелени (96,5 %) содержится в большем количестве в образце салата сорта Кук, выращенном под облучателем с излучением, совпадающим с функцией спектрального распределения относительной фотосинтетической активности солнечного излучения (контроль).
Листовые овощи и зелень являются главным поставщиком витамина С, так как потребляются в сыром виде, что обеспечивает сохранность этого крайне нестойкого водорастворимого витамина. В листовом салате в среднем содержится 5‒15 мг/100 г аскорбиновой кислоты, что обеспечивает около 20 % суточной нормы. Анализ показателей по содержанию витамина С, являющегося антиоксидантом, обеспечивающим прямую защиту белков, жиров, ДНК и РНК клеток от повреждающего действия свободных радикалов, показывает (рис. 5a) снижение у салата Кук в опыте 1 ‒ на 8 %, в опыте 2 – на 13 %. Салат сорта Хризолит продемонстрировал наибольшую отзывчивость к изменению электромагнитного воздействия. В опыте 1, по сравнению с контролем, количество витамина С возросло на 12 %, в опыте 2 ‒ на 9 %. Оптимальным для салата Афицион является регулируемый спектр – содержание витамина С возросло на 6 % в сравнении с контролем и спектром опыта 1.
Fig. 5. Content in the studied samples: a) vitamin C, %; b) sugar, %
Результаты химического анализа по содержанию фруктозы, глюкозы, сахарозы представлены в таблице 1.
Таблица 1 Показатели анализа по содержанию фруктозы, глюкозы, сахарозы
Table 1 Analysis of fructose, glucose, and sucrose content
Показатель / Indicator | Фруктоза, г/л (%) 10−3/ Fructose, g/l (%)10−3 | Глюкоза, г/л (%)10−3/ Glucose, g/l (%)10−3 | Сахароза, г/л (%)10−3 / Sucrose, g/l (%)10−3 | ||||||
К | А | Х | К | А | Х | К | А | Х | |
Контроль /Control | ‒ | 26 (53) | 43 (86) | ‒ | 52,65 (105,4) | 68,45 (136,5) | ‒ | ‒ | ‒ |
Опыт 1 / Experience 1 | ‒ | 96,5 (19,4) | 25,4 (50,8) | 37 (74) | 19,71 (214,1) | 22,1 (44,3) | ‒ | 53 (106) | ‒ |
Опыт 2 / Experience 2 | ‒ | ‒ | ‒ | 76,5 (152,9) | 31,3 (62,6) | 67,4 (134,8) | ‒ | ‒ | ‒ |
Процентное содержание сахара повышается в опыте 1 у салата Кук на 220 %, по сравнению с контролем, а в опыте 2 у салата Хризолит ‒ снижается на 69 %. С точки зрения потребительских свойств, сахара улучшают вкусовые качества салата и его питательность. Для сортов Кук и Хризолит наиболее оптимальным по накоплению сахаров являются параметры облучения опыта 1 (по K. J. McCree). Содержание фенола во всех экспериментальных образцах менее 0,0005 мг/л.
Приведенные экспериментальные данные позволили установить ряд разнообразных реакций на воздействие излучения определенного спектрального состава. Это позволяет сделать вывод о возможности практического использования различных режимов облучения для регулирования физико-химических свойств и химического состава салата сортов Кук, Хризолит Афицион. Стабильное увеличение содержания треонина, фенилаланина, валина, серина, аланина и сахара было установлено у салата сорта Кук при выращивании под облучателем с регулируемым спектром. В то же время у салата сорта Хризолит было установлено стабильное снижение содержания по данным веществам при выращивании под облучателем с регулируемым спектром. На содержание витамина С реакция обратная – снижение у салата сорта Кук, увеличение у салата сорта Хризолит. Для салата сорта Афицион реакция на содержание исследуемых веществ в обоих опытах дифференцирована несходная.
Таким образом, полученные результаты явились основой для разработки концепции светодиодного облучателя для управляемого растениеводства, схема которого представленного на рисунке 6.
a) вид сверху; b) вид снизу; c) схема конструктивных взаимосвязей 1 – корпус; 2 – радиатор; 3 – блок питания и управления;
Fig. 6. LED irradiator for crop production:
a) top view; b) bottom view; c) scheme of design interconnections 1 – housing; 2 – irradiator; 3 – power supply and control unit;
7 – LED red radiation (λ = 630 nm); 8 – LED dark red radiation (λ = 660 nm); 9 – LED deep red radiation (λ = 730 nm); 10 – diffuser;
15 – wireless Wi-Fi module; 16 – wire communication interface (for example RS-485); 17 – operator terminal
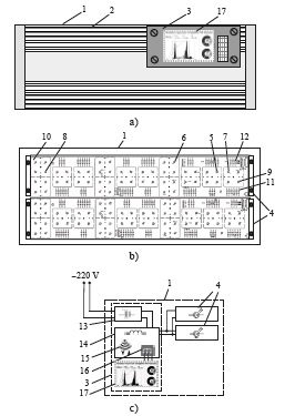
Светодиодный облучатель для растениеводства работает следующим образом. При включении светодиодного облучателя для растениеводства в сеть напряжение подается на драйвер питания 13 и далее через многоканальный блок управления 14 ток поступает на светодиодные модули 4. Оператор посредством операторской панели 17 через проводной интерфейс связи 16, устанавливает максимальный уровень излучения оптического спектра, регулируя силу тока до предельного значения для каждого типа светодиодов посредством многоканального блока управления 14. Светодиодный облучатель для растениеводства начинает излучать фотосинтезный поток фотонов благодаря светодиодам теплого белого света 11 с цветовой температурой Тс = 2700 К и светодиодам холодного белого света 12 с цветовой температурой Тс = 6500 К. Притом выраженные энергетические пики излучения на длине волны λ = 380 нм создаются светодиодами фиолетового излучения 5, на длине волны λ = 440, 465 нм – светодиодами синего излучения 6, на длине волны λ = 630 нм – светодиодами красного излучения 7, на длине волны λ = 660 нм – светодиодами темно-красного излучения 8 и на длине волны λ = 730 нм – светодиодами дальнего красного излучения 9, для усиления эффекта излучения которых они объединены при помощи рассеивателя 10 в тринадцать секторов по четыре светодиода в каждом секторе (рис. 6b). Полученный график спектра при этом отображается на операторской панели 17 (рис. 6a), подсоединенной посредством проводного интерфейса связи 16 к многоканальному блоку управления 14.
Далее в процессе настройки технологического процесса выращивания при проведении экспериментов по определению оптимальных параметров и режимов облучения (спектра, интенсивности и дозы) для той или иной культуры растений оператор посредством операторской панели 17 через проводной интерфейс связи 19 регулирует силу тока от нуля до предельного значения для каждого типа светодиодов на светодиодных модулях 4 посредством многоканального блока управления 14, тем самым уменьшая или увеличивая интенсивность излучения фотосинтезного потока фотонов в целом, так и интенсивность излучения каждого пика излучения по отдельности (рис. 6c).
Обсуждение и заключение
Произведенная оценка влияния излучения разноспектрального состава на закономерности изменения качественных показателей салата различных сортов подтвердила гипотезу о применимости разрабатываемых способов облучения для практического использования в технологиях регулируемого растениеводства при получении функциональных продуктов питания.
В дальнейшем разработка и применение светодиодных облучателей с тонкой настройкой в технологиях управляемого растениеводства должны производиться на основе фотобиологических исследований, в которых применяется концепция предложенного светодиодного облучателя для растениеводства, включающего разделение цветных светодиодов по секторам, а светодиодов белого света по группам, с возможностью их регулирования по отдельным каналам через многоканальный блок управления путем раздельной регулировки тока в пределах от 0 до 100 %, тем самым уменьшая или увеличивая как интенсивность излучения фотосинтезного потока фотонов в целом, так и интенсивность излучения каждого пика излучения по отдельности, в зависимости от требований технологии выращивания растений, с применением цифровых технологий.
Об авторах
Павел Павлович Долгих
Красноярский государственный аграрный университет
Автор, ответственный за переписку.
Email: dpp10@yandex.ru
ORCID iD: 0000-0003-3443-5726
кандидат технических наук, доцент, доцент кафедры системоэнергетики
Россия, 660049,г. Красноярск, пр. Мира, д. 90Сергей Валерьевич Трепуз
Красноярский государственный аграрный университет
Email: mail@growshop24.ru
ORCID iD: 0000-0003-0699-6788
аспирант кафедры системоэнергетики
Россия, 660049, г. Красноярск, пр. Мира, д. 90Вера Александровна Ханипова
Красноярский государственный аграрный университет; Институт прикладнойбиотехнологии и ветеринарной медицины
Email: gasi.vera@yandex.ru
ORCID iD: 0000-0002-3088-2628
кандидат биологических наук, доцент кафедры эпизоотологии, микробиологии, паразитологии и ветеринарно-санитарной экспертизы; директор научно-исследовательского испытательного
центра
Олеся Владимировна Сенкевич
Красноярский государственный медицинский университет имени профессора В. Ф. Войно-Ясенецкого Министерства здравоохранения Российской Федерации
Email: senk-olesya@mail.ru
ORCID iD: 0000-0002-2295-4329
кандидат биологических наук, старший преподаватель кафедры биологической химии с курсами медицинской, фармацевтической и токсикологической химии
Россия, 660022, г. Красноярск, ул. Партизана Железняка, зд. 1Список литературы
- Current Trends in Protected Cultivation in Mediterranean Climates / J. A. Fernandez [et al.] // European Journal of Horticultural Science. 2018. Vol. 83, Issue 5. P. 294–305. https://doi.org/10.17660/eJHS.2018/83.5.3
- Hydroponic Technology as Decentralised System for Domestic Wastewater Treatment and Vegetable Production in Urban Agriculture: A Review / S. T. Magwaza [et al.] // Science of The Total Environment.2020. Vol. 698. Article no. 134154. https://doi.org/10.1016/j.scitotenv.2019.134154
- Review of Optimum Temperature, Humidity, and Vapour Pressure Deficit for Microclimate Evaluation and Control in Greenhouse Cultivation of Tomato: A Review / R. R. Shamshiri [et al.] // International Agrophysics. 2018. Vol. 32. P. 287–302. https://doi.org/10.1515/intag-2017-0005
- Al-Kodmany K. The Vertical Farm: A Review of Developments and Implications for the Vertical City // Buildings. 2018. Vol. 8, Issue 2. P. 24. https://doi.org/10.3390/buildings8020024
- Концептуальные подходы к выбору спектра излучения ламп для выращивания растений в искусственных условиях / А. А. Тихомиров [и др.] // Светотехника. 2019. № 5. С. 19–23.EDN: NJIQCE
- Prikupets L. B., Terekhov V. G. The Effect of the Irradiation Dose and Time Factors on Producing Capacity of Lettuce and Leaf Vegetables in Photo-Culture Conditions // Light & Engineering. 2022.Vol. 30, Issue 5. P. 4–11. EDN: ZZAVRG
- Amoozgar A., Mohammadi A., Sabzalian M. R. Impact of Light-Emitting Diode Irradiation on Photosynthesis, Phytochemical Composition and Mineral Element Content of Lettuce cv. Grizzly // Photosynthetica.2017. Vol. 55, Issue 1. P. 85–95. https://doi.org/10.1007/s11099-016-0216-8
- ПНCТ 4 1 0-2020. Светокультура растений. Нормы искусственного освещения для зеленных культур. М. : ФГБНУ «Росинформагротех», 2020. 11 с. URL: https://files.stroyinf.ru/Data2/1/4293720/4293720005.pdf (дата обращения: 03.03.2023).
- Исследование влияния излучения в различных диапазонах области ФАР на продуктивность и биохимический состав биомассы салатно-зеленных культур / Л. Б. Прикупец [и др.] // Светотехника. 2018. № 5. С. 6–12. EDN: YOGLPV
- Оптимизация светотехнических параметров при светокультуре салатно-зеленных растений с использованием светодиодных излучателей / Л. Б. Прикупец [и др.] // Светотехника. 2019. № 4.С. 6–13. EDN: DXETPS
- Долгих П. П., Хусенов Г. Н. Влияние параметров облучения на урожайность и качественные характеристики салата сортов Крилда и Аувона // Вестник КрасГАУ. 2018. № 6 (141). С. 154–161.URL: http://www.kgau.ru/vestnik/2018_6/content/31.pdf (дата обращения: 01.02.2023).
- Nicole C. C. S., Krijn M. P. C. M., van Slooten U. Chapter 1.4 – Postharvest Quality of Leafy Greens Growing in a Plant Factory // Plant Factory Using Artificial Light / M. Anpo [et al.]. Elsevier,2019. P. 33–43. https://doi.org/10.1016/B978-0-12-813973-8.00005-1
- Князева И. В. Искусственное освещение для получения функциональных продуктов питания // Вестник КрасГАУ. 2020. № 12 (165). С. 25–31. EDN: OEPPII
- Effects of LED Lighting Recipes on Postharvest Quality of Leafy Vegetables Grown in a Vertical Farm / C. C. S. Nicole [et al.] // ISHS Acta Horticulturae 1256: VI International Conference Postharvest Unlimited. 2019. Vol. 1256. P. 481–488. https://doi.org/10.17660/ActaHortic.2019.1256.68
- Kelly N., Runkle E. S. Spectral Manipulations to Elicit Desired Quality Attributes of Herbaceous Specialty Crops // European Journal of Horticultural Science. 2020. Vol. 85, Issue 5. P. 339–343. https://doi.org/10.17660/eJHS.2020/85.5.5
- Особенности влияния спектра излучения на продуктивность и биохимический состав тестовых плодовых и листовых овощных культур / Т. Э. Кулешова [и др.] // Журнал технической физики. 2022. Т. 92, № 7. С. 1060–1068. https://doi.org/10.21883/JTF.2022.07.52663.343-21
- Kozai T., Niu G., Takagaki M. Plant Factory: An Indoor Vertical Farming System for Efficient Quality Food Production. Second Edition. Academic Press, 2020. https://doi.org/10.1016/C2018-0-00969-X
- Fujiwara K., Yano A., Eijima K. Design and Development of a Plant-response Experimental Light-source System with LEDs of Five Peak Wavelengths. // Journal of Light & Visual Environment.2011. Vol. 35, Issue 2. P. 117–122. https://doi.org/10.2150/jlve.35.117
- Fujiwara K., Yano A. Prototype Development of a Plant-response Experimental Light-source System with LEDs of Six Peak Wavelengths. ISHS Acta Horticulturae 970: International Conference on Quality Management in Supply Chains of Ornamentals QMSCO2012. 2013. Vol. 970. P. 341–346. https://doi.org/10.17660/ActaHortic.2013.970.41
- Fujiwara K., Sawada T. Design and Development of an LED-artificial Sunlight Source System Prototype Capable of Controlling Relative Spectral Power Distribution // Journal of Light & Visual Environment.2006. Vol. 30, Issue 3. P. 170–176. https://doi.org/10.2150/jlve.30.170
- Fujiwara K., Yano A. Controllable Spectrum Artificial Sunlight Source System Using LEDs with 32 Different Peak Wavelengths of 385–910 nm // Bioelectromagnetics. 2011. Vol. 32, Issue 3. P. 243–252.https://doi.org/10.1002/bem.20637
- Fujiwara K., Eijima K., Yano A. Second-generation LED-artificial Sunlight Source System Available for Light Effects Research in Biological and Agricultural Sciences Proceedings of 7th LuxPacifica,2013. P. 140–145. https://doi.org/10.1002/bem.20637
- Долгих П. П. Способы облучения растений в теплицах и их техническая реализация // Материалы VIII междунар. науч.-практ. конф. «Климат, экология, сельское хозяйство Евразии (23‒24 мая 2019 г.)». п. Молодежный : Иркутский государственный аграрный университет им. А. А. Ежевского. 2019. С. 23–31. EDN: OIQJQF
- Jishi T., Matsuda R., Fujiwara K. Effects of Photosynthetic Photon Flux Density, Frequency, Duty Ratio, and their Interactions on Net Photosynthetic Rate of cos Lettuce Leaves under Pulsed Light: Explanation Based on Photosynthetic-intermediate Pool Dynamics // Photosynthesis Research. 2018. Vol. 136.P. 371–378. https://doi.org/10.1007/s11120-017-0470-z
- Рентюк В. Светодиод – такой знакомый и неизвестный. Ч. 3. Управление яркостью // Полупроводниковая светотехника. 2017. Т. 3, № 47. С. 54–61. EDN: ZBIDNJ
- Yurtseven M., Mete S., Onaygil S. The Effects of Temperature and Driving Current on the Key Parameters of Commercially Available, High-power, white LEDs // Lighting Research & Technology.2016. Vol. 48, Issue 8. P. 943–965. https://doi.org/10.1177/14771535155767
- Шуничев С. И., Савинова Н. И., Попов Г. Ф. Технология промышленного производства овощей в зимних теплицах. М. : Агропромиздат, 1987. 109 с.
- Государственный̆ реестр селекционных достижений, допущенных к использованию. Т. 1.«Сорта растений» (официальное издание). М. : ФГБНУ «Росинформагротех». 2021. 719 с. URL:https://ogorodum.ru/docs/gosreestr-rus.pdf (дата обращения: 03.03.2023).
- Лысиков Ю. А. Аминокислоты в питании человека // Экспериментальная и клиническая гастроэнтерология. 2012. № 2. С. 88–105. EDN: TBJPRX
- Нечаев А. П., Траубенберг С. Е., Кочеткова А. А. Пищевая химия. 2-е изд. СПб. : ГИОРД,2003. 640 с. https://najar.files.wordpress.com/2012/10/studmed-ru_nechaev-ap-i-dr-pischevaya-himiya_dfd0f24503d.pdf (дата обращения: 03.03.2023).
Дополнительные файлы

























